Guidelines for a Finite Element Based Design of Timber Structures and Their Exemplary Application on Modelling of Beech LVL
Abstract
:1. Introduction
1.1. General
1.2. State of the Art
1.2.1. Finite Element Modelling
- Numerical design calculation requiring a subsequent design check;
- Numerical design calculation with direct resistance check;
- Numerical simulation.
1.2.2. Benchmark—Elastic Material Behaviour of Beech LVL
1.2.3. Benchmark—Dowel-Type Connections for Beech LVL
2. Guidelines for a Finite Element Based Design of Timber Structures
2.1. General
2.2. Procedure, Design Methods and Types of Analysis
2.3. Verification and Validation
- In the engineering judgement, the main calculation results of the FE model (SQRs, which may be internal forces, load–deformation behaviour, …) are checked using simple mechanical models, benchmarks or experience.
- Within the discretisation check, it is shown that the chosen element type and size are accurate for the analysed problem and that the calculation results are not significantly influenced by the discretisation. A mesh convergence study is executed to check if the relevant SRQs converge when the mesh is refined. The chosen mesh size should satisfy the 5% test. If computation times are low, a 1% test may be applied. The application of these tests is described in Section 3.3.2.
- In a solver convergence study, it is ensured that the numerical results have converged when the computation of a load or displacement step is finished.
- The sensitivity check is a variation of the relevant input parameters and determines which parameters are crucial to the relevant SRQ and whether these parameters should be defined with higher precision or not. Geometrical and material properties and the size of time/load steps should be checked.
- In the examination of imperfection sensitivity, whether and which imperfections influence the calculation results are checked (SQRs).
2.4. Design
3. Benchmark—Elastic Material Behaviour of Beech LVL
3.1. General
3.2. Experimental Investigations
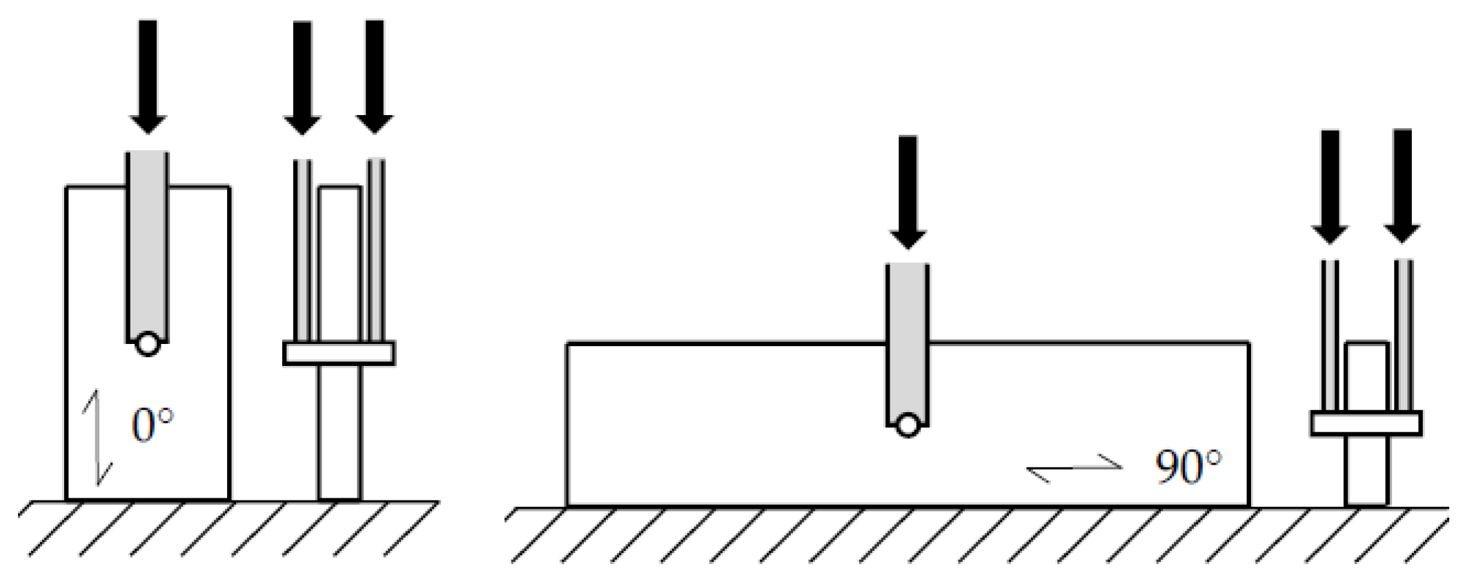
3.2.1. Test Specimens, Configuration and Execution
3.2.2. Evaluation and Results
3.3. Numerical Investigations
3.3.1. Modelling
3.3.2. Verification and Validation
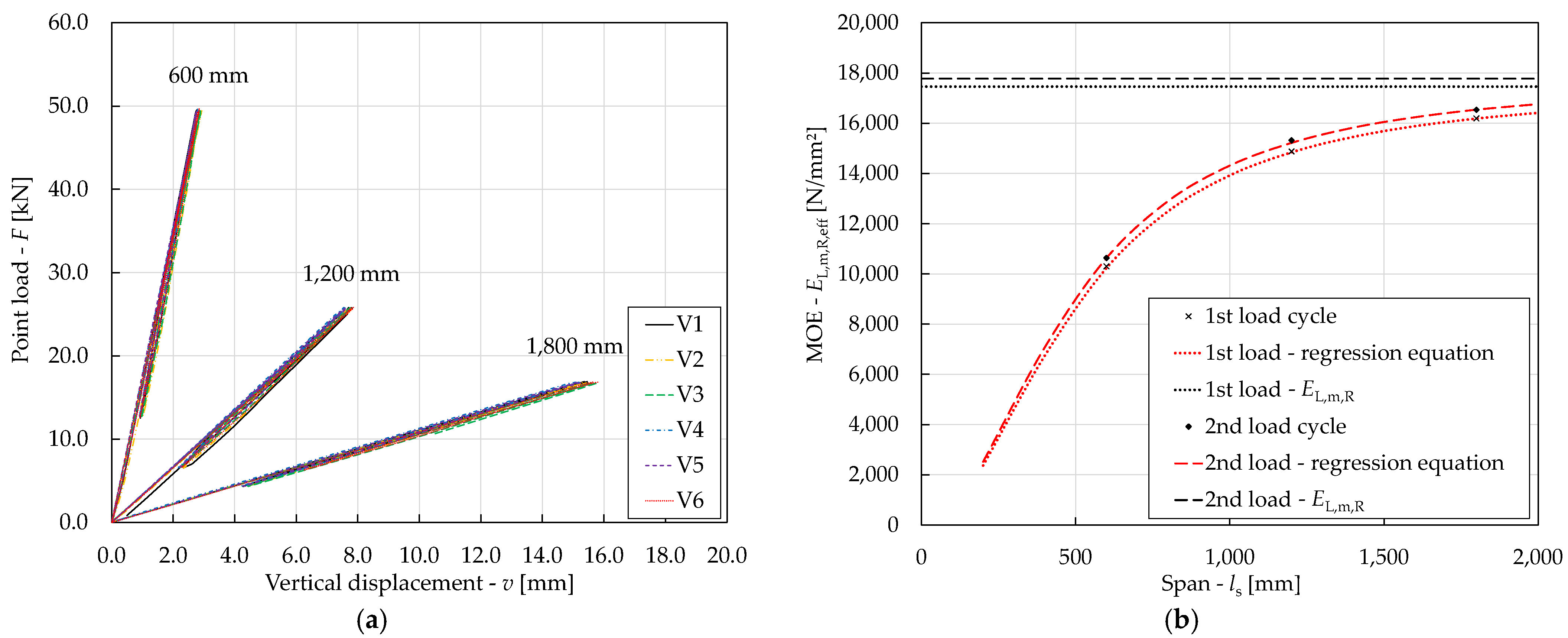
- Engineering judgement: The longitudinal stresses σx and deformations v displayed in Figure 7a and Figure 7b are plausible and correspond well to experience. By hand calculation, bending stresses σx according to Equation (9) and vertical deformations v according to Equation (10) can be determined.where F = 31,240 N; ls = 600 mm; H = 100.3 mm; B = 98.7 mm; E = 17,566 N/mm2; G = 976 N/mm2.
- 2.
- Discretisation check: Figure 7c,d illustrate the influence of the number of elements over the beam height on the maximum longitudinal stresses σx and the vertical deformations v. To determine the required mesh size, a regression line was used to estimate the correct value of the SQR on the y-axis. A mesh that yields results with a maximum deviation of 5% from this target value is sufficient (5% tests). Due to short computation times and for better accuracy, a difference of 1% to the target value was aimed for here (1% tests). The mesh size over the length and width was investigated in the same manner. The selected element type and the element shape were also checked.
- 3.
- Solver convergence study: The residual force and moment were studied, which both decreased from iteration to iteration until they were smaller than the default convergence criteria in Abaqus.
- 4.
- Sensitivity check: Figure 7e,f show the influence of the variation of the shear moduli GRL and GRT on the maximum longitudinal stress σx for BR_V1_600 mm. While GRL had a significant influence on the results and should therefore be specified as accurately as possible, the influence of GRT on σx was negligible, which justifies the assumption GRT = 50 N/mm2. The same studies were carried out for all essential input parameters.
- 5.
- The assessment of the imperfection sensitivity could be omitted for the FE models of the compression and bending tests, as there was no influence of imperfections to be expected due to the compact shape of the test specimens.
3.3.3. Design
3.4. Discussion
4. Benchmark—Dowel-Type Connections for Beech LVL
4.1. General
4.2. Experimental Investigations
4.2.1. Test Specimens, Configuration and Execution
4.2.2. Evaluation and Results
4.3. Numerical Investigations
4.3.1. Modelling
4.3.2. Verification and Validation
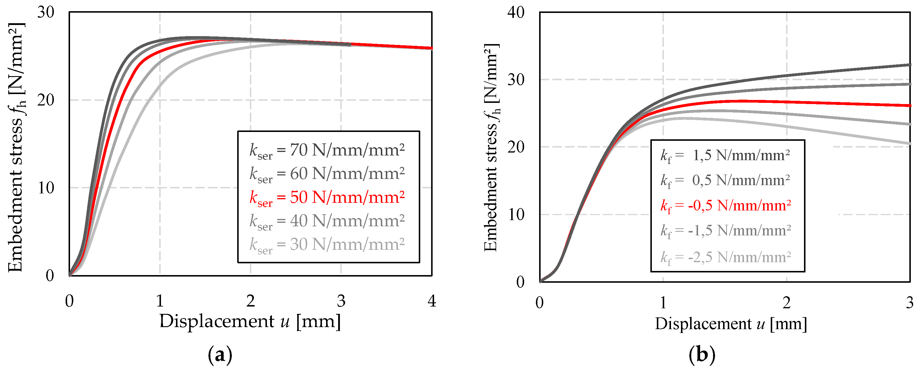
- Engineering judgement: In Figure 13a the influence of the stiffness parameter kser on the embedment stress in the timber is given. For smaller values of kser, the initial stiffness decreased. Especially in the range of small values, the parameter kser had a significant influence on the embedment stress, while the influence in the range of the plastic plateau was negligible. Concerning the influence of the stiffness on the embedment stress, the model therefore showed a plausible behaviour.
- The discretisation was carried out depending on the number of non-linear springs which determined the number of finite elements. For this reason, the springs were evenly distributed. In addition, the side member thickness was a multiple of the selected spring spacing in order to avoid convergence problems. Figure 12b shows the numerically determined stiffness Kser for the component tests made of beech LVL when varying the number of embedment springs, plotted over the inverse of the degrees of freedom DOF−1. Apparently, there was no significant influence of the discretisation on the connection stiffness.
- Sensitivity check of input parameters: As already described under point 1 “engineering judgement”, the parameter kser had a significant influence on the embedment stress, especially in the range of small values. The input parameter kser should therefore be specified as accurately as possible, if the focus of the modelling is on connection stiffness. In contrast, the second stiffness parameter kf (plastic stiffness) only influenced the end gradient and maximum value of the slip curve (see Figure 13b). For modelling of the connection stiffness, this parameter was therefore of minor significance. The kink in the initial part of the curves in Figure 13a,b depends significantly on the parameter u0 (initial slip). Since the stiffness was determined by the slope of the load–deformation curve between 10% and 40% of the maximum load, this kink did not influence the calculation of the stiffness. The sensitivity check of further input parameters is given in detail in Kuhlmann and Gauß [33,34].
- In this case, the imperfection sensitivity analysis can be omitted, as in connections with single dowels the influences of geometric imperfections, such as the dowel–hole clearance, can be neglected. However, an influence of the hole clearance on the load–displacement behaviour of fastener groups was given. First, investigations by Kuhlmann and Gauß [33,34] showed that the hole clearance between the fasteners and the slotted-in steel plate had a decisive influence on the stiffness of connections with fastener groups, since the stiffness cannot completely be developed due to the late activation of individual fasteners.

4.4. Discussion
5. Conclusions and Outlook
- Numerical design calculations requiring a subsequent design check: for the daily engineering practice application of FEM for standard design cases covered by the Eurocodes.
- Numerical design calculations with direct resistance check: for the expert engineering application of FEM, e.g., for design cases beyond the standard design cases of the Eurocodes.
- Numerical simulations: for the use of numerical methods for the complementation, extension or replacement of physical experiments, e.g., for product development and certification.
Author Contributions
Funding
Acknowledgments
Conflicts of Interest
References
- Töpler, J.; Buchholz, L.; Sabrina, M.; Kuhlmann, U. Guidelines for a Finite Element Based Design of Timber Structures; Mitteilung No. 2022-36X; Institute of Structural Design, University of Stuttgart: Stuttgart, Germany, 2022. [Google Scholar]
- Kuhlmann, U.; Töpler, J.; Gauß, J.; Buchholz, L. Development of an Integrated Approach of Testing and Numerical Verifications which Respects and Further Develops the Basic Rules of the Eurocodes; Research Project RP 7-1, DFG Cluster of Excellence “Integrative Computational Design and Construction for Architecture”, EXC 2120/1—390831618; Institute of Structural Design, University of Stuttgart: Stuttgart, Germany, 2019–2022. [Google Scholar]
- EN 1990; Eurocode 0: Basis of Structural Design. European Committee for Standardization (CEN): Brussels, Belgium, 2010; with corrections and amendments + A1:2005 and AC:2010.
- prEN 1993-1-14; Eurocode 3: Design of Steel Structures—Part 1–14: Design Assisted by Finite Element Analysis; CEN/TC 250/SC 3 N 3723. European Committee for Standardization (CEN): Brussels, Belgium, 2022.
- ETA-14/0354; Beam BauBuche GL75. Austria Institute of Construction Engineering (OIB): Vienna, Austria, 2018.
- Turner, M.J.; Clough, R.W.; Martin, H.C.; Topp, L.J. Stiffness and deflection analysis of complex structures. J. Aeronaut. Sci. 1956, 23, 805–823. [Google Scholar] [CrossRef]
- Hughes, T.J.R. The Finite Element Method—Linear Static and Dynamic Finite Element Analysis; Prentice Hall: Englewood Cliffs, NJ, USA, 1987. [Google Scholar]
- Zienkiewicz, O.C. The Finite Element Method in Structural and Continuum Mechanics—Numerical Solution of Problems in Structural and Continuum Mechanics; McGraw-Hill: London, UK, 1967. [Google Scholar]
- Forschungskuratorium Maschinenbau. Rechnerischer Festigkeitsnachweis für Maschinenbauteile aus Stahl, Eisenguss- und Aluminiumwerkstoffen—FKM-Richtlinie, 7th ed.; VDMA Verlag: Frankfurt, Germany, 2020. (In German) [Google Scholar]
- Ri-EDV-AP-2001; Richtlinie für das Aufstellen und Prüfen EDV-unterstützter Standsicherheitsnachweise. Bundesvereinigung der Prüfingenieure für Bautechnik e.V.: Hamburg, Germany, 2001. (In German)
- VDI-Richtlinie VDI 6201 Part 1; Software-Based Structural Analysis: Fundamentals, Requirements, Modeling. Verein Deutscher Ingenieure e.V.: Düsseldorf, Germany, 2015.
- VDI-Richtlinie VDI 6201 Part 2; Software-Based Structural Analysis: Verification Examples. Verein Deutscher Ingenieure e.V.: Düsseldorf, Germany, 2019.
- EN 1993-1-5; Eurocode 3: Design of Steel Structures—Part 1-5: Plated Structural Elements. European Committee for Standardization (CEN): Brussels, Belgium, 2006; with corrections and amendments + AC:2009, A1:2017 and A2:2019.
- EN 1993-1-6; Eurocode 3: Design of Steel Structures—Part 1-6: Strength and Stability of Shell Structures. European Committee for Standardization (CEN): Brussels, Belgium, 2007; with corrections and amendments + AC:2009, A1:2017.
- Dill-Langer, G.; Aicher, S. BauBuche im XXL-Format—Versuche und Europäische technische Zulassung. In Proceedings of the 3rd Stuttgarter Holzbau-Symposium, Stuttgart, Germany, 8–9 October 2015. (In German). [Google Scholar]
- Dill-Langer, G.; Aicher, S. Tragfähigkeit und Baupotenziale von Buchen-Furnierschichtholz. In Proceedings of the International Holzbau-Forum (IHF) 2014, Garmisch-Partenkirchen, Germany, 3–5 December 2014. (In German). [Google Scholar]
- Blaß, H.; Windeck, L. Versuche an Brettschichtholz aus Buchen- und Nadel-Furnierschichtholz zur Ermittlung des Querdruckbeiwertes kc,90; Test Report no. 176121; Karlsruhe Institute of Technology: Karlsruhe, Germany, 2017. (In German) [Google Scholar]
- Dill-Langer, G.; Aicher, S. Glulam Composed of Glued Laminated Veneer Lumber Made of Beech Wood—Superior Performance in Compression Loading. In Materials and Joints in Timber Structures: Recent Developments of Technology; RILEM Book Series; Aicher, S., Reinhardt, H.-W., Garrecht, H., Eds.; Springer: Dordrecht, The Netherlands, 2013; Volume 9. [Google Scholar]
- Ehrhart, T.; Steiger, R.; Frangi, A. Influence of the moisture content on the compressive strength and modulus of elasticity parallel to the grain of engineered hardwood products (EHP). In Proceedings of the 8th Meeting of International Network on Timber Engineering Research (INTER), 54-12-2, Online, 16–19 August 2021. [Google Scholar]
- Ehrhart, T.; Steiger, R.; Frangi, A.; Strahm, T.; Bernasconi, A. Laubholzstützen—Druckfestigkeit und E-Modul parallel zur Faserrichtung und Einfluss der Holzfeuchte; Research Report, WHFF-CH 2020.11; ETH Zürich: Zürich, Switzerland, 2021. (In German) [Google Scholar]
- Kuck, E. Untersuchungen von Querschnittsschwächungen durch Verbindungsmittel in druckbeanspruchten Bauteilen aus Buchen-Furnierschichtholz. Bachelor Thesis, Karlsruhe Institute of Technology, Karlsruhe, Germany, 2015. (In German). [Google Scholar]
- Töpler, J.; Kuhlmann, U. Buckling of slender beech LVL columns. In Proceedings of the 9th Meeting of International Network on Timber Engineering Research (INTER), 55-2-1, Bad Aibling, Germany, 21–25 August 2022. [Google Scholar]
- Hütter, V. Bestimmung der Rollschubfestigkeiten und -steifigkeiten von Furnierschichthölzern aus Laubholz. Bachelor Thesis, Karlsruhe Institute of Technology, Karlsruhe, Germany, 2017. (In German). [Google Scholar]
- Frese, M. Density variations in beech LVL: Influence on insertion moment and withdrawal capacity of screws. In Proceedings of the 6th Meeting of International Network on Timber Engineering Research (INTER), 52-07-3, Tacoma, WA, USA, 26–29 August 2019. [Google Scholar]
- Z-9.1-837; Brettschichtholz aus Buchenfurnierschichtholz; National Technical Approval (abZ). Deutsches Institut für Bautechnik (DIBt): Berlin, Germany, 2013. (In German)
- EN 1995-1-1; Eurocode 5: Design of Timber Structures—Part 1-1: General—Common Rules and Rules for Buildings. European Committee for Standardization (CEN): Brussels, Belgium, 2004; with corrections and amendments + AC:2006 and A1:2008.
- Brühl, F. Ductility in Timber Structures—Possibilities and Requirements with Regard to Dowel Type Fasteners. Dr.-Ing. Dissertation, Mitteilung no. 2020-01. Institute of Structural Design, University of Stuttgart, Stuttgart, Germany, 2020. [Google Scholar]
- Kuhlmann, U.; Gauß, J. Component Method in Timber Construction—Experimental and Numerical Research. In Proceedings of the 6th Meeting of International Network on Timber Engineering Research (INTER), 52-7-11, Tacoma, WA, USA, 26–29 August 2019. [Google Scholar]
- Kuhlmann, U.; Gauß, J. Stiffness of Steel-Timber Dowel Connections—Experimental and Numerical Research. In Proceedings of the 8th Meeting of International Network on Timber Engineering Research (INTER), 54-7-9, Online, 16–19 August 2021. [Google Scholar]
- Sandhaas, C. Mechanical Behavior of Timber Joints with Slotted-in Steel Plates. Ph.D. Dissertation, TU Delft, Delft, The Netherlands, 2012. [Google Scholar]
- Hochreiner, G.; Bader, T.K.; de Borst, K.; Eberhardsteiner, J. Stiftförmige Verbindungsmittel im EC5 und baustatische Modellbildung mittels kommerzieller Statiksoftware. Bauingenieur 2013, 88, 275–289. (In German) [Google Scholar]
- Schweigler, M. Nonlinear Modelling of Reinforced Dowel Joints in Timber Structures—A Combined Experimental-Numerical Study. Ph.D. Dissertation, Vienna University of Technology, Vienna, Austria, 2018. [Google Scholar]
- Gauß, J. Zum Trag- und Verformungsverhalten von Stahl-Holz-Stabdübelverbindungen. Dr.-Ing. Dissertation, Institute of Structural Design, University of Stuttgart, Stuttgart, Germany. in preparation (In German).
- Kuhlmann, U.; Gauß, J. Wirtschaftliche Dimensionierung von Holztragwerken durch leistungsfähige Stahl-Holz-Stabdübelverbindungen; IGF Research Project No. 20625 N (AiF/iVTH); Institute of Structural Design, University of Stuttgart: Stuttgart, Germany, 2019–2021. [Google Scholar]
- Lukas, J. Experimentelle und numerische Untersuchung des elastischen Materialverhaltens von Buche LVL. Bachelor Thesis, Mitteilung no. 2021-13X. Institute of Structural Design, University of Stuttgart, Stuttgart, Germany, 2021. (In German). [Google Scholar]
- Töpler, J.; Kuhlmann, U. Experimentelle und numerische Untersuchungen von Brettschichtholz aus Buchen-Furnierschichtholz (BauBuche). In Proceedings of the Doktorandenkolloquium Holzbau Forschung und Praxis, Online, 10–11 March 2022; pp. 131–139. (In German). [Google Scholar]
- EN 13183-1; Moisture Content of a Piece of Sawn Timber—Part 1: Determination by Oven Dry Method. European Committee for Standardization (CEN): Brussels, Belgium, 2002; with corrections and amendments + AC:2003.
- EN 408; Structural Timber and Glued Laminated Timber—Determination of Some Physical and Mechanical Properties. European Committee for Standardization (CEN): Brussels, Belgium, 2010; with corrections and amendments + A1:2012.
- EN 26891; Timber Structures—Joints Made with Mechanical Fasteners—General Principles for the Determination of Strength and Deformation Characteristics. European Committee for Standardization (CEN): Brussels, Belgium, 1991.
- Albers, K. Querdehnungs- und Gleitzahlen sowie Schub- und Scherfestigkeiten von Holzwerkstoffen. Ph.D. Dissertation, University of Hamburg, Hamburg, Germany, 1970. (In German). [Google Scholar]
- Timošenko, S.P.; Gere, J.M. Mechanics of Materials; Van Nostrand Reinhold: New York, NY, USA, 1972. [Google Scholar]
- Neuhaus, F. Elastizitätszahlen von Fichtenholz in Abhängigkeit von der Holzfeuchte. Dr.-Ing. Dissertation, Ruhr-University Bochum, Bochum, Germany, 1981. (In German). [Google Scholar]
- Egner, K. Bestimmung der Elastizität der Hölzer. In Die Prüfung Nichtmetallischer Baustoffe, 2nd ed.; Alberti, K., Albrecht, W., Blunk, G., Brandenberger, E., Brenner, E., Broese Groenou, H., Burgstaller, F., Egner, K., Gösele, K., Graf, O., et al., Eds.; Handbuch der Werkstoffprüfung; Springer: Berlin/Heidelberg, Germany, 1957; Volume 3. (In German) [Google Scholar]
- EN 383; Timber Structures—Test Methods—Determination of Embedment Strength and Foundation Values for Dowel Type Fasteners. European Committee for Standardization (CEN): Brussels, Belgium, 2007.
- Kuhlmann, U.; Buchholz, L. Innovative Holzknoten durch Modellierung der Steifigkeit für leistungsfähige Holztragwerke aus Laub- und Nadelholz; Research Project in the Scope of the „Holzbau-Offensive des Ministeriums für Ländlichen Raum und Verbraucherschutz Baden-Württemberg”; Institute of Structural Design, University of Stuttgart: Stuttgart, Germany, 2021. [Google Scholar]
- EN 1993-1-1; Eurocode 3: Design of Steel Structures—Part-1-1: General Rules and Rules for Buildings. European Committee for Standardization (CEN): Brussels, Belgium, 2005; with corrections and amendments + A1:2014 and AC:2009.














| Material Property | Mean Value (COV) | |
| Wood moisture content | 5.54% (1.94%) | |
| Oven-dry density | ||
ρ | 803 kg/m3 (2.10%) | |
ρ0 | 780 kg/m3 (2.29%) | |
| 1st load cycle | 2nd load cycle | |
| Moduli of elasticity (MOE) | ||
EL | 17,055 N/mm2 (3.76%) | 17,259 N/mm2 (3.55%) |
EL,m,R | 17,436 N/mm2 (1.68%) | 17,667 N/mm2 (1.87%) |
EL,m,T | 17,491 N/mm2 (1.75%) | 17,576 N/mm2 (1.12%) |
ER | 740 N/mm2 (4.88%) | 840 N/mm2 (4.32%) |
ET | 862 N/mm2 (7.09%) | 966 N/mm2 (5.47%) |
| Shear moduli | ||
GLR | 817 N/mm2 (1.66%) | 909 N/mm2 (4.84%) |
GLT | 883 N/mm2 (4.59%) | 1006 N/mm2 (6.53%) |
| Poisson’s ratios | ||
µLR | 0.3200 (15.7%) | 0.3127 (23.7%) |
µLT | 0.5004 (11.8%) | 0.5167 (13.4%) |
µRT | 0.1992 (13.1%) | 0.1978 (15.1%) |
µRL | 0.0143 (14.3%) | 0.0145 (17.1%) |
µTR | 0.2428 (11.9%) | 0.2506 (13.6%) |
µTL | 0.0246 (14.3%) | 0.0270 (11.2%) |
| No. Over Length | No. Over Width | No. Over Height | |
|---|---|---|---|
| Bending tests | 76 | 4 | 20 |
| Compression tests | 50 | 10 | 10 |
| BR_V1 [N/mm2] | BR_V2 [N/mm2] | BR_V3 [N/mm2] | BR_V4 [N/mm2] | BR_V5 [N/mm2] | BR_V6 [N/mm2] | |
|---|---|---|---|---|---|---|
| Experimental Etest,known | 10,958 | 10,633 | 10,661 | 10,636 | 10,707 | 10,611 |
| Numerical Echeck | 10,919 | 10,685 | 10,611 | 10,597 | 10,703 | 10,558 |
| EL [N/mm2] | ER/T [N/mm2] | GLR/LT [N/mm2] | GRT [N/mm2] | µLR [-] | µRL [-] | µLT [-] | µTL [-] | µRT [-] | µTR [-] |
|---|---|---|---|---|---|---|---|---|---|
| 15,300 | 400 | 760 | 50 | 0.3127 | 0.0145 | 0.5167 | 0.0270 | 0.1978 | 0.2506 |
| µLR [-] | µRL [-] | µLT [-] | µTL [-] | µRT [-] | µTR [-] | |
|---|---|---|---|---|---|---|
| Neuhaus [42] | 0.2405 | 0.0505 | 0.2152 | 0.0291 | 0.3644 | 0.1964 |
| Experiments | 0.3127 | 0.0145 | 0.5167 | 0.0270 | 0.1978 | 0.2506 |
| Series | Mean [kN/mm] (Ktest/KEC5) | SD [kN/mm] | COV [%] | |||
|---|---|---|---|---|---|---|
| Kser | Ke | Kser | Ke | Kser | Ke | |
| G-SD16 11 0 1_GL75 | 55.5 (88%) | 88.7 (141%) | 14.1 | 16.3 | 25.5 | 18.4 |
| G-SD16 11 0 2_GL75 | 68.0 (108%) | 108.3 (172%) | 19.0 | 30.8 | 28.0 | 28.4 |
| Diameter [mm] | Yield Strength Rp 0.2 [N/mm2] | Tensile Strength Rm [N/mm2] | MOE [N/mm2] | No. of Tests |
|---|---|---|---|---|
| 16 | 595.3 | 623.9 | 208,250 | 5 |
| Series | kser (SD) [N/mm/mm2] | ke (SD) [N/mm/mm2] | kf (SD) [N/mm/mm2] | fh,int (SD) [N/mm2] | u0 [mm] | α [-] |
|---|---|---|---|---|---|---|
| B160E | 144.8 (15.9) | 195.2 (16.3) | 1.5 (1.4) | 58.3 (4.7) | 0.18 | 9.3 |
| B160F | 149.8 (14.9) | 204.6 (13.7) | 0.54 (1.0) | 61.2 (2.4) | 0.15 | 7.8 |
| Mean | 147.3 (15.1) | 199.9 (15.4) | 1.02 (1.3) | 59.8 (3.9) | 0.17 | 8.6 |
Disclaimer/Publisher’s Note: The statements, opinions and data contained in all publications are solely those of the individual author(s) and contributor(s) and not of MDPI and/or the editor(s). MDPI and/or the editor(s) disclaim responsibility for any injury to people or property resulting from any ideas, methods, instructions or products referred to in the content. |
© 2023 by the authors. Licensee MDPI, Basel, Switzerland. This article is an open access article distributed under the terms and conditions of the Creative Commons Attribution (CC BY) license (https://creativecommons.org/licenses/by/4.0/).
Share and Cite
Töpler, J.; Buchholz, L.; Lukas, J.; Kuhlmann, U. Guidelines for a Finite Element Based Design of Timber Structures and Their Exemplary Application on Modelling of Beech LVL. Buildings 2023, 13, 393. https://doi.org/10.3390/buildings13020393
Töpler J, Buchholz L, Lukas J, Kuhlmann U. Guidelines for a Finite Element Based Design of Timber Structures and Their Exemplary Application on Modelling of Beech LVL. Buildings. 2023; 13(2):393. https://doi.org/10.3390/buildings13020393
Chicago/Turabian StyleTöpler, Janusch, Lea Buchholz, Julian Lukas, and Ulrike Kuhlmann. 2023. "Guidelines for a Finite Element Based Design of Timber Structures and Their Exemplary Application on Modelling of Beech LVL" Buildings 13, no. 2: 393. https://doi.org/10.3390/buildings13020393
APA StyleTöpler, J., Buchholz, L., Lukas, J., & Kuhlmann, U. (2023). Guidelines for a Finite Element Based Design of Timber Structures and Their Exemplary Application on Modelling of Beech LVL. Buildings, 13(2), 393. https://doi.org/10.3390/buildings13020393

