Next Article in Journal
Study on the Effect of Vegetation Coverage on Urban Cooling and Energy Conservation: A Case Study of a Typical Hilly City, Chenzhou, China
Previous Article in Journal
Safety Climate in the Indonesian Construction Industry: Strengths, Weaknesses, and Influential Demographic Characteristics
 
 
Font Type:
Arial Georgia Verdana
Font Size:
Aa Aa Aa
Line Spacing:
Column Width:
Background:
Article

Conceptual Framework for Building Permit Process Modeling: Lessons Learned from a Comparison between Germany and the United States regarding the As-Is Building Permit Processes

1
Department of Construction Engineering and Management, Faculty of Civil Engineering, Bauhaus-Universität Weimar, 99423 Weimar, Germany
2
Astani Department of Civil and Environmental Engineering, USC Viterbi School of Engineering, University of Southern California, Los Angeles, CA 90089, USA
*
Author to whom correspondence should be addressed.
Buildings 2022, 12(5), 638; https://doi.org/10.3390/buildings12050638
Submission received: 14 March 2022 / Revised: 10 April 2022 / Accepted: 5 May 2022 / Published: 10 May 2022
(This article belongs to the Section Construction Management, and Computers & Digitization)

Abstract

:
Without a building permit, a construction project cannot be legally implemented. For this, the building project must undergo a review process by the competent authority. As the number of building projects to be inspected increases, building authorities are faced with ever greater challenges, due to the lack of adequate personnel to manage the inefficient, labor extensive, and lengthy building permit process. In-depth scientific studies of the existing building permit processes are missing so far. This paper introduces a proposed framework that aims to investigate and compare the building permit processes in Germany and in the United States of America (USA). Among other things, the processes are studied for both by-right and non-by-right cases. In doing so, the data are based on a collected empirical study in the form of qualitative expert interviews. The findings of the comparison provide a detailed description and illustration of the current building permit processes, as well as the lessons learned from both countries.

1. Introduction

Before any construction can be legally erected, the building project must be reviewed by the relevant building authority. In the best case, the building project receives a building permit. Although the associated process is a short procedure compared to the building design, execution, or operation phases, it is nevertheless essential. The current building permit process is recognized as a manual, subjective, error-prone, and time-consuming activity that may lead to ambiguity, inconsistency in assessments, and delays over the entire construction process [1].
The European Network of Digital Building Permits (EUnet4DBP) identified the process behind the building permit issuance as one of the three most significant pillars besides rules and requirements, as well as technology. Each pillar represents one field of action toward the digitalization of building permitting [2].
A comprehensive review of the literature on scientific contributions on the state-of-the-art in digital building permitting shows an increasing interest in DBP in academia during the last years, especially starting in 2014. Efforts focus, with few exceptions, on the technological advancements of building permitting, particularly on automated regulation checks. However, the study also shows that initial efforts actually began in 2004, but implementation success has been almost non-existent in practice so far. The highest implementation level of the reviewed contributions stagnates at the stage of demonstrators and proof of concepts. Very few contributions achieved an executing and validating stage (e.g., pilots). The study also found that a lot of different subjects in the field of building permitting are not, or just a little, investigated. This includes the understanding of the necessary process steps for digital building permits. Furthermore, fundamental research is often missing compared to a high number of applied sciences contributions [3].
The authors of this paper believe that one reason for the lack of implementation is that it is not enough to code law for automated checks and to develop prototypical software demonstrators if they are not incorporated into processes. Automated code compliance checking and the processes are not mutually exclusive; rather, they can complement each other. Therefore, it is important to understand and learn from current processes first.

1.1. Topic Background

Building permitting has experienced an increasing trend in the number of applications for many years. For example, 1,451,579 building permits were issued in the USA in 2020, an increase of 22.7% over the previous five years (1,182,582 building permits issued in 2015) [4]. In Germany, there was a 3% increase in 2020 when compared to 2015 (147,304 building permits issued in 2015 and 151,612 building permits issued in 2020) [5]. Today, processes in the USA tend to be bureaucratic and not productive; however, more and more authorities are looking for more efficient ways to provide building permits [6]. Similar problems and developments can also be observed in Germany.

1.2. Problem Definition

Staff reductions and shortages of adequate personnel is one significant problem facing building permit authorities in Germany [7,8,9]. Special demand for developing a more efficient building permit process in the USA is demonstrated by research developed by the International Code Council (ICC) and the National Institute of Building Sciences (NIBS). It showed that, in 2014, over 80% of the existing authorities’ professional workforce was planning to retire before 2030. Thereof, more than 30% have already retired since 2014 [10]. This problem is a significant issue in the processing of building permits and was confirmed by a quantitative study in the state of Florida [11]. The respondents of this study indicated that the number of staff reviewers was the most significant factor causing permit delays.
This problem is compounded by difficulties created by the large number of regulations and their inconsistencies [12]. These difficulties occur mainly between county and state borders but are also not unknown at the local level [13]. It is difficult for planners to work with authorities they do not know and whose procedures they are not familiar with. This is an underestimated aspect when considering the building-permit review process.
All the problems described above boil down to the fact that there is a need to improve processes in the authorities in order to fundamentally relieve personnel and not to waste personnel resources on unimportant matters. The shortage of skilled workers and the opacity and complexity of the handling of regulations, which overall contribute to an extension of the building permit process, speak against this.

1.3. Objective

The aim of this paper is to formulate a basis for process modeling dedicated to building permitting in the form of a conceptual framework. The framework is tested by a case study using two exemplary countries, first to test the framework, and second to understand how difficult would be to develop a generic automatable process. Furthermore, the modeled building permit processes undergo a comparison to derive the lessons learned.
The framework intends to allow other researchers to model the building permit process in a consistent manner and replicate other countries. In the end, when some modeling has emerged on a consistent level, it becomes valuable to derive best practices.

1.4. Own Approach Description

To achieve this goal, data sets were collected by qualitative expert interviews investigating current building permit processes. This was performed by using Germany and the USA as examples. Data sets of these countries were analyzed scientifically, using qualitative content analysis. The results from the analysis led to a generic framework showcasing the concept and elements of how to model building-permit processes. The building permit processes of both countries are shown in this paper in a formalized way so that a comparison can be made. Differences and similarities were identified. Finally, the results are discussed in the form of lessons learned.
The main rationale behind showing the as-is processes is to increase transparency which is missing in many detailed aspects so far. Knowing the processes well helps to focus staff time resources for important tasks, providing permit applicants with a guideline for target-oriented application documents and application justifications tailored to the requirements of the respective authority. In addition, the modeled processes show starting points for the implementation of digital tools or methods with regard to automation in field of building permitting.

1.5. Delimitation of the Paper

The following subtopics are not considered, if not mentioned explicitly otherwise:
  • Costs and fees;
  • Durations and deadlines;
  • Just “full permit” procedure is considered instead of over-the-counter check or express e-permitting. Full permit is used for regular projects and parallel design-permitting process (no small extensions or renovations, etc.);
  • Preliminary review (e.g., zoning determination letter). The considered building permit process starts with the submission of the application and ends with the issuance of the permit for the start of construction;
  • Building inspections, meaning the process during construction and after the completion of construction. The consideration of this approach ends with the permit issuance;
  • Neighbor issues;
  • Organizations within a district which influences local design charters (planning law), e.g., neighborhood councils, homeowner association board, etc., because they will be consulted before the building permit process starts;
  • Perspective of planners. Just necessary targeting issues are mentioned;
  • There is no differentiation between administrative and technical staff in the authorities considered;
  • Processes which are administrative only (e.g., writing and sending confirmation of receipt);
  • Development of regulations;
  • Disagreements/contradiction (after the applicant gets a negative notification;
  • Processes within other agencies of public interest. Just necessary targeting issues are mentioned.

1.6. Outline (Roadmap)

Section 1 presents the introductory part of this paper, followed by describing relevant terminology in Section 2. A literature review is presented in Section 3, focusing on the current permitting processes in different countries, comparing multiple locations’ permitting process, as well as novel permitting processes to support automation. Section 4 provides an insight into the preliminary results of the work. The methodology of the approach is discussed in Section 5. Section 6 presents the developed conceptual framework. The case study starts with illustrating analyzed and investigated processes in Section 7, while these processes are compared in Section 8. Section 9 introduces results of comparisons and a discussion about the lessons learned from these processes. The paper closes with a conclusion and discussion of future work in Section 10.

2. Terminology

To avoid ambiguity, relevant terms are defined as follows:
  • Agencies of public interest—see “other agencies” below.
  • Application—a form which includes all information needed for building permit review; can be also seen as the act which requests a building permit.
  • Authority—a public institution organized on local level (municipality, city, or county).
  • Building code—law text which consists of requirements regarding the building (safety, technology, accessibility, etc.).
  • Building department (or department of building and safety)—section within an authority where requests of building law are proceeded.
  • Building law—main term of law which describes all requirements regarding building and safety issues.
  • Building permit—result of the building permit application review; it can be negative or positive (permit not issued or permit issued).
  • Building permit application—see “application” above.
  • Building-permit application review—process which describes the checking of building permit requirements.
  • Building permit process—process within an authority which starts with the submission of a building permit application by the applicant and ends with the issuance of the building permit.
  • By-right case—process where all requirements meet the code requirements
  • Discretion/discretional action—decision-making by the authorities and plan checkers within internal boundaries or personal tolerances.
  • Full permit—permit which is necessary for large construction; contrary to express permit or similar shortened permit procedures (e.g., used for small extensions or renovations); requires a comprehensive building permit review.
  • Modification—deviation based on building law which suggests a non-by-right-case
  • Non-by-right case—a process where one or more requirements are not compliant with the code (zoning code or building code); a deviation or exception exists.
  • Other agencies (agencies of public interest)—summarized as all other related (public) institutions and actors involved in the building permit process.
  • Permit—see “building permit” above.
  • Plan checker—person in an authority who is responsible for building permit application review.
  • Planning approval—sub-permit by the planning department that needs to be issued for continuing with the building issues.
  • Planning department—section within an authority where requests of planning law and zoning code are proceeded.
  • Planning law—main term of law which describes all requirements regarding zoning and planning issues.
  • Precheck—formal check of the building permit application form (completeness of information).
  • Statement—requested assessment of another agency of public interest.
  • Supervisor—respective next higher-ranking superior of the plan reviewer within the authority.
  • Variance—deviation based on planning law that indents a non-by-right case.
  • Zoning code—a law text which consists of requirements regarding the plot of land and its surroundings.

3. Review of the Literature

Building permit processes have received small scientific attention so far [3,14], and much fundamental research is still lacking at this point [15]. Particularly, scientific investigations of detailed as-is building permit processes are rarely found in the literature. Despite all the valuable contributions to digitization, there is a gap in research that looks at building-permit determination from a project management perspective. Only a few approaches examine the processes within a public authority (which is to be separated from the planning office view or early design phase); however, these are essential for obtaining a building permit, especially with regard to efficiency and transparency for all stakeholders.
Research approaches specifically related to the actual process of building permit reviews can be found only in Italy at the present time. These approaches refer, on the one hand, to the South Tyrol region [16], and on the other hand, to the Lombardy region [17]. Both approaches examine the actual processes in order to identify the potential for digitization in the processes.

3.1. Current Permitting Process in Germany and the USA

The world bank group regularly collected statistical data for a yearly report named the Doing Business report. The report is based on an index, which was considered the world’s best-known and most comprehensive study of business friendliness and business regulation in economies [18]. The data are compiled for 190 countries; in special cases, data from cities or regions within a country are additionally given (e.g., City of Los Angeles in the USA). It needs to be recognized that the stated procedures referring to the entire steps belong to building permit, starting from commissioning planning and submitting, hiring external third-party supervisors, and more, up to the completion of inspections. This means that the report considers the building permit procedure from the applicant’s point of view, not from the authority’s perspective. Therefore, a process step means any interaction a building company has with external parties. Table 1 summarizes specific numbers by the Doing Business report, comparing Germany, the United States, and Los Angeles within the United States. The rank shows the ease of dealing with the building permit in the specific country. Germany (rank 30) and the USA (rank 24) have a similar position related to the 190 evaluated countries. This number results from several answers of a questionnaire that are scored. The score results of Germany (78.2) and Los Angeles in the USA are very close to each other, while the number of procedures and time in days varies a lot. Germany counts nine process steps in 126 days. Los Angeles in the USA needs almost twice as long as Germany to complete all process steps (17 steps) but takes only 68 days for completion (approx. 54%). Comparing Los Angeles in the USA with general USA information, Table 1 shows that Los Angeles is 13 days faster; however, it needs one more process step [18].

3.2. Comparing Multiple Locations Permitting Process

Comparative cross-national studies in the field of building permitting are rarely found in the literature. Researchers from the Technical University of Delft developed a comparison of EU countries in 2002, and later, in 2011, building permit regulations and procedures were considered. The organization of the building permit procedures leads to countless possibilities and differences and was, therefore, not examined in detail [19].
Pedro et al. compared 27 European countries in regard to their permitting processes (e.g., where simplified procedures exist for smaller projects). In terms of the level of detail of the processes, the results of this study did not produce the depth required for our analysis [20].
Another report from 2011, comparing the building permit and legal situation in Germany, Denmark, Poland, and Lithuania, confirms that many similarities exist within these countries, and the differences lie mainly in the details. It is shown that a standardization is desirable, as it would increase the transparency in the building permit process [21].
With a focus on the development of a digital-building-permit workflow, Noardo et al. [22] roughly investigated building permit processes in the United Kingdom, the Netherlands, Sweden, and Slovenia to compare them with one another.

3.3. Novel Permitting Processes to Support Automation

Some examples that propose novel process steps are always combined with efforts in the direction of digitalization.
In support of digitization, new processes are added in every area. In the context of building permits, for example, this concerns data exchange. For example, Noardo et al. [23,24] describes at what point a data transfer/integration should take place and what kind of data are to be transferred/integrated (geo data, digital building information, etc.). Another example in this field comes from Sweden. Olsson investigated the integration of data in consideration, using geospatial data, of a geoinformation system [25,26].
Excellent digital or virtual building permitting frameworks for a future building permit process were proposed by Guler and Yomralioglu [27] in Turkey and by Messaoudi and Nawari [6] for off-site construction permits in the state of Florida (USA), as well as in South Korea [28]. They especially describe how the building permit process could be changed in the future for their respective countries.
Korean researchers are investigating the incorporation of Building Information Modeling (BIM) into the Korean building permit system, while aiming for a full automated building permit process. Their research started with the translation of the rules and regulations and proceeded to the testing of an automated model checking. Furthermore, a distinction between automated checkable and non-automated checkable objects took place. The newest approaches focus on the development of a user-friendly software that does not require programming knowledge in order to be used [29,30].
The Estonian government published a technical report in 2019, where an automated BIM driven submission system for building permit applications was proposed, demonstrating its integration to their existing processes [31]. Similar practical approaches took place in Dubai (UAE) and Geneva (Switzerland). The municipality of Dubai has been developing an e-submission system with regard to BIM and GIS integration [32]. The state of Geneva in Switzerland also started to investigate possibilities for a BIM-based e-submission system for building applications [33]. Ullah et al. [34] researched affecting factors for adopting BIM in the building permit process.
The literature review summarizes the following conclusions:
  • Process consideration is low in general.
  • Detailed process consideration is even less important. Detailed process comparisons between individual countries are lacking; however, it can be assumed that these comparisons reveal implicit process steps and can provide conclusions on best practice scenarios.
  • It is noticeable that approaches for improvements or advancements immediately focus on digitalized solutions, without considering possible improvements on the manual process. Papers that propose better processes overcoming limitations of existing processes (without help of automatization) do not exist.
  • A comparison between Germany and the USA is missing. (See Section 5.2 for reasons why Germany and the USA were chosen for comparison.)
  • No best possible process can be identified within the literature review.

4. Preliminary Results

As the literature review shows, the subject of investigating current building permit processes is rare. Therefore, the authors started by considering the building permit processes in Germany, with focus on the international context.
Ponnewitz and Bargstädt [35] proposed five major processes: formal review, assignment, participation, content review, and issuing approval, as illustrated in Figure 1. Assignment means the assignment of a responsible plan reviewer for a respective application. Due to the fact that the assignment process was not asked specifically during the interviews, it was then not considered in the proposed approach that focuses on the subprocesses: precheck, participation, conformity check, and issuance.
Figure 2 shows an internal process variant. In this variant, a building official handles all processes independently, such as completeness check, participation of the public authorities, and content check. After a decision has been made on building permit ability, the building official is responsible for signing the decision on his or her own. The head of the office is only consulted if necessary [15].

5. Research Methodology

5.1. Concept

Current research approaches for dealing with the improvement of the building permit process focus mainly on supporting digitalization solutions. Although these are very valuable approaches in its large majority, they overlook an important intermediate step. This concerns the examination of current process bottlenecks and the comparison for different countries with the search for best practices as potential benchmarks. For this reason, the proposed approach aims to develop a generic framework for how to model building permit processes and to examine and compare the building permit processes in Germany and the USA. This makes it possible to better understand the building permit process itself. Furthermore, lessons learned can be derived from it. Since few pertinent works in the literature exist specifically on building permit processes, it was necessary to collect data ourselves. This was performed in the form of an empirical study.

5.2. Empirical Research Design

The research methodology is illustrated in Figure 3. After several pre-considerations, an investigation strategy was developed. Qualitative expert interviews were selected as the most appropriate method for this study, considering the fact that preliminary research [15] showed that quantitative surveys are not suitable to collect detailed and specific process information. For this purpose, qualitative expert interviews provided us the possibility to re-ask questions when necessary, allowing us to achieve a level of detail that cannot be obtained with quantitative surveys.
The interviews were conducted in a semi-structured way. This means that an interview guideline that was used during the interviews was developed in advance. An interview guideline helps the interviewer to avoid forgetting any questions. The interviews were recorded and transcribed. Afterward, a software-supported qualitative content analysis based on Gläser and Laudel [36] was used as an instrument for interpreting the results. The approach for how the content analysis was carried out is illustrated in Figure 4. It demonstrates that different codings (i.e., process and decision) were identified to support data analyses.
Despite the fact that we were studying the building permit process within an authority, we conducted interviews not just with the permit authority staff; we involved other experts, such as architects, project developers, and project managers, to allow the USA to understand the building permit process holistically. A summary of the collected data and the participants is shown in Table 2. The overall study was conducted between 2017 and 2020.
Although different countries can be compared with each other, the choice fell on Germany and the USA. This is based, on the one hand, on a similar governmental structure in the form of federalism, and on the other hand, on the possibility to conduct the interviews personally and, thus, to enforce a uniform approach. In addition, similar problems prevail in both countries, such as a shortage of skilled workers.
Business Process Model and Notation (BPMN), standardized in ISO/IEC 19510:2013-07 [37], was chosen as the modeling language for uniform comprehensibility. A simplified representation of the symbolism used is presented in Figure 5.

6. Conceptual Framework for Building Permit Process Modeling

It is of high priority for any successful implementation to understand the existing processes. In the case of building permitting, it is significant to understand the current particularities in building permit processes before proposing any automation tool. Based on empirical data sets (see Section 5) and preliminary research (see Section 4), a generic framework of how to model building permit processes is developed. The framework is illustrated in Figure 6 and consists of three main elements: processes, stakeholders, and business rules.
The framework takes into account all processes that take place in a building permit procedure from the perspective of the authority. It is important to note that process steps are hierarchized. Not every process step can be placed on the same level as others. Some process steps can or must be combined or organized into different levels, depending on their granularity.
Stakeholders in a building permit process have a decisive influence on the process itself and must, therefore, be integrated as an element in the framework. The stakeholders consist of the different stakeholders within an authority (e.g., plan checkers and supervisors) and all other stakeholders outside the authority (e.g., applicants and other authorities).
For example, it is obvious that the more internal stakeholders involved in the process, the more often a transfer of construction application documents happens. This is an important aspect for the implementation of digital approaches, among others.
The third element of the conceptual framework is the business rules. Business rules define all rules driven by the authority-specific requirements and circumstances that exist. Authority-specific requirements are, for example, internal rules set by the head of department. For example, all construction projects larger than 5000 square meters are presented and discussed in a two-week meeting. Authority-specific circumstances refer to the organizational structure of the respective authority. For example, in small authorities, one plan checker might be responsible for everything. On the contrary, in huge authorities, specific tasks are separated from each other (e.g., administrative tasks, supervision, and content checks). Finally, business rules provide alternatives of action, which are very often implicit. “Implicit”, in this context, means that people are not aware of the knowledge about a process or an alternative course of action. The reasons for this include the fact that these processes have been anchored in the authority for a very long time and are no longer thought about—for example, operational blindness exists. The implicit knowledge exists in the mind of experts (people who manage the process steps every day) only. It is also to be considered that the experts themselves are often not able to map their implicit knowledge, because they are not aware of it. For this reason, a scientific evaluation (from the outside) is essential for understanding process bottlenecks and for improving the efficiency of the processes. Within this framework, the consideration of the business rules automatically includes the legally prescribed process steps, insofar as these exist. At this point, it must be pointed out that, based on the analyzed data sets, no requirements were found to be intended by law. This means that the law does not govern the processes of issuing building permit processes. The law provides rules such as a minimum size of rooms, distance from neighbors, and maximum height, but it does not give, except in very few cases, superficial requirements for the processes (e.g., deadlines for notification letter after reception in the authority); the law also clearly does not describe the processes themselves. Missing and undefined legal requirements are also the reason why the processes vary so much from each other; this is also why it is so important to analyze.
After data sets are analyzed, considering the explained elements of the framework, the processes can be modeled.
Based on the proposed framework, other researchers are able to replicate building-permit process models for their respective country or authority; therefore, provides a consistent basis for other comparisons to identify best practices in building permitting. It is of high significance that modeled processes are based on a consistent framework. It is not responsible to compare processes based on different approaches and data sets, as they can distort the results.

7. Case Study—Process Illustration

7.1. Explanations of Outcome Structuring

Processes (in both countries) focus on by-right cases and non-by-right cases. So far, processes have never been compared in this way, but it is responsible, because the two processes differ from each other and must be analyzed to a special degree with regard to alternatives of action and in respect to their granularity.
As introduced in Section 2, a non-by-right case is a process where one or more requirements are not compliant with the zoning or building code, while a by-right case meets all legislative requirements. It has to be noted that a non-by-right case does not mean that the building permit is not to be issued implicitly.
The non-by-right cases build directly on the by-right cases. However, they consider all possibilities if a process or a result does not correspond to the rule case. For this reason, only the process alternatives are discussed in the following descriptions of the non-by-right cases, and the entire process is not described again.
For this study, it is assumed that a negative decision will not be issued, while interim possibilities and decisions are exhausted and illustrated.
In general, the applicant, other agencies, and building-permit authorities are presented as lanes (see Section 5.2). While the applicant and other agencies are only touched upon, the authorities are subdivided.
Based on the preliminary research (see Section 4), four main processes are considered and are partly subdivided: precheck, participation, content check, and issuance.

7.2. German Processes

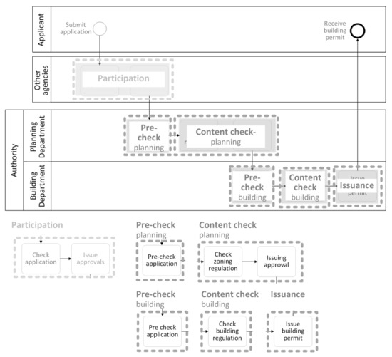
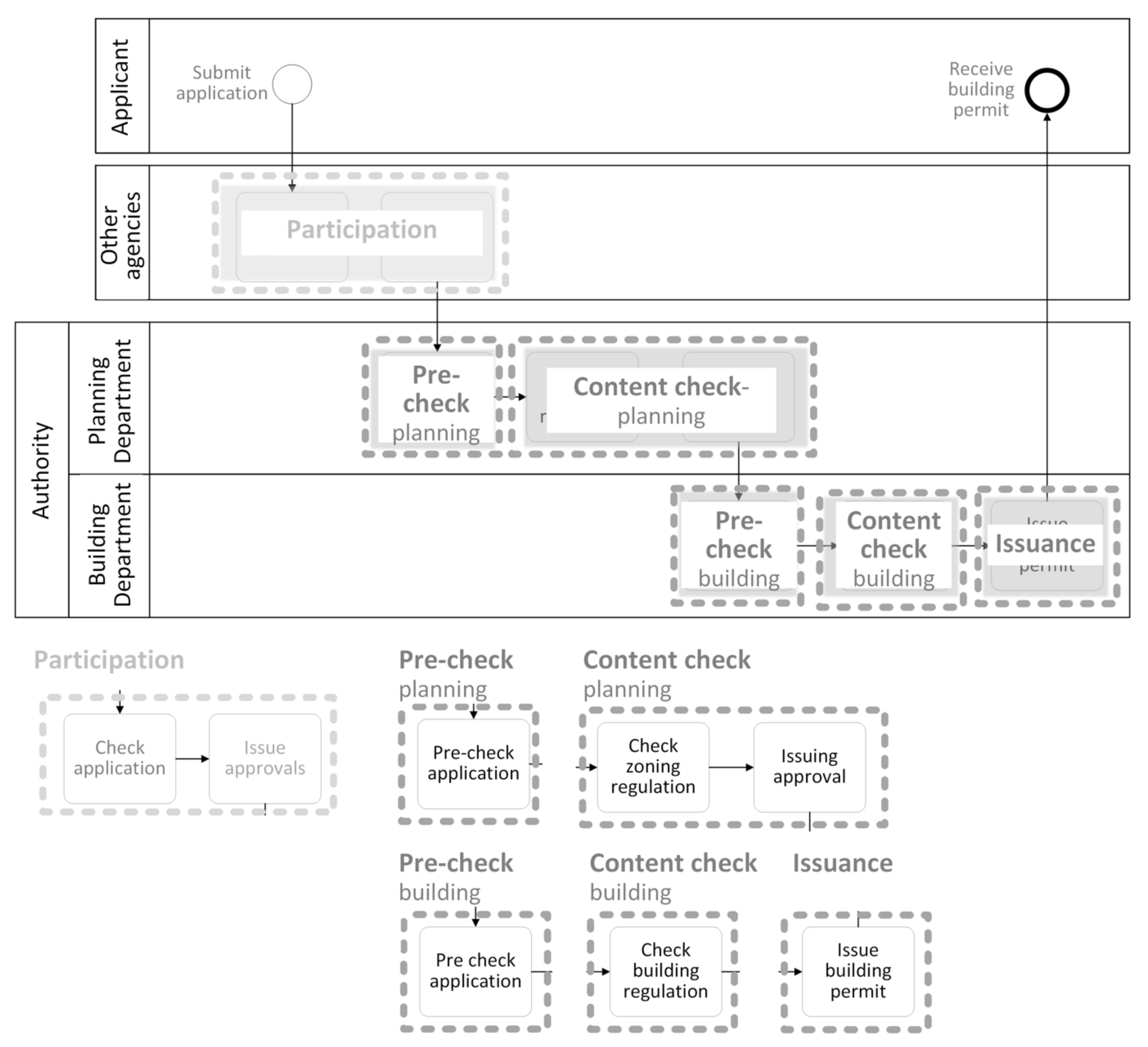
Figure 7 illustrates the by-right case of building permitting in Germany. After applicants submit building applications to the authority, a precheck is carried out by the authority. After that, the planning law and building regulations law are checked. Furthermore, other agencies are asked for their statements. The statements are collected by the building permit authority and are included in the decision for the building permit. The issuance of the building permit is based then on the statements of other agencies and on the conformity check, which can be positive or negative. Finally, applicants then receive the decision. Depending on the authority, there may be an internal sequence for checking planning law, checking building law, and other agencies’ participation.
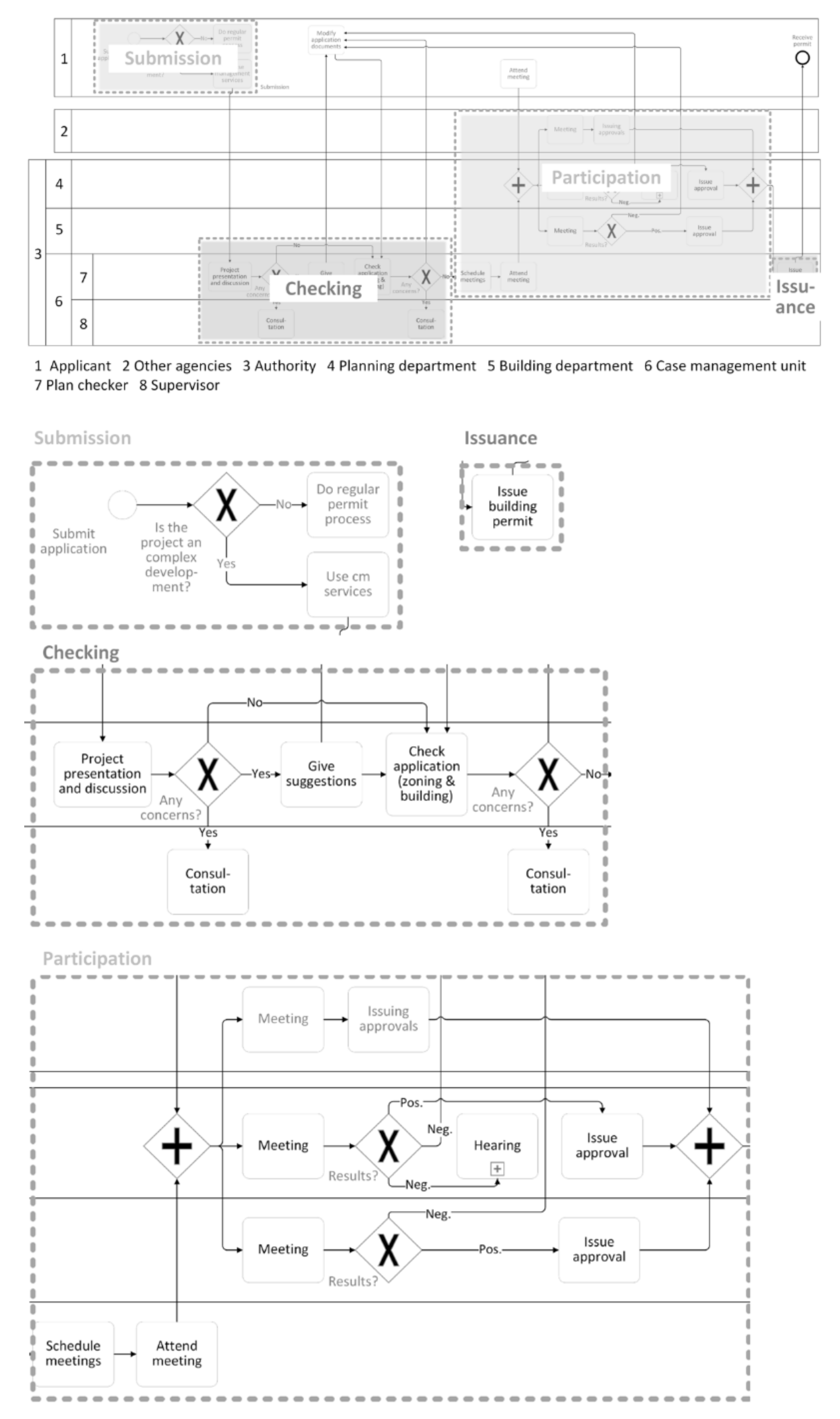
The non-by-right case of building permitting in Germany is represented in Figure 8. First, the applicant submits the application, and then the precheck starts. If the documents are incomplete during the precheck (this includes missing information and documents, incorrect form of documents, etc.), applicants are notified of this. Applicants are given the opportunity to adjust their documents within a given timeframe. If conformity with the requirements is not achieved during the conformity review or other agencies’ participation, the plan checker has a choice of various action alternatives. Consultations with applicants can be convened in order to clarify and, if necessary, better understand the issues. If there is no conformity, the applicant can modify his/her building application documents. For example, he/she can adjust his/her planning or obtain and submit evidence from experts for certain requirements. Another option is for the plan checker to call an intra-agency meeting. This may be scheduled with the supervisor or with colleagues. Here, the documents are discussed and debated within the agency. If conformity cannot be achieved here either, the applicant is informed to give him the opportunity to adjust his building application documents. As soon as the applicant revises his documents, the iteration starts again, beginning with the precheck.

7.3. USA Processes

Figure 9 illustrates the by-right-case of building permitting in the USA. After applicants have completed the building application documents, they first request and obtain statements from other agencies. With their comments, the building application documents are then submitted to the planning department. There, a formal precheck is carried out before the zoning code is checked for conformity with the project. A planning approval is then issued. Together with the planning approval, the documents are sent to the building department. Here, a formal precheck is also carried out before the project is checked in accordance with the building regulations. The building permit is then issued and sent to the applicant.
The non-by-right case of building permitting in the USA, as illustrated in Figure 10, follows the same process as the by-right case until precheck. First, the documents are sent to the planning department. If a formal incompleteness is identified during the precheck, the applicant is notified of this. This gives him/her the opportunity to revise the construction contract documents. If a discrepancy is found during the conformity review (this may also be provided for as part of the application), a hearing is scheduled (see Section 7.4 and Figure 11), or the supervisor is contacted. If the discrepancy remains, a hearing is essential. If the outcome of the hearing is negative, i.e., it is determined that the variance cannot be accepted, the applicant may again modify and resubmit his/her building permit application. If the variance can be approved, another precheck is made in the building department with the planning approval. Again, there may be a finding of incompleteness. In that case, the applicant can revise and resubmit his/her documents within a time limit. If a deviation is found during the conformity review of the building regulations, the plan checker will first inform his/her supervisor and discuss the situation with him/her. If the deviation cannot be accepted, the applicant will be informed and can make a modification to his/her documents and then submit the revised ones to the authority.

7.4. Special Subprocesses and Cases

The study shows that a specific subprocess exists in the studied USA authorities. The subprocess need to be explained separately, as follows.
As mentioned in Section 7.3, if the requirements of the planning law are not met, a variance can be applied. To enforce or clarify a variance, the planning authority uses an instrument and subprocess that is called a “hearing”. A hearing can be considered as a type of special meeting where the issues of specific project variances are discussed. After a variance application appears in a review process, the planning department announces a public hearing. Usually, the hearing is published on the authority’s website with some project information, the date, and the venue.
In the hearing, the applicant, as well as the public, can attend. It is an optional possibility for the applicant to present the project, while members of the public are invited to introduce their concerns related to the project. The planning department is represented by a hearing officer. The hearing officer’s tasks are limited to chairing the hearing and to documenting all statements objectively. The role of the hearing officer is characterized by a silent attendance, which means that the hearing officer will not participate in the discussion or express any kind of personal opinion. After the hearing is finished and all collected information is documented, the hearing officer delivers the documentation to a decision-maker. The decision-maker is based in the planning department and commonly holds a supervising position. Based on the hearing documentation, the decision-maker makes the final decision about the variance. The result is then forwarded to the applicant. The subprocess hearing is illustrated in Figure 11.
One of the USA authorities that participated in our study developed a specific service for their building permit applicants that is called Case Management Service. The Case Management Service guides and assists the applicant through the building permit process with the support of a specialized plan checker. The case management service is deployed by a special unit in the building permit authority called the case management unit. The use of the case management service is limited to high budget and complex construction projects (e.g., airport buildings). It is to be noted that the service is available at a cost.
According to the building permit process, the applicant may decide to use the service or not, assuming that the project meets the minimum requirements. In Figure 12, a case management case as a non-by-right case is shown. The illustrated process resembles the regular non-by-right case, with respective differences. After the case-management plan checker is involved, the project is presented and discussed with the applicant as a first step. If any concerns arise, a supervisor can be engaged, or suggestions for improvements can be given. Later on, the conformity of the building-permit application information according to the requirements are checked. If concerns occur, further consultations with supervisors are possible. Otherwise, the procedure continues with scheduling meetings with the planning department, the building department, and other agencies in charge, as well as with the attendance of those meeting together with the applicant. Depending on the meeting outcomes, if deviations exist, a hearing (Figure 11) is announced, or modifications of the application documents are to be revised. In this case, the iteration starts with the application check by the plan checker again. When all approvals from the respective departments and agencies are issued, the case-management unit issues the building permit and sends it to the applicant.

8. Case Study—Comparison of Processes

8.1. Comparison of By-Right Cases

The by-right cases can be divided into four major steps: precheck, participation, content check, and issuance.
Prechecks in both countries can consist of the following, among other things: completeness check (of application info and documents), registration (of the project within the authority’s system), formal check (e.g., if correct forms are used), or administrative processes (e.g., send reception letter).
In both countries, other agencies are invited to comment upon the building permit application related to their specific expertise. This step is called participation. The difference between the countries is that this step is to be executed either by applicants in the USA or by the building permit authorities in Germany.
Planning and building laws are both examined. It needs to be noted that this categorization is more common in the USA because, there, two different departments are in charge, one for planning and the other for building issues. That is why the major process conformity check is also divided in planning and building. In Germany, this categorization can, but does not have to, be separated into two areas. Building-permit authorities do not need to have two separate departments.
The sequence of participation, planning review, and building review is always the same, without exception. In Germany, planning law is usually reviewed before building law, but they also run in parallel in some cases. Participation can also run in parallel with content review. However, sometimes, this is also performed before or after the review.
After the building permit is issued, the applicant is informed, and the building permit is sent. It is to be noted that the building permit is not complete until the inspection during and after completion of the building has been positively approved in the USA. In Germany, the inspection is optional and depends on the authority (at its discretion).

8.2. Comparison of the Non-By-Right Cases

The non-by-right cases can be divided in the same major four steps: precheck, participation, content check, and issuance. In these cases, it is assumed that there is a deviation from by-right cases. These cases are more complex in their sequence, as they activate various subprocesses and decisions.
In the precheck, the most common deviation is that an application is not complete. This can mean that forms, documents, or required information for processing are missing. If this case occurs, applicants receive information and get the possibility to complete or revise the application documents (within a specified period). This is proceeded in the USA, first for planning, and then later for building; and in Germany, it is commonly performed as one step.
Due to the separation in the USA, planning law is checked first. If a variance occurs, the supervisor can be contacted first to discuss the issue and to avoid misunderstandings. However, the enforcement of a variance is only possible through a hearing (see Section 7.4).
After a positive statement from the planning department is received, the building law is checked. Modifications from the law are regulated within the building department. Therefore, a consultation with the applicant is an option, as well as a discussion with the supervisor or colleagues. A regular meeting among the plan checkers or a meeting of the plan checkers in case of need (projects that are difficult to assess) is customary. In the USA, it is more likely that only the supervisors exchange information and pass on the status of information in practice to the plan checkers. In Germany, an “unofficial” exchange among colleagues is quite common, whereas, in the USA, only the supervisor is consulted in the first instance.
All results from the content check(s) and the participation statements are eventually collected for consideration by the plan checker in both countries. This documentation is the basis for the final decision.

8.3. Summarizing the Major Similarities and Differences of the Processes

Similarities among the building permit processes between Germany and the USA are recognized as follows:
  • By-right cases are similar to each other in both countries.
  • Planning and building law are separated from each other in both countries. As learned from the literature review, it is to be noted that a separation of planning and building law is not mandatory in every country globally.
  • In both countries, meetings are called in the case of discrepancies while content checking. In the USA, a called meeting primarily concerns meeting with the supervisor, while, in Germany, meetings can happen with any colleagues, supervisors, higher ranked authorities, and others. This depends, for example, on the size of the authority and the organizational structure of the authority.
Differences among the building permit processes between Germany and the USA occur as follows:
  • Planning law and building law are much more strictly divided in the USA than in Germany. Usually, the respective law is organized and checked in a separate department, while both laws are organized together in Germany. This results in several prechecks in the USA and entails an increased expenditure of time.
  • In the USA, variances (deviations in planning law) are to be realized in form of hearings only. This procedure demands time-consuming efforts. In Germany, a hearing does not exist in the form such as in the USA. It is possible to obtain a variance via an application.
  • In general, modifications and variances (based either on building or planning law) depend on the respective regulations in the country (national, state, and municipal level) and differ in detail from each other.
  • In the USA, applicants need to obtain the approvals from other agencies by themselves. This is in contrast to Germany, where the participation of other involved agencies is in the responsibility of the building officials.
  • Case management as a chargeable service offered by the authority in the USA is a unique proposal which does not exists in the authorities in Germany.

8.4. Other Findings

This section provides the insights gained from other significant findings from the interviews related to the building permit processes but not mentioned before or not shown in the process figures:
  • The authorities’ organizational structure can be very different in both countries. It is up to the city and the head of the authority to decide on how to structure the authority and its departments. For example, the size of the city or the number of employees influence the organizational structure.
  • Some authorities in the USA outsource the plan review stage to independent architects because of a lack of personnel. This does not happen in Germany. It is prohibited by law to involve third parties in the review.
  • In the USA, supervisors have regular meetings (across branch offices) to discuss difficult cases and situations. They are well organized and have frequent meetings. Networking (outside the “own” building permit authority) plays a significant role in the USA.
  • In both countries, there is a need that many other agencies participate in the process of interim approvals decisions. The participation is based on a variety of specific law differences. For example, plumbing issues are not reviewed in Germany but are considered in the USA.
  • Both countries deal with a high number of regulations at different levels (local, state, national, and international). Furthermore, these regulations vary a lot between the federal systems. For example, some states have no zoning code at all in the USA. Moreover, frequent, but not always fixed, amendments (e.g., new building codes every 3 years in the USA) complicate dealing with building permits.
  • Discretional approvals based on zoning code (variances) are possible in both countries but are extremely costly in the USA.
  • Gray areas in codes exist in Germany, as well as in the USA. This complicates the work of building permitting for building officials everywhere.
  • In general, building-permit authorities in the USA have a higher degree of flexibility. An example is that, outside temporary offices for mega projects such as airports exist, where authority staff in charge is working on site. Similar approaches are not known in Germany.

8.5. Benchmarking with Other Approaches

Other approaches introduced on Section 3, such as the processes described by References [16,17,18], do not consider the building permit processes from the perspective of by-right and non-by-right cases. They represent a rather rough division of the building permit processes. Nevertheless, the main processes compare well with the results from Section 7. Precheck, participation, content check, and issuance are found in all approaches, although they differ in the details. Finally, there are no comparable and appropriate data that allow for a reasonable comparison.

9. Discussion of Lessons Learned from the State-of-the-Art

The aim of this paper is to introduce lessons learned from a comparison of the building permit processes between Germany and the USA. Considering the lessons learned, six main points are discussed here.

9.1. Participation by Applicant vs. by Plan Checker

The process of participation is handled differently in Germany and the USA. In Germany, participation is carried out by the plan checker and in the USA by the applicant. From the process perspective, we can consider and compare existing approaches introduced in the literature review (Section 3), in particular, the Doing Business report [15]. In the USA, 17 or 16 process steps are required in dealing with a building permit for applicants. In Germany, there are only nine process steps. The high number of process steps and the difference between the countries can be attributed to the interaction by applicants with other agencies. In Germany, the task of participation is performed by the authorities and is therefore not included in the process steps in the Doing Business report. It should be emphasized that the time required to obtain a building permit for a warehouse in the USA is almost half as long as in Germany. It can be concluded that the applicants are faster in complying with the requested statements than the authorities. (Case management must be left aside here, as a warehouse does not meet the requirements of a large project development (see Section 8.3).)
Involvement by applicants saves the authority time, especially in the case of negative statements by the other agencies. That means, if an application is rejected beforehand, the building permit authority does not have to deal with it at all. Otherwise, these discrepancies are carried out on the back of the plan checker and extend the overall length of the procedure. However, participation by the agency is considered the more citizen-friendly approach.

9.2. Knowledge of Which Other Agencies Require Participation

The participation of other agencies is perceived as a subjective process. This means that it is not always clearly defined which other authority is to be involved. In Germany, this is partly dependent on individual officials. It has been observed that, out of uncertainty or fear of making mistakes, too many other authorities or authorities that do not necessarily have to be involved are asked for statements by plan checkers [15]. This procedure wastes human resources and costs a lot of time, because other authorities involved by mistake also have to give formal feedback. In the USA, a similar problem appears with inexperienced applicants who feel uncertain and overwhelmed with the decision of who should participate in the collection of the required statements. Although the authority is not in charge directly, the problem is just switched in its responsibility in the first step, and the authority remains the first point of contact. This issue results in more consultation effort for the authority prior to application or more post-processing effort for corrections or obtaining missing statements after the application has been submitted. This also takes the authority a lot of time. Therefore, it cannot be stated that one or the other is the better solution. If the respective person knows who to involve, there is no problem. It does not matter whether the person is an applicant or a plan reviewer. So, an overarching solution could be explored that both parties can access.

9.3. Complexity of Processes Calls for Standardization

The case management offers especially out-of-town applicants help to find their way within the authority and its procedures. This confirms the enormous difficulty for applicants to find their way around and the need for transparency in the building permit process. It also shows the willingness of applicants to accept help and to pay for it. A service of any kind (charged or not charged, online or per request, etc.) should be considered by each authority and by other responsible governmental agencies. Moreover, a standardization – at least of the major processes and the common understanding—needs to be considered on different levels (county, state, country, and global) and also depends on authority characteristics (size of the authorities, number of incoming building permit applications, number of staff, etc.). Nevertheless, the process can be unified and generalized. This is confirmed by Section 7.

9.4. Interaction of Planning Law and Building Law as an Important Factor for Internal Authority Processing

The results show that, in the case management unit in the USA and in many German authorities, planning law and building law are considered together, meaning that they are considered by one authority. This can be beneficial for communication ease.
It is out of the question that, in planning law, as well as in building law, specific expertise is required to review building permit applications. On the one hand, education in the field of urban planning (planning law) is required, while on the other hand, people with a degree in architecture or civil engineering (building law) are requested. From this, it can be concluded that a high level of experience is probably necessary in order to be able to evaluate both categories by a single plan reviewer. Considering the current difficulty in recruiting adequate personnel, it is obvious that such an effort cannot be effective; otherwise, poor and unsatisfactory results are to be expected.
In conclusion, a separation of planning law and building law between plan reviewers is significant, since two different areas of expertise are required here. However, it should be reconsidered whether the differently trained plan reviewer should be organized together within one authority or even whether teamwork should be established. This would avoid loss of information and shorten communication channels, as well as efficiency in terms of time.

9.5. Hearings Provide Decision-Makers with Individual Statements from the Public

In the USA, decision-makers, in the sense of planning law, are informed of public concerns through hearings. This provides decision-makers with an information resource that they cannot access in Germany. However, the process is time-consuming and costs organizational and human resources. Hearings can, however, help to avoid protracted legal disputes, which may ensue after a permit has been issued or construction has been completed.

9.6. Outsourced Plan Reviews for a Shorter Process Duration

Particularly in exceptional cases (e.g., with an above-average volume of building applications), the possibility of having reviews carried out by other institutions (e.g., architectural offices as external service providers) represents an apparent solution for keeping the duration of the building permit process as short as possible. Apart from the legal conformity, which does not exist—at least, not in Germany—the question arises to what extent the solution can be implemented in practice. As outlined at the beginning, there is a shortage of skilled workers in the building permit authorities, which is why more efficient processes are to be developed as a solution. However, the shortage of specialists is not only found in the authorities, but also in the architectural offices. In order to commission an architectural office to conduct a review, it probably requires great persuasive power (for example, through above-average payment) to make this assignment attractive, due to the current situation. Accordingly, the possibility of outsourcing would only be considered for cities and municipalities with stable budgets. Furthermore, it must be considered that asking supervisors or coordinating with colleagues as an external service provider is rather difficult or associated with obstacles. There are also concerns about the familiarity and experience of external service providers with a review. Even if external service providers are clearly technically capable of conducting such reviews, there is still the question of how confident and familiarized they are with the procedure and how long this may prolong a review process. This is because particular value should be placed on transparency and traceability, especially when decisions are made by external service providers. The option of allowing external service providers to take over subprocesses—or, for example, only certain types of projects—within a review is conceivable in principle, but it also entails the need for clear instructions and handouts.

9.7. Remaining Gaps for More Effective Building Permit Processes

Both considered countries still miss a solution with clear and thorough instructions—for example, which other agencies need to be involved. In addition, a standardized or generic process needs to be provided at the municipal level. To solve this issue, detailed direction and instructions for modeling and notation should be given by a confirmed standard, which needs to be developed, but the proposed conceptual framework provides a starting point in this direction.
Regarding the limitations of this paper, the findings represent sample results, as they refer to data from individual interviews. Within the scope of this paper, not all building-permit authorities in Germany and the USA could be interviewed.

9.8. Generality and Applicability for Other Countries

Although the variance in building permit processes between countries, states, and even municipalities is enormous, the approach shows that it is possible to model building permit processes consistently, based on the proposed framework (Section 6). The framework will allow other researchers to develop models for their respective countries. It is expected, in the future, that some modeling will emerge on a consistent level, allowing researchers to derive building-permitting best practices.
The case study and the modeling of the two exemplary countries also show that even different processes can be compared if they are based on a consistent basis. Even if the comparison of only two countries cannot provide a statement about best practices, the lessons learned provide insights that can also contribute to other countries and the efficiency of their building permit processes in both academia and industry.
It is important to consider that the proposed framework and research method requires experienced interviewers to provide the desired data quality. The entire research process, which begins with contacting potential interviewees, conducting the interviews physically in person (not online), and analyzing several hours of transcribed audio data, is very time-consuming. Nevertheless, it is of importance to follow this procedure to achieve a consistent high-quality data set, making it difficult and time-consuming to acquire the required data to develop the type of comparative analysis such as the one presented in this paper.

10. Summary and Conclusions

Building permit processes worldwide are complex, difficult, and inefficient. The existing approaches focus on improvements through digital transformation and neglect to examine the fundamentals. This paper aimed to develop a conceptual framework for building permit process modeling in order to test the applicability of the framework modeling and compare the as-is processes that are exemplarily in Germany and the USA. For this purpose, the existing processes were analyzed and presented in detail. Based on the analysis and preliminary work, a generic conceptual framework was derived that takes into account the elements necessary for modeling building permit processes. Similarities and differences were learned from the comparison. We learned the following from the processes in the USA: statements from other involved agencies are collected faster by applicants than by plan reviewers; providing a case management service is a responsible method to support applicants; and while a hearing consumes many different resources, it can conversely avoid lengthy court and litigation procedures. The interactions between expertized plan checkers either in planning law or building law is more convenient in the German building permit authorities, due to the fact that no separate planning approval is required, and the two fields of expertise do not have to be split between two different authorities. However, despite all possible improvements from one country or another, the standardization of building permit processes promises to be of great assistance to plan checkers and applicants.
This paper provides starting points for an improved and more effective building permit process by using the discussed outcomes of the comparison. Moreover, the results improve the understandability and the transparency of building permit processes in international context. Besides this, the showcased processes provide a basis for digitalization implementations.
It is desirable and worthwhile to study the building permit processes of other countries with the same level of detail and, in turn, compare them with the results of this paper. The authors have already launched several collaborations for future studies of a broader range of countries to be analyzed. The studies will serve as a basis for identifying best practices, as well as approaches for implementation of automation. Once enough process modeling has been gathered, one way to take this approach further is to collect the data by using a quantitative method for which a corresponding survey would have to be developed. This approach would help verify the results in the USA and internationally with a high number of possible participants.

Author Contributions

Conceptualization, J.F. and L.S.; methodology, J.F. and L.S.; validation, J.F. and L.S.; formal analysis, J.F.; investigation, J.F.; data curation, J.F.; writing—original draft preparation, J.F.; writing—review and editing, L.S.; visualization, J.F.; supervision, J.F.; project administration, J.F. All authors have read and agreed to the published version of the manuscript.

Funding

This research received no external funding.

Institutional Review Board Statement

Not applicable.

Informed Consent Statement

Not applicable.

Data Availability Statement

The data presented in this study are available on request from the corresponding author. The data are not publicly available due to all data used during the study are confidential in nature and may only be provided with restrictions.

Acknowledgments

The authors thank all interviewees for their contributions. Furthermore, we have to acknowledge the grant from the German–American Fulbright Commission, which was essential for conducting the interviews in the USA. Special thanks are given to Burcin Becerik-Gerber for her support and contributions to this study.

Conflicts of Interest

The authors declare no conflict of interest.

References

  1. Malsane, S.; Matthews, J.; Lockley, S.; Love, P.E.D.; Greenwood, D. Development of an Object Model for Automated Compliance Checking. Autom. Constr. 2015, 49, 51–58. [Google Scholar] [CrossRef]
  2. Noardo, F.; Malacarne, G.; Ventura, S.M.; Tagliabue, L.C.; Ciribini, A.L.C.; Ellul, C.; Guler, D.; Harrie, L.; Senger, L.; Waha, A.; et al. Integrating Expertises and Ambitions for Data-Driven Digital Building Permits-the EUNET4DB. Int. Arch. Photogramm. Remote Sens. Spatial Inf. Sci. 2020, 44, 103–110. [Google Scholar] [CrossRef]
  3. Noardo, F.; Guler, D.; Fauth, J.; Malacarne, G.; Mastrolembo Ventura, S.; Azenha, M.; Olsson, P.; Senger, L. Unveiling the Actual Progress of Digital Building Permit: Getting Awareness through a Critical State of the Art Review. Build. Environ. 2022, 213, 108854. [Google Scholar] [CrossRef]
  4. USA Census Bureau. US Census Bureau Building Permits Survey. 2021. Available online: https://www.census.gov/construction/bps/ (accessed on 23 April 2021).
  5. German Federal Statistical Office. Statistics of Building Permits. GENESIS Online Database, Table 31111. Available online: https://www-genesis.destatis.de/genesis/online?sequenz=statistikTabellen&selectionname=31111&language=en#abreadcrumb (accessed on 3 August 2021).
  6. Messaoudi, M.; Nawari, O.N. Virtual Permitting Framework for Off-site Construction Case Study: A Case Study of the State of Florida. Lect. Notes Civ. Eng. 2021, 98, 757–771. [Google Scholar] [CrossRef]
  7. Thuringian Ministry for Building, Regional Development and Media (TMBLM). Second Progress Report on the Thuringian Building Code 2004; Thuringia: Erfurt, Germany, 2009. [Google Scholar]
  8. Pezzei, K. Lichtblick im Akten-Dschungel. In Immobilienwirtschaft; Haufe: Freiburg, Germany, 2019; pp. 10–11. [Google Scholar]
  9. Etscheid, J. Automatisierungspotenziale in der Verwaltung. In (Un)predictable? Algorithms and Automation in State and Society; Kar, R.M., Thapa, B., Parycek, P., Eds.; Fraunhofer Verlag: Berlin, Germany, 2018; pp. 126–158. Available online: https://www.ssoar.info/ssoar/bitstream/handle/document/57538/ssoar-2018-etscheid-Automatisierungspotenziale_in_der_Verwaltung.pdf?sequence=1 (accessed on 1 May 2021).
  10. National Institute of Building Sciences (NIBS). The Future of Code Officials—Results and Recommendations from a Demographic Survey. White Paper, International Code Council. 2014. Available online: http://media.iccsafe.org/docs/ICC-NBIS-Future-Of-Code-Officials.pdf (accessed on 7 January 2021).
  11. Messaoudi, M.; Nawari, O.N.; Srinivasan, R. Virtual Building Permitting Framework for the State of Florida: Data Collection and Analysis. In Proceedings of the ASCE Conference on Computing in Civil Engineering 2019: Visualization, Information Modeling, and Simulation, Atlanta, GA, USA, 17–19 June 2019; Cho, Y.K., Leite, F., Behzadan, A., Wand, C., Eds.; ASCE: Reston, VA, USA, 2019; pp. 328–335. [Google Scholar] [CrossRef]
  12. Scholten, N.P.M. En route to a knowledge-based building regulation and control that interlinks societal requirements, scientific knowledge, education and building practice. In Proceedings of the COBRA 2011 RICS Construction and Property Conference, Salford, UK, 12–13 September 2011; pp. 159–169. Available online: https://www.irbnet.de/daten/iconda/CIB_DC24508.pdf (accessed on 5 March 2021).
  13. Springer, B. Building Markets? Neoliberalism, Competitive Federalism, and the Enduring Fragmentation of the American Market. Master Dissertation, University of Oregon, Eugene, OR, USA, 2018. [Google Scholar]
  14. Schleich, M. Kosteneinsparpotenziale einer Effizienteren Landesbauordnung—Ökonomische Analyse der Bauordnung für das Land Nordrhein-Westfalen im Vergleich; Springer Vieweg: Wiesbaden, Germany, 2018. [Google Scholar]
  15. Fauth, J. A process-oriented decision model on the determination of permitability of construction projects. Ph.D. Thesis, Bauhaus University Weimar, Germany, 2021. [Google Scholar]
  16. Plazza, D.; Röck, M.; Malacarne, G.; Passer, A.; Marcher, C.; Matt, D.T. BIM for Public Authorities: Basic Research for the Standardized Implementation of BIM in the Building Permit Process. In Proceedings of the IOP Conference Series: Earth and Environmental Science, Graz, Austria, 11–14 September 2019; IOP Publishing: Bristol, UK, 2019; Volume 323. Available online: https://iopscience.iop.org/article/10.1088/1755-1315/323/1/012102 (accessed on 9 February 2021).
  17. Costa, S.; Comai, S.; Mastrolembo Ventura, S.; Ciribini, A.L.C. Digital Building Permit and Small Sized Local Authorities in Italy. In Proceedings of the Digital Building Permit: A State of Play. I EUnet4DBP International Workshop on Digital Building Permit, TU, Delft, The Netherlands, 25–26 March 2021; Noardo, F., Malacarne, G., Eds.; EuroSDR: Leuven, Belgium, 2021; pp. 54–56. [Google Scholar]
  18. World Bank 2021. Doing Business 2021; The World Bank: Washington, DC, USA, 2021; Available online: https://www.doingbusiness.org/en/data/exploretopics/dealing-with-construction-permits (accessed on 19 February 2021).
  19. Meijer, F.M.; Visscher, H.J.; Sheridan, L. Building regulations in Europe Part I—A comparison of the systems of building control in eight European countries. In Housing and Urban and Policy Studies 23; Delft University Press: Delft, The Netherlands, 2002; ISBN 90-407-2373-7. [Google Scholar]
  20. Pedro, J.B.; Meijer, F.; Visscher, H. Comparison of building permit procedures in European Union countries. In Proceedings of the COBRA 2011, RICS International Research Construction and Property Conference, Salford, UK, 12–13 September 2011; pp. 415–436. Available online: http://resolver.tudelft.nl/uuid:b391c687-3ecb-4017-abba-06f1539017e6 (accessed on 7 February 2021).
  21. Rückert, K. Longlife Legal Requirements—Report on Legal Sustainability Requirements and Building Permission Procedures; Universitätsverlag der TU Berlin: Berlin, Germany, 2011. [Google Scholar]
  22. Noardo, F.; Ellul, C.; Harrie, L.; Overland, I.; Shariat, M.; Ohori, K.A.; Stoter, J. Opportunities and Challenges for GeoBIM in Europe: Developing a Building Permits Use—Case to Raise Awareness and Examine Technical Interoperability Challenges. J. Spat. Sci. 2020, 65, 209–233. [Google Scholar] [CrossRef]
  23. Noardo, F.; Wu, T.; Ohori, K.A.; Krijnen, T.; Stoter, J. IFC models for semi-automating common planning checks for building permits. Autom. Constr. 2022, 134, 104097. [Google Scholar] [CrossRef]
  24. Noardo, F.; Harrie, L.; Arroyo Ohori, K.; Biljecki, F.; Ellul, C.; Krijnen, T.; Eriksson, H.; Guler, D.; Hintz, D.; Jadidi, M.A.; et al. Tools for BIM-GIS Integration (IFC Georeferencing and Conversions): Results from the GeoBIM Benchmark 2019. ISPRS Int. J. Geo-Inf. 2020, 9, 502. [Google Scholar] [CrossRef]
  25. Olsson, P.-O.; Axelsson, J.; Hooper, M.; Harrie, L. Automation of Building Permission by Integration of BIM and Geospatial Data. ISPRS Int. J. Geo-Inf. 2018, 7, 307. [Google Scholar] [CrossRef] [Green Version]
  26. Harrie, L.; Olsson, P.-O. Exchange of digital information in the building permission process in Sweden—Some previous and possible future studies. In Proceedings of the Digital Building Permit: A State of Play. I EUnet4DBP International Workshop on Digital Building Permit, TU, Delft, The Netherlands, 25–26 March 2021; Noardo, F., Malacarne, G., Eds.; EuroSDR: Leuven, Belgium, 2021; pp. 41–44. [Google Scholar]
  27. Guler, D.; Yomralioglu, T. A Reformative Framework for Processes from Building Permit Issuing to Property Ownership in Turkey. Land Use Policy 2021, 101, 105115. [Google Scholar] [CrossRef]
  28. Kim, I.; Choi, J.; Teo, E.A.L.; Sun, H. Development of K-BIM e-Submission Prototypical System for the OpenBIM-Based Building Permit Framework. J. Civ. Eng. Manag. 2020, 26, 744–756. [Google Scholar] [CrossRef]
  29. Kim, H.; Lee, J.-K.; Shin, J.; Choi, J. Visual language approach to representing KbimCode-based Korea building code sentences for automated rule checking. J. Comput. Des. Eng. 2019, 6, 143–148. [Google Scholar] [CrossRef]
  30. Lee, H.; Lee, J.K.; Park, S.; Kim, I. Translating Building Legislation into a Computer-Executable Format for Evaluating Building Permit Requirements. Autom. Constr. 2016, 71, 49–61. [Google Scholar] [CrossRef]
  31. Klooster, R.; Van Deth, J.; Van Berlo, L.; Meijer, S. Final Report of: Introducing a Building Information Model (BIM)-Based Process for Building Permits in Estonia. 2019. Available online: https://eehitus.ee/wp-content/uploads/2019/11/2019-07-19-BIM-based-building-permits-Technical-Report.pdf (accessed on 15 October 2021).
  32. Ismail, A.; Hamoud, M. Dubai BIM e-Submission Platform and BIM-GIS integration. In Proceedings of the Digital Building Permit: A State of Play. I EUnet4DBP International Workshop on Digital Building Permit, TU, Delft, The Netherlands, 25–26 March 2021; Noardo, F., Malacarne, G., Eds.; EuroSDR: Leuven, Belgium, 2021; pp. 31–34. [Google Scholar]
  33. Vincendon, O. Digital Building Permit in the State of Geneva. In Proceedings of the Digital Building Permit: A State of Play. I EUnet4DBP International Workshop on Digital Building Permit, TU, Delft, The Netherlands, 25–26 March 2021; Noardo, F., Malacarne, G., Eds.; EuroSDR: Leuven, Belgium, 2021; p. 30. [Google Scholar]
  34. Ullah, K.; Witt, E.; Lill, I. The BIM-Based Building Permit Process: Factors Affecting Adoption. Buildings 2022, 12, 45. [Google Scholar] [CrossRef]
  35. Ponnewitz, J.; Bargstädt, H.-J. The building permit—How to standardize traditionally established processes. In Proceedings of the 20th Congress of International Association for Bridge and Structural Engineering: The Evolving Metropolis (IABSE 2019), New York, NY, USA, 4–6 September 2019; pp. 1561–1565. [Google Scholar]
  36. Gläser, J.; Laudel, G. Experteninterviews und Qualitative Inhaltsanalyse als Instrumente Rekonstruierender Untersuchungen, 4th ed.; VS Verlag: Wiesbaden, Germany, 2010; ISBN 9783531172385. [Google Scholar]
  37. ISO/IEC 19510:2013-07; Information Technology—Object Management Group Business Process Model and Notation. International Organization for Standardization: Geneva, Switzerland, 2013.
Figure 1. Major processes according to Reference [35].
Figure 1. Major processes according to Reference [35].
Buildings 12 00638 g001
Figure 2. Example process in a specific German authority (according to Reference [15]).
Figure 2. Example process in a specific German authority (according to Reference [15]).
Buildings 12 00638 g002
Figure 3. Methodology of the empirical study (according to Reference [36]).
Figure 3. Methodology of the empirical study (according to Reference [36]).
Buildings 12 00638 g003
Figure 4. Methodology of qualitative content analysis (according to Reference [36]).
Figure 4. Methodology of qualitative content analysis (according to Reference [36]).
Buildings 12 00638 g004
Figure 5. Schematic illustration of BPMN symbols used (according to Reference [37]).
Figure 5. Schematic illustration of BPMN symbols used (according to Reference [37]).
Buildings 12 00638 g005
Figure 6. Conceptual framework for building-permit process modeling.
Figure 6. Conceptual framework for building-permit process modeling.
Buildings 12 00638 g006
Figure 7. By-right case in Germany.
Figure 7. By-right case in Germany.
Buildings 12 00638 g007
Figure 8. Non-by-right case in Germany.
Figure 8. Non-by-right case in Germany.
Buildings 12 00638 g008
Figure 9. By-right case in the USA.
Figure 9. By-right case in the USA.
Buildings 12 00638 g009
Figure 10. Non-by-right case in the USA.
Figure 10. Non-by-right case in the USA.
Buildings 12 00638 g010
Figure 11. Subprocess hearing.
Figure 11. Subprocess hearing.
Buildings 12 00638 g011
Figure 12. Case management case (non-by-right)—overview.
Figure 12. Case management case (non-by-right)—overview.
Buildings 12 00638 g012
Table 1. Comparison of Germany and USA according to the Doing Business ranking [18].
Table 1. Comparison of Germany and USA according to the Doing Business ranking [18].
LocationDealing with Construction Permits RankDealing with Construction Permits ScoreProcedures
(Number)
Time (Days)
Germany3078.29126
United States2480.01681
United States—Los AngelesNot given79.91768
Table 2. Scope of conducted interviews and data material.
Table 2. Scope of conducted interviews and data material.
GermanyUSATotal
Scope
Interviews331245
Audio material (in hours)27.510.538
Participants
Interview partners28 + 11240 + 1
Authority staff14 + 1519 + 1
Building authorities12214
Planner538
Developer426
Other experts527
Notes: The difference between the scope of interviews and interview partners is due to the fact that several interviews were performed with one interview partner. Information provided by participants marked with a “+” are interviews in which several interview partners were present. In some cases, several authority staff were interviewed within one building permit authority; this is why the number of building permit authorities is lower than the number of authority staff.
Publisher’s Note: MDPI stays neutral with regard to jurisdictional claims in published maps and institutional affiliations.

Share and Cite

MDPI and ACS Style

Fauth, J.; Soibelman, L. Conceptual Framework for Building Permit Process Modeling: Lessons Learned from a Comparison between Germany and the United States regarding the As-Is Building Permit Processes. Buildings 2022, 12, 638. https://doi.org/10.3390/buildings12050638

AMA Style

Fauth J, Soibelman L. Conceptual Framework for Building Permit Process Modeling: Lessons Learned from a Comparison between Germany and the United States regarding the As-Is Building Permit Processes. Buildings. 2022; 12(5):638. https://doi.org/10.3390/buildings12050638

Chicago/Turabian Style

Fauth, Judith, and Lucio Soibelman. 2022. "Conceptual Framework for Building Permit Process Modeling: Lessons Learned from a Comparison between Germany and the United States regarding the As-Is Building Permit Processes" Buildings 12, no. 5: 638. https://doi.org/10.3390/buildings12050638

APA Style

Fauth, J., & Soibelman, L. (2022). Conceptual Framework for Building Permit Process Modeling: Lessons Learned from a Comparison between Germany and the United States regarding the As-Is Building Permit Processes. Buildings, 12(5), 638. https://doi.org/10.3390/buildings12050638

Note that from the first issue of 2016, this journal uses article numbers instead of page numbers. See further details here.

Article Metrics

Back to TopTop