Experimental and Numerical Study of Behaviour of Reinforced Masonry Walls with NSM CFRP Strips Subjected to Combined Loads
Abstract
1. Introduction
2. Materials and Methods
2.1. Materials
2.1.1. Brick Units
2.1.2. Cement-Lime Mortar
2.1.3. Composite Materials (CFRP)
2.2. Methods
3. Results and Discussion
3.1. Unreinforced Masonry Panels Subjected to Uniaxial Compression
3.1.1. Unreinforced Masonry Panels Subjected to Uniaxial Compression θ = 90° (MCA, MCB)
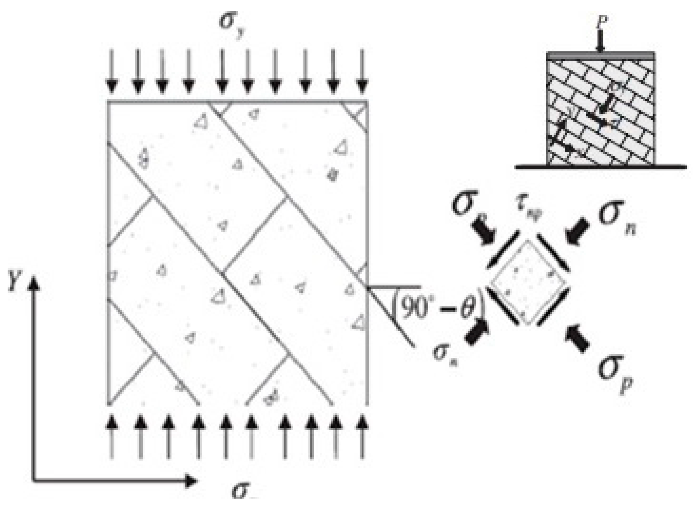
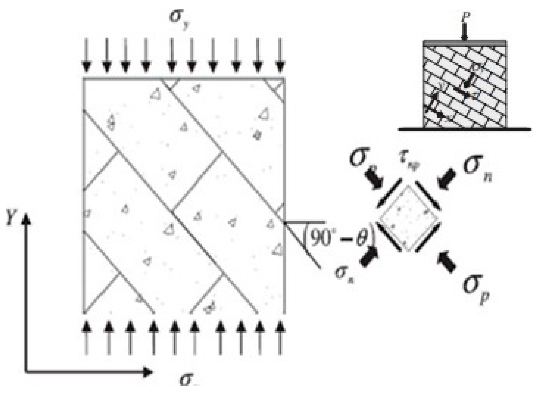
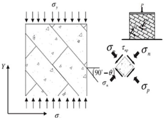
3.1.2. Unreinforced Masonry Wall Subjected to Uniaxial Compression with θ = 45°
3.2. Reinforced Masonry Walls Subjected to Uniaxial Compression with θ = 45°
- Panels MRVA and MRVB were reinforced with two vertical strips on one side;
- Panels MRHA and MRHB were reinforced with two horizontal strips on one side;
- Panels MR2A and MR2B were reinforced with two vertical strips on one side and two horizontal strips on the other side. The distance between the staggered vertical reinforcement was 135 mm.
3.3. FEM Modeling for Unreinforced Masonry Wall (MTB)
3.3.1. Material Parameters
3.3.2. Presentation of the Numerical Model
3.3.3. Constitutive Behavior of Units and Mortar
Concrete Damage Plasticity (CDP) Model
Constitutive Behavior of Units-Mortar Interface
3.3.4. Model Input Parameter
3.3.5. FE Modelling Results
4. Conclusions
- The increase in the proportion of sand in the mortar (from 3 to 5) led to an increase in the shear strength and the ductility of the masonry panels, especially in the case of reinforcement.
- The shear strength of unreinforced and reinforced masonry wall panel oriented by 45° was mainly related to the compressive strength of the masonry wall panel.
- The compressive strength and shear strength of masonry panels were affected by Eunit/Emortar ratio even when this ratio was greater than one.
- As the horizontal reinforcement restrained the opening of diagonal cracks, the sliding failures along single mortar bed joints caused by the horizontal reinforcement were prevented by the vertical reinforcement.
- The application of CFRP strips improves and increases the ductility and the bond strength of wall masonry especially in the case of reinforcing of both sides of the panel.
- The improvement in shear strength of strengthened wall panels with NSM CFRP strips ranged from 1.3 to 2 times (123% to 196%).
- All reinforced wall panels showed a substantial increase in the ductility by 2.68 to 4.7 times compared with unreinforced wall panels.
- The most significant increase in ductility was achieved by vertical NSM-FRP reinforcement in both sides of the wall panel.
- The Finite Element model proposed in this paper shows a considerable accuracy for the prediction of maximum strength and failure mode.
- The behavior of the masonry is strongly affected by the behavior of the interface; Coulomb friction criterion are important to simulate correctly the load transmission brick-mortar.
- The CDP model can well reflect the damage and the non-linear behavior of brick and mortar.
- The developed model has been proved to capture the crack patterns and the stress distribution patterns in both brick and mortar. However, the behaviour of the NSM strengthened masonry wall has not been validated since more experimental data and a particular model would be needed to substantiate this. Therefore, future work should focus on developing numerical models to analyze the wall behavior reinforced with NSM-CFRP under biaxial loading. In addition, several factors such as type of loading and the characteristics of the single component brick and mortar should be considered in future researches in order to develop a suitable and optimal design approach for strengthening of in-plane loaded masonry walls.
Author Contributions
Funding
Acknowledgments
Conflicts of Interest
References
- Schueremans, L. Probabilistic Evaluation of Structural Unreinforced Masonry. Ph.D. Thesis, Catholic University of Leuven, Leuven, Belgium, 2001. [Google Scholar]
- Van der Pluijm, R. Out-of-Plane Bending of Masonry: Behavior and Strength. Ph.D. Thesis, Eindhoven University of Technology, Eindhoven, The Netherlands, 1999. [Google Scholar]
- Mojsilovic, N.; Marti, P. Tests on Masonry Walls Subjected to Combined Actions; Report No. 203; Institute of Structural Engineering, ETH Zurich: Zürich, Switzerland, 1994. [Google Scholar]
- Hamid, A.A.A. Behaviour Characteristics of Concrete Masonry. Ph.D. Thesis, McMaster University, Hamilton, ON, Canada, 1978. [Google Scholar]
- Dhanasekar, M.; PAGE, A.W.; et Kleeman, P.W. The failure of brick masonry under biaxial stresses. Proc. Inst. Civ. Eng. 1985, 79, 295–313. [Google Scholar] [CrossRef]
- Page, A. The biaxial compressive strength of brick masonry. Proc. Inst. Civ. Eng. 1981, 71, 893–906. [Google Scholar] [CrossRef]
- D’Ayala, D.F.; Paganoni, S. Assessment and analysis of damage in L’Aquila historic city centre after 6 April 2009. Bull. Earthq. Eng. 2011, 9, 81–104. [Google Scholar] [CrossRef]
- Calderoni, B.; Cordasco, E.A.; Del Zoppo, M.; Prota, A. Damage assessment of modern masonry buildings after the L’Aquila earthquake. Bull. Earthq. Eng. 2020, 18, 2275–2301. [Google Scholar] [CrossRef]
- El Gawady, M.A.; Lestuzzi, P.; Badoux, M. In-plane seismic response of URM walls upgraded with FRP. J. Compos. Constr. 2005, 9, 524–535. [Google Scholar] [CrossRef]
- Korany, Y.; Drysdale, R. Rehabilitation of masonry walls using unobtrusive FRP techniques for enhanced out-of-plane seismic resistance. J. Compos. Constr. 2006, 10, 213–222. [Google Scholar] [CrossRef]
- Wylie, J.C. Experimental Testing of Unreinforced Masonry Walls Strengthened with Orthogonal Near-Surface Mounted CFRP Subjected to Out-of-Plane Loading. Master’s Thesis, North Carolina State University, Raleigh, NC, USA, 2009. [Google Scholar]
- Petersen, R.B.; Masia, M.J.; Seracino, R. Bond behavior of near-surface mounted FRP strips bonded to modern clay brick masonry prisms: Influence of strip orientation and compression perpendicular to the strip. J. Compos. Constr. 2009, 13, 169–178. [Google Scholar] [CrossRef]
- Valluzzi, M.R.; Tinazzi, D.; Modena, C. Shear behavior of masonry panels strengthened by FRP laminates. Constr. Build. Mater. 2002, 16, 409–416. [Google Scholar] [CrossRef]
- Petersen, R.B.; Masia, M.J.; Seracino, R. In-plane shear behavior of masonry panels strengthened with NSM CFRP strips. I: Experimental investigation. J. Compos. Constr. 2010, 14, 754–763. [Google Scholar] [CrossRef]
- Dizhur, D.; Griffith, M.; Ingham, J. In-plane shear improvement of unreinforced masonry wall panels using NSM CFRP Strips. J. Compos. Constr. 2013, 17, 04013010-12. [Google Scholar] [CrossRef]
- Maljaee, H.; Ghiassi, B.; Lourenco, P.B. Bond behavior in NSM-strengthened masonry. Eng. Struct. 2018, 166, 302–313. [Google Scholar] [CrossRef]
- Lourenço, P.B. Computational Strategies for Masonry Structures. Ph.D. Thesis, Delft University of Technology, Delft, The Netherlands, 1996. [Google Scholar]
- Lourenço, P.B. Structural masonry analysis: Recent developments and prospects. In Proceedings of the 14th International Brick and Block Masonry Conference, Sydney, Australia, 17–20 February 2008. [Google Scholar]
- Lourenço, P.B. Computations on historic masonry structures. Progr. Struct. Eng. and Mater. 2002, 3, 301–319. [Google Scholar] [CrossRef]
- D’Altri, A.M.; Mirandaa, S.; Castellazzia, G.; Sarhosis, V. A 3D detailed micro-model for the in-plane and out-of-plane numerical analysis of masonry panels. Comput. Struct. 2018, 206, 18–30. [Google Scholar] [CrossRef]
- Sandoval, C.; Arnau, O. Experimental characterization and detailed micro-modeling of multiperforated clay brick masonry structural response. Mater. Struct. 2017, 50, 1–17. [Google Scholar] [CrossRef]
- EN 771-1. Specification for Masonry Units–Part 1: Clay Masonry Units; British Standards Institute: London, UK, 2003. [Google Scholar]
- EN 1015-11. 1015-11. Methods of Test for Masonry. Part 1: Determination of Compressive Strength; European Standards: Brussels, Belgium, 1998. [Google Scholar]
- RILEM. Technical Recommendations for the Testing and Use of Constructions Materials, LUMB1-Compressive Strength of Small Walls and Prisms; Technical Report; RILEM Publications, Chapman & Hall: London, UK, 1994. [Google Scholar]
- Hamid, A.A.; El-Dakhakhni, W.W.; Hakam, Z.H.R.; Elgaaly, M. Behavior of composite unreinforced masonry–FRP wall assemblages under in plane loading. J. Compos. Constr. 2005, 9, 73–83. [Google Scholar] [CrossRef]
- Kaushik, H.B.; Rai, D.C.; Jain, S.K. Stress-strain characteristics of clay brick masonry under uniaxial compression. J. Mater. Civil Eng. 2007, 19, 728–739. [Google Scholar] [CrossRef]
- CSA S304. 1-04. Design of Masonry Structures; CSA: Mississauga, ON, Canada, 2004; ISBN 1-55397-402-6.H.B. [Google Scholar]
- BS EN, 1052-1. Methods of Test for Masonry–Part 1: Determination of of Compressive Strength; European Committee for Standardization: Bruxelles, Belgium, 1998. [Google Scholar]
- Augenti, N.; Parisi, F. Constitutive modelling of tuff masonry in direct shear. Constr. Build. Mater. 2011, 25, 1612–1620. [Google Scholar] [CrossRef]
- FEMA 306. The Applied Technology Council. Evaluation of Earthquake Damaged Concrete and Masonry Wall Buildings-Basic Procedures; Technical Report; Federal Emergency Management Agency: Applied Technology Council, CA, USA, 1999.
- Reddy, B.V. and C.V.U. Vyas, Influence of shear bond strength on compressive strength and stress–strain characteristics of masonry. Mater. Struct. 2008, 41, 1697–1712. [Google Scholar] [CrossRef]
- Park, R. Evaluation of ductility of structures and structural assemblages from laboratory testing. Bull. N. Z. Nat. Soc. Earthq. Eng. 1989, 22, 155–166. [Google Scholar] [CrossRef]
- Pavan, G.; Nanjunda Rao, K. Behavior of Brick–Mortar Interfaces in FRP-Strengthened Masonry Assemblages under Normal Loading and Shear Loading. J. Mater. Civil. Eng. 2016, 28, 04015120. [Google Scholar] [CrossRef]
- Seracino, R.; Wylie, J.C. FRP Strengthening and Repair of Unreinforced Brick Masonry Walls. 2018. Available online: https://www.reiengineers.com/wp-content/uploads/2020/02/FRPStrengtheningandRepairofUnreinforcedBrickMasonryWalls.pdf (accessed on 30 May 2020).
- Lubliner, J.; Oliver, J.; Oller, S.; Onate, E. A plastic-damage model for concrete. Int. J. Solids Struct. 1989, 25, 299–326. [Google Scholar] [CrossRef]
- Systemes, D. Abaqus/CAE User’s Guide; Dassault Systemes Simulia Corp: Providence, RI, USA, 2014. [Google Scholar]

















| Material | fc (MPa) | Young’s Modulus E (MPa) |
|---|---|---|
| Brick | 14.5 | 9839 |
| Mortar A (1:1:3) | 7.2 | 3639 |
| Mortar B (1:1:5) | 3.6 | 1822 |
| Property | Value |
|---|---|
| CFRP width | 15 mm |
| Thickness | 2.5 mm |
| Young’s modulus (E CFRP) | 165,000 MPa |
| Tensile strength (Ft CFRP) | 3100 MPa |
| Rupture strain | 1.7 % |
| Stage | Walls Code | Walls Details | Orientation (θ) | Mortar Type | Dimensions Walls (mm) | Joint Thickness (mm) | Retrofit Details |
|---|---|---|---|---|---|---|---|
| 1 | MCA MCB | Control panels | 90° | A | 400 × 400 × 105 | 10 | Without |
| B | |||||||
| 2 | MTA MTB | Control panels | 45° | A | 400 × 400 × 105 | 10 | without |
| B | |||||||
| 3 | MHA | Reinforced panels | 45° | A | 400 × 400 × 105 | 10 | Two horizontals strips on one side |
| MVA | Two verticals strips on one side | ||||||
| MR2A | Two verticals strips on one side and two horizontals strips on the other side | ||||||
| 4 | MHB | Reinforced panels | 45° | B | 400 × 400 × 105 | 10 | Two horizontals strips on one side |
| MVB | Two vertical strips on one side | ||||||
| MR2B | Two vertical strips on one side and two horizontals strips on the other side |
| Calculation Formula of Emac (MPa) | Calculated Values Emac (MPa) | Experimental Values Emac (MPa) | ||
|---|---|---|---|---|
| Mortar Type A | Mortar Type B | Mortar Type A | Mortar Type B | |
| E,mac ≈ 1000σc, mac [27] | 2226 | 2164 | 1082.07 | 1391.25 |
| E,mac ≈ 850σc, mac ≤ 20,000 [28] | 1839 | 1892.1 | ||
| E,mac ≈ 550σc, mac [29,30] | 1245.2 | 1224.3 | ||
| θ° | Wall Panels | Eunit/Emortar = β β = 2.7 (Mortar Type A) | Eunit/Emortar = β β = 5.403 (Mortar Type B) | ||||
|---|---|---|---|---|---|---|---|
| Shear Strength (MPa) | Compressive Strength (MPa) | Young’s Modulus (MPa) | Shear Strength (MPa) | Compressive Strength (MPa) | Young’s Modulus (MPa) | ||
| 90° | MC | ----- | 2.16 | 1082.07 | ----- | 2.23 | 1391.26 |
| 45° | MT | 0.82 | 1.65 | 300.08 | 1.08 | 2.17 | 324.60 |
| MRH | 1.01 | 2.00 | 100.94 | 1.54 | 3.09 | 138.96 | |
| MRV | 1.08 | 2.16 | 117.2 | 1.61 | 3.23 | 165.94 | |
| MR2 | 1.53 | 3.05 | 156.72 | 2.12 | 4.23 | 458.31 | |
| Bed Joint Orientation | Type of Mortar | Wall Panels | Fmax (kN) | σ1 (MPa) | Age Increase (%) | σn (MPa) | σp (MPa) | τnp (MPa) |
|---|---|---|---|---|---|---|---|---|
| θ = 90° | Type A | MCA | 97.7 | 2.12 | ---- | 2.16 | ------ | 0 |
| Type B | MCB | 100.5 | 2.23 | ----- | 2.23 | ------ | 0 | |
| θ = 45° | Type A | MTA Panel control | 69.2 | 1.65 | ----- | 0.82 | 0.82 | 0.82 |
| MRHA Single side | 85.1 | 2.00 | 123 | 1.01 | 1.01 | 1.01 | ||
| MRVA Single side | 90.0 | 2.16 | 131 | 1.08 | 1.08 | 1.08 | ||
| MR2A both sides | 179.0 | 3.05 | 185 | 1.52 | 1.52 | 1.52 | ||
| Type B | MTB Panel control | 91.0 | 2.17 | ---- | 1.08 | 1.08 | 1.08 | |
| MRHB Single side | 129.70 | 3.09 | 142 | 1.54 | 1.54 | 1.54 | ||
| MRVB Single side | 135.50 | 3.23 | 149 | 1.61 | 1.61 | 1.61 | ||
| MR2B both sides | 180.10 | 4.23 | 196 | 2.12 | 2.12 | 2.12 |
| Wall Panels | Young’s Modulus E (MPa) | Shear Modulus G (MPa) | γe | γu | μ | μu/μo (%) |
|---|---|---|---|---|---|---|
| MCA | 1082.07 | 483.13 | 0.014 | 0.015 | 1.06 | ----- |
| MTA | 300.08 | 125.03 | 0.009 | 0.005 | 1.12 | ----- |
| MRHA | 100.94 | 42.10 | 0.005 | 0.02 | 3.83 | 342 |
| MRVA | 117.20 | 49.01 | 0.006 | 0.023 | 3.85 | 343 |
| MR2A | 156.72 | 65.34 | 0.005 | 0.019 | 4.38 | 391 |
| MCB | 1391.26 | 570.18 | 0.011 | 0.013 | 1.09 | ------ |
| MTB | 324.60 | 137.25 | 0.008 | 0.006 | 1.21 | ------ |
| MRHB | 138.96 | 57.90 | 0.006 | 0.017 | 2.68 | 222 |
| MRVB | 165.94 | 69.13 | 0.006 | 0.027 | 4.60 | 384 |
| MR2B | 458.31 | 76.98 | 0.005 | 0.024 | 4.70 | 392 |
| Elasticity Parameters | Brick | Mortar |
|---|---|---|
| density γ (kg/m3) | 2.2 × 103 | 1.8 × 103 |
| Young’s modulus, E (MPa) | 10,000 | 1880 |
| Poisson ratio ν | 0.2 | 0.18 |
| Plasticity Parameters | |
|---|---|
| Dilation angle (Ψ) | 20 |
| Eccentricity parameter (e) | 0.1 |
| Biaxial and unidirectional initial compressive strength ratio (fb0/fc0) | 1.16 |
| Stress ratio in tensile meridian (K) | 0.67 |
| Viscosity Parameter | 0.0001 |
| Material | Compressive Behavior | Tensile Behavior | ||
|---|---|---|---|---|
| Stress (MPa) | Inelastic Strain (×10−4) | Stress (MPa) | Cracking Strain (×10−4) | |
| Bricks | 12.1 | 0 | 2.5 | 0 |
| 13.2 | 1.4 | 2.2 | 1.4 | |
| 14.19 | 8.3 | 1.6 | 4.2 | |
| 12.65 | 17.7 | 1.1 | 7.0 | |
| 11.77 | 21.9 | 0.6 | 11.2 | |
| 11 | 26.9 | 0.1 | 21.0 | |
| Mortars | 5.98 | 0 | 1.63 | 0 |
| 6.05 | 10.75 | 1.53 | 5.91 | |
| 6.10 | 11.50 | 1.44 | 6.95 | |
| 6.21 | 18.00 | 1.26 | 13.20 | |
| 6.28 | 20.25 | 1.14 | 22.93 | |
| 6.36 | 27.75 | 1.13 | 31.50 | |
| Parameter | Wall Panels | |||||
|---|---|---|---|---|---|---|
| θ = 90° (MCB) | θ = 45° (MTB) | |||||
| Experimental | Numerical | C.O.V (%) | Experimental | Numerical | C.O.V (%) | |
| Fmax (kN) | 100.11 | 88.60 | 8.62 | 80.76 | 67.20 | 12.9 |
| σmax (MPa) | 2.23 | 1.97 | 8.75 | 1.92 | 1.60 | 12.8 |
| ε max | 0.016 | 0.016 | 0 | 0.014 | 0.022 | 31.4 |
© 2020 by the authors. Licensee MDPI, Basel, Switzerland. This article is an open access article distributed under the terms and conditions of the Creative Commons Attribution (CC BY) license (http://creativecommons.org/licenses/by/4.0/).
Share and Cite
Hernoune, H.; Benabed, B.; Kanellopoulos, A.; Al-Zuhairi, A.H.; Guettala, A. Experimental and Numerical Study of Behaviour of Reinforced Masonry Walls with NSM CFRP Strips Subjected to Combined Loads. Buildings 2020, 10, 103. https://doi.org/10.3390/buildings10060103
Hernoune H, Benabed B, Kanellopoulos A, Al-Zuhairi AH, Guettala A. Experimental and Numerical Study of Behaviour of Reinforced Masonry Walls with NSM CFRP Strips Subjected to Combined Loads. Buildings. 2020; 10(6):103. https://doi.org/10.3390/buildings10060103
Chicago/Turabian StyleHernoune, Houria, Benchaa Benabed, Antonios Kanellopoulos, Alaa Hussein Al-Zuhairi, and Abdelhamid Guettala. 2020. "Experimental and Numerical Study of Behaviour of Reinforced Masonry Walls with NSM CFRP Strips Subjected to Combined Loads" Buildings 10, no. 6: 103. https://doi.org/10.3390/buildings10060103
APA StyleHernoune, H., Benabed, B., Kanellopoulos, A., Al-Zuhairi, A. H., & Guettala, A. (2020). Experimental and Numerical Study of Behaviour of Reinforced Masonry Walls with NSM CFRP Strips Subjected to Combined Loads. Buildings, 10(6), 103. https://doi.org/10.3390/buildings10060103

