Weld Formation in Laser Hot-Wire Welding of 7075 Aluminum Alloy
Abstract
:1. Introduction
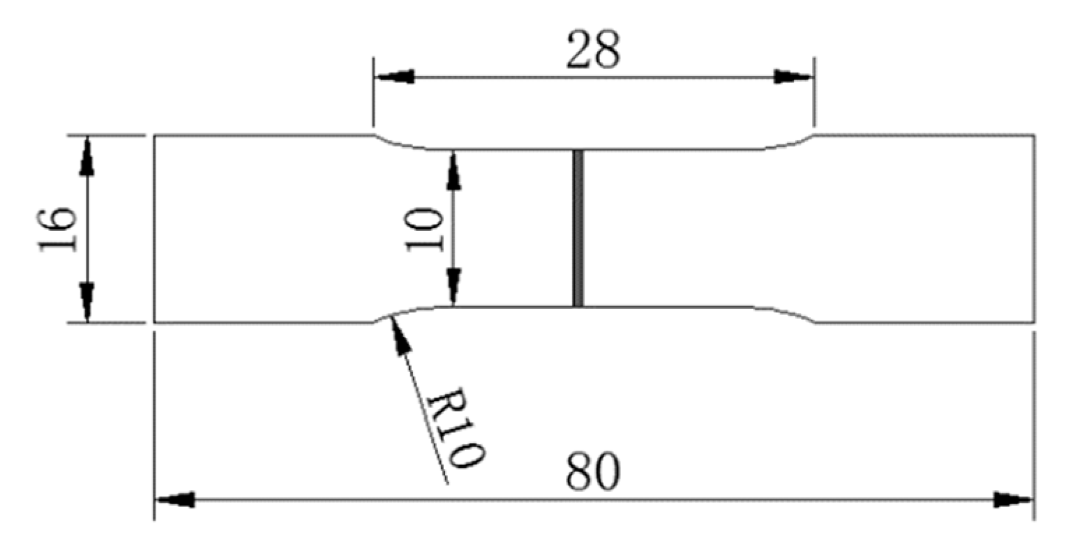
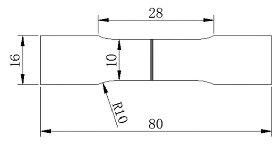
2. Materials and Methods
3. Results and Discussion
3.1. Welding Temperature
3.2. Influence of Parameters on Weld Formation
3.3. Microstructure
3.4. Microhardness
3.5. Tensile Strength
4. Conclusions
- (1)
- The parameters whose significance of influence on the weld formation as ranked from high to low were laser power, current, gap width, welding speed and wire feeding rate. The laser power and current had relatively higher significances than the others, because they were important heat sources during welding process, which simultaneously decided the pool width, weld penetration and the melting degree of the welding wire.
- (2)
- With the increase of welding wire temperature, the weld formation quality became better initially and then worsened. If the welding wire heating temperature was too low, it was easy to cause lack of fusion to the weld. If the welding wire heating temperature was too high, it was easy to cause over-penetration to the weld. This indicated that an optimal range existed for the welding wire heating temperature during laser hot-wire welding.
- (3)
- High-quality weld formation could be obtained when the current was 90 A, laser power was 1400 W, wire feeding rate was 0.6 m/min, welding speed was 8 mm/s and gap width was 0.1 mm, during laser hot-wire welding of 7075 aluminum alloy with 1.5 mm thickness.
- (4)
- The weld zone structure was a casting metallographic structure consisting of refined dendritic crystal and equiaxed crystal, and the heat affected zone had thick columnar crystal. The microhardness decreased gradually from base metal to heat affected zone and then to weld zone. The average microhardness of the weld zone was 114 HV0.05. The tensile fracture of the weld specimen occurred at the weld zone. The tensile strength of the weld joint was 206 MPa, which was 64.2% of the base metal strength.
Author Contributions
Funding
Conflicts of Interest
References
- Azimi, A.; Fallahdoost, H.; Nejadseyfi, O. Microstructure, mechanical and tribological behavior of hot-pressed mechanically alloyed Al-Zn-Mg-Cu powders. Mater. Des. 2015, 75, 1–8. [Google Scholar] [CrossRef]
- Vijaya Kumar, P.; Madhusudhan Reddy, G.; Srinivasa Rao, K. Microstructure, mechanical and corrosion behavior of high strength AA7075 aluminium alloy friction stir welds-Effect of post weld heat treatment. Def. Technol. 2015, 11, 362–369. [Google Scholar] [CrossRef]
- Martinez, S.; Lamikiz, A.; Ukar, E.; Calleja, A.; Arrizubieta, J.A.; Lopez de Localle, L.N. Analysis of the regimes in the scanner-based laser hardening process. Opt. Laser Eng. 2017, 90, 72–80. [Google Scholar] [CrossRef]
- Calleja, A.; Tabernero, I.; Fernandez, A.; Celaya, A.; Lamikiz, A.; Lopez de Localle, L.N. Improvement of strategies and parameters for multi-axis laser cladding operations. Opt. Laser Eng. 2014, 56, 113–120. [Google Scholar] [CrossRef]
- Wang, J.C. Development and expectation of laser welding technology. Laser Technol. 2001, 25, 48–54. (In Chinese) [Google Scholar]
- Cai, H.; Xiao, R.S.; Chen, K. Mechanical Property of CO2 Laser Welded Joint of 1420 Aluminum-Lithium Alloy. Chin. J. Lasers 2009, 36, 122–125. (In Chinese) [Google Scholar]
- Zhao, H.; Niu, W.; Zhang, B.; Lei, Y.P.; Kodama, M. Modelling of keyhole dynamics and porosity formation considering the adaptive keyhole shape and three-phase coupling during deep-penetration laser welding. J. Phys. D Appl. Phys. 2011, 44, 1–13. [Google Scholar] [CrossRef]
- Qi, J.F.; Zhang, D.Y.; Xiao, R.C.; Chen, K.; Zuo, T.C. Joint performance of CO2 laser beam welding 5083-H321 aluminum alloy. China Weld. 2007, 16, 40–45. (In Chinese) [Google Scholar]
- Yu, Y.C.; Wang, C.M.; Yu, S.F. Microstructures and property of butt laser joints of aluminium alloy 5A06 sheets with filler. Laser Technol. 2010, 34, 34–36. (In Chinese) [Google Scholar]
- Yang, D.; Li, X.; He, D.; Huang, H. Effect of minor Er and Zr on microstructure and mechanical properties of Al–Mg–Mn alloy (5083) welded joints. Mater. Sci. Eng. A Struct. 2013, 561, 226–231. [Google Scholar]
- Croteau, J.R.; Griffiths, S.; Rossell, M.D.; Leinenbach, C.; Kenel, C.; Jansen, V.; Seidman, D.N.; Dunand, D.C.; Vo, N.Q. Microstructure and mechanical properties of Al-Mg-Zr alloys processed by selective laser melting. Acta Mater. 2018, 153, 35–44. [Google Scholar] [CrossRef]
- Näsström, J.; Frostevarg, J.; Kaplan, A.F.H. Multipass laser hot-wire welding: Morphology and process robustness. J. Laser Appl. 2017, 29, 022014. [Google Scholar] [CrossRef]
- Liu, F.C.; Zhou, B.S.; Mao, Y.Q.; Huang, C.P.; Chen, Y.H. Microstructure and mechanical properties of laser welding joints between 2198/2060 Al-Li alloys. Metal. Sci. Technol. 2018, 34, 111–122. [Google Scholar]
- Tzeng, Y.C.; Wu, C.T.; Lee, S.L. The effect of trace Sc on the quench sensitivity of Al-7Si-0.6Mg alloys. Mater. Lett. 2015, 161, 340–342. [Google Scholar] [CrossRef]
- Lu, G.F.; Zhang, L.J.; Pei, Y.; Ning, J.; Zhang, J.X. Study on the size effects of H-Shaped fusion zone of fiber laser welded AZ31 joint. Metals 2018, 8, 198. [Google Scholar]
- Tzeng, Y.C.; Chung, C.Y. Effects of trace amounts of Zr and Sc on the recrystallization behavior and mechanical properties of Al-4.5Zn-1.6Mg alloys. Mater. Lett. 2018, 228, 270–272. [Google Scholar] [CrossRef]
- Näsström, J.; Frostevarg, J.; Kaplan, A.F.H. Arc formation in narrow gap hot wire laser welding. Weld. J. 2018, 97, 171–178. [Google Scholar]
- Peng, J.; Li, L.Q.; Lin, S.Y.; Deng, Z.; Zhang, F.R. Melting of filler metal and transfer stability in laser welding with pre-melting liquid filler. Trans. China Weld. Inst. 2016, 7, 9–12. (In Chinese) [Google Scholar]
- Jia, C.B.; Liu, X.F.; Wu, C.S.; Lin, S.B. Stereo analysis on the keyhole and weld pool behaviors in K-PAW with triple CCD cameras. J. Manuf. Process. 2018, 32, 754–762. [Google Scholar] [CrossRef]
- Ai, Y.W.; Jiang, P.; Wang, C.M.; Mi, G.Y.; Geng, S.N. Experimental and numerical analysis of molten pool and keyhole profile during high-power deep-penetration laser welding. Int. J. Heat Mass Transf. 2018, 126, 779–789. [Google Scholar] [CrossRef]
- Zeng, Z.; Oliveira, J.P.; Bu, X.Z.; Yang, M.; Li, R.X.; Wang, Z.M. Laser welding of BTi-6431S high temperature titanium alloy. Metals 2017, 7, 504. [Google Scholar] [CrossRef]
- Liu, S.; Liu, W.; Harooni, M.; Ma, J.J.; Kovaceic, R. Real-time monitoring of laser hot-wire cladding of Inconel 625. Opt. Laser Technol. 2014, 62, 124–134. [Google Scholar] [CrossRef]
- Wen, P.; Shan, J.G.; Zheng, S.Q.; Wang, G. Control of wire transfer behaviors in hot wire laser welding. Int. J. Adv. Manuf. Technol. 2016, 83, 9–12. [Google Scholar]
- Ohnishi, T.; Kawahitito, Y.; Mizutani, M.; Katayama, S. Butt welding of thick, high strength steel plate with a high power laser and hot wire to improve tolerance to gap variance and control weld metal oxygen content. Sci. Technol. Weld Join. 2013, 18, 314–322. [Google Scholar] [CrossRef]
- Liu, W.; Ma, J.J.; Liu, S.; Kovacevic, R. Experimental and numerical investigation of laser hot wire welding. Int. J. Adv. Manuf. Technol. 2015, 78, 1485–1499. [Google Scholar] [CrossRef]
- Kadoi, K.; Shinozaki, K.; Yamamoto, M.; Owaki, K.; Inose, K.; Takayanagi, D. Development of high-efficiency/high-quality hot-wire laser fillet welding process. J. Japan Weld. Soc. 2011, 29, 62–65. [Google Scholar] [CrossRef]
- Metzbower, E.A.; Bhadeshia, H.K.D.H.; Phillips, R.H. Microstructures in hot wire laser beam welding of HY 80 steel. Metal Sci. Technol. 1994, 10, 56–59. [Google Scholar] [CrossRef]











| Elements | Si | Fe | Cu | Mn | Mg | Cr | Zn | Ti | Al |
|---|---|---|---|---|---|---|---|---|---|
| Base metal | 0.40 | 0.50 | 1.50 | 0.25 | 2.50 | 0.26 | 5.80 | 0.20 | Bal. |
| Welding wire | 0.30 | 0.50 | 1.50 | 0.25 | 2.50 | 0.20 | 5.50 | 0.20 | Bal. |
| No. | Current (A) | Laser Power P (W) | Wire Feeding Rate (m/min) | Welding Speed (mm/s) | Gap Width (mm) |
|---|---|---|---|---|---|
| 1 | 40 | 1000 | 0.6 | 10 | 0 |
| 2 | 40 | 1300 | 0.8 | 14 | 0.2 |
| 3 | 40 | 1600 | 1 | 18 | 0.4 |
| 4 | 40 | 1800 | 1.2 | 22 | 0.6 |
| 5 | 60 | 1000 | 0.8 | 18 | 0.6 |
| 6 | 60 | 1300 | 0.6 | 22 | 0.4 |
| 7 | 60 | 1600 | 1.2 | 10 | 0.2 |
| 8 | 60 | 1800 | 1 | 14 | 0 |
| 9 | 80 | 1000 | 1 | 22 | 0.2 |
| 10 | 80 | 1300 | 1.2 | 18 | 0 |
| 11 | 80 | 1600 | 0.6 | 14 | 0.6 |
| 12 | 80 | 1800 | 0.8 | 10 | 0.4 |
| 13 | 100 | 1000 | 1.2 | 14 | 0.4 |
| 14 | 100 | 1300 | 1 | 10 | 0.6 |
| 15 | 100 | 1600 | 0.8 | 22 | 0 |
| 16 | 100 | 1800 | 0.6 | 18 | 0.2 |
| No. | Weld Surface | Cross Section | No. | Weld Surface | Cross Section |
|---|---|---|---|---|---|
| 1 | ![]() | ![]() | 9 | ![]() | ![]() |
| 2 | ![]() | ![]() | 10 | ![]() | ![]() |
| 3 | ![]() | ![]() | 11 | ![]() | ![]() |
| 4 | ![]() | ![]() | 12 | ![]() | ![]() |
| 5 | ![]() | Unconnected | 13 | ![]() | Unconnected |
| 6 | ![]() | ![]() | 14 | ![]() | Unconnected |
| 7 | ![]() | ![]() | 15 | ![]() | ![]() |
| 8 | ![]() | ![]() | 16 | ![]() | ![]() |
| Defect Type | Defect Description | Grade A | Grade B | Grade C | Grade D | |
|---|---|---|---|---|---|---|
| Surface defect | Concave, discontinuous | no | no | Size < 20% weld width | Unconnected | |
| Section defect | Reinforcement excess | ![]() | h ≤ 0.4 mm | h ≤ 0.6 (mm) | 0.6 < h (mm) | |
| Penetration excess | ![]() | h ≤ 0.4 mm | h ≤ 0.6 (mm) | 0.6 < h (mm) | ||
| Incomplete melting | ![]() | Penetrated | h ≤ 0.5 (mm) | h ≤ 1 (mm) | ||
| No. | Surface Morphology Score | Grade | Cross Section Morphology Score | Grade | Comprehensive Score |
|---|---|---|---|---|---|
| 1 | 10 | C | 5 | D | 15 |
| 2 | 10 | C | 10 | C | 20 |
| 3 | 15 | B | 5 | D | 20 |
| 4 | 15 | B | 15 | B | 30 |
| 5 | 5 | D | 5 | D | 10 |
| 6 | 15 | B | 10 | C | 25 |
| 7 | 15 | B | 10 | C | 25 |
| 8 | 20 | A | 15 | B | 35 |
| 9 | 15 | B | 10 | C | 25 |
| 10 | 15 | B | 20 | A | 35 |
| 11 | 20 | A | 20 | A | 40 |
| 12 | 20 | A | 20 | A | 40 |
| 13 | 5 | D | 5 | D | 10 |
| 14 | 5 | D | 5 | D | 10 |
| 15 | 15 | B | 10 | C | 25 |
| 16 | 15 | B | 15 | B | 30 |
| Coefficient | Factors | ||||
|---|---|---|---|---|---|
| Current | Laser Power | Wire Feeding Rate | Welding Speed | Gap Width | |
| k1 | 21.25 | 15 | 27.5 | 22.5 | 27.5 |
| k2 | 23.75 | 22.5 | 23.75 | 26.25 | 25 |
| k3 | 35 | 27.5 | 22.5 | 26.25 | 23.75 |
| k4 | 18.75 | 33.75 | 25 | 23.75 | 22.5 |
| R | 16.25 | 18.75 | 5 | 3.75 | 5 |
| Specimens | Tensile Strength Rm | Fracture Position | Elongation |
|---|---|---|---|
| Base metal | 321 MPa | Middle part | 5.6% |
| Weld specimen | 206 MPa | Weld zone | 1.9% |
© 2018 by the authors. Licensee MDPI, Basel, Switzerland. This article is an open access article distributed under the terms and conditions of the Creative Commons Attribution (CC BY) license (http://creativecommons.org/licenses/by/4.0/).
Share and Cite
Li, S.; Xu, W.; Xiao, G.; Chen, B. Weld Formation in Laser Hot-Wire Welding of 7075 Aluminum Alloy. Metals 2018, 8, 909. https://doi.org/10.3390/met8110909
Li S, Xu W, Xiao G, Chen B. Weld Formation in Laser Hot-Wire Welding of 7075 Aluminum Alloy. Metals. 2018; 8(11):909. https://doi.org/10.3390/met8110909
Chicago/Turabian StyleLi, Shichun, Wei Xu, Gang Xiao, and Bing Chen. 2018. "Weld Formation in Laser Hot-Wire Welding of 7075 Aluminum Alloy" Metals 8, no. 11: 909. https://doi.org/10.3390/met8110909
APA StyleLi, S., Xu, W., Xiao, G., & Chen, B. (2018). Weld Formation in Laser Hot-Wire Welding of 7075 Aluminum Alloy. Metals, 8(11), 909. https://doi.org/10.3390/met8110909

































