Effect of Inter-Pass Temperature and Time on Martensite Formation in the Heat-Affected Zone During Multi-Pass Welding of P91 Steel
Abstract
1. Introduction
2. Materials and Methods
- Heating to 1400 °C at a rate of 50 °Cs−1, holding for 1 s, then natural cooling to 1100 °C before controlled cooling at 15 °Cs−1 to ambient temperature.
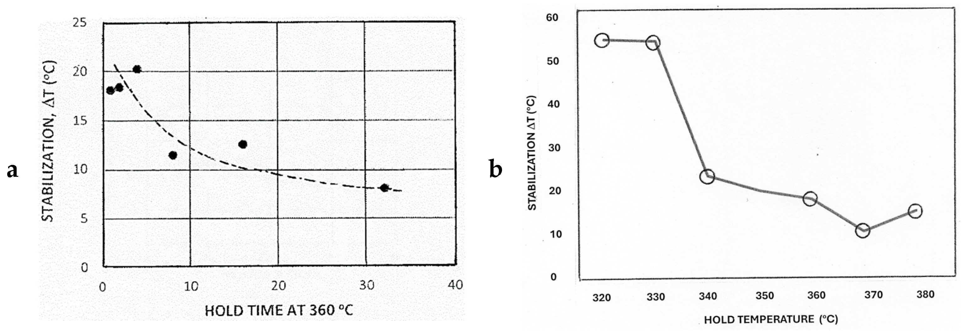
- The same heating and cooling conditions as in Treatment 1, except for holding at 360 °C for 1, 2, 4, 8, 16 and 32 min, before re-cooling at 1 °Cs−1.
- The same heating and cooling conditions as in Treatment 1, except for holding for 4 min at temperatures of 320, 330, 340, 350, 360, 370, and 380 °C, before re-cooling at 1 °Cs−1.
3. Results
3.1. Martensitic Transformation on Continuous Cooling
3.2. Variability in MS
3.3. Hardness as a Function of Inter-Pass Temperature and Time
3.4. Effect of Isothermal Holding for Various Times at 360 °C
3.5. Static Stabilization
4. Discussion
5. Conclusions
- The current work involved weld thermal cycle simulation of the GCHAZ of P91 steel using relatively high inter-pass temperatures, nominally within the dual-phase temperature range. However, it was found that because of the unexpected formation of a significant volume fraction of isothermal martensite, the microstructure present at the hold temperature was predominantly martensitic.
- Although higher inter-pass temperatures would be expected to minimize weld cracking by allowing stress relaxation and more effective effusion of hydrogen, the hardness of the GCHAZ was not reduced because significant age hardening occurred. Therefore, the cost of maintaining a higher inter-pass temperature than that normally recommended makes this process unattractive for practical multi-pass welding of P91.
- This work confirms that both anisothermal (athermal) and isothermal martensite can occur in P91 steel in the grain-coarsened heat-affected zone under the cooling conditions typical of multi-pass welding.
- The kinetic classifications of martensitic transformation in plain carbon and alloyed steels, particularly those that transform at moderately elevated temperatures, should be interpreted in terms of the overlapping effects of the diffusionless transformation and thermally activated processes primarily associated with the diffusion of interstitial elements.
- The Ms temperature is not a fundamental property of commercial steels since it is sensitive to the condition of the austenite and the availability of appropriate nucleating sites for martensite formation. This caveat applies especially to alloy steels for which the microstructural characteristics of the austenite change continuously during cooling, depending on the cooling rate and the development of precipitates in austenite.
- The characteristics of martensite formation and its stabilization in the alloy studied reflect a delicate balance between the force driving transformation due to the free energy difference and the opposing forces due to the induced strain in austenite, coupled with frictional effects due to the thermally activated motion of interstitial atoms and defects.
- Although the KM equation is a useful empirical model for describing the evolution of the volume fraction of martensite during cooling, it is not generally applicable to alloy steels such as P91.
Author Contributions
Funding
Data Availability Statement
Acknowledgments
Conflicts of Interest
References
- Gao, Q.; Yang, Y.; Qu, F. Martensitic Transformation in 9Cr-1.7W-0.4Mo-Co Ferritic Steel. J. Alloys Compd. 2014, 610, 322. [Google Scholar]
- Coleman, K.; Newell, W. P91 and Beyond. Weld. J. 2007, 86, 29–33. [Google Scholar]
- ANSI/AWS D10.11; Recommended Practices for Local Heating of Welds in Piping and Tubing. AWS: Miami, FL, USA.
- Raghavan, V. Kinetics of Martensite Transformations. In Martensite; Olsen, G.B., Owen, W.S., Eds.; ASM Int.: Materials Park, OH, USA, 1992; pp. 197–225. [Google Scholar]
- Koistinen, D.P.; Marburger, R.E. A general equation prescribing the extent of austenite-martensite in iron carbon alloys and plain carbon steels. Acta Metall. 1959, 7, 59–60. [Google Scholar]
- Sulaiman, S.; Li, H.; Dunne, D. Creep testing of simulated HAZ structures in P91 steel. In Proceedings of the IIW Conference, Singapore, 16–17 July 2009; pp. 527–532. [Google Scholar]
- Sulaiman, S. Structure and Properties of the Heat Affected Zone of P91 Creep Resisting Steel. Ph.D. Thesis, University of Wollongong, Wollongong, NSW, Australia, 2008. [Google Scholar]
- Harris, W.J.; Cohen, M. Stabilization of the austenite martensite transformation. Trans. AIME 1949, 180, 447–470. [Google Scholar]
- Magee, C.L. The Nucleation of Martensite. In Phase Transformations; ASM Pub.: Metals Park, OH, USA, 1969; pp. 115–156. [Google Scholar]
- Brook, R.; Entwistle, A.R.; Ibrahim, E.F. The effect of chemical composition on the shape of martensite transformation curves. J. Iron Steel Inst. 1960, 195, 292–298. [Google Scholar]
- Liu, J.H.; Binot, N.; Delagnes, D.; Jahazi, M. Influence of the cooling rate below Ms on the martensitic transformation in a low alloy medium carbon steel. J. Mater. Res. Technol. 2021, 12, 234–242. [Google Scholar]
- Huyan, F.; Hedstrom, P.; Borgenstam, A. Modelling the fraction of martensite in low alloy steels. Mater. Today Proc. 2015, 2, S561–S564. [Google Scholar] [CrossRef]
- Guimaraes, J.R.; Rios, P.R. Microstructural Path Analysis of Martensite Dimensions in FeNiC and FeC Alloys. Mater. Res. 2015, 18, 595–601. [Google Scholar]
- Sourmail, T.; Smanio, V. Determination of Ms temperature: Methods, meaning and influence of ‘slow start’ phenomenon. Mater. Sci. Technol. 2013, 29, 883–888. [Google Scholar]
- Yang, T.; Bhadeshia, H.K.D.H. Designing low carbon, low temperature bainite. Mater. Sci. Technol. 2007, 23, 556–560. [Google Scholar]
- Jabar, S.; Siebert, J.; Strangwood, M.; West, G. The Effect of Micro-Segregation on the Microstructural parameters in Grade 91 Steel. Metall. Mater. Trans. A 2020, 52, 426–437. [Google Scholar] [CrossRef]
- Dunne, D.P.; Wayman, C.M. The Effect of Austenite Ordering on the Martensitic Transformation in Fe-Pt Alloys near the Composition Fe3Pt. Metall. Trans. 1973, 4, 137–145. [Google Scholar] [CrossRef]
- Maki, T. Microstructure and Mechanical Behaviour of Ferrous Martensites. Mater. Sci. Forum 1990, 56, 157–168. [Google Scholar] [CrossRef]
- Zmeskal, O.; Cohen, M. The tempering of two high carbon, high chromium steels. Trans. ASM 1943, 1, 350. [Google Scholar]
- Klier, E.P.; Troiano, A.R. Ar in Chromium Steels. Trans. AIME 1945, 162, 175. [Google Scholar]
- Honeycombe, R.W.K.; Bhadeshia, H.K.D.H. Steels—Microstructure and Properties, 2nd ed.; Edward Arnold: London, UK, 1995; pp. 189–191. [Google Scholar]
- Dunne, D.P. Shape Memory in Ferrous Alloys. In Phase Transformations in Steels; Pereloma, E., Edmonds, D.V., Eds.; Woodhead Publishing: Cambridge, UK, 2012; Volume 2, pp. 83–125. [Google Scholar]
- Dunne, D.P. Martens-ite. Metals 2018, 8, 395. [Google Scholar] [CrossRef]
- Caizzo, D.A.; Besoky, J.I.; Luppo, M.; Danon, C.; Ramos, C.P. Characterization of ASTM A335 P91 ferritic-martensitic steel after continuous cooling at moderate rates. J. Mater. Res. Technol. 2019, 8, 923–934. [Google Scholar]
- Tsuzaki, K.; Fukiage, T.; Maki, T.; Tamura, I. Effect of Ni content on the isothermal character of lath martensite transformation in Fe-Ni alloys. Mater. Sci. Forum 1990, 56, 229–234. [Google Scholar] [CrossRef]
- Bhadeshia, H.K.D.H. Theory of Transformations in Steels, 1st ed.; CRC Press: Boca Raton, FL, USA, 2021; 574p. [Google Scholar]
- Christian, J.W. Basic crystallography and kinetics. In Martensite Fundamentals and Technology; Petty, E.R., Ed.; Longman Group: London, UK, 1970; pp. 11–42. [Google Scholar]
- Mohany, O.N. On the stabilization of retained austenite: Mechanism and kinetics. Mater. Sci. Eng. 1995, 32, 267–278. [Google Scholar] [CrossRef]
- Dunne, D.P. The Interface Structure of Martensite in Fe3Pt. Scr. Metall. 1978, 12, 143. [Google Scholar] [CrossRef]
- da Silva de Souza, S.; Moreira, P.S.; Faria, G.L. Austenitizing temperature and cooling rate effects on the martensitic transformation in a microalloyed-steel. Mater. Res. 2020, 23, e20190570. [Google Scholar] [CrossRef]
- Abdollah-Zadeh, A. The Investigation of Deformation, Recovery, Recrystallization and Precipitation in Austenitic HSLA Steel Analogue Alloys. Ph.D. Thesis, University of Wollongong, Wollongong, NSW, Australia, 1996. [Google Scholar]
- Yang, T.; Bhadeshia, H.K.D.H. Austenite grain size and the martensite-start temperature. Scr. Metall. 2009, 60, 493–495. [Google Scholar] [CrossRef]
- Fisher, J.C.; Holloman, J.H.; Turnbull, D. Kinetics of the Austenite → Martensite Transformation. JOM 1949, 1, 691–700. [Google Scholar] [CrossRef]
- Guimaraes, J.R.C.; Rios, P.R. Revisiting Fisher’s Analysis of the Martensite Microstructure. Metall. Mater. Trans. A 2011, 42A, 2937–2940. [Google Scholar] [CrossRef]
- McDougall, P.G.; Wayman, C.M. Crystallography and Morphology of Ferrous Martensites. In Martensite; Olsen, G.B., Owen, W.S., Eds.; ASM Int.: Materials Park, OH, USA, 1992; pp. 59–95. [Google Scholar]
- Dunne, D.P. Martensitic Iron-Platinum Alloys. In Proceedings of the International Conference on Displacive Transformationsand Their Applications in Materials Engineering, Urbana, IL, USA, 8–9 May 1996; Inoue, K., Ed.; University of Illinois: Champaign, IL, USA; TMS: Pittsburgh, PA, USA, 1998; pp. 133–140. [Google Scholar]
- Morgan, E.R.; Ko, T. Thermal stabilization of austenite in iron-carbon-nickel alloys. Acta Metall. 1953, 1, 36–48. [Google Scholar] [CrossRef]
- Svastlivsev, V.M.; Mirzayev, D.A.; Karzunov, S.E.; Yakovleva, I.L. New Concepts of Bainitic and Austenitic Transformation in Steels Based on Multistep γ−α Transformation. ISIJ Int. 1995, 35, 955–961. [Google Scholar] [CrossRef]
- Guo, L.; Roelofs, H.; Lemke, M.I.; Bhadeshia, H.K.D.H. Modelling of Recalescence Effect on Austenite Decomposition. Mater. Sci. Technol. 2017, 33, 1258–1267. [Google Scholar] [CrossRef]
- Yurioka, N. Weldability of Modern High Strength Steels. In Proceedings of the American Welding Society First US-Japan Symp. on Advances in Welding Metallurgy, San Francisco, CA, USA, 7–8 June 1990; pp. 79–100. [Google Scholar]
- Lancaster, J.F. Metallurgy of Welding, 6th ed.; Abington Publishing, Woodhead Publishing Limited: Cambridge, UK, 1999; p. 464. [Google Scholar]









| Hold Time (min) | ΔV/V (%) | fM(iso) | Ms (°C) | fM (total) | ΔTss (°C) |
|---|---|---|---|---|---|
| 1 | 0.31 | 0.42 | 416 | 0.77 | 18.1 |
| 2 | 0.29 | 0.39 | 418 | 0.74 | 18.4 |
| 4 | 0.40 | 0.55 | 407 | 0.90 | 20.2 |
| 8 | 0.30 | 0.40 | 396 | 0.75 | 11.4 |
| 16 | 0.38 | 0.51 | 396 | 0.86 | 12.5 |
| 32 | 0.34 | 0.46 | 392 | 0.81 | 8.0 |
Disclaimer/Publisher’s Note: The statements, opinions and data contained in all publications are solely those of the individual author(s) and contributor(s) and not of MDPI and/or the editor(s). MDPI and/or the editor(s) disclaim responsibility for any injury to people or property resulting from any ideas, methods, instructions or products referred to in the content. |
© 2025 by the authors. Licensee MDPI, Basel, Switzerland. This article is an open access article distributed under the terms and conditions of the Creative Commons Attribution (CC BY) license (https://creativecommons.org/licenses/by/4.0/).
Share and Cite
Dunne, D.; Li, H.; Pereloma, E. Effect of Inter-Pass Temperature and Time on Martensite Formation in the Heat-Affected Zone During Multi-Pass Welding of P91 Steel. Metals 2025, 15, 501. https://doi.org/10.3390/met15050501
Dunne D, Li H, Pereloma E. Effect of Inter-Pass Temperature and Time on Martensite Formation in the Heat-Affected Zone During Multi-Pass Welding of P91 Steel. Metals. 2025; 15(5):501. https://doi.org/10.3390/met15050501
Chicago/Turabian StyleDunne, Druce, Huijun Li, and Elena Pereloma. 2025. "Effect of Inter-Pass Temperature and Time on Martensite Formation in the Heat-Affected Zone During Multi-Pass Welding of P91 Steel" Metals 15, no. 5: 501. https://doi.org/10.3390/met15050501
APA StyleDunne, D., Li, H., & Pereloma, E. (2025). Effect of Inter-Pass Temperature and Time on Martensite Formation in the Heat-Affected Zone During Multi-Pass Welding of P91 Steel. Metals, 15(5), 501. https://doi.org/10.3390/met15050501

