Investigation of High-Cycle Fatigue Properties of Wire Arc Additive Manufacturing 13Cr4Ni Martensitic Stainless Steel
Abstract
:1. Introduction
2. Material and Testing Methods
2.1. Material Preparation
2.2. Microstructure Characterization
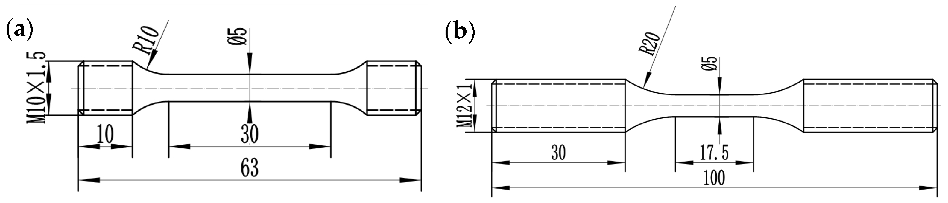
2.3. Mechanical Properties and Fracture Analysis
3. Experimental Results
3.1. Microstructure Characterization
3.2. Tensile Properties and Fracture Analysis
3.3. Fatigue Properties and Fracture Analysis
4. Discussion
4.1. Fatigue Cracking Mechanism of the Forged Specimens
4.2. Fatigue Cracking Mechanism of the WAAM Specimens
4.3. Analysis of Fatigue Strength
5. Conclusions
- (1)
- Compared to the forged 13/4 MSS, the microstructure of the WAAM test piece is very fine, and the martensite units are consequently smaller in size. The yield strength and ultimate tensile strength are 685 MPa and 823 MPa for the forged specimen and 850 MPa and 927 MPa for the WAAM specimens, respectively;
- (2)
- The fatigue strength of 107 cycles at room temperature for forged specimens is 370 MPa and 468 MPa for WAAM specimens. The fine microstructure, as well as the high strength and hardness, enable WAAM material to have higher fatigue strength. The majority of the fatigue sources of the forged ones are surface and subsurface defects, with most of them being inclusions. The majority of the fatigue sources of the WAAM ones are internal defects, with most of them being pores;
- (3)
- The fatigue strengths of the forged specimens with surface or subsurface inclusions are predicted by defect size, and the fatigue strengths of the WAAM ones with internal pores are predicted by defects and GBF sizes.
Author Contributions
Funding
Data Availability Statement
Acknowledgments
Conflicts of Interest
References
- Luo, X.; Zhu, G.; Feng, J. Progress and Development Trends of Hydraulic Turbine Technology. J. Hydroelectr. Power 2020, 39, 1–18. [Google Scholar]
- Gao, Z.; Feng, X.; Liu, S.; Gong, R.; Gao, H.; Wang, H.; Duan, W. Key technologies for large and medium-sized bucket water turbines. Large Electr. Mach. Hydraul. Turb. 2021, 63–68. [Google Scholar]
- Mack, R.; Probst, C. Evaluation of the dynamic behavior of a Pelton runner based on strain gauge measurements. In Proceedings of the 28th IAHR Symposium on Hydraulic Machinery and Systems, Grenoble, France, 4–8 July 2016. [Google Scholar]
- Foroozmehr, F.; Bocher, P. Effect of low temperature intercritical heat-treatment on stable crack growth behavior in 13%Cr-4%Ni martensitic stainless steel multipass weldments. Eng. Fract. Mech. 2020, 240, 107360. [Google Scholar] [CrossRef]
- Wang, P.; Lu, S.P.; Xiao, N.M.; Li, D.Z.; Li, Y.Y. Effect of delta ferrite on impact properties of low carbon 13Cr–4Ni martensitic stainless steel. Mater. Sci. Eng. A 2010, 527, 3210–3216. [Google Scholar] [CrossRef]
- Wang, C.; Ma, R.; Zhou, Y.; Liu, Y.; Daniel, E.F.; Li, X.; Wang, P.; Dong, J.; Ke, W. Effects of rare earth modifying inclusions on the pitting corrosion of 13Cr4Ni martensitic stainless steel. J. Mater. Sci. Technol. 2021, 93, 232–243. [Google Scholar] [CrossRef]
- Song, Y.; Ping, D.; Yin, F.; Li, X.Y.; Li, Y.Y. Microstructural evolution and low temperature impact toughness of a Fe–13%Cr–4% Ni–Mo martensitic stainless steel. Mater. Sci. Eng. A 2010, 527, 614–618. [Google Scholar] [CrossRef]
- Kishor, B.; Chaudhari, G.; Nath, S. Cavitation erosion of thermomechanically processed 13/4 martensitic stainless steel. Wear 2014, 319, 150–159. [Google Scholar] [CrossRef]
- Zhang, S.; Wang, P.; Li, D.; Li, Y. Investigation of the evolution of retained austenite in Fe–13%Cr–4%Ni martensitic stainless steel during intercritical tempering. Mater. Des. 2015, 84, 385–394. [Google Scholar] [CrossRef]
- Kalberer, A.; Krause, M. Review of experience with microcast Pelton wheels. Int. J. Hydropower Dams 1996, 3, 22–24. [Google Scholar]
- Hauser, H.; Riedel, A.; Keck, B. New technologies for high head Francis and pump runners. Int. J. Hydropower Dams 2007, 14, 89–93. [Google Scholar]
- China’s First Additive Manufacturing Pelton Turbine Real Runner Successfully Developed. Available online: https://news.sina.com.cn/o/2020-11-17/doc-iiznctke1939602.shtml (accessed on 17 November 2020).
- Ghaffari, M.; Nemani, A.; Nasiri, A. Microstructure and mechanical behavior of PH 13–8Mo martensitic stainless steel fabricated by wire arc additive manufacturing. Addit. Manuf. 2022, 49, 102374. [Google Scholar] [CrossRef]
- Caballero, A.; Ding, J.; Ganguly, S.; Williams, S. Wire + Arc Additive Manufacture of 17-4 PH stainless steel: Effect of different processing conditions on microstructure, hardness, and tensile strength. J. Mater. Process. Technol. 2019, 268, 54–62. [Google Scholar] [CrossRef]
- Bui, M.C.; Nguyen, T.D. On the connection of the heat input to the forming quality in wire-and-arc additive manufacturing of stainless steels. Vacuum 2023, 209, 111807. [Google Scholar]
- Van, T.; Dinh, S.; Paris, H. Influences of the compressed dry air-based active cooling on external and internal qualities of wire-arc additive manufactured thin-walled SS308L components. J. Manuf. Process 2021, 62, 18–27. [Google Scholar]
- Gordon, J.; Hochhalter, J.; Haden, C.; Harlow, D. Enhancement in fatigue performance of metastable austenitic stainless steel through directed energy deposition additive manufacturing. Mater. Des. 2019, 168, 107630. [Google Scholar] [CrossRef]
- Duraisamy, R.; Kumar, S.M.; Kannan, A.R.; Shanmugam, N.S.; Sankaranarayanasamy, K. Fatigue Behavior of Austenitic Stainless Steel 347 Fabricated via Wire Arc Additive Manufacturing. J. Mat. Eng. Perfom. 2021, 30, 6844–6850. [Google Scholar] [CrossRef]
- Ayan, Y.; Kahraman, N. Bending fatigue properties of structural steel fabricated through wire arc additive manufacturing (WAAM). Eng. Sci. Technol. Int. J. 2022, 35, 101247. [Google Scholar] [CrossRef]
- DebRoy, T.; Wei, H.L.; Zuback, J.S.; Mukherjee, T.; Elmer, J.W.; Milewski, J.O.; Beese, A.M.; Wilson-Heid, A.; De, A.; Zhang, W. Additive manufacturing of metallic components-Process, structure and properties. Prog Mater. Sci. 2018, 92, 112–224. [Google Scholar] [CrossRef]
- Kitagawa, H.; Takahashi, S. Application of Fracture Mechanics to Very Small Cracks or the Cracks in the Early Stage. In Proceedings of the Second International Conference on Mechanical Behaviour of Materials, Metro Parks, OH, USA, 16–20 August 1976; pp. 627–631. [Google Scholar]
- El Haddad, M.; Smith, K.; Topper, T. Fatigue crack propagation of short cracks. J. Eng. Mater. Technol. 1979, 101, 42–46. [Google Scholar] [CrossRef]
- Murakami, Y. Metal Fatigue, 2nd ed.; Academic Press: New York, NY, USA, 2019; pp. 341–406. [Google Scholar]
- Beretta, S.; Carboni, M.; Madia, M. Modelling of fatigue thresholds for small cracks in a mild steel by “Strip–Yield” model. Eng. Fract. Mech. 2009, 76, 1548–1561. [Google Scholar] [CrossRef]
- Beretta, S.; Romano, S. A comparison of fatigue strength sensitivity to defects for test-pieces manufactured by AM or traditional processes. Int. J. Fatig. 2017, 94, 178–191. [Google Scholar] [CrossRef]
- Azar, A.S. A heat source model for cold metal transfer (CMT) welding. J. Therm. Anal. Calorim. 2015, 122, 741–746. [Google Scholar] [CrossRef]
- Scotti, F.; Teixeira, F.; Silva, L. Thermal Management in WAAM through the CMT Advanced Process and an Active Cooling Technique. J. Manuf. Process 2020, 57, 23–35. [Google Scholar] [CrossRef]
- Nikam, P.; Arun, D.; Ramkumar, K.; Sivashanmugam, N. Microstructure characterization and tensile properties of CMT-based wire plus arc additive manufactured ER2594. Mater. Charact. 2020, 169, 110671. [Google Scholar] [CrossRef]
- González, J.; Rodríguez, I.; Prado-Cerqueira, J.L.; Diéguez, J.L.; Pereira, A. Additive manufacturing with GMAW welding and CMT technology. Procedia Manuf. 2017, 13, 840–847. [Google Scholar] [CrossRef]
- Selvi, S.; Vishvaksenan, A.; Rajasekar, E. Cold metal transfer (CMT) technology-an overview. Def. Technol. 2018, 14, 28–44. [Google Scholar] [CrossRef]
- Luo, H.; Wang, X.; Liu, Z.; Yang, Z. Influence of refined hierarchical martensitic microstructures on yield strength and impact toughness of ultra-high strength stainless steel. J. Mater. Sci. Technol. 2020, 51, 130–136. [Google Scholar] [CrossRef]
- Morsdorf, L.; Jeannin, O.; Barbier, D.; Mitsuhara, M.; Raabe, D.; Tasan, C.C. Multiple mechanisms of lath martensite plasticity. Acta Mater. 2016, 121, 202–214. [Google Scholar] [CrossRef]
- Zhao, P.; Xuan, F.; Wang, C. A physically-based model of cyclic responses for martensitic steels with the hierarchical lath structure under different loading modes. J. Mech. Phys. Solids 2019, 124, 555–576. [Google Scholar] [CrossRef]
- Yang, M.; Zhong, Y.; Liang, Y. Effect of Hierarchical Microstructures of Lath Martensite on the Transitional Behavior of Fatigue Crack Growth Rate. Met. Mater. Int. 2018, 24, 970–980. [Google Scholar] [CrossRef]
- Lee, Y.; Taylor, D. Fatigue Testing and Analysis-Stress-Based Fatigue Analysis and Design; Butterworth-Heinemann: Burlington, ON, Canada, 2005; pp. 103–180. [Google Scholar]
- Ma, Q.; Zhang, G.; Zhong, Y. Study on Mechanism of Defects Originated from Inclusions in Processes of Heavy Forgings. China Mech. Eng. 2001, 12, 943–945. [Google Scholar]
- Evans, S.; Wang, J.; Qin, J.; He, Y.; Shepherd, P.; Ding, J. A review of WAAM for steel construction-manufacturing, test-piece and geometric properties, design, and future directions. Structures 2022, 44, 1506–1522. [Google Scholar] [CrossRef]
- Li, W.B.; Pang, J.C.; Zhang, H.; Li, S.X.; Zhang, Z.F. The high-cycle fatigue properties of selective laser melted Inconel 718 at room and elevated temperatures. Mater. Sci. Eng. A 2022, 836, 142716. [Google Scholar] [CrossRef]
- Murakami, Y. Metal Fatigue-Stress Concentration; Elsevier Science Ltd.: Oxford, UK, 2019; pp. 11–24. [Google Scholar]
- Murakami, Y.; Nomoto, T.; Ueda, T.; Murakami, Y. On the mechanism of fatigue failure in the superlong life regime (N > 107 cycles). Part I: Influence of hydrogen trapped by inclusions. Fatigue Fract. Eng. Mater. Struct. 2010, 23, 893–902. [Google Scholar] [CrossRef]
- Tanaka, K.; Akiniwa, Y. Fatigue crack propagation behavior derived from S–N data in very high cycle regime. Fatigue Fract. Eng mater. Struct. 2010, 25, 775–784. [Google Scholar] [CrossRef]
- Wang, Q.Y.; Berard, J.Y.; Dubarre, A.; Baudry, G.; Rathery, S.; Bathias, C. Gigacycle fatigue of ferrous alloys. Fatigue Fract. Eng. Mater Struct. 2010, 22, 667–672. [Google Scholar] [CrossRef]
- Akiniwa, Y.; Miyamoto, N.; Tsuru, H.; Tanaka, K. Notch effect on fatigue strength reduction of bearing steel in the very high cycle regime. Int. J. Fatigue 2006, 28, 1555–1565. [Google Scholar] [CrossRef]
- He, X.; Wang, T.; Wu, K.; Liu, H. Automatic defects detection and classification of low carbon steel WAAM products using improved remanence/magneto-optical imaging and cost-sensitive convolutional neural network. Measurement 2021, 173, 108633. [Google Scholar] [CrossRef]
- Trudel, A.; Lévesque, M.; Brochu, M. Microstructural effects on the fatigue crack growth resistance of a stainless steel CA6NM weld. Eng. Fract. Mech. 2014, 115, 60–72. [Google Scholar] [CrossRef]
- Li, S. Effects of inclusions on very high cycle fatigue properties of high strength steels. Int. Mater. Rev. 2012, 57, 92–114. [Google Scholar] [CrossRef]
- Pang, J.; Li, S.; Wang, Z.; Zhang, Z. General relation between tensile strength and fatigue strength of metallic materials. Mater. Sci. Eng. A 2013, 564, 331–341. [Google Scholar] [CrossRef]
- Pang, J.; Li, S.; Wang, Z.; Zhang, Z. Relations between fatigue strength and other mechanical properties of metallic materials. Fatigue Fract. Eng Mater Struct. 2014, 37, 958–976. [Google Scholar] [CrossRef]
- Pang, J.C.; Yang, M.X.; Yang, G.; Wu, S.D.; Li, S.X.; Zhang, Z.F. Tensile and fatigue properties of ultrafine-grained low-carbon steel processed by equal channel angular pressing. Mater. Sci. Eng. A 2012, 553, 157. [Google Scholar] [CrossRef]











| Material | C | Mn | Si | Cr | Ni | Mo | Cu |
|---|---|---|---|---|---|---|---|
| ER410NiMo | 0.015 | 0.66 | 0.44 | 12.80 | 4.29 | 0.49 | 0.088 |
| Forged | 0.054 | 0.54 | 0.44 | 11.78 | 3.66 | 0.49 | 0.094 |
| WAAM | 0.021 | 0.57 | 0.45 | 11.53 | 4.36 | 0.51 | 0.087 |
| Specimen No. | σa (MPa) | Nf × 103 (Cycle) | μm | FIE Yes/No | Type of Defect | Crack Initiation |
|---|---|---|---|---|---|---|
| 1 | 375 | 7935 | 223.6 | Yes | Inclusion | Internal |
| 2 | 375 | 10,391 | 87.7 | Yes | Inclusion | Internal |
| 3 | 350 | 2003 | 123.3 | No | Inclusion | Subsurface |
| 4 | 375 | 2403 | 202.4 | Yes | Inclusion | Subsurface |
| 5 | 375 | 8881 | 110.9 | No | Inclusion | Subsurface |
| 6 | 375 | 8893 | 49.0 | No | Inclusion | Subsurface |
| 7 | 380 | 1395 | 131.9 | No | Inclusion | Surface |
| 8 | 380 | 1392 | 152 | No | Inclusion | Surface |
| 9 | 375 | 2484 | 81.9 | No | Inclusion | Surface |
| Specimen No. | σa (MPa) | Nf × 103 (Cycle) | μm | μm | Defect Type | Crack Initiation |
|---|---|---|---|---|---|---|
| 1 | 350 | 2914 | 30.6 | 64.2 | Pore | Internal |
| 2 | 400 | 74,634 | 51.8 | 141.8 | Pore | Internal |
| 3 | 450 | 23,866 | 29.1 | 69.1 | Pore | Internal |
| 4 | 470 | 8794 | 55.7 | 134.0 | Pore | Internal |
| 5 | 470 | 4442 | 50.2 | 121.0 | Pore | Internal |
| 6 | 460 | 3855 | 57.3 | 117.2 | Pore | Internal |
| 7 | 460 | 12,600 | 47.1 | 107.2 | Pore | Internal |
| 8 | 460 | 7865 | 43.9 | 100.6 | Pore | Internal |
| 9 | 460 | 2817 | 27.5 | 44.3 | Pore | subsurface |
| 10 | 480 | 2916 | 26.7 | 63.4 | Pore | subsurface |
Disclaimer/Publisher’s Note: The statements, opinions and data contained in all publications are solely those of the individual author(s) and contributor(s) and not of MDPI and/or the editor(s). MDPI and/or the editor(s) disclaim responsibility for any injury to people or property resulting from any ideas, methods, instructions or products referred to in the content. |
© 2023 by the authors. Licensee MDPI, Basel, Switzerland. This article is an open access article distributed under the terms and conditions of the Creative Commons Attribution (CC BY) license (https://creativecommons.org/licenses/by/4.0/).
Share and Cite
Cheng, G.; Li, H.; Dai, H.; Gao, H.; Pang, J. Investigation of High-Cycle Fatigue Properties of Wire Arc Additive Manufacturing 13Cr4Ni Martensitic Stainless Steel. Metals 2023, 13, 1210. https://doi.org/10.3390/met13071210
Cheng G, Li H, Dai H, Gao H, Pang J. Investigation of High-Cycle Fatigue Properties of Wire Arc Additive Manufacturing 13Cr4Ni Martensitic Stainless Steel. Metals. 2023; 13(7):1210. https://doi.org/10.3390/met13071210
Chicago/Turabian StyleCheng, Guangfu, Haichao Li, Haiyan Dai, Hongming Gao, and Jianchao Pang. 2023. "Investigation of High-Cycle Fatigue Properties of Wire Arc Additive Manufacturing 13Cr4Ni Martensitic Stainless Steel" Metals 13, no. 7: 1210. https://doi.org/10.3390/met13071210
APA StyleCheng, G., Li, H., Dai, H., Gao, H., & Pang, J. (2023). Investigation of High-Cycle Fatigue Properties of Wire Arc Additive Manufacturing 13Cr4Ni Martensitic Stainless Steel. Metals, 13(7), 1210. https://doi.org/10.3390/met13071210

