Micro-Deformation and Fracture Features of Ti834 Titanium Alloy under Fatigue Loading
Abstract
1. Introduction
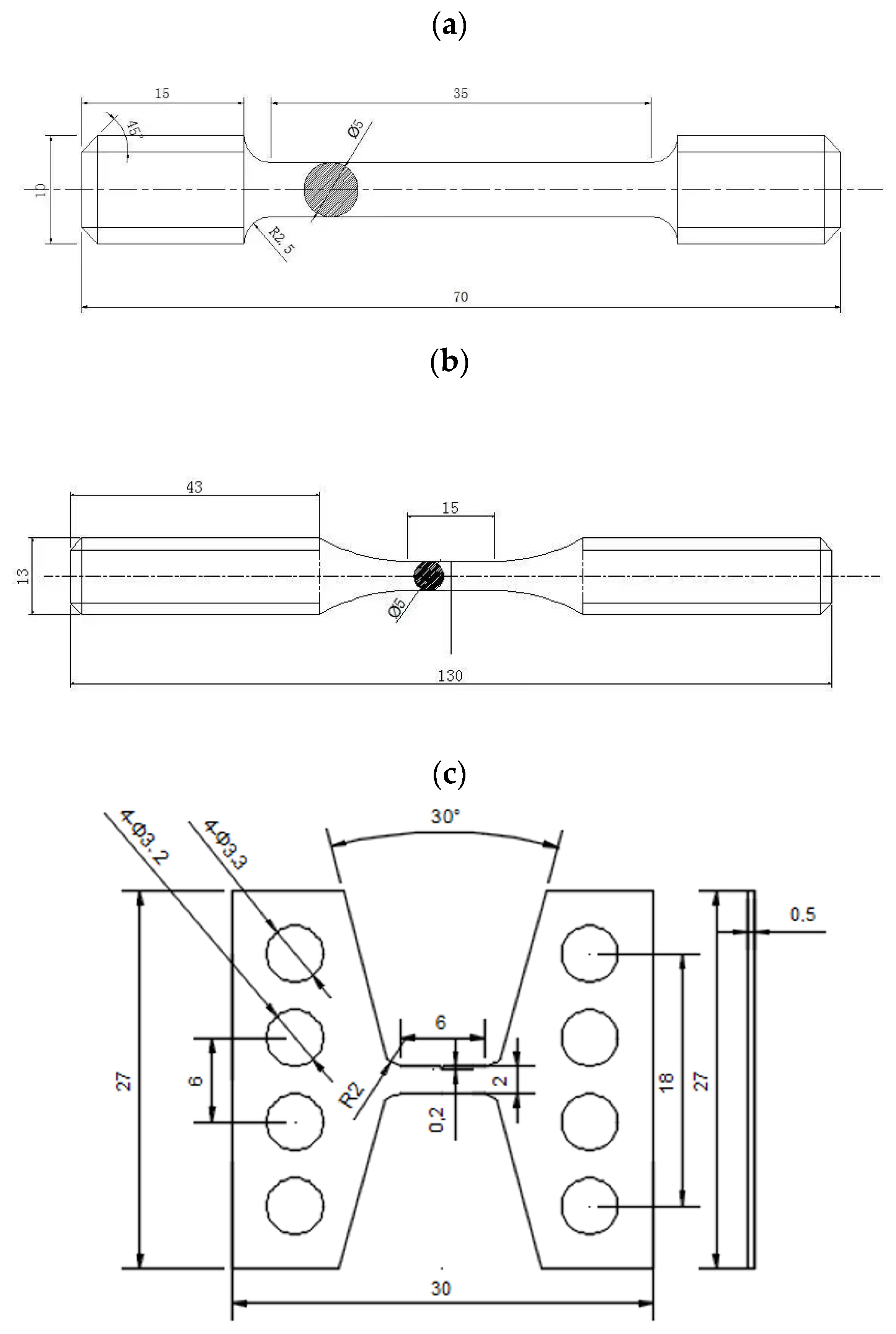
2. Experimental Section
3. Result and Discussion
3.1. Initial Microstructures of the Alloy
3.2. Tensile Properties of the Alloy
3.3. Fatigue Properties of the Alloy
3.4. Fracture Surface
3.5. Secondary Cracks in the Fatigue Specimens
3.6. Dislocation Structures in the Fatigue Specimens
4. Conclusions
- (1)
- The crack initiation site of the low cycle fatigue and dwell fatigue samples are located at the sample surface and subsurface, respectively;
- (2)
- The low cycle fatigue is a typical fatigue failure mode, whereas the dwell fatigue process is a mixed failure that is associated with the static and fatigue modes. The morphologies are clear, with the high numbers of the quasi-cleavage facets under dwell fatigue resulting from the dwell crack that propagates along the near basal plane;
- (3)
- Homogeneous deformation is generated in the low cycle fatigue sample, and a localized deformation is generated during dwell fatigue. The primary αp phase is characterized by numerous sub-grains under the low cycle fatigue scenario. Dislocation movement that is blocked by the sub-grain boundaries results in the crack propagating along the boundary. The dislocation tangles and pile-ups are formed at the boundary of the primary αp phase under the dwell fatigue scenario, where the strong stress concentration is generated. Thus, the crack easily propagates along the αp/αs interface.
Author Contributions
Funding
Institutional Review Board Statement
Informed Consent Statement
Data Availability Statement
Conflicts of Interest
References
- Bache, M. A review of dwell sensitive fatigue in titanium alloys: The role of microstructure, texture and operating conditions. Int. J. Fatigue 2003, 25, 1079–1087. [Google Scholar] [CrossRef]
- Lee, D.H.; Nam, W. High temperature fatigue behavior in tensile hold LCF of near-alpha Ti-1100 with lamellar structure. J. Mater. Sci. 1999, 34, 2843–2849. [Google Scholar] [CrossRef]
- Qiu, J.; Xin, F.; Ma, Y.; Lei, J.; Huang, A.; Rugg, D.; Yang, R. Fatigue crack growth behavior of beta-annealed Ti–6Al–2Sn–4Zr–xMo (x = 2, 4 and 6) alloys: Influence of microstructure and stress ratio. Int. J. Fatigue 2016, 83, 6075–6087. [Google Scholar] [CrossRef]
- Dunne, F.; Rugg, D.; Walker, A. Lengthscale-dependent, elastically anisotropic, physically-based hcp crystal plasticity: Application to cold-dwell fatigue in Ti alloys. Int. J. Plast. 2007, 23, 1061–1083. [Google Scholar] [CrossRef]
- Joseph, S.; Lindley, T.; Dye, D. Dislocation interactions and crack nucleation in a fatigued near-alpha titanium alloy. Int. J. Plast. 2018, 110, 38–56. [Google Scholar] [CrossRef]
- Joseph, S.; Joseph, K.; Lindley, T.; Dye, D. The role of dwell hold on the dislocation mechanisms of fatigue in a near alpha titanium alloy. Int. J. Plast. 2020, 131, 102743. [Google Scholar] [CrossRef]
- Singh, N.; Gouthama; Singh, V. Low cycle fatigue behavior of Ti alloy IMI 834 at room temperature. Mater. Sci. Eng. A 2002, 325, 324–332. [Google Scholar] [CrossRef]
- Josepha, S.; Josephb, K.; Lindleya, T.C.; Dyea, D. On the dislocation mechanisms leading to cracking in dwell fatigue of a near-alpha titanium alloy. arXiv 2019, arXiv:1905.11714v1. [Google Scholar]
- Wang, X.; Vo, P.; Jahazi, M.; Yue, S. Dwell Fatigue Microstructure in a near-α titanium alloy. Metall. Mater. Trans. A 2007, 38, 831–839. [Google Scholar] [CrossRef]
- Hasija, V.; Ghosh, S.; Mills, M.J.; Joseph, D.S. Deformation and creep modeling in polycrystalline Ti–6Al alloys. Acta Mater. 2003, 51, 4533–4549. [Google Scholar] [CrossRef]
- Zheng, Z.; Balint, D.S.; Dunne, F.P. Dwell fatigue in two Ti alloys: An integrated crystal plasticity and discrete dislocation study. J. Mech. Phys. Solids 2016, 96, 411–427. [Google Scholar] [CrossRef]
- Pilchak, A.L.; Williams, J.C. Observations of facet formation in near-α titanium and comments on the role of hydrogen. Met. Mater. Trans. A 2010, 42, 1000–1027. [Google Scholar] [CrossRef]
- Kacher, J.; Robertson, I.M. In situ TEM characterisation of dislocation interactions in α-titanium. Philos. Mag. 2016, 96, 1437–1447. [Google Scholar] [CrossRef]
- Sinha, V.; Spowart, J.E.; Mills, M.J.; Williams, J.C. Observations on the faceted initiation site in the dwell-fatigue tested ti-6242 alloy: Crystallographic orientation and size effects. Metall. Mater. Trans. 2006, 37, 1507–1518. [Google Scholar] [CrossRef]
- Anahid, M.; Samal, M.K.; Ghosh, S. Dwell fatigue crack nucleation model based on crystal plasticity finite element simulations of polycrystalline titanium alloys. J. Mech. Phys. Solids 2011, 59, 2157–2176. [Google Scholar] [CrossRef]
- Gerland, M.; Lefranc, P.; Doquet, V.; Sarrazin-Baudoux, C. Deformation and damage mechanisms in an α/β 6242 Ti alloy in fatigue, dwell-fatigue and creep at room temperature. Influence of internal hydrogen. Mater. Sci. Eng. A 2009, 507, 132–143. [Google Scholar] [CrossRef]
- Wanjara, P.; Jahazi, M.; Monajati, H.; Yue, S. influence of thermomechanical processing on microstructural evolution in near- alloy imi834. Mater. Sci. Eng. A 2006, 416, 300–311. [Google Scholar] [CrossRef]
- Irvine, D.; Marzari, N. Fundamentals of Materials Science; Springer: Berlin/Heidelberg, Germany, 2005; Volume 24. [Google Scholar]
- Wu, S.H.; Huang, J.C.; Wang, Y.N. Evolution of microstructure and texture in Mg-Al-Zn alloys during electron-beam and gas tungsten arc welding. Met. Mater. Trans. A 2004, 35, 2455–2469. [Google Scholar] [CrossRef]
- Li, W.; Chen, Z.; Liu, J.; Zhu, S.; Sui, G.; Wang, Q. Technology, Rolling texture and its effect on tensile property of a near-α titanium alloy Ti60 plate. J. Mater. Sci. Technol. 2018, 35, 790–798. [Google Scholar] [CrossRef]
- Obasi, G.C.; Birosca, S.; Prakash, D.L.; Da Fonseca, J.Q.; Preuss, M. The influence of rolling temperature on texture evolution and variant selection during α → β → α phase transformation in Ti–6Al–4V. Acta Mater. 2012, 60, 6013–6024. [Google Scholar] [CrossRef]
- Zhang, C.; Guo, C.; Zhang, S.; Feng, H.; Chen, C.; Cao, P. Engineering, Microstructural manipulation and improved mechanical properties of a near a titanium alloy. Mater. Sci. Eng. A 2019, 771, 138569. [Google Scholar] [CrossRef]
- Jia, R.; Zeng, W.; He, S.; Gao, X.; Xu, J. The analysis of fracture toughness and fracture mechanism of Ti60 alloy under different temperatures. J. Alloys Compd. 2019, 810, 151899. [Google Scholar] [CrossRef]
- Jin, L.; Dong, J.; Sun, J.; Luo, A.A. In-situ investigation on the microstructure evolution and plasticity of two magnesium alloys during three-point bending. Int. J. Plast. 2015, 72, 218–232. [Google Scholar] [CrossRef]
- Castany, P.; Pettinari-Sturmel, F.; Douin, J.; Coujou, A. In situ transmission electron microscopy deformation of the titanium alloy Ti–6Al–4V: Interface behaviour. Mater. Sci. Eng. A 2008, 483–484, 719–722. [Google Scholar] [CrossRef]
- Hémery, S.; Villechaise, P.; Banerjee, D. Microplasticity at room temperature in α/β titanium alloys. Metall. Mater. Trans. A 2020, 3, 4931–4969. [Google Scholar] [CrossRef]
- Castany, P.; Pettinari-Sturmel, F.; Crestou, J.; Douin, J.; Coujou, A. Experimental study of dislocation mobility in a Ti–6Al–4V alloy. Acta Mater. 2007, 55, 6284–6291. [Google Scholar] [CrossRef]
- Sun, C.; Li, Y.; Xu, K.; Xu, B. Effects of intermittent loading time and stress ratio on dwell fatigue behavior of titanium alloy Ti-6Al-4V ELI used in deep-sea submersibles. J. Mater. Sci. Technol. 2020, 77, 223–236. [Google Scholar] [CrossRef]
- Xu, Z.; Huang, C.; Wan, M.; Tan, C.; Zhao, Y.; Ji, S.; Zeng, W. Influence of microstructure on strain controlled low cycle fatigue crack initiation and propagation of Ti-55531 alloy. Int. J. Fatigue 2022, 156, 106678. [Google Scholar] [CrossRef]
- Tan, C.; Li, X.; Sun, Q.; Xiao, L.; Zhao, Y.; Sun, J. Effect of α-phase morphology on low-cycle fatigue behavior of TC21 alloy. Int. J. Fatigue 2015, 75, 1–9. [Google Scholar] [CrossRef]
- Jia, R.; Zeng, W.; Zhao, Z.; Zhang, P.; Xu, J.; Wang, Q. In-situ investigation on the deformation mechanism of duplex microstructure of a near α titanium alloy. J. Alloys Compd. 2022, 893, 162184. [Google Scholar] [CrossRef]
- Aiyangar, A.K.; Neuberger, B.W.; Oberson, P.G.; Ankem, S. The effects of stress level and grain size on the ambient temperature creep deformation behavior of an alpha Ti-1.6 wt pct V alloy. Metall. Mater. Trans. A 2005, 36, 637–644. [Google Scholar] [CrossRef]
- Neeraj, T.; Hou, D.-H.; Daehn, G.; Mills, M. Phenomenological and microstructural analysis of room temperature creep in titanium alloys. Acta Mater. 2000, 48, 1225–1238. [Google Scholar] [CrossRef]
- Liu, F.; Peng, H.; Liu, Y.; Wang, C.; Wang, Q.; Chen, Y. Crack initiation mechanism of titanium alloy in very high cycle fatigue regime at 400 °C considering stress ratio effect, International. J. Fatigue 2022, 163, 107012. [Google Scholar] [CrossRef]














| Elements | Ti | Al | Sn | Zr | Mo | Si | Nb | C |
|---|---|---|---|---|---|---|---|---|
| Content | Balance | 5.8 | 4 | 3.5 | 0.5 | 0.35 | 0.7 | 0.05 |
| Alloy | Rm/MPa | Rp0.2/MPa | A/% | Z/% |
|---|---|---|---|---|
| Ti834 | 1076 | 976 | 8.5 | 13 |
| Loading Conditions | R | Loading Cycle | σpeak/MPa | Distance (mm) |
|---|---|---|---|---|
| LCF | 0.1 | 15,537 | 960 MPa | 0.33 |
| DF | 0.1 | 373 | 960 MPa | 0.59 |
| Location | 1 | 2 | 3 | 4 | 5 | 6 | |
|---|---|---|---|---|---|---|---|
| Low cycle fatigue | ![]() Location | ![]() | ![]() | ![]() | ![]() | ![]() | |
| Angle/° | 38.16 | 37.5 | 38.16 | 47 | 47.5 | ||
| Dwell fatigue | ![]() | ![]() | ![]() | ![]() | ![]() | ![]() | |
| Angle/° | 41.8 | 43.1 | 9.5 | 22.2 | 55.5 | 48.4 |
Disclaimer/Publisher’s Note: The statements, opinions and data contained in all publications are solely those of the individual author(s) and contributor(s) and not of MDPI and/or the editor(s). MDPI and/or the editor(s) disclaim responsibility for any injury to people or property resulting from any ideas, methods, instructions or products referred to in the content. |
© 2023 by the authors. Licensee MDPI, Basel, Switzerland. This article is an open access article distributed under the terms and conditions of the Creative Commons Attribution (CC BY) license (https://creativecommons.org/licenses/by/4.0/).
Share and Cite
Wang, N.; Jia, W.; Mao, X.; Zhou, W.; Mao, C. Micro-Deformation and Fracture Features of Ti834 Titanium Alloy under Fatigue Loading. Metals 2023, 13, 1149. https://doi.org/10.3390/met13071149
Wang N, Jia W, Mao X, Zhou W, Mao C. Micro-Deformation and Fracture Features of Ti834 Titanium Alloy under Fatigue Loading. Metals. 2023; 13(7):1149. https://doi.org/10.3390/met13071149
Chicago/Turabian StyleWang, Ning, Weiju Jia, Xiaonan Mao, Wei Zhou, and Chengliang Mao. 2023. "Micro-Deformation and Fracture Features of Ti834 Titanium Alloy under Fatigue Loading" Metals 13, no. 7: 1149. https://doi.org/10.3390/met13071149
APA StyleWang, N., Jia, W., Mao, X., Zhou, W., & Mao, C. (2023). Micro-Deformation and Fracture Features of Ti834 Titanium Alloy under Fatigue Loading. Metals, 13(7), 1149. https://doi.org/10.3390/met13071149












