Investigation on Multiphase Erosion–Corrosion of Elbow in LPG Desulfurization Unit
Abstract
1. Introduction
- (1)
- The main reason for the leakage in the elbow;
- (2)
- The reason why there is no obvious corrosion–erosion on the additional steel plate.
2. Method
2.1. Failure Analysis
2.1.1. Process Flowsheet
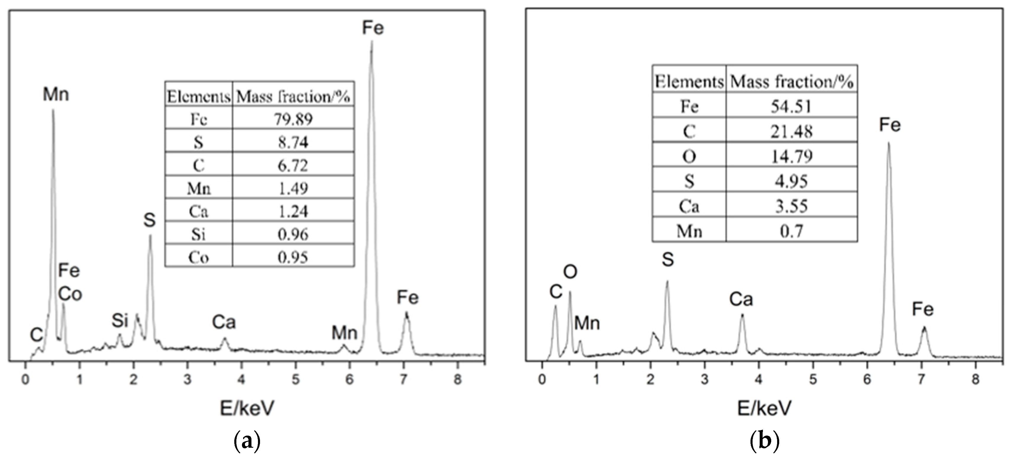
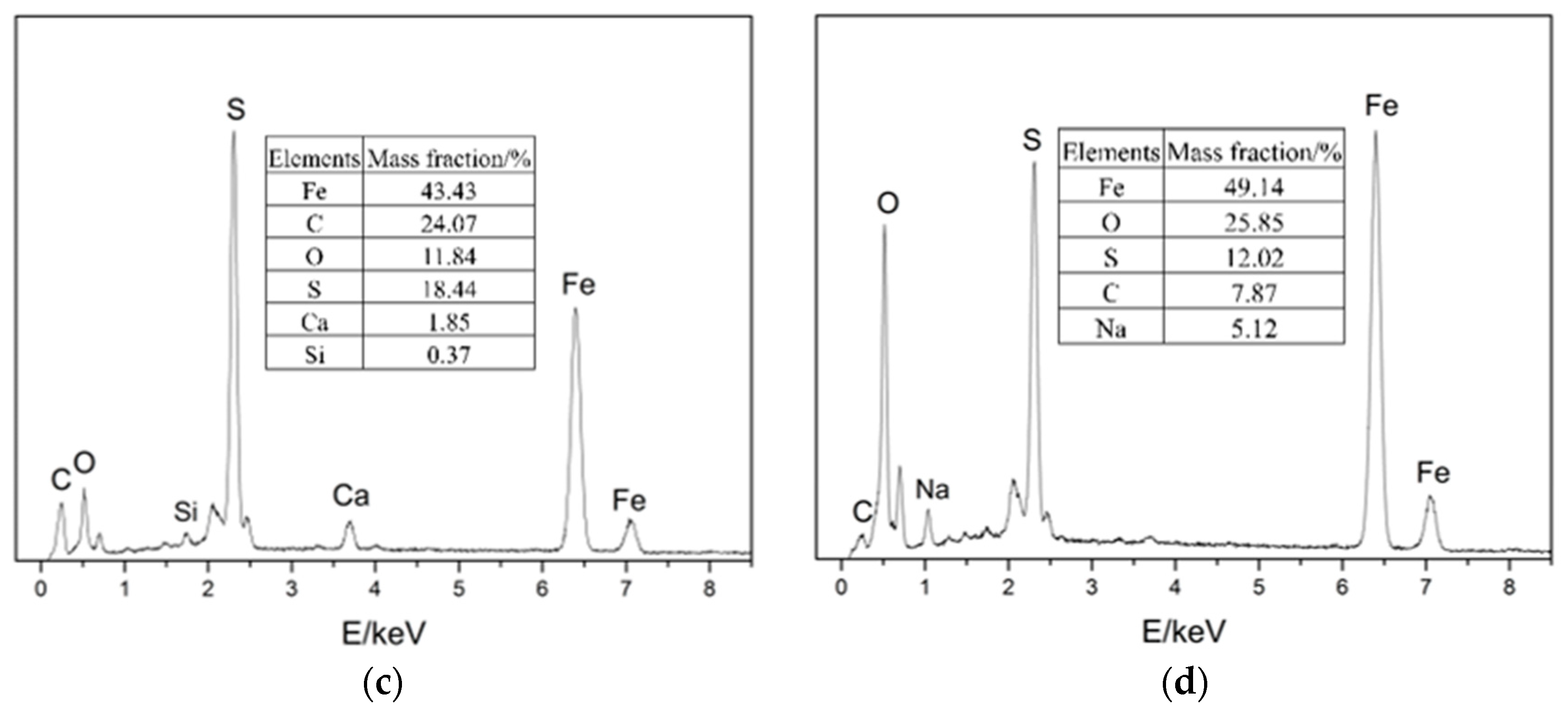
2.1.2. Morphology and Corrosion Product Composition Analysis
2.2. CFD Simulation
- (1)
- The formation of droplets is mainly due to the entrainment of the gas phase. The main component of the droplets is the MDEA solution, composed of MDEA and non-evaporated water, and the MDEA solution is saturated by H2S.
- (2)
- The shape of the particles is spherical, and the force between the droplets is ignored because of the low liquid content.
- (3)
- The corrosion occurs only at the places where there is MEDA solution.
- (4)
- The diameter of the droplets can be calculated according to [27]. The monodisperse droplet is adopted.
- (5)
- The temperature of the inlet and the outlet of the elbow is 120 °C, and the heat transfer is ignored.
2.2.1. Geometric Model and Grid Independence Analysis
2.2.2. Boundary Conditions
2.2.3. Mathematics Model
- (1)
- Chemical corrosion model
- (2)
- Erosion model
3. Results and Discussion
3.1. Failure Analysis
3.1.1. Macro Corrosion Morphology Analysis of Elbow
3.1.2. Microscopic Morphology and Corrosion Product Composition Analysis
3.1.3. Failure Analysis
3.2. Simulation for Elucidation of Erosion–Corrosion Mechanism
3.2.1. Simulation of the Erosion–Corrosion Behavior on the Elbow
3.2.2. Simulation of the Erosion–Corrosion Behavior on the Elbow with Corrosion Holes
3.2.3. Comparison of the Erosion–Corrosion Behavior between the Elbow and the Elbow with Corrosion Holes
4. Conclusions
- (1)
- Based on the macroscopic and microscopic morphology as well as the elemental and compositional analysis of the elbow wall area, it was concluded that the gas–liquid two-phase erosion–corrosion was the main cause of the elbow failure.
- (2)
- The severe erosion area obtained by numerical simulation and the actual severe wall thinning area matched. The max erosion rate was 26.766 mm/y and the max corrosion rate was 1.107 mm/y, which indicates that droplet erosion was the main cause of elbow wall thinning.
- (3)
- Compared to the erosion–corrosion behaviors on the elbow, the erosion rate on the outer wall of the elbow was the same while the max erosion rate on the wall of holes was 15.832 mm/y, which decreased by 39.2% compared to the outer wall when the corrosion holes formed in the outer wall of the elbow. The formation of the gas film played a buffering role in the collision between the droplet and the wall, changing the mechanism of action between the droplet and the wall, thus creating the protection of the additional plate.
Author Contributions
Funding
Institutional Review Board Statement
Informed Consent Statement
Data Availability Statement
Conflicts of Interest
References
- Nielsen, R.B.; Rogers, J.; Bullin, J.A.; Duewall, K.J. Treat LPGs with amines. Hydrocarb. Process. 1997, 76, 49–59. [Google Scholar]
- Zhang, F.; Shen, B.-X.; Sun, H.; Liu, J.C. Removal of organosulfurs from liquefied petroleum gas in a fiber film contactor using a new formulated solvent. Fuel Process. Technol. 2015, 140, 76–81. [Google Scholar] [CrossRef]
- Yunhai, S.; Shan, L.; Wei, L.; Dong, L.; Remy, G.; JianPeng, D. Influence of MEA and piperazine additives on the desulfurization ability of MDEA aqueous for natural gas purification. Int. J. Ind. Chem. 2016, 7, 297–307. [Google Scholar] [CrossRef]
- Wang, Z.H.; Yang, C.Y.; Zhu, L. Corrosion analysis and inhibition studies in the process of natural gas wet desulfurization. Eng. Fail. Anal. 2014, 44, 66–73. [Google Scholar] [CrossRef]
- Zou, C.; Zhao, P.; Ge, J.; Qin, Y.; Luo, P. Oxidation/adsorption desulfurization of natural gas by bridged cyclodextrins dimer encapsulating polyoxometalate. Fuel 2013, 104, 635–640. [Google Scholar] [CrossRef]
- Gong, Y.; Yang, Z.G. Corrosion evaluation of one wet desulfurization equipment–Flue gas desulfurization unit. Fuel Process. Technol. 2018, 181, 279–293. [Google Scholar] [CrossRef]
- Zheng, Y.G.; Yao, Z.Y.; Ke, W. Fluid mechanics factors on the corrosion mechanism of the effect of erosion. Corros. Sci. Prot. Technol. 2000, 12, 36–40. [Google Scholar]
- Zhang, G.A.; Zeng, L.; Huang, H.L.; Guo, X.P. A study of flow accelerated corrosion at elbow of carbon steel pipeline by array electrode and computational fluid dynamics simulation. Corros. Sci. 2013, 77, 334–341. [Google Scholar] [CrossRef]
- Burson-Thomas, C.B.; Wood, R. Developments in Erosion–Corrosion Over the Past 10 Years. J. Bio Tribo Corros. 2017, 3, 14. [Google Scholar] [CrossRef]
- Wen, X.; Bai, P.; Luo, B.; Zheng, S.; Chen, C. Review of recent progress in the study of corrosion products of steels in a hydrogen sulphide environment. Corros. Sci. 2018, 139, 124–140. [Google Scholar] [CrossRef]
- Wang, Y.; Liu, R.T.; Liu, M.; Yan, J.J. Numerical investigation on erosion characteristics of coplanar elbows connection for gas-solid flow. In Proceedings of the 10th International Conference on Applied Energy (ICAE), Hong Kong, China, 22–25 August 2018; pp. 5245–5250. [Google Scholar]
- Zhang, J.; Zhang, H.; Chen, X.H.; Yu, C.Y. Gas-Solid Erosion Wear Characteristics of Elbow Pipe with Corrosion Defects. ASME J. Press. Vessel Technol. 2021, 143, 051501. [Google Scholar] [CrossRef]
- Zolfagharnasab, M.H.; Salimi, M.; Zolfagharnasab, H.; Alimoradi, H.; Shams, M.; Aghanajafi, C. A novel numerical investigation of erosion wear over various 90-degree elbow duct sections. Powder Technol. 2021, 380, 1–17. [Google Scholar] [CrossRef]
- Zeng, Q.F.; Qi, W.C. Simulation Analysis of Erosion-Corrosion Behaviors of Elbow under Gas-Solid Two-Phase Flow Conditions. Lubricants 2020, 8, 92. [Google Scholar] [CrossRef]
- Hernik, B. Numerical Study of the Erosion Process and Transport of Pulverized Coal-Air Mixture in the Mill-Duct System. Energies 2022, 15, 899. [Google Scholar] [CrossRef]
- Liu, J.G.; BaKeDaShi, W.L.; Li, Z.L.; Xu, Y.Z.; Ji, W.R.; Zhang, C.; Cui, G.; Zhang, R.Y. Effect of flow velocity on erosion corrosion of 90-degree horizontal elbow. Wear 2017, 376, 516–525. [Google Scholar] [CrossRef]
- Zeng, L.; Zhang, G.A.; Guo, X.P. Erosion–corrosion at different locations of X65 carbon steel elbow. Corros. Sci. 2014, 85, 318–330. [Google Scholar] [CrossRef]
- Owen, J.; Ramsey, C.; Barker, R.; Neville, A. Erosion-corrosion interactions of X65 carbon steel in aqueous CO2 environments. Wear 2018, 414, 376–389. [Google Scholar] [CrossRef]
- Yu, J.; Li, H.; Liu, X.; Yu, Y.; Xu, W.; Wang, H.; Liu, P. Numerical investigation of liquid-solid erosion in unbonded flexible pipes. Int. J. Press. Vessel. Pip. 2022, 199, 104743. [Google Scholar] [CrossRef]
- Jia, W.L.; Zhang, Y.R.; Li, C.J.; Luo, P.; Song, X.Q.; Wang, Y.Z.; Hu, X.Y. Experimental and numerical simulation of erosion-corrosion of 90° steel elbow in shale gas pipeline. J. Nat. Gas Sci. Eng. 2021, 89, 103871. [Google Scholar] [CrossRef]
- Elemuren, R.; Evitts, R.; Oguocha, I.N.A.; Kennell, G.; Gerspacher, R.; Odeshi, A.G. Full factorial, microscopic and spectroscopic study of erosion-corrosion of AISI 1018 steel elbows in potash brine-sand slurry. Tribol. Int. 2020, 142, 105989. [Google Scholar] [CrossRef]
- Fujisawa, N.; Yamagata, T.; Wada, K. Attenuation of wall-thinning rate in deep erosion by liquid droplet impingement. Ann. Nucl. Energy 2016, 88, 151–157. [Google Scholar] [CrossRef]
- Fujisawa, N. Liquid droplet impingement erosion on multiple grooves. Wear 2020, 462, 203513. [Google Scholar] [CrossRef]
- Chidambaram, P.K.; Kim, H.D. A numerical study on the water droplet erosion of blade surfaces. Comput. Fluids 2018, 164, 125–129. [Google Scholar] [CrossRef]
- Seksinsky, D.; Marshall, J.S. Droplet Impingement on a Surface at Low Reynolds Numbers. ASME J. Fluids Eng. 2020, 143, 021304. [Google Scholar] [CrossRef]
- Field, J.E. ELSI conference: Invited lecture: Liquid impact: Theory, experiment, applications. Wear 1999, 233–235, 1–12. [Google Scholar] [CrossRef]
- Kataoka, I.; Ishii, M.; Mishima, K. Generation and Size Distribution of Droplet in Annular Two-Phase Flow. ASME J. Fluids Eng. 1983, 105, 230–238. [Google Scholar] [CrossRef]
- Qiao, Q.; Cheng, G.; Li, Y.; Wu, W.; Hu, H.; Huang, H. Corrosion failure analyses of an elbow and an elbow-to-pipe weld in a natural gas gathering pipeline. Eng. Fail. Anal. 2017, 82, 599–616. [Google Scholar] [CrossRef]
- Stack, M.M.; Corlett, N.; Turgoose, S. Some recent advances in the development of theoretical approaches for the construction of erosion–corrosion maps in aqueous conditions. Wear 1999, 233–235, 535–541. [Google Scholar] [CrossRef]
- Huser, A.; Oddmund, K. Prediction of Sand Erosion in Process and Pipe Components. BHR Group Conf. Ser. Publ. 1998, 31, 217–228. [Google Scholar]
- Mclaury, B.S.; Shirazi, S.A. An Alternate Method to API RP 14E for Predicting Solids Erosion in Multiphase Flow. J. Energy Resour. Technol. 2000, 122, 115–122. [Google Scholar] [CrossRef]
- Jianwen, Z.; Aiguo, J.; Yanan, X.; Jianyun, H. Numerical Investigation on Multiphase Erosion-Corrosion Problem of Steel of Apparatus at a Well Outlet in Natural Gas Production. ASME J. Fluids Eng. 2018, 140, 121301. [Google Scholar] [CrossRef]
- Haugen, K.; Kvernvold, O.; Ronold, A.; Sandberg, R. Sand erosion of wear-resistant materials: Erosion in choke valves. Wear 1995, 186–187, 179–188. [Google Scholar] [CrossRef]
- Heitz, E. Mechanistically based prevention strategies of flow-induced corrosion. Electrochim. Acta 1996, 41, 503–509. [Google Scholar] [CrossRef]
- Stack, M.M.; Abdelrahman, S.M.; Jana, B.D. A new methodology for modelling erosion–corrosion regimes on real surfaces: Gliding down the galvanic series for a range of metal-corrosion systems. Wear 2010, 268, 533–542. [Google Scholar] [CrossRef]



























| Components | C | Mn | Si | S | P | Cr | Ni | Mo | Cu | Fe |
|---|---|---|---|---|---|---|---|---|---|---|
| Contents (wt%) | 0.21 | 0.66 | 0.28 | 0.011 | 0.014 | 0.072 | 0.045 | 0.005 | 0.009 | balanced |
| Properties | Composition (wt%) | ||||
|---|---|---|---|---|---|
| Temp/°C | Pressure/KPa | Flow/Kg/h | Water | MDEA | H2S |
| 120 | 50 | 12,334 | 99.45 | 0.12 | 0.43 |
| Number of Grids (Million) | Max Erosion Rate (mm/y) | Error (%) |
|---|---|---|
| 0.7 | 35.1 | 31.0 |
| 1.0 | 31.0 | 15.5 |
| 1.2 | 29.3 | 9.3 |
| 1.4 | 28.2 | 5.2 |
| 1.6 | 27.6 | 2.2 |
| 2.0 | 26.8 | - |
| Number of Grids (Million) | Max Erosion Rate (mm/y) | Error (%) |
|---|---|---|
| 1.0 | 35.3 | 35.6 |
| 2.1 | 30.7 | 17.8 |
| 3.1 | 28.6 | 9.8 |
| 4.2 | 26.8 | 3.1 |
| 5.5 | 26.4 | 1.5 |
| 6.1 | 26.0 | - |
| Phase | Density (kg/m3) | Viscosity (kg/m·s) |
|---|---|---|
| Gas | 0.84 | 1.3 × 10−5 |
| Liquid | 922 | 0.00389 |
| Phase | Inlet | Outlet | Wall |
|---|---|---|---|
| Gas | Mass-flow-inlet 3.42 kg/s | Pressure outlet | Non-slip boundary Standard wall function |
| Liquid | Mass-flow-inlet 0.004 kg/s |
| Phase | Inlet | Outlet | Wall | Total Flow Rate | Diameter | Turbulent Dispersion |
|---|---|---|---|---|---|---|
| Liquid | Escape | Escape | Trap | 0.004 kg/s | 0.75 mm | Discrete random walk model |
| A1 | A2 | A3 | A4 | A5 | A6 | A7 | A8 |
|---|---|---|---|---|---|---|---|
| 9.370 | 42.295 | 110.864 | 175.804 | 170.137 | 98.398 | 31.211 | 4.17 |
Disclaimer/Publisher’s Note: The statements, opinions and data contained in all publications are solely those of the individual author(s) and contributor(s) and not of MDPI and/or the editor(s). MDPI and/or the editor(s) disclaim responsibility for any injury to people or property resulting from any ideas, methods, instructions or products referred to in the content. |
© 2023 by the authors. Licensee MDPI, Basel, Switzerland. This article is an open access article distributed under the terms and conditions of the Creative Commons Attribution (CC BY) license (https://creativecommons.org/licenses/by/4.0/).
Share and Cite
Li, Y.; Zhang, J.; Su, G.; Sandy, A.; Xin, Y. Investigation on Multiphase Erosion–Corrosion of Elbow in LPG Desulfurization Unit. Metals 2023, 13, 256. https://doi.org/10.3390/met13020256
Li Y, Zhang J, Su G, Sandy A, Xin Y. Investigation on Multiphase Erosion–Corrosion of Elbow in LPG Desulfurization Unit. Metals. 2023; 13(2):256. https://doi.org/10.3390/met13020256
Chicago/Turabian StyleLi, Yan, Jianwen Zhang, Guoqing Su, Abdul Sandy, and Yanan Xin. 2023. "Investigation on Multiphase Erosion–Corrosion of Elbow in LPG Desulfurization Unit" Metals 13, no. 2: 256. https://doi.org/10.3390/met13020256
APA StyleLi, Y., Zhang, J., Su, G., Sandy, A., & Xin, Y. (2023). Investigation on Multiphase Erosion–Corrosion of Elbow in LPG Desulfurization Unit. Metals, 13(2), 256. https://doi.org/10.3390/met13020256
