Alkaline Decomposition of Solid Solution of Ammonium-Sodium Jarosite with Arsenic
Abstract
:1. Introduction
2. Materials and Methods
2.1. Synthesis and Characterization of NH4-Na Jarosite with Arsenic
2.2. Decomposition Experiments in NaOH Media
3. Results
Synthesis of Jarosite and Characterization
[(NH4)0.72Na0.06]Fe2.52 (SO4)1.85 (AsO4)0.15(OH)4.20 + 2.01H2O
4. Discussion
4.1. Controlling Stage and Kinetic Model
4.2. Stoichiometry
4.3. Experimental Data
4.4. Induction Period
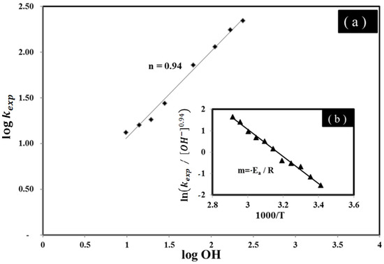
4.5. Progressive Conversion Period
5. Implications
6. Conclusions
Author Contributions
Funding
Data Availability Statement
Acknowledgments
Conflicts of Interest
References
- Sandoval, L.; Jauregui, M.L.M. Tratamiento de Residuos de Arsénico Provenientes del Tratamiento de Agua; Comisión Nacional del Agua: Mexico City, Mexico, 2000; pp. 1–10. [Google Scholar]
- Aguayo, S.; Mejía, F.A. Adsorción de arsénico en zeolitas naturales pre-tratadas. In XVI Congreso Internacional de Metalurgia Extractiva; Álvarez, N.A., Ed.; Universidad Autónoma de Coahuila: Saltillo, Mexico, 2006; pp. 393–402. [Google Scholar]
- Bissen, M.; Frimmel, F.H. Arsenic—A Review. Part I: Ocurrence, Toxicity, Speciation, Mobility. Acta Hydrochim. Hydrobiol. 2003, 31, 9–18. [Google Scholar] [CrossRef]
- Tan, L.K.; Dutrizac, J.E. Determination of As (III) and As(v) in ferric chloride- hydrochloride acid leaching media by ion chromatography. Analyt. Chem. 1985, 57, 1027. [Google Scholar] [CrossRef]
- Armienta, M.A.; Rodríguez, R.; Aguayo, A.; Ceniceros, N.; Villaseñor, G. Arsenic contamination of grondwater in Zimapan. Hydrogeology 1997, 5, 39–46. [Google Scholar] [CrossRef]
- Arregi, V.; Gordon, A.R.; Steintveit, G. The Jarosite Process Past, Present and Future in Lead-Xinc-Tin ’80; Cigan, J.M., Mackey, T.S., O’Keefe, T.J., Eds.; TMS-AIME: Warrendale, PA, USA, 1979; pp. 97–123. [Google Scholar]
- Gupta, K.; Ghosh, U.C. Arsenic removal using hydrous nanostructure iron (III)-titanium (IV) binary mixed oxide from aqueous solution. J. Hazard. Mater. 2008, 161, 884–892. [Google Scholar] [CrossRef]
- Dutrizac, J.E. Jarosite-type compounds and their application in the metallurgical industry. In Hydrometallurgy Research, Development and Plant Practice; Osseo-Asare, K., Miller, J.D., Eds.; TMS-AIME: Warrendale, PA, USA, 1982; pp. 531–551. [Google Scholar]
- Dutrizac, J.E.; Jambor, J.L. The behaviour of arsenic during jarosite precipitation. Arsenic precipitation at 97 °C from sulphate or chloride media. Can. Metall. Q. 1987, 26, 91–101. [Google Scholar] [CrossRef]
- Dutrizac, J.E.; Jambor, J.L.; Chen, T. The behaviour of arsenic during jarosite precipitation: Reactions at 150 °C and the mechanism of arsenic precipitation. Can. Metall. Q. 1987, 26, 103–115. [Google Scholar] [CrossRef]
- Savage, K.S.; Bird, D.K.; Peggy, A. Arsenic speciation in Synthetic jarosite. Chem. Geol. 2005, 215, 473–498. [Google Scholar] [CrossRef]
- Dutrizac, J.E.; Jambor, J.L. Characterization of the iron arsenate-sulphate compounds precipitated at elevated temperatures. Hydrometallurgy 2006, 86, 147–163. [Google Scholar] [CrossRef]
- Reyes, I.A.; Patiño, F.; Rivera, I.; Flores, M.U.; Reyes, M.; Hernández, J. Alkaline reactivity of arsenical natrojarosite. J. Braz. Chem. Soc. 2011, 22, 2260–2267. [Google Scholar] [CrossRef] [Green Version]
- Roca, A.; Patiño, F.; Viñals, J.; Núñez, C. Alkaline decomposition-cyanidation kinetics of argentojarosite. Hydrometallurgy 1993, 33, 341–358. [Google Scholar] [CrossRef]
- Patiño, F.; Viñals, J.; Roca, A.; Núñez, C. Alkaline decomposition-cyanidation kinetics of argentian plumbojarosite. Hydrometallurgy 1994, 34, 279–291. [Google Scholar] [CrossRef]
- Patiño, F.; Salinas, E.; Cruells, M.; Roca, A. Alkaline decomposition-cyanidation kinetics of argentian natrojarosite. Hydrometallurgy 1998, 49, 323–336. [Google Scholar] [CrossRef]
- Patiño, F.; Reyes, I.A. Kinetic modeling and experimental design of the sodium arsenojarosite decomposition in alkaline media: Implications. Hidrometallurgy 2013, 137, 115–212. [Google Scholar] [CrossRef]
- Vogel, A.I. Química Analítica Cualitativa, 5th ed.; Editorial Kapelusz: Buenos Aires, Argentina, 1953; pp. 3–4. [Google Scholar]
- Flores, M.U.; Patiño, F. Kinetic Modeling of the Alkaline Decomposition of Potassium Arsenojarosite. J. Braz. Chem. Soc. 2012, 23, 1018–1023. [Google Scholar] [CrossRef] [Green Version]
- Drouet, C.; Pass, K.L.; Baron, D.; Draucker, S.; Navrotsky, A. Thermochemistry of jarosite-alunite and natrojarosite-natroalunite solid solutions. Geochim. Cosmochim. Acta 2004, 68, 2197–2205. [Google Scholar] [CrossRef]
- Drouet, C.; Navrotsky, A. Synthesis, charactherization, and termochemestry of K-Na-H3O jarosites. Geochim. Cosmochim. Acta 2003, 11, 2063–2076. [Google Scholar] [CrossRef]
- Smith, A.M.L.; Dubbin, W.E. Dissolution of lead and lead arsenic-jarosites at pH 2 and 8 and 20 °C: Insights from batch experiments. Chem. Geol. 2006, 229, 344–361. [Google Scholar] [CrossRef]
- Spratt, H.; Rintoul, L.; Avdeev, M.; Martens, W. The thermal decomposition of hydronium jarosite and ammoniojarosite. J. Therm. Anal. Calorim. 2014, 115, 101–109. [Google Scholar] [CrossRef] [Green Version]
- Kristóf, J.; Frost, R.L.; Palmer, S.J. Thermoanalytical studies of natural potassium, sodium and ammonium alunites. J. Therm. Anal. Calorim. 2010, 100, 961–966. [Google Scholar] [CrossRef] [Green Version]
- Frost, R.L.; Wills, R.A.; Kloprogge, J.T. Thermal decomposition of ammonium jarosite (NH4) Fe3(SO4)2(OH)6. J. Therm. Anal. Calorim. 2006, 84, 489–496. [Google Scholar] [CrossRef] [Green Version]
- Levenspiel, O. Ingeniería de la Reacciones Químicas; Reverté: Barcelona, Spain, 2010; pp. 569–573. [Google Scholar]
- Ballester, A.; Verdeja, L.F.; Sancho, J. Metalurgia Extractiva; Editorial Síntesis: Madrid, Spain, 2000; Volume 1, pp. 152–200. [Google Scholar]
- Lide, D.R. Handbook of Chemistry and Physics; CRC Press: Boston, MA, USA, 2009. [Google Scholar]
- Kendall, M.R.; Madden, A.S.; Madden, M.E.; Hu, Q. Effects of arsenic incorporation on jarosite dissolution rates and reaction products. Geochim. Cosmochim. 2013, 112, 192–207. [Google Scholar] [CrossRef]
- Patiño, F.; Flores, M.U.; Reyes, I.A.; Reyes, M.; Hernández, J.; Rivera, I.; Juárez, J.C. Alkaline decomposition of synthetic jarosite with arsenic. Geochem. Trans. 2013, 14, 2. [Google Scholar] [CrossRef] [PubMed] [Green Version]











| Reagents and Parameters | Conditions |
|---|---|
| Na2HAsO4·7H2O | 0.03 mol/L |
| (NH4)2SO4 | 0.3 mol/L |
| Fe2 (SO4)3 | 0.25 mol/L |
| pH | 1.2–1.8 |
| T | 367 K (94 °C) |
| stirring | 500 min−1 |
| T | 24 h |
| Parameter | [OH−] Effect | T Effect | d0 Effect |
|---|---|---|---|
| T/K | 303 K (30 °C) | 293−363 K (20−70 °C) | 303 K (30 °C) |
| [OH−1]/mol/L | 0.1−0.003 | 0.05 | 0.05 |
| d0/µm | 38 | 38 | 150−25 |
| t/min | 0−230 | 0−35 | 0−30 |
| Element/Specie | W (%) | Analysis Method |
|---|---|---|
| Fe | 29.4 | Volumetry |
| SO4 | 38.9 | Gravimetry |
| As/AsO4 | 1.72/3.19 | ICP |
| Na | 0.240 | ICP |
| N/NH4 | 2.11/2.71 | Elemental Analysis |
| OH− + H3O+ + H2O | 25.6 | Difference |
| Mesh Number | Diameter µm | Weigh t/g | Weight % |
|---|---|---|---|
| +100 | 150 | 1.98 | 7.28 |
| −100 + 170 | 90 | 0.43 | 1.58 |
| −170 + 200 | 75 | 0.07 | 0.26 |
| −200 + 270 | 53 | 0.28 | 1.03 |
| −270 + 325 | 44 | 0.72 | 2.65 |
| −325 + 400 | 38 | 13.20 | 48.50 |
| −400 + 500 | 25 | 9.00 | 33.08 |
| −500 | - | 1.53 | 5.62 |
| Total | 27.21 | 100 | |
| pH | [NaOH] mol/L | [OH−] mol/L | T K | d0 µm | θ min | kexp min−1 | tr a min |
|---|---|---|---|---|---|---|---|
| 11.46 | 0.003 | 0.0042 | 303 | 38 | 40.16 | 0.0045 | 240 |
| 11.61 | 0.005 | 0.0059 | 303 | 38 | 23.18 | 0.0057 | 210 |
| 11.79 | 0.007 | 0.0089 | 303 | 38 | 16.00 | 0.0087 | 190 |
| 12.05 | 0.010 | 0.01636 | 303 | 38 | 9.34 | 0.0138 | 90 |
| 12.39 | 0.030 | 0.0358 | 303 | 38 | 2.41 | 0.0362 | 35 |
| 12.55 | 0.050 | 0.0517 | 303 | 38 | 1.60 | 0.0544 | 25 |
| 12.69 | 0.070 | 0.0714 | 303 | 38 | 1.19 | 0.0627 | 22 |
| 12.85 | 0.100 | 0.1032 | 303 | 38 | 0.91 | 0.0755 | 20 |
| 13.26 | 0.05 | 0.1250 | 293 | 38 | 3.65 | 0.0300 | 50 |
| 13.06 | 0.05 | 0.1161 | 298 | 38 | 2.45 | 0.0414 | 40 |
| 12.86 | 0.05 | 0.1056 | 303 | 38 | 1.86 | 0.0608 | 30 |
| 12.75 | 0.05 | 0.1161 | 308 | 38 | 1.08 | 0.0787 | 25 |
| 12.65 | 0.05 | 0.1282 | 313 | 38 | 0.75 | 0.0971 | 20 |
| 12.27 | 0.05 | 0.0732 | 318 | 38 | 0.49 | 0.0998 | 18 |
| 12.16 | 0.05 | 0.0767 | 323 | 38 | 0.34 | 0.1484 | 16 |
| 11.97 | 0.05 | 0.0657 | 328 | 38 | 0.20 | 0.153 | 14 |
| 11.80 | 0.05 | 0.0583 | 333 | 38 | 0.16 | 0.1805 | 12 |
| 11.65 | 0.05 | 0.0535 | 338 | 38 | 0.12 | 0.2581 | 10 |
| 11.53 | 0.05 | 0.0519 | 342 | 38 | 0.08 | 0.3189 | 8 |
| 12.85 | 0.05 | 0.1032 | 303 | 90 | 2.11 | 0.0328 | 30 |
| 12.87 | 0.05 | 0.1081 | 303 | 53 | 1.82 | 0.0496 | 30 |
| 12.86 | 0.05 | 0.1056 | 303 | 45 | 2.05 | 0.0566 | 30 |
| 12.85 | 0.05 | 0.1032 | 303 | 38 | 1.87 | 0.0638 | 30 |
| 12.84 | 0.05 | 0.1009 | 303 | 25 | 1.83 | 0.0867 | 30 |
| NaOH | ||
|---|---|---|
| Kinetic Parameter | Induction | Progressive Conversion |
| Ea/kJ/mol | 65.0 | 51.6 |
| n | 1.22 | 0.94 |
| k0 | 9.77 × 1010 | 3.44 × 106 |
Publisher’s Note: MDPI stays neutral with regard to jurisdictional claims in published maps and institutional affiliations. |
© 2022 by the authors. Licensee MDPI, Basel, Switzerland. This article is an open access article distributed under the terms and conditions of the Creative Commons Attribution (CC BY) license (https://creativecommons.org/licenses/by/4.0/).
Share and Cite
Flores, V.H.; Patiño, F.; Roca, A.; Flores, M.U.; Reyes, I.A.; Reyes, M.; Islas, H. Alkaline Decomposition of Solid Solution of Ammonium-Sodium Jarosite with Arsenic. Metals 2022, 12, 584. https://doi.org/10.3390/met12040584
Flores VH, Patiño F, Roca A, Flores MU, Reyes IA, Reyes M, Islas H. Alkaline Decomposition of Solid Solution of Ammonium-Sodium Jarosite with Arsenic. Metals. 2022; 12(4):584. https://doi.org/10.3390/met12040584
Chicago/Turabian StyleFlores, Víctor H., Francisco Patiño, Antoni Roca, Mizraim U. Flores, Iván A. Reyes, Martin Reyes, and Hernán Islas. 2022. "Alkaline Decomposition of Solid Solution of Ammonium-Sodium Jarosite with Arsenic" Metals 12, no. 4: 584. https://doi.org/10.3390/met12040584
APA StyleFlores, V. H., Patiño, F., Roca, A., Flores, M. U., Reyes, I. A., Reyes, M., & Islas, H. (2022). Alkaline Decomposition of Solid Solution of Ammonium-Sodium Jarosite with Arsenic. Metals, 12(4), 584. https://doi.org/10.3390/met12040584

