Next Article in Journal
Lubrication-Enhanced Mechanisms of Bentonite Grease Using 2D MoS2 with Narrow Lateral Size and Thickness Distributions
Previous Article in Journal
Study on Performance of Compliant Foil Gas Film Seal Based on Different Texture Bottom Designs
 
 
Font Type:
Arial Georgia Verdana
Font Size:
Aa Aa Aa
Line Spacing:
Column Width:
Background:
Article

Synthesis and Evaluation of Bio-Lubricants from Renewable Raw Materials

by
Dimosthenis Filon
1,
George Anastopoulos
1 and
Dimitrios Karonis
1,2,*
1
Laboratory of Fuels and Lubricants Technology, School of Chemical Engineering, National Technical University of Athens, Iroon Polytechniou 9, 15780 Athens, Greece
2
Institute of Geoenergy (IG)-FORTH, 73100 Chania, Greece
*
Author to whom correspondence should be addressed.
Lubricants 2024, 12(12), 446; https://doi.org/10.3390/lubricants12120446
Submission received: 1 November 2024 / Revised: 27 November 2024 / Accepted: 9 December 2024 / Published: 16 December 2024

Abstract

The objective of this study was the evaluation of the production of base oils for lubricants of biological origin using vegetable and used frying oils as feedstock. The production method was based on a two-stage transesterification process. Initially, fatty acid methyl esters were obtained via methanolysis (first stage), and they were used as feedstock for bio-lubricants production by a second-stage transesterification process with the proper long-chain polyols. The produced oleochemical esters were evaluated based on their flow properties and their oxidation stability, as well as their capability of being renewable substitutes for conventional base oils, such as SN-150 and SN-500 mineral oils. The evaluation showed the remarkable physicochemical properties of these bio-lubricants, such as the viscosity, the viscosity index, and the pour, cloud and flash points, which, in combination with their high biodegradability and non-corrosive behavior, make these bio-lubricants ideal for use in special applications of non-recoverable lubrication or of high risk but low heat load and oxidative potential. This is because the oxidation stability of these bio-lubricants is not comparable to that shown by the used mineral oils and therefore they cannot totally substitute for these mineral oils. The reduced oxidation stability can be overcome by blending the bio-lubricants with mineral base oils at proper blending ratios.

1. Introduction

The application of lubricants is of significant importance for the operation of all systems that involve moving parts. Lubricants are used for the reduction of friction and the prevention of machine wear. They consist of base oils mixed with additives [1]. Base oils are produced either by the processing of heavy fractions of petroleum or by chemical reactions, and they are mostly non-biodegradable. In the last few decades, the pollution of the environment by non-biodegradable compounds, such as conventional (oil-derived) lubricants and the continuously pressing policies for the strategic reduction of the dependance on oil-based products have made the research on bio-lubricant production and development a significant research field [1,2].
The above-mentioned points, in addition to the need to strengthen the agricultural economy through the utilization of energy crops and specialty crops, as well as the attractive economic prospects due to the high added value in the lubricant market, make bio-lubricants a highly promising source of economic activity at a global level [3,4,5,6]. Overall, the development of high-value-added products with a negligible environmental footprint, such as bio-lubricants, as well as the evaluation of their capability of substituting for conventional mineral oil-derived lubricants in crucial points, such as in the oxidation stability and the lubricating ability, enhances the quality optimization and the universal acceptance of these alternative lubricants [7].
Bio-lubricants can be classified according to their chemical composition into natural and synthetic oils. Natural oils are made with vegetable oils or animal fats, while synthetic oils use natural oils as raw materials to form more advanced bio-lubricants or specialty bio-lubricants [8].
Bio-lubricants have to satisfy a very wide range of industrial and other needs. Therefore, depending on the type of the application where they are to be used and the technical specifications they must meet, the selection of the synthesis method and the suitable feedstock for the final bio-lubricant oil also has to be decided [9]. In many lubricating systems, the physicochemical and tribological properties of these oils compared to those of traditional mineral oils appear improved [1,7].
In general, the physicochemical properties of vegetable oils largely depend on their chemical composition in terms of oleochemical esters. However, it is worth noting that this content is not constant, as it can vary depending on the environmental conditions to which they are exposed, their biological origin and the genetic modifications they may have undergone [10,11].
Bio-lubricant technology focuses on the optimization of the production of synthetic esters and the improvement of their physicochemical properties through various chemical modification methods and different catalytic processes [4,10,12]. However, the development of these bio-lubricants is constantly being researched, as they still present non-ideal thermal and oxidative stability and are prone to hydrolysis, mainly due to the unsaturated fatty acid content [1,4].
Among the most promising processes are two-step transesterification reactions. The production process makes it possible to exploit the oleochemical esters for the synthesis of both biofuels and bio-lubricants via the same production route through treatment with appropriate alcohols or polyols. Specifically, in the first stage, the treatment of the triglycerides of the feed with low-molecular-weight alcohols such as methanol leads to the production of fatty acid methyl esters [13]. These esters are the main component of biodiesel. At the same time, they are also ideal substrates for the synthesis of bio-lubricants through a special type of high-molecular-weight branched polyols [12,13].
In theory, bio-lubricants can be produced from any vegetable product with the use of appropriate processes to extract the needed oil. However, in practice, the majority of these raw materials are not favorable for the production of oils. The criteria for the suitability of a raw material to be made into a high-quality bio-lubricant are the following [3]:
  • Raw material availability
  • Raw material efficiency (to produce a substantive amount of oil)
  • Raw material cost
  • Raw material quality (necessary for the production of a high-quality oil and therefore, later, a high-quality bio-lubricant) [14]
In summary, the production of high-value-added biofuels based mainly on raw materials that can be grown locally is capable of significantly boosting the agricultural sector, offering opportunities for growth toward sustainability [15]. Despite the fact that, due to technological issues, biofuels do not constitute a significant part of the lubricants market, their dynamic penetration of the European market in the next decade should be considered a very likely scenario [1,6]. This would require the provision of financial incentives, the establishment of a common European framework for the production of products of organic origin and the standardization of technical specifications governing the various categories of bio-lubricants [6].
Overall, the objective of this study is closely linked to a research field aimed at demonstrating the technical and economic feasibility of producing biofuels and bio-lubricants on the same production line. This production line can be adapted according to the market demand to intensify the production of one of the two products, contributing to the concept of the biorefinery as a viable and sustainable technological platform [4,12]. The economies of scale of such a venture can be viewed positively, as the low-volume production of high-value-added products, such as bio-lubricants, can be complemented by the high-volume production of lower-value products, such as biodiesel [16,17].

2. Materials and Methods

The objective of this study was the synthesis of oleochemical trimethylolpropane (TMP) esters to be used as bio-lubricants and their evaluation as proper, sustainable substitutes for conventional mineral oils.
The raw materials used for the production of bio-lubricants were vegetable oils from the Greek national market, derived from crops of particular interest for the agricultural sector of the Greek economy. Specifically, the following oils were used:
  • Corn oil (CRNO)
  • Cottonseed oil (CO)
  • Sunflower oil (SUNO)
  • Olive pomace oil (POMO)
Simultaneously, non-edible olive oil of high acidity (HAVOO) was utilized as a raw material, as well as a mixture of used frying oils (UFOs) that were collected from fast-food restaurants. Depending on their initial quality characteristics, the oils were used either as received or were subjected to further refining for the removal of moisture, the neutralization of free fatty acids (FFAs) and the reduction of the acid value (AV) via the acid esterification process. Finally, in the case of the frying oil, vacuum filtration was also applied to remove any solid material that it contained. The typical physicochemical characteristics of these oils are presented in Table 1.
In all the reactions for the oleochemical esters’ synthesis, the polyol that was used was trimethylolpropane (TMP). Therefore, all of the bio-lubricants that were evaluated consisted of fatty acid trimethylolpropane esters (FATMPEs). The methanol and the reactants that were used for the synthesis and the evaluation of the physicochemical properties and the refining of the intermediate products were all of high purity. These chemicals were supplied by Sigma-Aldrich and Acros Organics.
At first, for the vegetable oils that had a high acid value (>1 mg KOH/g) according to Table 1, i.e., a high concentration of free fatty acids (FFAs), where the saponification reactions are intense [24], a process of acid esterification refining of the free fatty acids was implemented, using methanol and a strong Lewis acid (H2SO4) as a catalyst, according to the general reaction shown in Figure 1. The acid value and the concentration of FFAs were as follows:
Acid Value (AV) = 2 × [% m/m FFA]
The ratios of methanol/FFA and sulfuric acid/FFA were 60:1 (n/n) and 1:4 (m/m), respectively [24,25,26]. The raw material was weighed and preheated inside a glass reactor at 50–55 °C and atmospheric pressure, under constant stirring [27]. In a mixing vessel, the required quantities of methanol and catalyst were added and preheated at the same temperature as above while also being constantly stirred.
Afterwards, the contents of the vessel were inserted into the reactor for the esterification reaction to initiate, which was concluded after 1 h. To avoid any leakages of methanol to the surrounding area of the reactor, a vertical counter-current cooler was installed using room temperature tap water as the cooling liquid.
The produced mixture was transferred to a separatory funnel, where the refined oil was gathered at the bottom and separated from the excess methanol on the top. The oil phase was transferred to a new separating funnel, where consecutive washes with cool water took place (3% vol. of the methanol-phase volume) [26,27,28] as well as a wash with a dilute solution of Na2CO3 (0.70 g of Na2CO3 powder were dissolved in the above quantity of water).
The washes aimed at the removal of all of the water-soluble impurities that were in the refined oil’s phase, as well as any catalyst and methanol remainders. The recovery of moisture and any remaining methanol was performed by vacuum distillation in a rotary evaporator. The reaction’s efficiency can be expressed as a function of the initial and final acid values (AVIN and AVFIN, respectively), based on Equation (1) [24]:
Yield = (AVIN − AVFIN)/AVIN × 100%
In the next stop, the final products of the transesterification reactions converting the vegetable oils into fatty acid methyl esters with the addition of KOH at a ratio of 0.75% m/m were studied with regard to their physicochemical properties. These experimental results’ presentation follows.
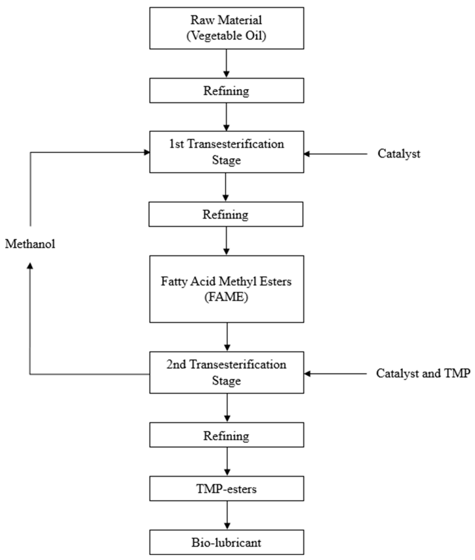
The production of trimethylolpropane esters from the vegetable oils was achieved by the use of a 2-stage transesterification process, which is visualized in the following simplified flow chart of the production process shown in Figure 2.

2.1. First Stage of the Production Process

The 1st stage of the production process included the conversion of the vegetable oils into fatty acid methyl esters by an alkaline-catalyzed transesterification batch process, with the catalyst being KOH, according to the general methanolysis reaction shown in Figure 3. The reaction temperature was maintained near the boiling point of methanol (65 °C), while the pressure was kept at 1 bar. To maximize the process’s efficiency, based on Le Chatellier’s principle, the methanol/oil ratio used was 6:1 (a 100% excess), while the catalyst concentration was fixed to 0.75% m/m of the vegetable oil triglycerides [29,30].
Briefly, the used process followed these steps. The desired quantity of oil was transferred to the reactor and was preheated at 50–55 °C under constant stirring (the oil must not exceed 3/5 of the reactor in volume). At the same time, the required quantities of methanol and catalyst were mixed in a mixing vessel whilst being stirred and preheated at 50–55 °C until the mixture was homogenized in order for the respective alkoxide and protonated catalyst to be formed (CH3O-K+ in this case) [31].
Afterwards, the contents of the vessel were added to the preheated oil to initiate the transesterification reaction. The residence time of the reacting mixture inside the reactor was 1.5 h. To avoid any methanol leaks to the surrounding space, a vertical counter-current cooler using room temperature water as a cooling liquid was installed.
After the lapse of the required amount of time, the heating of the reactor was stopped and the reacting mixture was allowed to cool down to room temperature under constant stirring. Following that, the produced mixture was transferred to a separating funnel, where it was left for 1 h, in order for the glycerin phase to be separated and gather at the bottom of the funnel due to glycerin’s higher density [14,32]. The separation of the two layers followed.
The lighter phase was sequentially washed with warm water at a ratio of 3% vol. of the methyl esters volume and was also subjected to a wash with a dilute sulfuric acid solution (5% m/m sulfuric acid in the above referred amount of water [30]) to remove any remains of the catalyst and soaps, which were formed during the neutralization with the free fatty acids of the raw material (Figure 4), by converting them into sulfuric salts and fatty acid salts (Figure 4) [14,30].
The recovery of the methanol and the water contents from the lighter phase was achieved by vacuum distillation in a rotary evaporator [32]. Finally, in cases where the moisture content was found to be above the accepted maximum value of the EN 14214 standard specification for biodiesel (500 ppm) [33], the methyl ester mixture was subjected to further heating at 110 °C for 30 min for the removal of the excess water [30].

2.2. Second Stage of the Production Process

The second stage included the conversion of the fatty acid methyl esters produced in the first stage into trimethylolpropane (TMP) oleochemical esters through an alkaline-catalyzed transesterification batch process using CH3ONa as the catalyst [34,35,36] (Figure 5).
The effects of the catalyst’s concentration as well as the conversion time were studied using olive pomace oil methyl esters as feedstock, while the methyl ester conversion of the other oils was evaluated using CH3ONa as a catalyst at the optimum concentration that was determined when studying olive pomace oil methyl esters.
The transesterification reactions took place in a 250 mL spherical glass flask equipped with a Dean–Stark trap and a counter-current reflux condenser. All of the reactions between the methyl esters and the trimethylolpropane were conducted at a stoichiometric ratio of 3:1 (TMP) (Figure 5). First, in the 250 mL glass flask, the required quantities of methyl esters and of polyol were inserted, and after that, the temperature was set to the reacting mixture’s boiling point (approximately 180–200 °C) [30,34,36,37].
Then, 50 mL of isooctane (2,2,4-trimethylo-pentane) was added to each mixture alongside the necessary catalyst amount. During the conversion reactions, the methanol that was formed was constantly being removed from the reaction system through an azeotropic distillation with the isooctane (azeotropic agent) and was recovered almost completely in the Dean–Stark trap [30,34,35]. The removal of methanol was in service of the increase of the process’s efficiency in accordance with Le Chatellier’s principle (due to the removal of the unwanted byproduct) but was also useful as a method for estimation of the process’s yield [30].
After the conclusion of each batch’s reaction, the initial heating was stopped and the produced mixture was cooled to the environment’s temperature, after which the stirring was stopped. The produced mixture was placed inside a centrifuge at 3500 rpm for 15 min to separate the catalyst and the sediment formed at the bottom of the used tubes [30]. In the case of oleochemical esters where the separation was not sufficient through centrifugation, the produced mixture was submitted to vacuum filtration in order for the solid phase to be removed. The used isooctane was recovered via vacuum distillation in a rotary evaporator [30,36,37].
The production and evaluation of the characteristics and physicochemical properties of the produced oleochemical esters as synthetic bio-lubricants were followed by the determination of their ability to be renewable substitutes for base lubricant oils, such as SN-150 and SN-500 Group I mineral oils, that are used in the production of lubricants, motor oils and metal-working fuels. The mixing was carried out in ratios (volumetric) of 50:50 and 90:10 to the bio-lubricant, respectively, under heating in 100 mL volumetric cylinders.

3. Results

In the results presented in Table 1 regarding the acid values of the raw materials, the need for refining corn, sunflower seed, high acid value olive and used frying oil is made clear, as the concentration of free fatty acids in these oils (>0.5% m/m [24]) was enough for neutralization of part of the catalyst to occur, leading to the formation of the respective soaps. In Table 2, the yield of the acid esterification reaction for each one of the above-mentioned oils is presented.
The final products that were obtained from the transesterification reactions converting the vegetable oils into fatty acid methyl esters with the addition of KOH at a ratio of 0.75% m/m were studied with regard to their physicochemical properties. The experimental results that were extracted, which are shown in Table 3 and Table 4, were compared to the quality specifications of the EN 14214 standard [33], which are critical for the requirements of the second stage, such as the density, the viscosity at 40 °C, the acid value and the ester content (% m/m) and the water content. This selection was due to the fact that they were used exclusively as intermediate material for the production of TMP fatty acid esters and were not utilized as bio-fuels.
The optimal catalyst concentration was considered to be that which favored the production of oleochemical esters with the best performance in terms of the properties presented in Table 5. Therefore, when comparing TMP esters from the same base oil, high values are sought in order of importance for the oxidative stability, kinematic viscosity and viscosity index in as short as possible a reaction time. Regarding the pour point, lower values are clearly desirable; however, the better fluidity at low temperatures in this case may be related to the presence of residual methyl esters in the product mixture.
After the selection of the optimum catalyst concentration for the production of TMP esters from olive pomace oil as the optimum for all the bio-lubricant synthesis processes, the second stage of the production procedure began. The TMP oleochemical esters that were obtained from the conversion of fatty acid methyl esters with the use of CH3ONa as a catalyst at a ratio of 2% m/m (Table 6) were evaluated with regard to their physicochemical properties as potential base lubricating oils.
The experimental results are summarized in Table 7. The density, the kinematic viscosity at 40 °C and at 100 °C and the viscosity index were evaluated in accordance with the standard methods of ASTM D7042 and D2270, respectively.
The pour and cloud point measurements were performed with the use of the ASTM D97 and D2500 [41] methods, respectively. To determine the acid value, the EN 14104 standard procedure was followed, and finally, the water content and oxidation stability were measured via coulometric Karl Fischer titration (EN ISO 12937) and ASTM D7545 (PetrOxy), respectively [30,41]. Additionally, copper corrosion tests were carried out following the ASTM D130 standard. Lastly, the flash point was determined according to ASTM D92 [11].
All the produced TMP ester mixtures were evaluated as potential substitutes for the base-oil-derived lubricant oils SN-150 and SN-500 at ratios of 50% and 10% vol., respectively. The physicochemical properties of these mineral oils as well as of the above mixtures are demonstrated in the following tables (Table 7, Table 8 and Table 9, respectively).
Table 6. Physicochemical properties of TMP esters from vegetable oils.
Table 6. Physicochemical properties of TMP esters from vegetable oils.
PropertyUnitCRNTMPECOTMPESUNTMPEPOMTMPEHAVOOTMPEUFOTMPEStandard
Method
Acid Valuemg KOH/g0.160.140.150.170.210.19EN 14104 [21]
Water Contentmg/kg565467585163EN ISO 12937 [20]
Pour Point°C−12−12−11−9−10−10ASTM D97 [22]
Cloud Point°C−8−7−6−2−3−4ASTM D2500 [42]
Flash Point°C235230237264265254ASTM D92 [43]
Viscosity (40 °C)mm2/s33.0236.9239.2443.6746.7741.263ASTM D7042 [18]
Viscosity (100 °C)7.7698.3598.8759.0939.5138.7206
Viscosity Index 220215216197193198ASTM D2270 [19]
Density (15 °C)g/cm30.91560.91850.92280.91600.91510.9053ASTM D7042 [18]
Copper Corrosion (3 h, 100 °C)-111111ASTM D130 [44]
Oxidation Stability (RSSOT 140 °C, 700 kPa)min26.1524.9826.6337.3842.2935.71ASTM D7545 [23]
Table 7. Physicochemical properties of mineral oils SN-150 and SN-500.
Table 7. Physicochemical properties of mineral oils SN-150 and SN-500.
PropertyUnitsSN-150SN-500Standard Method
Acid Valuemg KOH/g0.0150.020EN 14104 [21]
Water Contentmg/kg9798EN ISO 12937 [20]
Pour Point°C−15−9ASTM D97 [22]
Cloud Point°C−9−3ASTM D2500 [42]
Flash Point°C202226ASTM D92 [43]
Viscosity (40 °C)mm2/s34.0363.57ASTM D7042 [18]
Viscosity (100 °C)mm2/s5.7388.786
Viscosity Index 107112ASTM D2270 [19]
Density (15 °C)g/cm 30.87260.8736ASTM D7042 [18]
Copper Corrosion (3 h, 100 °C)-11ASTM D130 [44]
Oxidation Stability (RSSOT
140 °C, 700 kPa)
min434.51461ASTM D7545 [23]
Table 8. Physicochemical properties of mixtures of TMP esters with mineral oil SN-150 (50:50 by volume).
Table 8. Physicochemical properties of mixtures of TMP esters with mineral oil SN-150 (50:50 by volume).
Bio-Lubricant (50% v/v)—SN150 (50% v/v)
PropertyUnitsCRNTMPECOTMPESUNTMPEPOMTMPEHAVOOTMPEUFOTMPEStandard
Method
Acid Valuemg KOH/g0.090.100.090.110.140.11EN 14104 [21]
Water Contentmg/kg767582779179EN ISO 12937 [20]
Pour Point°C−13−15−13−11−11−12ASTM D97 [22]
Cloud Point°C−8−8−7−5−6−7ASTM D2500 [42]
Flash Point°C222217223233234228ASTM D92 [43]
Viscosity (40 °C)mm2/s33.4935.3936.5538.5641.3037.83ASTM D7042 [18]
Viscosity (100 °C)6.7816.8857.2197.2747.5197.304
Viscosity Index 167158166156151155ASTM D2270 [19]
Density (15 °C)g/cm30.89460.89610.89840.89480.89440.8903ASTM D7042 [18]
Copper Corrosion (3 h, 100 °C)-111111ASTM D130 [44]
Oxidative Stability (RSSOT 140 °C, 700 kPa)min68.1967.0868.6473.4083.0469.23ASTM D7545 [23]
Table 9. Physicochemical properties of mixtures of TMP esters with mineral oil SN-500 (10:90 by volume).
Table 9. Physicochemical properties of mixtures of TMP esters with mineral oil SN-500 (10:90 by volume).
Bio-Lubricant (10% v/v)—SN 500 (90% v/v)
PropertyUnitsCRNTMPECOTMPESUNTMPEPOMTMPEHAVOOTMPEUFOTMPEStandard
Method
Acid Valuemg KOH/g0.030.040.040.040.060.11EN 14104 [21]
Water Contentmg/kg9493959497100EN ISO 12937 [20]
Pour Point°C−9−9−8−7−8−8ASTM D97 [22]
Cloud Point°C−4−3−3−3−3−3ASTM D2500 [42]
Flash Point°C230229230232232231ASTM D92 [43]
Viscosity (40 °C)mm2/s54.7356.5757.4158.7860.5257.89ASTM D7042 [18]
Viscosity (100 °C)8.7258.8428.9458.8148.8228.741
Viscosity Index 1351311 33124121126ASTM D2270 [19]
Density (15 °C)g/cm30.87800.87830.87880.87800.87780.8790ASTM D7042 [18]
Copper Corrosion (3 h, 100 °C)-111111ASTM D130 [44]
Oxidative Stability (RSSOT 140 °C, 700 kPa)min211.9208.4213.3228.1258.1221.0ASTM D7545 [23]

4. Discussion

As far as the quality characteristics of the products are concerned, the methyl esters must conform to the EN 14214 standard specifications, whereas the bio-lubricants must satisfy the parameters of the various standards for lubricating oils that they will substitute for based on their application (e.g., SAE J300 for motor oils).
It is shown by the experimental results in Table 3 and Table 4 that the physicochemical properties of the methyl esters are in compliance with the specifications of the EN 14214 standard [33]. For example, the chromatographic analysis that was conducted following the EN 14103 standard method showed that the final products’ methyl ester concentration was in the acceptable range (96.5% m/m minimum). The rest of the tested values, such as the density (15 °C), kinematic viscosity (40 °C), water content and acid value, exhibit similar results. As was previously mentioned, the present study does not focus on the production of methyl esters to be used as bio-fuels but instead aims to evaluate their use as raw materials in bio-lubricant production [37,41,45].
The produced oleochemical esters were submitted to a series of experimental tests with the goal of evaluating them with regard to their fluidity, oxidation stability and pour point, as bio-lubricants and renewable substitutes for the SN-150 and SN-500 Group I base oils. Also, mixtures of the TMP esters with the above-mentioned mineral oils that were formed were evaluated as final lubricant oils as well.
To begin with, the values of the density, pour point, kinematic viscosity at 40 °C and 100 °C and viscosity index of the TMP esters were quite similar. In detail, the values of these properties lay in the ranges of 0.90–0.93 g/cm3, 33–47 cSt, 7.70–9.50 cSt, and και 193–220, respectively. The differences in the physicochemical properties between the esters synthesized from various vegetable oils are a direct result of the different properties of the respective base oils, which reflects their fatty acid profile [8,29,30,37].
According to these results, the produced esters exhibit high viscosity index values. Generally, a higher viscosity index is a sought-after trait in lubricants, especially in the case of elastohydrodynamic lubrication [30], as it prohibits the drastic reduction of viscosity that is typical at higher temperatures.
Additionally, the TMP esters possess satisfying characteristics at low temperatures, as is shown by the cloud and pour point tests.
These properties represent the temperature at which the lubricant begins to form cloudiness or precipitates, indicating the formation of crystalline solids, and the lowest temperature at which the bio-lubricant maintains its ability to flow, respectively. It is vastly desired to keep a low value, as that guarantees the pumpability and reliability of the oil at cold starts [8]. The lower pour point of the corn oil and cottonseed oil esters (−12 °C) is a result of their high content of unsaturated fatty acid methyl esters (methyl linoleate ~53% m/m and ~55% m/m, respectively), as shown in Table 5 [8,14,30,46,47,48]. Similar is the result of the comparison of the bio-lubricants regarding their cloud points. Finally, the acid value and water content range within 0.14–0.21 mg KOH/g and 54–67 ppm, respectively. It is desirable that both of these properties should have low values so that the corrosiveness and the possibility of hydrolysis of the esters to the respective acids may remain low [8,30].
Moreover, bio-lubricants appear to have low volatility as they have shown high flash points. A higher flash point means that the bio-lubricant requires a higher temperature to vaporize and form an ignitable mixture with air. This reduces the risk of spontaneous combustion or fire under normal operating conditions or in environments where the lubricant is exposed to high temperatures, such as in industrial machinery, automotive engines, or marine systems, making the lubricant safer to handle, store, and use [49,50,51]. The flash point of TMP esters derived from vegetable oils falls in the range of 230–265 °C [11]. This is because the transesterification process typically results in large molecules with low volatility. TMP esters of oils high in monounsaturated fats (like POMO or HAVOO) have slightly higher flash points compared to those derived from polyunsaturated oils (like SUNO, CRNO, or CO), but the differences are generally minor [4,11,49,50,51].
With the exception of the viscosity index, all the properties that have been measured were upgraded when compared to those of the raw materials [8,47]. The VI remained relatively unaltered, and when compared to the increase in the kinematic viscosity at 40 °C and 100 °C and the simultaneous decrease in the pour point, that alteration can be regarded as of low interest. At the same time, a comparison of the properties of the bio-lubricants with those of the two mineral oils reveals the significant advantage that the bio-lubricants hold with regard to the VI [8,41,46], as well as the acid value and the flash point [11]. The bio-lubricants have a higher kinematic viscosity than the SN-150 mineral oil, except for the case of corn oil, but a higher pour point, whereas the inverse is the result of the comparison to the SN-500 mineral oil.
The produced mixtures (TMP- esters and mineral oils) showed similar values for the above properties as would be expected when having knowledge of the mixing ratios and the respective properties of the individual components. As such, the mixtures of TMP esters with the SN-150 mineral oil showed significantly improved acid values and pour and flash points in the ranges of 0.09–0.14 mg KOH/g, −15 to −11 °C and 217–234 °C, respectively. The inverse is true for the kinematic viscosity at 40 °C, which was reduced in the case of all the TMP esters except those of corn oil origin, as well as for the VI, which was reduced measurably in all of the mixtures to levels of 151–167.
From the study of these results, it can be concluded that the produced bio-lubricants can sufficiently substitute for the SN-150 mineral oil while also allowing for an improvement of the above physicochemical properties. In relation to the above, the mixtures of bio-lubricants with the SN-500 mineral oil showed a reduction in the acid value levels and an increase of the kinematic viscosity, but the VI and the flash and pour points were found to be poorer than the precursor bio-lubricants. These values were in the range of 0.01–0.11 mg KOH/g, 54–61 cSt (40 °C) και 8.40–8.90 cSt (100 °C), 229–232 °C, −9 to −7 °C and 122–135, respectively. The values of the kinematic viscosity for these mixtures show that the TMP esters are not capable of substituting for the SN-500 mineral oil, despite the improvement of the VI and the flash and pour points that was a result of their addition.
This improvement is expected as bio-lubricants consist of TMP esters, which means they are complex molecules made up of a polyol backbone and three fatty acid chains containing unsaturated bonds [4,11,49,50]. The three-dimensional structure, the unsaturation degree and the higher molecular weight of these molecules make them less prone to evaporation and freezing, which contributes to a higher flash point and lower pour points [49,50,51,52,53]. The bio-lubricants studied in this paper have long carbon chains (C16 to C22) in their fatty acids that substitute for each of the three hydroxyl groups of TMP, compared to the hydrocarbon chains typically found in Group I base oils (C18 to C40). These long carbon (mono- or polyunsaturated) chain triester molecules have stronger intermolecular forces, which contribute to the greater thermal stability (ergo higher VI values), higher flash points and similar pour points, as was proved by the comparison of the respective values in Table 6 and Table 7 [4,50,51].
It should be added that the examination of the potential corrosive behavior of the bio-lubricants and their blends with mineral oils ensured that these lubricants are compatible with the equipment based on the measurement of the copper strip corrosion, an indication that on the basis of this test, safe and effective protection of the equipment is expected. These results guarantee that bio-lubricants fulfill their promise of being a sustainable, non-corrosive, and efficient alternative to traditional oils and greases [7,8].
The evaluation of the oxidation stability of the trimethylolpropane esters was conducted in a PetrΟxy device according to the ASTM D7545 standard method [30,41]. Based on the results of this procedure, the oleochemical esters can be sorted into the following order of increasing oxidation stability: COTMPE < CRNTMPE < UFOTMPE < SUNTMPE < POMTMPE < HAVOOTMPE. The above sorting can be considered to be as expected and to be justified by observing the composition of the fatty acid methyl esters that were the raw material of the second production stage [8,30,37,41].
It is observed that the cottonseed oil trimethylolpropane esters possess the lowest oxidation stability and are derived from the raw material with the highest concentration of unsaturated esters (concentration of 54.8% and 0.6% w/w for methyl esters from linoleic and linolenic acid). In contrast, the TMP esters derived from HAVO oil, which possess the highest oxidation stability, are derived from the raw material with the highest saturated or monounsaturated content (content of 75.0%, 11.6% and 3.1% w/w from methyl oleate, palmitate and stearate, respectively) [15,41,47].
In the cases of the other vegetable oils, the oxidation stability possesses similar values. At this point, it is worth mentioning that in the event of an inefficient separation of the catalyst from the final mixture product during centrifugation, where the catalyst may be found in the final product, it will cause an acceleration of the oxidation reactions due to its acting as an active catalytic center for the oxidation of the bio-lubricant in the places of the unsaturated bonds [30,41]. This phenomenon was not observed in any of the tested samples, as all of them showed results similar to the literature [30,41].
The oxidation stability of both of the mineral oils was tested with the same method and was found, as expected, to be much higher than that of the bio-lubricants [15,46,47,54]. Therefore, the synthetic oleochemical esters that were derived from the vegetable oils, while being capable of substituting for these mineral oils in many applications, are restricted due to their poor oxidation stability. Even in the case of the mixtures of bio-lubricants with mineral oils, the oxidation stability increased significantly but was still measurably lower than that of the mineral oils [30,41,46,47,48,49].
Nonetheless, oils such as corn oil, cottonseed oil and sunflower oil can be used to produce bio-lubricants with remarkable quality parameters. Simultaneously, raw material such as olive pomace oil and high acid value olive oil stand above other oils from the Greek national market due to the combination of these properties with a high concentration of oleic acid and, therefore, high oxidation stability (compared to edible vegetable oils) [55]. The fact that all of these oils are edible makes the efficient cultivation of these plants for industrial use critical. Lastly, used frying oils can also be used as raw materials for the production of bio-lubricants with similar properties to even those of olive pomace oil. However, their unstable composition due to them being catering business or household waste may inhibit their utilization for large-scale industrial use.

5. Conclusions

This paper focuses on the evaluation of the trimethylolpropane esters produced by a two-step transesterification process as bio-lubricants and renewable substitutes for conventional base lubricating oils. The exploitation of raw materials derived from crops of high significance for the Greek national agricultural market, such as corn oil, cottonseed oil, sunflower oil and olive pomace oil, was emphasized for the production of high-value-added products, such as these bio-lubricants.
From the experimental study of all the synthetic oleochemical trimethylolpropane esters and their mixtures with mineral oils that were produced, the following can be concluded:
  • They show remarkable operational parameters, such as kinematic viscosities and low pour points, in the ranges of 33–47 cSt (40 °C)/7.70–9.51 cSt (100 °C) and −12 to −9 °C, respectively, which are similar or improved in comparison to those of the mineral oils, ensuring the good fluidity and pumpability of the bio-lubricant at high and low temperatures.
  • They have an exceptionally higher viscosity index and flash point than the mineral oils, which indicates their significant thermal stability and capability of being utilized at a wide range of temperatures.
  • They entirely present non-corrosive behavior compatibility, as was found by the measurement of the copper strip corrosion test.
  • The highest value of oxidation stability was shown by the HAVO oil that had the greatest saturated/monounsaturated content, whereas the lowest was showed by the oil with the greatest degree of unsaturation, the cottonseed oil.
  • The resistance to oxidation of any bio-lubricant was significantly lower than that of each of the mineral oils, restricting their utilization to special applications of non-recoverable or high-risk lubrication but of low heat load and oxidation potential or in mixtures with traditional mineral oils.

Author Contributions

Conceptualization, G.A. and D.F.; methodology, G.A.; experimental work, D.F. and G.A.; data analysis, D.F. and G.A.; resources, D.K.; writing—original draft preparation, D.F. and G.A.; writing—review and editing, D.K. All authors have read and agreed to the published version of the manuscript.

Funding

This research received no external funding.

Data Availability Statement

The original contributions presented in the study are included in the article, further inquiries can be directed to the corresponding author.

Conflicts of Interest

The authors declare no conflict of interest.

References

  1. Kurre, S.K.; Yadav, J. A review on bio-based feedstock, synthesis, and chemical modification to enhance tribological properties of biolubricants. Ind. Crops Prod. 2023, 193, 116122. [Google Scholar] [CrossRef]
  2. Monteiro, R.R.C.; Berenguer-Murcia, Á.; Rocha-Martin, J.; Vieira, R.S.; Fernandez-Lafuente, R. Biocatalytic production of biolubricants: Strategies, problems and future trends. Biotechnol. Adv. 2023, 68, 108215. [Google Scholar] [CrossRef]
  3. Brêda, G.C.; Aguieiras, E.C.G.; Cipolatti, E.P.; Greco-Duarte, J.; de Collaço, A.C.A.; Costa Cavalcanti, E.D.; de Castro, A.M.; Freire, D.M.G. Current approaches to use oil crops by-products for biodiesel and biolubricant production: Focus on biocatalysis. Bioresour. Technol. Rep. 2022, 18, 101030. [Google Scholar] [CrossRef]
  4. Nogales-Delgado, S.; Encinar, J.M.; González, J.F. A Review on Biolubricants Based on Vegetable Oils through Transesterification and the Role of Catalysts: Current Status and Future Trends. Catalysts 2023, 13, 3091299. [Google Scholar] [CrossRef]
  5. Ijaz Malik, M.A.; Kalam, M.A.; Mujtaba, M.A.; Almomani, F. A review of recent advances in the synthesis of environmentally friendly, sustainable, and nontoxic bio-lubricants: Recommendations for the future implementations. Environ. Technol. Innov. 2023, 32, 103366. [Google Scholar] [CrossRef]
  6. Fava, F.; Gardossi, L.; Brigidi, P.; Morone, P.; Carosi, D.A.R.; Lenzi, A. The bioeconomy in Italy and the new national strategy for a more competitive and sustainable country. New Biotechnol. 2021, 61, 124–136. [Google Scholar] [CrossRef]
  7. Narayana Sarma, R.; Vinu, R. Current Status and Future Prospects of Biolubricants: Properties and Applications. Lubricants 2022, 10, 70. [Google Scholar] [CrossRef]
  8. Cecilia, J.A.; Plata, D.B.; Saboya, R.M.A.; de Luna, F.M.T.; Cavalcante, C.L.; Rodríguez-Castellón, E. An overview of the biolubricant production process: Challenges and future perspectives. Processes 2020, 8, 257. [Google Scholar] [CrossRef]
  9. Barbera, E.; Hirayama, K.; Maglinao, R.L.; Davis, R.W.; Kumar, S. Recent developments in synthesizing biolubricants—A review. Biomass Convers. Biorefinery 2024, 14, 2867–2887. [Google Scholar] [CrossRef]
  10. Salih, N.; Salimon, J. A review on eco-friendly green biolubricants from renewable and sustainable plant oil sources. Biointerface Res. Appl. Chem. 2021, 11, 13303–13327. [Google Scholar] [CrossRef]
  11. Encinar, J.M.; Nogales-Delgado, S.; Sánchez, N.; González, J.F. Biolubricants from rapeseed and castor oil transesterification by using titanium isopropoxide as a catalyst: Production and characterization. Catalysts 2020, 10, 366. [Google Scholar] [CrossRef]
  12. Khan, S.; Das, P.; Quadir, M.A.; Thaher, M.; Annamalai, S.N.; Mahata, C.; Hawari, A.H.; al Jabri, H. A comparative physicochemical property assessment and techno-economic analysis of biolubricants produced using chemical modification and additive-based routes. Sci. Total Environ. 2022, 847, 157648. [Google Scholar] [CrossRef] [PubMed]
  13. Encinar, J.M.; Nogales-Delgado, S.; Pinilla, A. Biolubricant production through double transesterification: Reactor design for the implementation of a biorefinery based on rapeseed. Processes 2021, 9, 1224. [Google Scholar] [CrossRef]
  14. Schinas, P.; Karavalakis, G.; Davaris, C.; Anastopoulos, G.; Karonis, D.; Zannikos, F.; Stournas, S.; Lois, E. Pumpkin (Cucurbita pepo L.) seed oil as an alternative feedstock for the production of biodiesel in Greece. Biomass Bioenergy 2009, 33, 44–49. [Google Scholar] [CrossRef]
  15. Panchal, T.M.; Patel, A.; Chauhan, D.D.; Thomas, M.; Patel, J.V. A methodological review on bio-lubricants from vegetable oil based resources. Renew. Sustain. Energy Rev. 2017, 70, 65–70. [Google Scholar] [CrossRef]
  16. Abdulkhani, A.; Alizadeh, P.; Hedjazi, S.; Hamzeh, Y. Potential of Soya as a raw material for a whole crop biorefinery. Renew. Sustain. Energy Rev. 2017, 75, 1269–1280. [Google Scholar] [CrossRef]
  17. Moncada, B.J.; Aristizábal, M.V.; Cardona, A.C.A. Design strategies for sustainable biorefineries. Biochem. Eng. J. 2016, 116, 122–134. [Google Scholar] [CrossRef]
  18. ASTM D7042:2020; Standard Guide for Properties of Diesel Fuels. ASTM International: West Conshohocken, PA, USA, 2020.
  19. ASTM D2270:2020; Standard Practice for Calculating Viscosity Index of Petroleum Oils. ASTM International: West Conshohocken, PA, USA, 2020.
  20. EN ISO 12937:2000; Petroleum Products—Determination of Water—Karl Fischer Method. International Organization for Standardization (ISO): Geneva, Switzerland, 2000.
  21. EN 14104:2011; Fat and Oil Derivatives—Fatty Acid Methyl Esters (FAME)—Determination of Acid Value. European Committee for Standardization (CEN): Brussels, Belgium, 2011.
  22. ASTM D97:2020; Standard Test Method for Pour Point of Petroleum Products. ASTM International: West Conshohocken, PA, USA, 2020.
  23. ASTM D7545:2020; Standard Test Method for Determination of Low-Temperature Flow Properties of Diesel Fuels. ASTM International: West Conshohocken, PA, USA, 2020.
  24. Chai, M.; Tu, Q.; Lu, M.; Yang, Y.J. Esterification pretreatment of free fatty acid in biodiesel production, from laboratory to industry. Fuel Process. Technol. 2014, 125, 106–113. [Google Scholar] [CrossRef]
  25. Berrios, M.; Siles, J.; Martin, M.; Martin, A. A kinetic study of the esterification of free fatty acids (FFA) in sunflower oil. Fuel 2007, 86, 2383–2388. [Google Scholar] [CrossRef]
  26. Canakci, M.; van Gerpen, J. Biodiesel production from oils and fats with high free fatty acids. Trans. ASAE 2001, 44, 1429–1436. [Google Scholar] [CrossRef]
  27. Gerpen, J.; van Shanks, B.; Pruszko, R.; Clements, D.; Knothe, G. Biodiesel Production Technology: August 2002–January 2004. National Renewable Energy Laboratory, 1617 Cole Boulevard, Golden, Colorado 80401-3393, Contract No. DE-AC36-99-GO10337. 2004. Available online: https://www.nrel.gov/docs/fy04osti/36244.pdf (accessed on 12 September 2024).
  28. Ding, J.; Xia, Z.; Lu, J. Esterification and Deacidification of a Waste Cooking Oil (TAN 68.81 mg KOH/g) for Biodiesel Production. Energies 2012, 5, 2683–2691. [Google Scholar] [CrossRef]
  29. Encinar, J.M.; Nogales, S.; González, J.F. Biodiesel and biolubricant production from different vegetable oils through transesterification. Eng. Rep. 2020, 2, e12190. [Google Scholar] [CrossRef]
  30. Dodos, G.S.; Anastopoulos, G.; Zannikos, F. Production of Biobased Lubricant Basestocks with Improved Performance; SAE Technical Paper 2012-01-1620; SAE: Warrendale, PA, USA, 2012. [Google Scholar] [CrossRef]
  31. Schuchardt, U.; Sercheli, R.; Vargas, R.M. Transesterification of Vegetable Oils: A Review. J. Braz. Chem. Soc. 1998, 9, 199–210. [Google Scholar] [CrossRef]
  32. Anastopoulos, G.; Dodos, G.S.; Kalligeros, S.; Zannikos, F. Methanolysis of sunflower oil and used frying oil using LiNO3/CaO as a solid base catalyst. Int. J. Ambient Energy 2013, 34, 73–82. [Google Scholar] [CrossRef]
  33. DIN EN 14214:2019; Liquid Petroleum Products—Fatty Acid Methyl Esters (FAME) for Use in Biodiesel Engines and Heating Applications–Requirements and Test Methods (Includes Amendment: 2019). Deutsche Institut für Normung e.V. (DIN): Berlin, Germany, 2019.
  34. Gryglewicz, S.; Piechocki, W.; Gryglewicz, G. Preparation of polyol esters based on vegetable and animal fats. Bioresour. Technol. 2003, 87, 35–39. [Google Scholar] [CrossRef]
  35. Dodos, G.S.; Karonis, D.; Zannikos, F.; Lois, E. Renewable fuels and lubricants from Lunaria annua L. Ind. Crops Prod. 2015, 75, 43–50. [Google Scholar] [CrossRef]
  36. Dodos, G.S.; Anastopoulos, G.; Zannikos, F. Tribological Evaluation of Biobased Lubricant Basestocks from Cottonseed and Soybean Oils. SAE Int. J. Fuels Lubr. 2010, 3, 378–385. [Google Scholar] [CrossRef]
  37. Nogales-Delgado, S.; Encinar, J.M.; González Cortés, Á. High oleic safflower oil as a feedstock for stable biodiesel and biolubricant production. Ind. Crops Prod. 2021, 170, 113701. [Google Scholar] [CrossRef]
  38. EN ISO 12185:1996; Petroleum Products—Determination of Density—Oscillating U-tube Method. International Organization for Standardization (ISO): Geneva, Switzerland, 1996.
  39. EN ISO 3104:2017; Petroleum Products—Transparent and Opaque Liquids—Determination of Kinematic Viscosity and Calculation of Dynamic Viscosity. International Organization for Standardization (ISO): Geneva, Switzerland, 2017.
  40. EN 14103:2011; Fat and Oil Derivatives—Fatty Acid Methyl Esters (FAME)—Determination of Ester Content and Ester Distribution. European Committee for Standardization (CEN): Brussels, Belgium, 2011.
  41. Dodos, G.S.; Anastopoulos, G.; Zannikos, F.; Lois, E. Oxidation Stability Study of Biobased Lubricant Basestocks; SAE Technical Paper 2015-01-2046; SAE: Warrendale, PA, USA, 2015. [Google Scholar] [CrossRef]
  42. ASTM D2500:2020; Standard Test Method for Cloud Point of Petroleum Products. ASTM International: West Conshohocken, PA, USA, 2020.
  43. ASTM D92:2020; Standard Test Method for Flash and Fire Points by Cleveland Open Cup. ASTM International: West Conshohocken, PA, USA, 2020.
  44. ASTM D130:2020; Standard Test Method for Detection of Copper Corrosion from Petroleum Products by the Copper Strip Test. ASTM International: West Conshohocken, PA, USA, 2020.
  45. Encinar, J.M.; Nogales-Delgado, S.; Álvez-Medina, C.M. High oleic safflower biolubricant through double transesterification with methanol and pentaerythritol: Production, characterization, and antioxidant addition. Arab. J. Chem. 2022, 15, 103796. [Google Scholar] [CrossRef]
  46. Mobarak, H.M.; Niza Mohamad, E.; Masjuki, H.H.; Kalam, M.A.; al Mahmud, K.A.H.; Habibullah, M.; Ashraful, A.M. The prospects of biolubricants as alternatives in automotive applications. Renew. Sustain. Energy Rev. 2014, 33, 34–43. [Google Scholar] [CrossRef]
  47. Salimon, J.; Salih, N.; Yousif, E. Biolubricants: Raw materials, chemical modifications and environmental benefits. Eur. J. Lipid Sci. Technol. 2010, 112, 519–530. [Google Scholar] [CrossRef]
  48. Agarwal, M.; Maheshwari, K.; Pal, N. Synthesis of bio-based lubricants. In Multifunctional Bio-Based Lubricants: Synthesis, Properties and Applications; Institute of Physics Publishing: Bristol, UK, 2023; ISBN 978-0-7503-3435-8. [Google Scholar] [CrossRef]
  49. Salimon, J.; Abdullah, B.M.; Yusop, R.M.; Salih, N. Synthesis, reactivity and application studies for different biolubricants. Chem. Cent. J. 2014, 8, 16. [Google Scholar] [CrossRef] [PubMed]
  50. Nor, N.M.; Derawi, D. Esterification and Evaluation of Palm Oil as Biolubricant Base Stock. Malays. J. Chem. 2019, 21, 28–35. [Google Scholar]
  51. Xie, Q.; Zhu, H.; Xu, P.; Xing, K.; Yu, S.; Liang, X.; Ji, W.; Nie, Y.; Ji, J. Transesterification of methyl oleate for sustainable production of biolubricant: Process optimization and kinetic study. Ind. Crops Prod. 2022, 182, 114879. [Google Scholar] [CrossRef]
  52. McNutt, J.; He, Q.S. Development of biolubricants from vegetable oils via chemical modification. J. Ind. Eng. Chem. 2016, 36, 1–12. [Google Scholar] [CrossRef]
  53. Pendbhaje, G.S.; Ali, M.; Bajaj, D. Development and Performance Evaluation of Vegetable Oils as Bio-Lubricant: A Review. Int. J. Eng. Trends Technol. 2024, 72, 160–173. [Google Scholar] [CrossRef]
  54. Fox, N.J.; Stachowiak, G.W. Vegetable oil-based lubricants—A review of oxidation. Tribol. Int. 2007, 40, 1035–1046. [Google Scholar] [CrossRef]
  55. Paschalidou, A.; Tsatiris, M.; Kitikidou, K. Energy crops for biofuel production or for food?—SWOT analysis (case study: Greece). Renew. Energy 2016, 93, 636–647. [Google Scholar] [CrossRef]
Figure 1. Acid-catalyzed esterification reaction of free fatty acids.
Figure 1. Acid-catalyzed esterification reaction of free fatty acids.
Lubricants 12 00446 g001
Figure 2. Simplified flow diagram of the production process for bio-lubricants (TMP esters).
Figure 2. Simplified flow diagram of the production process for bio-lubricants (TMP esters).
Lubricants 12 00446 g002
Figure 3. Conversion of the triglycerides of vegetable oils into the methyl esters of fatty acids.
Figure 3. Conversion of the triglycerides of vegetable oils into the methyl esters of fatty acids.
Lubricants 12 00446 g003
Figure 4. Reactions: (1) hydrolysis of triglycerides, and (2) saponification of free fatty acids.
Figure 4. Reactions: (1) hydrolysis of triglycerides, and (2) saponification of free fatty acids.
Lubricants 12 00446 g004
Figure 5. Conversion of fatty acid methyl esters (FAMEs) into TMP esters.
Figure 5. Conversion of fatty acid methyl esters (FAMEs) into TMP esters.
Lubricants 12 00446 g005
Table 1. Physicochemical properties of the utilized vegetable oils.
Table 1. Physicochemical properties of the utilized vegetable oils.
PropertyUnitsCRNOCOSUNOPOMOHAVOOUFOStandard Method
Density (15 °C)g/cm30.90620.90570.90670.90090.91560.9059ASTM D7042 [18]
Viscosity (40 °C)mm2/s32.8634.2832.5339.6137.9938.11ASTM D7042 [18]
Viscosity (100 °C)mm2/s7.7137.9187.6858.4938.1188.391
Viscosity Index (VI)-216213219200195206ASTM D2270 [19]
Water Contentmg/kg880.0718.0874.81054763.7907.8EN ISO 12937 [20]
Acid Value (AV)mg KOH/g4.130.403.480.7210.765.72EN 14104 [21]
Pour Point°C−9−10−10−7−8−9ASTM D97 [22]
Oxidation Stability (RSSOT 140 °C, 700 kPa)min9.649.2711.0815.9121.5510.63ASTM D7545 [23]
Table 2. Yields of the acid esterification reactions for high initial acid value oils.
Table 2. Yields of the acid esterification reactions for high initial acid value oils.
Corn Oil
(CRNO)
Sunflower Oil
(SUNO)
High AV Olive Oil
(HAVOO)
Used Frying Oil
(UFO)
AVIN4.133.4810.765.72
AVFIN0.410.350.910.33
Yield90.07%89.94%91.54%94.23%
Table 3. Physicochemical properties of the fatty acid methyl esters.
Table 3. Physicochemical properties of the fatty acid methyl esters.
PropertyUnitsCRMECOMESUNMEPOMEHAVOOMEUFOMEStandard Method
Density (15 °C)g/cm30.88030.88390.87670.87960.87920.8788EN ISO 12185 [38]
Viscosity (40 °C)mm2/s4.4134.2774.3234.6934.5754.412EN ISO 3104 [39]
Water contentmg/kg250.4286.7104.0239.8235.2104.0EN ISO 12937 [20]
Acid value (AV)mg KOH/g0.270.150.170.190.440.33EN 14104 [21]
Ester contentm/m96.8%97.8%97.3%98.2%97.1%96.6%EN 14103 [40]
Linolenic acid ester contentm/m1.3%0.9%0.4%1.3%1.3%1.3%EN 14104 [21]
Table 4. Composition of the methyl esters (in w/w contents) from the 1st production stage.
Table 4. Composition of the methyl esters (in w/w contents) from the 1st production stage.
Fatty AcidMolecular Formula CRNOCOSUNOPOMOHAVOOUFO
CaproicCH3(CH2)4COOCH3C6:00.1%0.0%0.0%0.3%0.0%0.1%
CaprylicCH3(CH2)6COOCH3C8:00.0%0.0%0.0%0.0%0.0%0.0%
CapricCH3(CH2)8COOCH3C10:00.0%0.0%0.0%0.0%0.0%0.0%
LauricCH3(CH2)10COOCH3C12:00.0%0.2%0.0%0.0%0.0%0.0%
MyristicCH3(CH2)12COOCH3C14:00.0%0.8%0.1%0.0%0.0%0.3%
MyristoleicCH3(CH2)3CH=CH(CH2)7CO2CH3C14:10.0%0.0%0.0%0.0%0.0%10.8%
PalmiticCH3(CH2)14COOCH3C16:012.0%22.2%6.8%13.1%11.6%0.9%
PalmitoleicCH3(CH2)5CH=CH(CH2)7CO2CH3C16:10.1%0.5%0.1%0.7%0.9%0.0%
MargaricCH3(CH2)15COOCH3C 17:00.0%0.0%0.0%0.0%0.0%0.0%
StearicCH3(CH2)16COOCH3C18:01.7%2.4%3.5%2.7%3.1%4.2%
OleicCH3(CH2)7CH=CH(CH2)7CO2CH3C18:131.5%17.9%30.3%68.5%75.0%47.2%
LinoleicCH3(CH2)4CH=CHCH2CH=CH- (CH2)7CO2 CH3C18:252.8%54.8%57.6%12.4%7.8%33.9%
LinolenicCH3(CH2CH=CH)3(CH2)7CO2CH3C18:31.3%0.5%0.4%1.3%0.6%1.3%
ArachidicCH3(CH2)18COO CH3C20:00.0%0.3%0.2%0.0%0.0%0.1%
EicosenoicCH3(CH2)7CH=CH(CH2)9CO2CH3C20:10.3%0.0%0.0%0.5%0.4%0.5%
BehenicC21H43COOCH3C22:00.1%0.2%0.7%0.2%0.1%0.5%
ErucicCH3(CH2)7CH=CH(CH2)11CO2CH3C22:10.0%0.0%0.3%0.0%0.0%0.1%
LignocericC23H47COO CH3C24:00.2%0.3%0.0%0.3%0.5%0.2%
Table 5. Properties of olive pomace oil TMP esters using CH3ONa as a catalyst at various concentration values.
Table 5. Properties of olive pomace oil TMP esters using CH3ONa as a catalyst at various concentration values.
PropertyUnit1.0% m/m1.5% m/m2.0% m/m2.5% m/m3.0% m/mStandard Method
Pour Point°C−11−10−9−9−9ASTM D97 [22]
Viscosity (40 °C)mm2/s39.2440.7043.6742.5341.98ASTM D7042 [18]
Viscosity (100 °C)8.4938.7139.1068.9118.864
Viscosity Index-202201197197198ASTM D2270 [19]
Oxidation Stability (RSSOT 140 °C, 700 kPa)min28.4731.5537.3835.4132.11ASTM D7545 [23]
Reaction Timeh119.08.07.57.5-
Disclaimer/Publisher’s Note: The statements, opinions and data contained in all publications are solely those of the individual author(s) and contributor(s) and not of MDPI and/or the editor(s). MDPI and/or the editor(s) disclaim responsibility for any injury to people or property resulting from any ideas, methods, instructions or products referred to in the content.

Share and Cite

MDPI and ACS Style

Filon, D.; Anastopoulos, G.; Karonis, D. Synthesis and Evaluation of Bio-Lubricants from Renewable Raw Materials. Lubricants 2024, 12, 446. https://doi.org/10.3390/lubricants12120446

AMA Style

Filon D, Anastopoulos G, Karonis D. Synthesis and Evaluation of Bio-Lubricants from Renewable Raw Materials. Lubricants. 2024; 12(12):446. https://doi.org/10.3390/lubricants12120446

Chicago/Turabian Style

Filon, Dimosthenis, George Anastopoulos, and Dimitrios Karonis. 2024. "Synthesis and Evaluation of Bio-Lubricants from Renewable Raw Materials" Lubricants 12, no. 12: 446. https://doi.org/10.3390/lubricants12120446

APA Style

Filon, D., Anastopoulos, G., & Karonis, D. (2024). Synthesis and Evaluation of Bio-Lubricants from Renewable Raw Materials. Lubricants, 12(12), 446. https://doi.org/10.3390/lubricants12120446

Note that from the first issue of 2016, this journal uses article numbers instead of page numbers. See further details here.

Article Metrics

Back to TopTop