Abstract
This paper provides experimental data on the effective use of a new lubricating composition, which includes industrial oil of any brand with the addition of a nanometal of the component of a friction pair, which has a lower hardness. It is shown that this composition significantly reduces the wear resistance of the rails and wheels of rolling stock during operation, prevents electrochemical corrosion of the friction pair wheel–rail and, most importantly, stabilizes the coefficient of friction at the optimum level after a relatively short operating time. The experiments were performed on the friction pair, “sample of the bandage material of the railway wheel—a sample of the rail material”, with a ratio of hardness of the bandage material (Rockwell hardness, HRC scale—35.3) to the hardness of the rail material of 1.1. Test results show that in the case of industrial lubricant, the BioRail brand, with the addition of a nanomaterial friction pair with lower wear hardness of the rail metal sample, after three hours in operation the wear was practically not observed. Moreover, the average value of the friction coefficient for three hours of operation was maintained at the level 0.25, which is optimal for the friction pair wheel–rail. Similar experiments using only the same lubricant brand showed much worse results.
1. Introduction
One of the current problems in modern engineering and transport is the development and implementation of resource-saving technologies. Concerning railway transport, the important task is to find ways to increase the wear resistance at the side faces of the rails in the curved track sections and wheel ridges of the rolling stock. The wear resistance process of these elements is quite complex and its intensity does not only depend on the nature of the mechanical interaction of the wheel with the rail, which is determined by the shape of the contact parts, speed, features of the railway track and rolling stock, etc. This process is influenced by some other factors, sometimes difficult to formalize—the presence of moisture, dust, oil stains, local geometric irregularities of the rail, etc. Therefore, the possibilities of theoretical solutions to this problem, for example, by the mathematical modelling of the contact interaction of rails with wheels, are quite limited. In addition, changing the design of the track and rolling stock requires a fairly large capital investment, so today the priority for solving the problem of increasing wear resistance is the lubrication of rails and wheels [1,2]. Lubricants and compositions, in this case, are one of the effective ways to increase the wear resistance of heavy-duty friction pairs.
Lubricants used for this matter must meet definite requirements, the main of which are: high efficiency of lubrication on the contact surface, simple application and the ability to stay in the friction zone for some time, high resistance to contact load, prevention of electrochemical metal corrosion, ensuring an optimal value friction coefficient and its stability in the operation process, fire safety and minimal impact on the environment, availability and reasonable cost [3].
Lubricating compositions currently used in Ukraine and around the world do not fully meet these requirements. Therefore, the development of new lubricants to increase the wear resistance of heavy-duty friction pairs is given much attention, as evidenced by a large number of scientific publications and patents for inventions on the issue. The efforts of scientists for many years have been aimed at establishing the patterns of physical phenomena occurring in the surface layers of friction pairs, in particular, of metallic materials. Under conditions of friction in the surface layers of contacting parts, dislocations appear and move; new structures, which are associated with grinding of crystallites and change of grain orientation according to the directions of forces, are created and self-organize; definite textures appear and strength and hardness of structural components are changed. These processes significantly depend on the material compatibility of the friction pair. The usage of lubricants in the friction zone can radically change the nature and intensity of these processes, making it possible to control the flow using lubricants in different chemical compositions, consistency, various additives to lubricants, etc.
The greatest expectation in this direction is connected to the use of the quality of nanomaterials and nanofunctional additives with abnormally high dispersion (1 … 200 nm) and a developed specific surface area (up to 600 m2/g). Numerous scientific studies demonstrate that ultradispersed materials, which consist of ultrasmall morphological elements—crystals, grains, pores, dispersed inclusions, being in a thermodynamical no-equilibrium state—have the unique physical properties to be unattainable for traditional materials. In particular, the mechanical properties of nanosized powders are very different from the properties of massive materials of similar chemical composition. Due to the absence of long-term structural defects (dislocations, microcracks or microcavities), the high hardness of nanomaterials is combined with high plasticity [4].
Regarding the influence mechanism of ultradispersed materials on the wear resistance at friction pairs of metallic materials, the classic explanation is the occurrence of active nucleation centres and the development of specific nanocrystalline structures in the form of a microcoating on the defects of friction surfaces, and this process is controlled by energy released during friction [5,6,7,8]. As a result, a specific coating (so-called servovite film or tribofilm, which consist mainly of particles of ultrafine material) appears on the contact surface. The servovite film itself is quite porous, so the lubricant is retained in the pores. The contact surfaces of the parts have a certain relief and the actual contact occurs in a relatively small area, even with the deformation of the surface layers. The servovite film increases the actual contact area of the parts by ten times and significantly reduces the level of contact stresses. This film protects the friction surface from wear resistance and under certain conditions implements the selective transfer mechanism of metal particles from the lubricant layer on the friction pair’s surface [9], thereby increasing the durability due to the so-called repair and recovery effect. In the case of steel parts, such a film can be formed using lubricants whose molecules include attached low-hardness metal atoms—copper, tin, lead, zinc, aluminium, silver, gold and others. Therefore, fatty acid salts or complex compounds of polyvalent metals are most often used to transfer metallic nanomaterials into the lubricating composition [10,11,12,13].
However, the attention of researchers is attracted by other, technologically simpler ways to create metal-containing additives to lubricants—the direct use of metal nanopowders in different dispersions as additives. Moreover, not only nanopowders of the mentioned soft metals are used, but also compounds of chromium, nickel, iron, cobalt, etc.; superplastic alloys, such as Bi-PbSn, Pb-Sn, Zn-Sn or Pb-Sb-Sn; as well as nonmetallic materials of natural or of artificial origin (graphite, diamond, silicates, etc.) [14,15,16,17,18,19,20,21,22,23,24,25,26,27]. At present, many technologies for the industrial production of such powders have been developed, among which the most common are gas-phase synthesis, the electric explosion of conductors, cathodic sputtering and mechanical and ultrasonic dispersion. Depending on the chosen technology and equipment features, the size of material particles can differ by ten times; in addition, the hardness of such particles can exceed the hardness of materials at the friction pair. All these conditions significantly affect the processes in the contact area of the parts. The presence of solid micro- and nanosized particles in the contact zone does not lead to the appearance of a continuous servovite film but contributes to the intensification of plastic deformation at irregularities on the friction surfaces, which leads to finely divided (subgrain) structures in the surface layers of the part. The powder particles are strongly deformed, crushed and also become elements of the subgrain structure [28,29]. This structure provides increased strength characteristics of the material, including hardness, fracture toughness and crack resistance, thereby increasing the wear resistance at friction pairs. Of course, these processes depend on the compatibility of the materials at friction pairs, lubricants and nanopowders used as additives. Therefore, further research is needed to establish the general patterns of these physical phenomena.
This paper considers the results of experimental studies about the wear resistance of rail steel under conditions of dry friction and friction with lubrication of industrial lubricant and lubricant composition based on it.
2. Materials and Methods
To carry out experiments about wear resistance, a serial test unit 2070 SMT-1 (LLC “RSCIM: Testing machines”, Moscow, Russia) was used with equipment for automatic fixation of friction moment and force, for the temperature in the contact zone and wear resistance of samples, as well as for automated processing of additional experimental data. Experimental samples (Figure 1) were made of rail steel grade K74 with the following chemical composition of the main components: carbon—0.67%; silicon—0.32%; manganese—0.94%; phosphorus—%; sulfur—0.045%; iron—the base. This rail steel grade K74 is one of the main rail steels used in Ukraine in railway transport. Medium carbon steel St2 (carbon—0.09%; silicon—0.09%; manganese—0.25%; phosphorus—%; sulfur—0.05%; iron—the base) was used for producing the counterface.
Figure 1.
Scheme of the sample for research (all dimensions in mm).
Previously on samples of materials at friction pair wheel–rail, their hardness was determined. Hardness measurements (according to Rockwell, HPC scale) were performed with the portable hardness tester COMPUTESTSC manufactured by ERNST (Emdoor Group, Shenzhen, China) using a stand. The load on the diamond indenter in the form of a cone with an angle at the apex of 110° was 49 N. It has been established that the ratio of the hardness of the bandage material (Rockwell hardness, HRC scale—35.3) to the hardness of the rail material was 1.1. The amount of wear at the sample was determined using a complete noncontact inductive displacement sensor ZXE (OMRON Corporation, Kyoto, Japan) in the minimum cross-section of the sample.
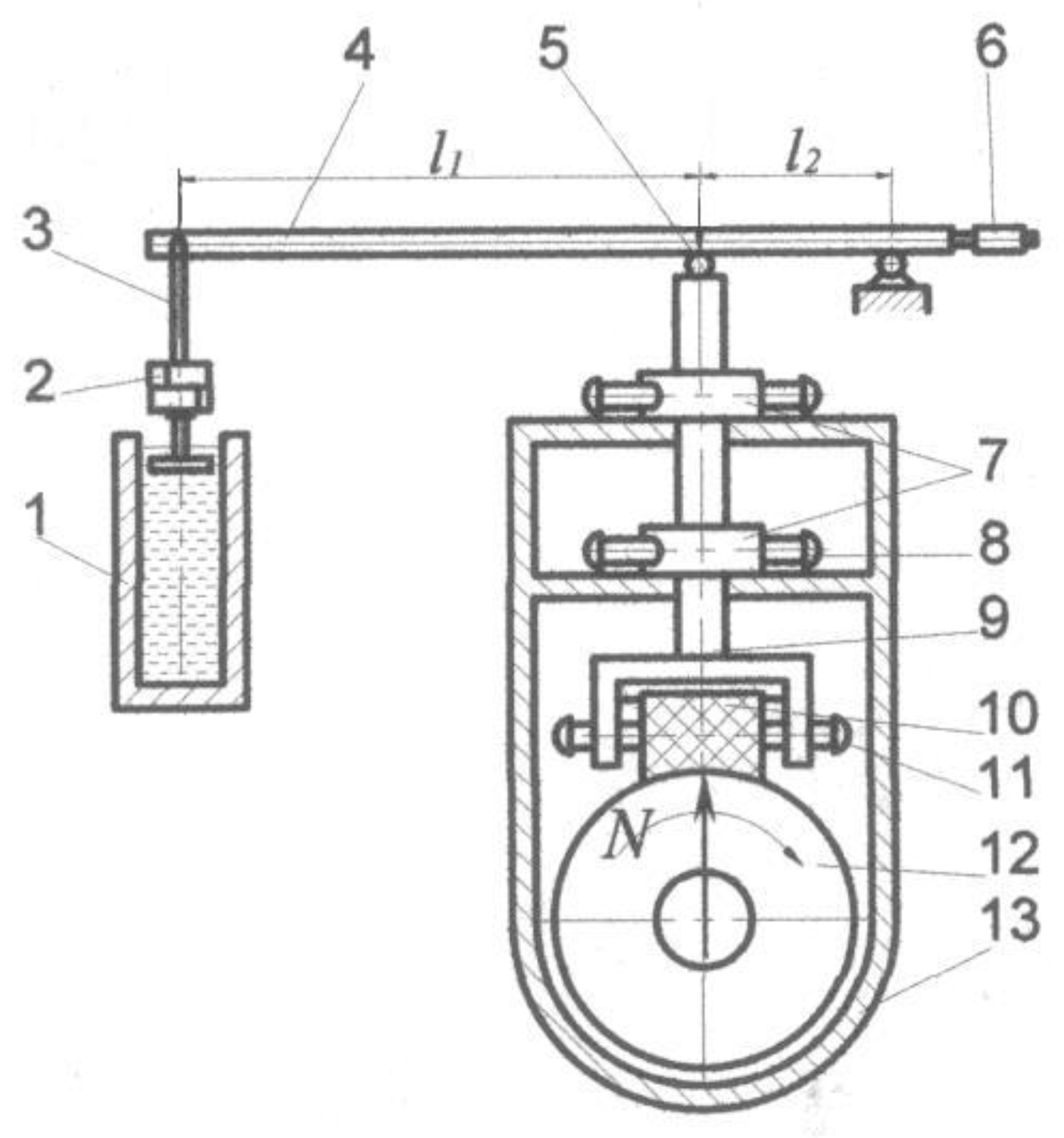
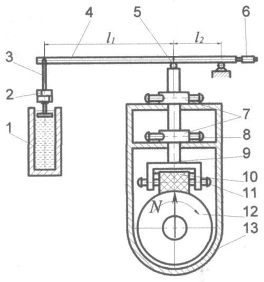
The scheme of loading of a sample at tests on friction and wear is shown on Figure 2.
Figure 2.
Scheme of sample loading during friction and wear tests: 1—damper; 2—burdens; 3—weightlifting rod; 4—lever; 5—ball; 6—balancing load; 7—centring rings; 8—adjusting screws; 9—rod holder; 10—sample; 11—fixing screws; 12—counter body; 13—test chamber.
The experiments were performed under the following conditions: speed of rotation—300 rpm; force normal pressure—555 N; continuous operation time—3 h.
The pressure in the contact zone of the friction bodies was determined by the formula: p = N/r·φ·b, where r is the radius of the counterbody, φ is the angle of contact of the sample surface with the counterbody, and b is the width of the sample. For the accepted samples, this indicator had the following value: p = 555(N)/196.25·(mm2) = 2.83 MPa.
The force of friction was determined by the magnitude of the friction moment, which was removed by a standard sensor Ff = 2Mf/d, where Mf is moment of friction and d is diameter of the counterbody. For the accepted sizes of contacting bodies, Ff = 2Mf/0.05 (N·m/m = N).
The coefficient of friction in this case was determined by the ratio: f = Ff/N. The wear resistance at the samples under friction conditions with lubrication was investigated; two test cases are given in Table 1.
Table 1.
Test cases of friction studied.
Currently, AIMOL BioRail [30] lubricant is used for lubrication of rails on some sections of the South-Western Railway of Ukraine and that is why it was chosen for the research.
Proposed by the authors in Patent [31], the lubricant additive effectively adds nanometallic component at the friction pair with less hardness. Therefore, to create a lubricating composition in the lubricant brand, nanopowder of steel K74, which has a lower hardness compared to steel 2, was added. Nanopowder of steel K74 was made by electroerosion dispersion of granules of additive material in 40% alcohol. Rail steel granules were made from mechanical processes (shavings) in the manufacture of steel K74 samples.
The suspension obtained in this way was kept in a fume hood until complete evaporation of the liquid. The dried nanopowder had a dispersion of 100–300 nm. The content of the additive in the lubricating composition was approximately 10 wt%.
Lubrication of the contact pair was carried out once by applying two drops of lubricant or lubricating composition on the contact surface of the sample.
3. Results
Figure 3 shows diagrams of rail steel wear resistance for the selected friction modes (see Table 1).
Figure 3.
Wear resistance diagrams of steel K74 samples.
Lubrication significantly reduces the wear rate of the rail steel sample; after three hours of friction, its size in the minimum cross-section changed by 0.08 mm. However, in the case of using the lubricating composition “BioRail lubricant + nanopowder of steel K74”, the wear of the sample was not recorded under the experiment condition.
According to many researchers, the effectiveness of traditional lubricants for high-load friction pairs of metallic materials (e.g., wheel–rail) is negligible because the expected effect of a significant increase in wear is achieved only if there is a significant reduction in the coefficient of friction. For wheel–rail friction pairs, the optimal values of the friction coefficient on the rolling surface at the railhead are in the range of 0.3–0.35 and on the side face of the railhead −0.2–0.25 [1]. We remind the reader that that the wear of the side working face of the rail on the curved sections at the railway track is the most painful problem for the railways of many countries. Therefore, this article considers how the value of the friction coefficient changes during the experiment depending on the test mode.
When lubricated with pure lubricant, it first decreases slightly from the initial value of 0.22 to 0.15 (due to heating of the sample and reducing the viscosity of the lubricant) and then gradually increases to 0.3 (Figure 4).
Figure 4.
Change in time of the friction coefficient for steel K74 samples.
The addition of K74 steel nanopowder to the lubricant contributes to the rapid stabilization of the value about the friction coefficient at the optimal level of 0.25, which confirms the possibility of using such an additive to increase the wear resistance of rails at the railway (Figure 4).
The data in Figure 3 and Figure 4 indicate that equal COF does not mean equal wear rate. In this case, we are dealing with the so-called repair and restoration effect. The friction coefficient is quite high, but the wear is minimal due to the healing of surface damage as a result of the deposition of new (nonhardened) particles from the same metal on it.
4. Discussion
To explain the results, a known method had been proposed to determine the degree of damage to the microstructure in the material of the surface layers by the parameters of scattering of the hardness values after testing [32]. Detailed information on the use of this method in problems of mechanics is given in [33,34]. The main parameter in the normative document is the value of in the Weibull distribution, which makes sense of the coefficient of material homogeneity. This value can be determined by Gumbel’s formula, which with Rockwell hardness numbers has the form:
where the value of is determined by the nomogram [29] depending on the number of measurements , is the value of hardness according to the measurement and is the average value of the hardness logarithm according to the results of measurements. According to the standard [29], the values of the homogeneity coefficient had been determined by the results of 30 measurements; in this case, . The accuracy of determining was ±0.05.
The physical reasoning of this method is as follows: the dispersion of mechanical properties is inherent in all materials, and the degree of their scattering depends mainly on their structural state. Therefore, the nature and degree of change in the structural state of the surface layers of the structural material as a result of the thermomechanical operation can be assessed by the parameters’ value of the distribution law, which describes the scattering of certain mechanical material properties (more specifically, hardness) [32,33].
The large value of the homogeneity coefficient corresponds to the low level of scattering of the hardness characteristics and, accordingly, the better organization of the microstructure at the surface layers of the material.
Since in our case the initial values of the homogeneity and average (30 measurements) coefficients differed for different samples slightly (because they were cut from different parts of the railhead), for further analysis, the results of the hardness measurements and calculations of the damage degree to the material structure were represented in relative values: and , where index 0 corresponds to the initial (conditionally undamaged) state of the material.
Measurements of hardness to determine the relative values of and were performed with a portable hardness tester COMPUTEST. The results of the analysis are given in Table 2.
Table 2.
Change in the average hardness of the working part of the sample and the homogeneity.
These data indicate that due to friction, the surface layers of the material are damaged and their hardness increases. The mode of friction significantly affects these processes. Under conditions of using the lubricating composition “BioRail lubricant”, the degree of damage to the material is estimated to be the largest change in the homogeneity coefficient, 31%, while the hardness due to surface deformation hardening increases by 9.8%. The least damage and at the same time the greatest hardening is observed in the case of friction using the lubricating composition “BioRail lubricant + nanopowder of steel K74” (see Table 2).
According to the authors, the mechanism of action of the addition of nanometal to the component of friction vapor that has a lower hardness in industrial oil is as follows. Upon contact, the surface of the nanometal falls into the area of the actual contact spots because their size is comparable to the size of these spots and the distance between them within the contour area. As a result, protrusions are formed which primarily perceive the load and deform. On the friction surfaces in the presence of nanometal additives, secondary structures are created, which are areas of mixing and oxidation of agglomerated and deformed particles of metal nanopowder and wear particles. This leads to a reduction in the roughness of the friction surface, healing and strengthening of the surface layers. Physicochemical processes that take place during friction in the presence of nanopowder of metal significantly depend on the magnitude of the load, the sliding speed of the contacting surfaces, particle sizes, etc. Therefore, in the future, more detailed studies are planned on the use of the proposed composition, including the use of physical research methods.
With the obtained results, attention should be paid to very important details. When nanopowders such as copper, brass, bronze [35] are used as additives to industrial lubricants, electrochemical pairs can be formed due to the significant difference in the electrochemical potentials of the part and additive materials. For open steel friction pairs (for example, wheel–rail) the use of such additives is unacceptable because in the open air it will lead to corrosion of contact parts. The proposed use of nanopowder from friction pair material with lower hardness as an additive in the lubricant prevents electrochemical corrosion.
Another advantage of using rail steel nanopowder as a wear-resistant additive to industrial lubricants is its moderate cost, as the raw material for its manufacture is waste from the manufacture of rails.
5. Conclusions
A new lubricating composition for increasing the wear resistance of heavy-duty friction pairs has been proposed and tested, in which a friction pair nanomaterial with lower hardness is used as an additive for industrial lubricants.
Experiments conducted on friction pairs “sample of railway wheel material–sample of rail material” have shown that in the case of using industrial lubricant, the BioRail brand, with the addition of friction pair nanomaterial with lower hardness, i.e., rail metal, the wear of the rail sample after three hours was practically not observed. Similar experiments using only BioRail industrial lubricant showed much worse results.
It has been established that, with the use of the proposed lubricating composition, the average value of the friction coefficient for three hours of operation is maintained at the level 0.25, which is optimal for the friction pair wheel–rail. In addition, the advantages of the proposed lubricant composition include prevention of electrochemical corrosion in an open steel friction pair wheel–rail and its moderate cost.
The required concentration of the mass fraction of the proposed nanometal additive to lubricants of industrial brands to obtain the maximum effect in increasing the wear resistance of heavy-duty friction pairs can be changed by the value of normal pressure in the contact zone.
Author Contributions
Conceptualization, V.K., M.C., A.P., V.T. and P.M.; methodology, M.C.; investigation, V.K., M.C., A.P., V.T., P.M. and V.V.; formal analysis, A.P. and V.T.; funding acquisition, V.K.; writing—review and editing, M.C.; validation, P.M. All authors have read and agreed to the published version of the manuscript.
Funding
This research received no external funding.
Institutional Review Board Statement
Not applicable.
Informed Consent Statement
Not applicable.
Data Availability Statement
The data presented in this study are available upon request from the corresponding author.
Conflicts of Interest
The authors declare no conflict of interest.
References
- Harris, W.J.; Ebersöhn, W.; Lundgren, J.; Tournay, H.; Zakharov, S. Guidelines to Best Practices for Heavy Haul Railway Operations: Wheel and Rail Interface Issues; International Heavy Haul Association: Virginia Beach, VA, USA, 2001. [Google Scholar]
- Sheinman, E. Wear of rails. A review of the American press. J. Frict. Wear 2012, 33, 308–314. [Google Scholar] [CrossRef]
- Kokhanovskii, V.A.; Glazunov, D.V. Selection of lubricant composition for open contact systems in rolling stock. Russ. Eng. Res. 2016, 36, 449–451. [Google Scholar] [CrossRef]
- Guo, D.; Xie, G.; Luo, J. Mechanical properties of nanoparticles: Basics and applications. J. Phys. D Appl. Phys. 2014, 47, 013001. [Google Scholar] [CrossRef] [Green Version]
- Uflyand, I.E.; Zhinzhilo, V.F.; Burlakova, V.E. Metal-containing nanomaterials as lubricants additives: State-of-the-art and future developments. Friction 2019, 7, 93–116. [Google Scholar] [CrossRef] [Green Version]
- Tarasov, S.; Belyaev, S. Alloying contact zones by metallic nanopowders in sliding wear. Wear 2004, 257, 523–530. [Google Scholar] [CrossRef]
- Tarasov, S.; Kolubaev, A.; Belyaev, S.; Lerner, M.; Tepper, F. Study of friction reduction by nanocopper additives to motor oil. Wear 2002, 252, 63–69. [Google Scholar] [CrossRef]
- Awasthi, S.; Pandey, C.P.; Balani, K. Synergistic role of carbonaceous reinforcements on multi-length scale tribology of electrophoretically deposited nickel-boron nitride coatings. Mater. Res. Bull. 2018, 99, 61–72. [Google Scholar] [CrossRef]
- Konicek, A.R.; Jacobs, P.W.; Webster, M.N.; Schilowitz, A.M. Role of tribofilms in wear protection. Tribol. Int. 2016, 94, 14–19. [Google Scholar] [CrossRef]
- Ijaz, I.; Gilani, E.; Nazir, A.; Bukhari, A. Detail review on chemical, physical and green synthesis, classification, characterizations and applications of nanoparticles. Green Chem. Lett. Rev. 2020, 13, 223–245. [Google Scholar] [CrossRef]
- Ealias, A.M.; Saravanakumar, M.P. A review on the classification, characterisation, synthesis of nanoparticles and their application. IOP Conf. Ser. Mater. Sci. Eng. 2017, 263, 032019. [Google Scholar]
- Waqas, M.; Zahid, R.; Bhutta, M.U.; Khan, Z.A.; Saeed, A. A Review of Friction Performance of Lubricants with Nano Additives. Materials 2021, 14, 6310. [Google Scholar] [CrossRef] [PubMed]
- Singh, A.; Chauhan, P.; Mamatha, T. A review on tribological performance of lubricants with nanoparticles additives. Mater. Today Proc. 2020, 25, 586–591. [Google Scholar] [CrossRef]
- Spikes, H. Friction Modifier Additives. Tribol. Lett. 2015, 60, 5. [Google Scholar] [CrossRef] [Green Version]
- Gulzar, M.; Masjuki, H.H.; Kalam, M.A.; Varman, M.; Zulkifli, N.V.M.; Mufti, R.A.; Zahid, R. Tribological performance of nanoparticles as lubricating oil additives. J. Nanoparticle Res. 2016, 18, 223. [Google Scholar] [CrossRef]
- Padgurskas, J.; Rukuiza, R.; Prosyčevas, I.; Kreivaitis, R. Tribological properties of lubricant additives of Fe, Cu and Co nanoparticles. Tribol. Int. 2013, 60, 224–232. [Google Scholar] [CrossRef]
- Zhao, J.; Huang, Y.; He, Y.; Shi, Y. Nanolubricant additives: A review. Friction 2021, 9, 891–917. [Google Scholar] [CrossRef]
- Xia, W.Z.; Zhao, J.W.; Wu, H.; Jiao, S.H.; Zhao, X.M.; Zhang, X.M.; Xu, J.Z.; Jiang, Z.Y. Analysis of oil-in-water based nanolubricants with varying mass fractions of oil and TiO2 nanoparticles. Wear 2018, 396–397, 162–171. [Google Scholar] [CrossRef]
- Ali, M.K.A.; Hou, X.J.; Mai, L.Q.; Cai, Q.P.; Turkson, R.F.; Chen, B.C. Improving the tribological characteristics of piston ring assembly in automotive engines using Al2O3 and TiO2 nanomaterials as nano-lubricant additives. Tribol. Int. 2016, 103, 540–554. [Google Scholar] [CrossRef]
- Gupta, R.N.; Harsha, A.P. Tribological evaluation of calcium-copper-titanate/cerium oxide-based nanolubricants in sliding contacts. Lubr. Sci. 2018, 30, 175–187. [Google Scholar] [CrossRef]
- Zhang, S.W.; Li, Y.; Hu, L.T.; Feng, D.P.; Wang, H.Z. Anti-wear effect of Mo and W nanoparticles as additives for multialkylated cyclopentanes oil in vacuum. J. Tribol. 2017, 139, 021607. [Google Scholar] [CrossRef]
- Hernández, A.; González, R.; Viesca, J.L.; Fernández, J.E.; Díaz Fernández, J.M.; Machado, A.; Chou, R.; Riba, J. CuO, ZrO2 and ZnO nanoparticles as anti-wear additive in oil lubricante. Wear 2008, 265, 422–428. [Google Scholar] [CrossRef]
- Laad, M.; Jatti, V.K.S. Titanium oxide nanoparticles as additives in engine oil. J. King Saud Univ.-Eng. Sci. 2018, 30, 116–122. [Google Scholar] [CrossRef] [Green Version]
- Luo, T.; Wei, X.; Huang, X.; Huang, L.; Yang, F. Tribological properties of Al2O3 nanoparticles as lubricating oil additives. Ceram. Int. 2014, 40, 7143–7149. [Google Scholar] [CrossRef]
- Dai, W.; Lee, K.; Sinyukov, A.M.; Liang, H. Effects of vanadium oxide nanoparticles on friction and wear reduction. J. Tribol. 2017, 139, 061607. [Google Scholar] [CrossRef]
- Zhai, W.; Srikanth, N.; Kong, L.B.; Zhou, K. Carbon nanomaterials in tribology. Carbon 2017, 119, 150–171. [Google Scholar] [CrossRef]
- Zhornik, V.I.; Kukareko, V.A.; Belotserkovsky, M.A. Tribomechanical Modification of Friction Surface by Running-In Lubricants with Nano-Sized Diamonds; Advances in Mechanics Research; Campbell, J.M., Ed.; Nova Science Publishers, Inc.: New York, NY, USA, 2011; Volume 1, pp. 1–78. [Google Scholar]
- Ghaednia, H.; Jackson, R.L. The effect of nanoparticles on the real area of contact, friction and wear. J. Tribol. 2013, 135, 041603. [Google Scholar] [CrossRef]
- Jennings, A.T.; Gross, C.; Greer, F.; Aitken, Z.H.; Lee, S.-W.; Weinberger, C.R.; Greer, J.R. Higher compressive strengths and the Bauschinger effect in conformally passivated copper nanopillars. Acta Mater. 2012, 60, 3444–3455. [Google Scholar] [CrossRef] [Green Version]
- Available online: www.aimol.nl (accessed on 8 April 2022).
- Chausov, M.G.; Kosarchuk, V.V.; Pylypenko, A.P.; Tverdomed, V.M. A Method for Increasing the Wear Resistance of Friction Pairs Made of Metallic Materials. Ukraine Patent 149,049, 13 October 2021. (In Ukrainian). [Google Scholar]
- DSTU 7793:2015; Metal Materials. Determination of the Level of Scattered Damage by LM-Hardness Method. UkrNDNC: Kyiv, Ukraine, 2016; 15p.
- Chausov, M.; Pylypenko, A.; Maruschak, P.; Menou, A. Phenomenological models and peculiarities of evaluating fatigue life of aluminum alloys subjected to dynamic non-equilibrium processes. Metals 2021, 11, 1625. [Google Scholar] [CrossRef]
- Myzuka, N.P.; Shvets, V.P.; Boiko, A.V. Procedure and instruments for the material damage assessment by the LM-hardness method on the in-service scratching of structure element surfaces. Strength Mater. 2020, 52, 432–439. [Google Scholar] [CrossRef]
- Tarasov, S.Y.; Belyaev, S.A.; Lerner, M.I. Wear resistance of structural steel in lubricants bearing metal nanopowders. Met. Sci. Heat Treat. 2005, 47, 560–565. [Google Scholar] [CrossRef]
Publisher’s Note: MDPI stays neutral with regard to jurisdictional claims in published maps and institutional affiliations. |
© 2022 by the authors. Licensee MDPI, Basel, Switzerland. This article is an open access article distributed under the terms and conditions of the Creative Commons Attribution (CC BY) license (https://creativecommons.org/licenses/by/4.0/).



