Abstract
A friction loss model for a loading brake tester with adjusted shaft distance was constructed to correct the test results of the braking rate of the loading shaft, which could largely improve the accuracy of automobile braking performance tests. Specifically, the influence of tire pressure, vehicle axle load, placement angle, and vehicle speed on the friction loss was tested and analyzed on the tester. The friction loss model for the tester was constructed based on the first defined relative slip and placement angle, which was validated through actual tests on four types of vehicles. The results showed that the maximum relative error between the simulation and the measured values is 2.2%, indicating the friction loss model is valid and can provide a basis for correcting the braking force of automobile brakes. Meanwhile, the maximum braking force increased from 3982 N to 4772 N, increased by 19.8%, when the placement angle was raised from 36.9° to 47.0°, demonstrating the effectiveness of constructing a friction loss model and enhancing the accuracy of the loading brake tester with adjusted shaft distance test results. Accordingly, in order to improve the detection accuracy of the self-developed tester, the friction loss model is essential for correcting the friction loss caused by the change in the placement angle, and then the braking rate of the vehicle should be determined according to the relevant regulations stipulated in China, EU, USA, Japan, and other countries or regions, which can accurately reflect the performance of the vehicle’s braking system.
1. Introduction
Automobile braking performance directly affects the safety of automobile operation. The main technical means to detect the technical status of automobile braking systems and ensure the safety of automobile operation is the automobile braking performance platform testing method [1,2]. As stipulated in the National Standard of the People’s Republic of China, GB 38900-2020 [3] “Items and methods for safety technology inspection of motor vehicles” and GB 7258-2017 [4] “Technical specifications for safety of power-driven vehicles operating on roads”, the roller with opposite forces type of automobile brake tester is the conventional equipment for testing the automobile braking performance of motor vehicles [5,6], which has the advantages of small size, simple operation, high repeatability of test data, and stable testing [7,8]. However, there are still differences between the testing process and actual road driving. The braking performance test results are affected by a variety of factors, such as the braking force calibration process, reducer, surface adhesion coefficient of the roller, placement angle, tire pressure [9,10], vehicle load [11,12], etc., which seriously affects automobile braking performance testing accuracy [1,13]. Especially, Wang Hongnan [9] et al. established numerical and experimental models for tire dynamic load identification. Combined with data filtering and tire stiffness adjustment, dynamic tire load calculation and correction were achieved, which can improve the accuracy of vehicle acceleration and braking performance evaluation. Waleed Momani and Sayel M. Fayyad compared stand tests and road tests of brake systems of automobiles. The factors involving distribution of braking force between front and rear wheel axles, automobile weight, force coefficients with servo-brake, etc., were proposed [14].
In reality, trucks often operate at full load or even overload. Loading brake performance testing is an effective measure to ensure the safety of braking when the vehicle is fully loaded [15]. Therefore, it is stipulated in the GB 38900-2020 [3] standard mentioned above that some axles (excluding the last and the first axle of the truck) of these vehicles must undergo braking rate testing of the loading axle, including trucks with three or more axles, and trailers with a total mass greater than 3500 kg that are equipped with double or triple axles in parallel.
At present, the loading testing method for automobile braking performance is mainly based on the roller with opposite forces type of automobile brake tester, including the pull-pressure tension type and lifting type [16]. The pull-pressure tension type loading brake detection realizes loading brake detection by increasing the axle load through pulling pressure, thus increasing the braking force. Although this method is suitable for various vehicles, there must be specialized personnel operation with a bad working environment, poor operability, and low efficiency when using tension bands to increase axle load [17]. The lifting type of loading brake detection realizes loading brake detection by lifting the measured shaft to a certain height, transferring the axle load to the tested shaft, and increasing the axle weight of the tested shaft, thus increasing the braking force [18]. This method is simple and stable. However, it is not suitable for vehicles with two axles and parallel double axles, as the detection effect is not significant [19,20].
To overcome the shortcomings of existing loading brake detection, it is necessary to develop a test bench suitable for two-axle vehicles, three- and more axle trucks, as well as parallel double- or triple-axle trailers, so as to effectively carry out loading brake detection of motor vehicles and ensure driving safety.
In a previous paper [21], the authors describe the independent development of an adjustable shaft distance (i.e., the distance between the geometric centers of the main and assistant rollers in the brake tester) loading brake tester, which can realize loading brake testing by adjusting the shafts to change the placement angle, increasing the equivalent adhesion coefficient, and hence the braking force. The tester is as shown in Figure 1. This method is suitable for all axles across various vehicle types, and the loading process is safe, fast, and stable.
Figure 1.
Three-dimensional physical image (partial) of the loading brake tester with adjusted shaft distance.
The equivalent adhesion coefficient of the loading brake tester with adjusted shaft distance is shown in Equation (1).
where θ is the angle formed by the height difference between the front and rear rollers (inter-roller angle), α is the placement angle, φ is the adhesion coefficient between the main and assistant rollers, and φ′ is the equivalent adhesion coefficient of the loading brake tester.
According to Equation (1), it can be seen that φ′ is related to θ, α, and φ, but the most influential factor on the braking force is α. When the wheelbase adjustment stroke is 300 mm and the wheel diameter is 700 mm, α varies from 29.9° to 54.7°, and φ′ varies from 0.60 to 0.88. When the wheel diameter decreases or the shaft distance adjustment stroke further increases, the equivalent adhesion coefficient of the tester can also be significantly improved.
The front axle braking force of the Jiefang small passenger car has been detected on the loading brake tester [22]; the measured results with the increase in the shaft distance are shown in Figure 2. The maximum braking force of the front axle of the testing vehicle increases with the increase in the shaft distance. This is because the shaft distance enlarges from 471 mm to 642 mm, resulting in the placement angle increasing from 35.83° to 52.92°. From Equation (1), the equivalent adhesion coefficient changes from 0.640 to 0.844, a 31.9% variation, and the measured vehicle braking force increases accordingly, from 4872 N to 6922 N, a greater variation of 42.1%. This is because the larger the placement angle, the bigger the normal support force of the roller to the wheel, which causes a more serious deformation of the vehicle tire. Furthermore, as the friction loss between the tire and the shaft increases, so does the friction loss inside the brake tester. The friction loss is superimposed on the braking force measurement results, with the result that the increase in the braking force is significantly greater than the increase in the equivalent adhesion coefficient. From Figure 2, for the testing vehicle, the distance of the main and assistant rollers increases by 171 mm, and the braking rate of the tested vehicle shaft increases from 81.2% to 115.4%, an increase of 34.2%. It is clear that loading brake performance tests can also be realized by adjusting the shaft distance. This method only changes the normal support force of the roller to the wheel, improving the equivalent adhesion coefficient, and ultimately detecting the braking force of the vehicle effectively.
Figure 2.
Test results of front axle braking force of a Jiefang small passenger car [22].
It can be seen that the loading and braking performance test based on the self-developed adjustable shaft distance loading and brake tester is not affected by the number of axles, wheelbase, centroid position, and other factors of the vehicle. It is applicable to all axles of two-axle vehicles, multi-axle trucks with three or more axles, and trailers with two or three axles. However, it is necessary to further consider the influence of the friction loss of the braking tester. The friction loss needs to be subtracted from the braking force test results to effectively judge the loading and braking performance of the vehicle.
In recent years, experts have conducted relevant studies on the factors affecting the test results of the roller anti-force brake tester. Zhao Yingxun [23] found that there is a misjudgment in the roller anti-force brake tester in the detection of automobile braking force and proposed some strategies correspondingly such as employing high-adhesion rollers and designing suitable placement angles. Li Shumin et al. [24] comprehensively analyzed the factors affecting the detection of flat and roller testers, and pointed out the load and adhesion rate as the main influencing factors. Ge Zai et al. [8] proposed that the backward speed of the testing vehicle would cause the detected maximum braking force to be less than the actual value. R M Firdaus and co-workers [25] tested the braking force efficiency of a passenger vehicle with a weight of 1400 kg under three different braking conditions based on a roller brake tester. The results showed that the maximum and minimum braking force efficiency are obtained at sudden braking application and loose-press braking application, respectively. Shan Hongmei from Jilin University and Liu Yuanpeng from the Research Institute of Highway, Ministry of Transport, both conducted research on the brake tester with a lifting device, analyzing the lift–axial load relationship and the key technical parameters such as the placement angle, the shaft distance, the height of install and lift, etc., respectively [16,19]. Deng Xifan et al. analyzed the influence of roller arrangement and drive motor on the test results of loading brake testers, and discussed the influence of tire pressure and axle load distribution on the test results of passenger vehicles [26]. Hou Binshan further emphasized the importance of ensuring the accuracy of the brake inspection data in the driving brake inspection [27]. Shi Xin [28] evaluated the measurement uncertainty of the braking force and axle (wheel) weight gauge indication error of the automobile lifting and loading brake tester according to JJG 1160-2019 “Verification Regulations for Automobile Loading Brake Tester” [29]. In early work of our group [30], a three-axle truck lifting and loading axle load model was established, and the influence of lifting height, vehicle wheelbase, centroid position, and comprehensive stiffness on the loading axle load of the brake tester were analyzed.
Although the friction loss of the brake tester itself is one of the important factors affecting the detection of vehicle braking force, there are few studies considering this impact. No friction loss model has been constructed until now. In the actual testing process of vehicle braking performance, friction losses are generated by transmission bearing friction, wheel and roller contact deformation, gear meshing loss, etc., all of which will be reflected in the braking force testing results. If these errors are not corrected, they will directly affect the accurate evaluation of vehicle braking performance, thereby posing potential road safety hazards.
To sum up, in this paper, the accuracy of automobile braking performance test results is studied. Based on the self-developed loading brake tester with adjusted shaft distance [21], the friction loss of the tester is studied systematically, and the relationships between the friction loss and tire pressure, vehicle axle load, placement angle, and vehicle speed are tested and analyzed. A friction loss model of the loading brake tester with adjusted shaft distance is constructed, and the friction loss during the loading and braking performance testing for all axles across various vehicle types is quantified, thus further improving the accuracy of automobile brake performance test and the reliability of automobile detection, thus guaranteeing the automobile driving safety. This research fills the gap in the correction methods for the inherent friction losses of testing equipment such as loaded brake test benches, and is of great importance for enhancing the objectivity and scientificity of automobile safety inspections.
2. Testing Equipment and Methods
2.1. The Loading Brake Tester
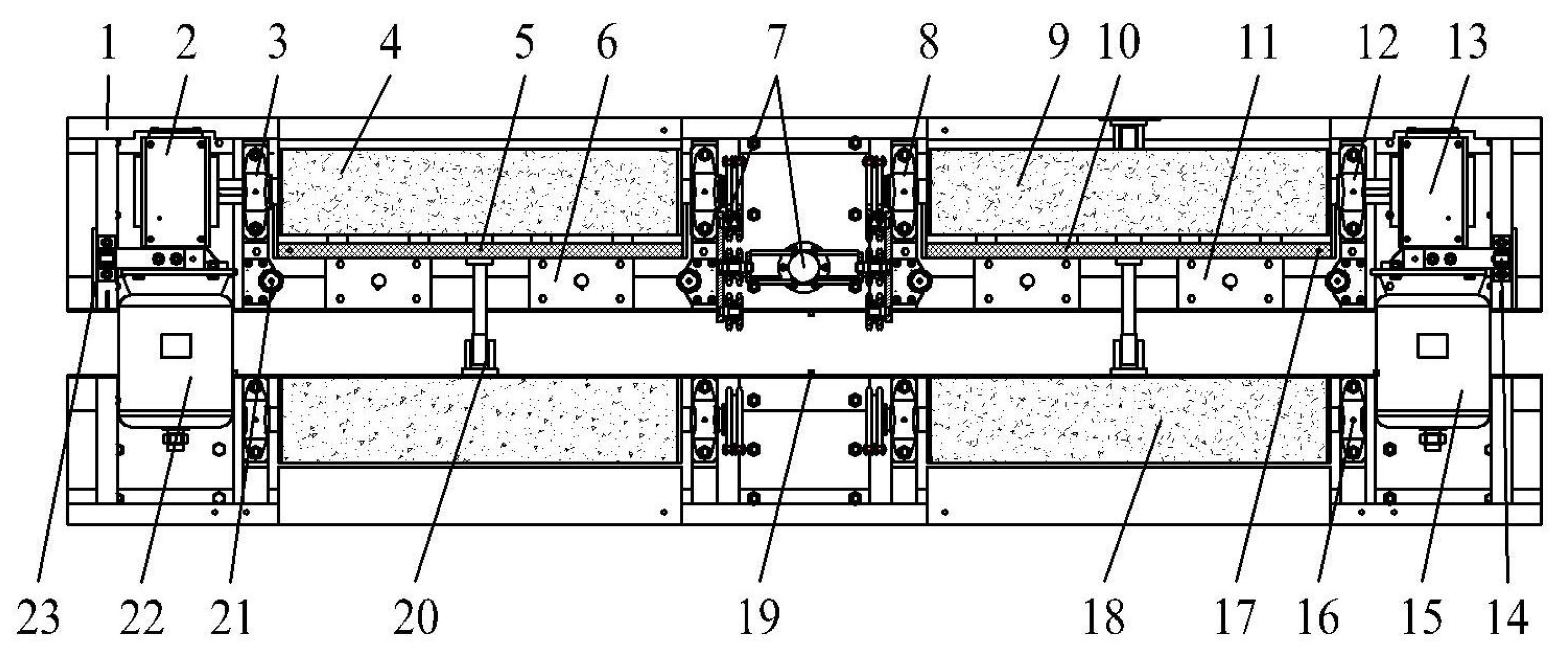
The loading brake tester consists of five parts, namely the roller group, roller drive group, braking force measurement device, lifting device, and control system, as shown in Figure 3; the sensors used for testing are described in Table 1. The parameters of the loading brake tester are as follows: the roller diameter is 245 mm, the height difference between the main and assistant rollers is 30 mm, the adjustment range of the shaft distance is 471~771 mm, and θ is 3.65~2.23°. The sand-adhered roller has a dry adhesion coefficient φ of 0.9. The diameter of the brake third roller is set to 40 mm. When the vehicle drives on the tester, the wheel presses the brake third roller down, driving the motor to operate and causing the tester to start working.
Figure 3.
Schematic diagram of the adjustable shaft distance loading brake tester [21]: 1. Framework; 2. Left reducer assembly; 3. Left main roller bearing; 4. Left main roller; 5. Left brake 3rd roller; 6. Hydraulic lifting mechanism; 7. Chain drives and tensioners; 8. Right main roller left bearing; 9. Right main roller; 10. Right brake 3rd roller; 11. Right hydraulic lifting device; 12. Right main roller right bearing; 13. Right gearbox assembly; 14. Right brake force measuring device; 15. Right drive motor; 16. Right secondary roller bearing; 17. Speed sensor of 3rd roller; 18. Right assistant-roller; 19. Wheelbase sensor; 20. Roller pitch adjustment device; 21. Tire stopper wheel; 22. Left drive motor; 23. Left brake force measuring device.
Table 1.
Sensors of the loading brake tester with adjusted shaft distance.
The wheel stays on the main and assistant rollers, and 1/2 of the angle between the lines connecting the center of the wheel to the centers of the two rollers is the placement angle α, as shown in Figure 4.
Figure 4.
The force condition of the loading brake tester with adjusted shaft distance during testing.
2.2. The Loading Brake Performance Test Process
The process of the loading brake performance test is as follows: first, the tested vehicle is driving upright and centered, with the loading axle of the tested vehicle parked on the brake roller, the transmission in neutral, and the brake pedal released; second, the test axle is loaded by adjusting the roller shaft distance, and measure the axle load in the loaded state (G); third, the roller motor is started and stabilized for 3 s before applying the brake. The brake pedal is slowly pressed to the bottom or to the specified brake pedal force, and the maximum braking force of the left and right wheels (Fblmax and Fbrmax) is measured; fourth, the first three steps are repeated to test each loading axle in turn. The braking force measuring device is shown in Figure 4.
The percentage of the sum of the maximum braking force of the left and right wheels (Fblmax + Fbrmax) and the axle load (G) in the loaded state of the axle is the loading axle braking rate, which is described in Equation (2):
where Fblmax is the maximum braking force of the left wheel, Fbrmax is the maximum braking force of the right wheel, and G is the axle load in the loaded state of the axle.
2.3. The Friction Loss Test Process
China, the European Union, the United States, Japan, and other countries or regions stipulate that the roller with opposite forces type of automobile brake tester should be used for automobile braking performance tests, and the linear speed of the roller of the brake tester is 2.5 ± 0.3 km/h [31]. The friction loss of the test bench includes the friction loss between the wheel and the roller surface and the friction loss inside the brake tester. When the speed is 2.66 km/h, the placement angle range is 37~55°, and there is no test vehicle operating on the brake tester, the measured internal friction loss of the tester is 17~19 N, which shows that the internal friction loss of the tester is very small when idling. In this paper, the friction loss of the tester is studied on the self-developed adjustable shaft distance loading brake tester.
The friction loss of the loading brake tester with adjusted shaft distance is mainly caused by the relative slip between the wheel and the roller during the vehicle test as well as the internal friction loss of the tester. Here, the friction loss is expressed in the form of frictional loss force (N). The friction loss testing processes under different tire pressure, vehicle axle load, vehicle speed, and placement angle conditions are as follows.
When measuring friction loss, the braking force sensor was reset to a small range of 5000 N. The vehicle was driven onto the loading brake tester with adjusted shaft distance and its tire pressure was adjusted to 0.03 MPa, 0.07 MPa, 0.09 MPa, 0.12 MPa, 0.15 MPa, 0.18 MPa, 0.21 MPa, 0.24 MPa, 0.27 MPa, 0.30 MPa, 0.33 MPa, and 0.36 MPa, respectively. The wheels were driven by the drive motor through the rollers. Once the vehicle speed was stabilized at 2.5 ± 0.3 km/h, the force sensor measured the amount of friction loss. The relationship between friction loss and relative slip can be derived by calculating the relative slip through measurement of the data obtained from the main and assistant rollers speed sensors, as well as the brake third roller speed sensors. All the following tests used the same testing method. The relationship between friction loss and vehicle axle load of the brake tester can be derived by testing at different axle loads, ranging from 500 kg to 920 kg (including additional mass of 60 kg). The correlation between the brake tester friction loss and the vehicle speed can be acquired by setting vehicle speeds to 2 km/h, 10 km/h, 18 km/h, 26 km/h, 34 km/h, 42 km/h, 50 km/h, 58 km/h, and 66 km/h by controlling the motor speed with a frequency converter. Through an adjustment device, the distance of the main and assistant rollers was adjusted, resulting in placement angles of 36.89°, 39.49°, 42.19°, 44.71°, 48.20°, and 51.25°, further identifying the variation in the relationship between friction loss and placement angle.
The percentage of the sum of the maximum braking force of the left and right wheels (Fblmax + Fbrmax) obtained from Section 2.1 minus the friction loss calculated under the test state, and the axle load (G) in the loaded state of the axle is the corrected loading axle braking rate, described in Equation (3), which more realistically reflects the performance of the vehicle brakes.
where φf1 is the friction coefficient varied with the relative slipping, and φf2 is the friction coefficient varied with the placement angle, which will be introduced in depth in Section 4.2.
3. The Influencing Factors of Friction Loss
3.1. The Effect of Tire Pressure on Friction Loss
When the tire rotated with the rollers on the loading brake tester, elastic hysteresis loss and friction loss were produced by the internal friction of the tire and the relative slip between the tire and the roller. The relationship between the measured front axle friction loss and tire pressure of a Xiali A+ sedan is shown in Figure 5.
Figure 5.
Change relationship between friction loss and tire pressure.
It can be seen from Figure 5 that with the increase in tire pressure, the tire deformation decreased, resulting in a drop in the frictional resistance between the tire and the roller surface and thereby reducing the friction loss. The friction loss under a tire pressure of 0.03 MPa declined by 78.8% when compared to that under a tire pressure of 0.36 MPa. When the tire pressure was less than 0.15 MPa, the tire was severely deformed and the elastic hysteresis loss of the tire increased, thus significantly increasing the frictional resistance in the rolling process. On the contrary, as the tire inflation pressure increased, the tire experienced minor deformation when in contact with the hard roller. Consequently, its elastic hysteresis loss declined, resulting in reduced rolling resistance and diminished friction loss when the tire pressure was greater than 0.15 MPa.
3.2. Effect of Vehicle Axle Load on Friction Loss
The change relationship of the measured friction loss of the front axle with the axle load of the Xiali A+ sedan is shown in Figure 6. The test was conducted with a tire pressure of 0.25 MPa and a shaft distance of 471 mm, and the load of the front axle was varied by additional mass.
where Ff is the rolling resistance between tire and rollers, and f is the rolling friction coefficient.
Figure 6.
Change relationship between friction loss and axle load.
As shown in Figure 6, the frictional resistance measured on the loading brake tester was approximately linearly correlated with axle load. With the increase in axle load, the tire deformation and the friction loss both increase. As the 2.66 km/h roller speed of the brake tester is very low, the rolling resistance coefficient f under different axle load conditions remains unchanged. According to the rolling resistance Equation (4), friction loss increased linearly with the increase in axle load, and the rolling friction coefficient was the slope, which proves the accuracy and reliability of the actual measured results.
3.3. Effect of Placement Angle on Friction Loss
The force condition of the inspected vehicle wheel during testing is shown in Figure 4. The circles with O1 and O2 as the center, respectively, stand for the main and assistant rollers of the loading brake tester with adjusted shaft distance, and the rear roller (main roller) is placed higher than the front roller (assistant roller). The circle with O as the center is the wheel of the vehicle (ignoring the rolling resistance and the influence of non-test wheels on the tested wheels). N1, N2 and F1, F2 are the normal forces and tangential braking opposite forces of the assistant and main rollers on the wheels, respectively.
The relationships between front placement angle α1, rear placement angle α2, and placement angle α can be separately described in Equations (5)–(8).
where θ is the angle formed by the height difference between the front and rear rollers (inter-roller angle), h is the height difference between the rollers, L is the shaft distance, R is the wheel radius, and r is the roller radius.
The wheel placement angle can be described by Equation (8). The wheel placement angle α is determined by the roller radius r, the wheel radius R, and the shaft distance L. Once the loading brake tester and testing vehicle were determined, r and R were determined to be 122.5 mm and 270 mm, and thus the placement angle could be changed by altering L. Figure 7 displays the relationship between the friction loss of the front axle and the placement angle of the measured Xiali A+ sedan. During the test, the tire pressure was set to 0.25 MPa, and L was adjusted from 471 mm to 612 mm, and thus the placement angle was correspondingly adjusted in the range of 36.9~51.3°.
Figure 7.
Change relationship between friction loss and placement angle.
As can be seen from Figure 7, with the increase in placement angle, the tire deformation became more pronounced, the frictional resistance between the wheel and the roller surface was strengthened, and the friction loss became larger. This was caused by the enhanced support force of the rigid roller on the tire, which in turn increased the friction loss inside the loading brake tester, and thus the frictional resistance. The frictional resistance at the placement angle of 51.3° was 338 N, reaching 6.9% of that of the front axle load, which implies that the placement angle had a great influence on the frictional resistance.
3.4. The Effect of Vehicle Speed on Friction Loss
The tire pressure was set to 0.25 MPa and L to 471 mm during the testing. In order to increase the speed of the tested vehicle, the decelerator of the loading brake tester was reset so that the reduction ratio was 1:2. The motor speed was controlled by the frequency converter. The relationship between the friction loss and the vehicle speed on the loading brake tester is shown in Figure 8.
Figure 8.
Change relationship between friction loss and vehicle speed.
It shows that the frictional resistance and friction loss power of the loading brake tester rises with the increase in vehicle speed. The friction loss power at the speed of 66 km/h is 132 times that at the speed of 2 km/h. That can be explained as follows. On the one hand, with the increase vehicle speed, the rolling resistance coefficient becomes larger, and the friction loss between the wheel and the roller surface increases [32]. On the other hand, with the increase in roller speed of the loading brake tester, the bearing friction coefficient enlarges, taking the internal friction loss of the loading brake tester up. The combination of the above two aspects results in higher vehicle speeds and greater friction losses on the tester. Normally, when the vehicle is tested for power on the dynamometer chassis, the speed point is higher, usually above 40 km/h. To ensure the accuracy of chassis dynamometer measurement, the output power of the chassis dynamometer should be revised, while, during the braking performance test, due to the low and constant roller speed of the loading brake tester, about 2.5 km/h, the effect of vehicle speed on the friction loss of the tester can be neglected.
4. Friction Loss Model
The construction of a friction loss model for loading brake tester with adjusted shaft distance can provide a reference for modifying the braking force of a vehicle so as to further improve the accuracy of the automobile braking performance test results.
4.1. Friction Loss Analysis
As mentioned in Section 3.4, the impact of low and constant vehicle speed on friction loss could be ignored on the loading brake tester with adjusted swells in the vehicle braking performance test. Importantly, tire pressure, placement angle, and vehicle axle load had a significant effect on the friction loss, which in turn directly affected the test results of braking rate. However, on account of the diversity of testing vehicles, there are significant differences in tire pressure, placement angle, and vehicle axle load. In order to effectively measure the braking performance of the vehicle brakes, the braking force results needed to be corrected during the vehicle braking performance test.
For the research of slip control, relevant nonlinear models based on predictive control algorithms have been used [33]. The relative slipping S was first defined as Equation (9), which integrally reflects the elastic hysteresis loss generated by the tire deformation and the friction loss generated by the relative slip between the wheel and the roller.
where S is the relative slipping, vt is the vehicle speed corresponding to the speed of the brake third roller, and vm is the vehicle speed corresponding to the speed of the main and assistant rollers.
The effect of tire pressure and axle load on friction loss is demonstrated in Figure 9. When relative slipping was S > 0, the friction loss increased with the increase in slipping amount; when relative slipping was S < 0, the friction loss increased significantly with the decrease in slipping amount. The reason was that the support spring stiffness of the brake third roller was larger when tire pressure was <0.07 MPa. As tire pressure decreased, the support spring stiffness of the brake third roller increased, together with the spring force. Furthermore, the contact surface between the tire and the brake third roller was small, while deformation was more severe, making the speed of the brake third roller lower than that of the main and assistant rollers. Therefore, the friction loss was too large when S < 0. At this point, the tire elastic hysteresis loss dominates, which is not the normal friction loss of the loading brake tester with adjusted shaft distance. However, according to GB38900-2020 [3], braking performance needs to be tested under normal tire pressure in practical applications. In this case, the tire pressure should be bigger than 0.15 MPa and relative slipping should be S > 0. When the placement angle remained constant, tire pressure was kept normal, and relative slipping S > 0, friction loss increased with relative slipping. The same correspondence existed between friction loss and relative slipping when tire pressure or axle load changed. By adjusting the distance between the main and assistant rollers and increasing the placement angle, the friction loss was greatly raised under the same condition of relative slipping. As the placement angle became larger, relative slipping decreased slightly, and so did the friction loss caused by slipping between the wheel and the roller. However, as the placement angle was increased, the normal force of main and assistant rollers increased, resulting in the significant increase in the internal friction loss (including bearing friction loss, etc.) of the loading brake tester with adjusted shaft distance. At the same time, the internal friction loss of the loading brake tester played a dominant role, and the friction loss of the tester increased with the increase in the placement angle under the combined action of the two factors. Consequently, the effects of relative slipping and placement angle need to be taken into account in correcting the friction loss for new loading brake tester.
Figure 9.
Change relationships between friction loss, relative slipping, and (a) tire pressure; (b) axle load; (c) placement angle.
4.2. Friction Loss Model Construction
Considering the fitting accuracy and practical needs, the data were fitted using the measured friction loss with the variation of tire pressure and axle load under the tire pressure > 0.15 MPa to obtain the model of the variation of friction loss with relative slipping, which is described as Equation (10).
where Ff1 (N) is the friction loss caused by the change in relative slipping, and S (%) is the relative slipping.
According to Equation (10), after subtracting the data of the relationship between the measured friction loss and the variation of the relative slipping from the data of the relationship between the friction loss and the variation of the placement angle, data fitting is performed to obtain the model of the variation of the friction loss with the placement angle, which is described as the following Equation (11).
where Ff2 (N) is the friction loss caused by the change in placement angle, and α is the placement angle.
When the experimental vehicle is actually tested, the friction loss needs to be calculated according to Equations (10) and (11), and the vehicle braking force should be revised after summing them.
As mentioned above, different axle loads could lead to different friction losses. To eliminate the influence of axle loads on friction losses, Equations (10) and (11) are divided by the axle loads, respectively, and friction coefficients φf1 varied with the relative slipping and φf2 varied with the placement angle are proposed, as shown in Equations (12) and (13).
4.3. Friction Loss Model Validation
In order to verify the constructed friction loss model, a total of four types of vehicles, namely a Changan micro-bus, a Dongfeng light general truck, an Isuzu light van, and a Jiefang heavy warehouse truck, were selected for the test. The tire pressure of the test vehicles was normal. Due to the greater impact of the placement angle on the vehicle braking force, the loading brake tester with adjusted shaft distance applied should be able to automatically detect the wheel diameter, and the placement angle should be set by adjusting the shafts. During the test, the placement angle of the operating vehicle was set as the optimum placement angle. Relevant studies have shown that the optimum placement angle can be calculated by Equation (14) [23].
where φ is the roller surface adhesion coefficient.
Here, φ was taken to be 0.85 and the corresponding placement angle α was calculated to be 40.4°. In view of the fact that the hydraulic cylinder stroke limit for adjusting the distance of the main and assistant rollers by pushing the assistant roller group to move by the hydraulic station was 250 mm, the Jiefang heavy warehouse truck’s placement angle α was 35.36° when the distance of the main and assistant rollers was the maximum, and that of the remaining three types of vehicles was close to the optimal placement angle of 40.4°. The front axle load, placement angle, relative slipping, and friction loss of the four types of vehicles were tested and calculated. Among them, the calculated and measured values of friction loss were obtained according to Equations (12) and (13), as shown in Table 2. The comparison results showed that the maximum relative error between the calculated and measured friction losses of the loading brake tester was 2.2%, indicating the constructed friction loss model was effective and reliable, and could accurately predict the friction losses of the experimental loading brake tester with adjusted shaft distance.
Table 2.
The data of the calculated and measured values of friction loss for the experimental loading brake tester with adjusted shaft distance.
5. Actual Vehicle Test Results
The braking performance of the Xiali A+ sedan was conducted on the loading brake tester by adjusting the main and assistant roller distance to change the placement angle. It was tested by pressing the brake pedal slowly and gradually to the floor. Figure 10 shows the measured braking force growth on the front axle of the vehicle and the maximum braking force on the wheels in the entire process. As can be seen, the maximum braking force of the front axle of the tested vehicle increased with the increase in the placement angle, and the maximum braking force increased by 19.8% from 3982 N to 4772 N when the placement angle was changed from 36.9° to 47.0°. The relative slipping was calculated based on the speed of the main and third rollers after motor stabilization from 2 s to 3 s. The placement angle was calculated by combining the shaft distance, wheel radius, and roller diameter of the main and assistant rollers. The friction loss coefficient of the test vehicle was calculated according to Equations (10) and (11), which combined the front axle load to obtain the friction loss. The corresponding placement angles were 36.9°, 39.6°, 42.4°, 44.9°, and 47.0°, and the friction losses were 221 N, 231 N, 256 N, 283 N, and 302 N, respectively. The maximum braking forces in Figure 10 were corrected to 3770 N, 3992 N, 4149 N, 4388 N, and 4470 N. The front axle braking rates were 71.2%, 75.4%, 78.4%, 82.9% and 84.5%, respectively, which decreased by 4.22%, 4.40%, 4.84%, 5.37%, and 5.67%, compared with the braking rate under each placement angle before the modifications. The corrected test results were more accurate and more truly reflect the braking performance of the vehicle.
Figure 10.
The change relationship between the front axle braking force and the change in placement angle.
The friction loss of the loading brake tester will affect the accuracy of the test results. Friction loss during braking performance tests results in higher braking forces measured by the brake test than the actual value. The friction loss model constructed in this paper can calculate and correct the friction loss, making it more accurate and truly reflect the performance of vehicle brakes.
As mentioned in the Introduction, the lifting type loading brake detection method is only suitable for partial axle detection of three-axle or multi-axle vehicles, and is invalid for two-axle vehicles. The adjustable shaft distance loading brake detection method proposed in this paper can efficiently measure the braking force of the vehicle for all axles of two-axle vehicles, three- and more axle trucks, as well as parallel double- or triple-axle trailers.
The friction loss of different brake testers is affected by various factors such as the roller, bearing, and assembly process. When the same brake tester tests different vehicles, different wheel diameters lead to different placement angles, which will also cause differences in friction loss. The friction loss model constructed in this paper can eliminate these differences and make the test results more comparable.
For the chassis dynamometer and other vehicle performance testing equipment, friction loss causes the driving force measured by the tester to be lower than the actual value, when conducting dynamic performance testing and energy consumption analysis of the vehicle. By calculating and compensating the test results with the friction loss model in this paper, the vehicle power output is more realistically reflected, thus providing more reliable basic data for vehicle performance analysis and optimization.
6. Conclusions
In summary, a corresponding friction loss model of the loading brake tester was constructed and its effectiveness was verified through actual vehicle tests based on the previous self-assembled new loading brake tester with adjusted shaft distance. The specific contents and results are summarized as follows:
- (1)
- The effects of tire pressure, vehicle axle load, placement angle, and vehicle speed on the friction loss of the loading brake tester were tested and analyzed, providing a basis for correcting the friction loss and effectively testing the braking performance of vehicles.
- (2)
- The relative slipping was first defined. Based on the relative slipping and placement angle, a friction loss model of the loading brake tester was constructed, furnishing a basis for modifying the braking force test results of the vehicle brakes.
- (3)
- The results of the actual vehicle test and data analysis showed that changing the placement angle has a significant effect on the braking force test results. In order to enhance the accuracy of the results of the self-developed loading brake tester with adjusted shaft distance, the friction loss caused by changes in the placement angle and relative slipping should be corrected, and then the vehicle braking rate can be determined.
Author Contributions
Writing—original draft, W.H. and S.T.; validation, W.H., R.C., and F.Q.; data curation, S.T., G.F., P.Z., D.L., and X.J.; funding acquisition, W.H. and R.C.; investigation, W.H., G.F., Z.L., D.L., and S.J.; editing, S.T. and R.C.; writing—review, W.H., R.C., and F.Q.; methodology, S.T., P.Z., X.J., and Z.L.; conceptualization, W.H., R.C., S.J., and F.Q. All authors have read and agreed to the published version of the manuscript.
Funding
This work was supported by funding from the Natural Science Foundation of Shandong Province (ZR2022ME096), the Key R&D Program of Shandong Province, China (2024TSGC0103), and the Provincial Science and Technology Innovation Platform Subsidy Project (202333096).
Data Availability Statement
Data are contained within the article.
Conflicts of Interest
Author Guogang Fan was employed by the company Shandong Xinlingzhi Detection Technology Co., Ltd. The remaining authors declare that the research was conducted in the absence of any commercial or financial relationships that could be construed as a potential conflict of interest.
References
- Huang, W.Y.; Yu, M.J.; Fu, W.J.; Fan, Y.Y.; Wang, Q.; Sun, P. Analysis of influencing factors on testing results of vehicle roller anti-force brake testing platform. J. Jiangsu Univ. Nat. Sci. Ed. 2016, 37, 497–502. [Google Scholar]
- Wang, Z.Y.; Wang, J.; Wang, L.N.; Ma, Y.H. Development and comparative evaluation of reduced-scale krauss friction tester based on similarity theory. Mechanika 2022, 28, 329–337. [Google Scholar] [CrossRef]
- GB 38900-2020; Items and Methods for Safety Technology Inspection of Motor Vehicles. China Standard Press: Beijing, China, 2020.
- GB 7258-2017; Technical Specifications for Safety of Power-Driven Vehicles Operating on Roads. China Standard Press: Beijing, China, 2017.
- Liu, Y.P.; Tong, X.P.; Zhang, H. Roller opposite forces type automobile brake tester key technical parameters’ experimental research. In Green Connected Automated Transportation and Safety: Proceedings of the 11th International Conference on Green Intelligent Transportation Systems and Safety; Springer: Singapore, 2022; pp. 457–478. [Google Scholar]
- Lin, X.T.; Zhang, H.B.; Zheng, X.X. Research on static and dynamic braking force verification method of roller opposite force type brake testers. Shanghai Meas. Test. 2019, 46, 24–26. [Google Scholar]
- Xie, J.T. Analysis of the factors affecting the braking force of anti-force drum brake test rig. Metrol. Meas. Tech. 2016, 43, 65–66. [Google Scholar]
- Ge, Z.; Zhao, Y.Q. Design defects of roller type brake test bench and introduction of reciprocating plate brake test bench. Automob. Appl. Technol. 2021, 46, 106–108. [Google Scholar]
- Wang, H.; Zhang, B.; Xie, N.; Zhou, R. Calculation and correction method of dynamic tire loads in accelerating and braking conditions. Int. J. Automot. Technol. 2024, 25, 1147–1158. [Google Scholar] [CrossRef]
- Stokłosa, J.; Marek, B. Influence of tire pressure on the vehicle braking distance. Arch. Automot. Eng. Arch. Motoryz. 2022, 97, 60–73. [Google Scholar] [CrossRef]
- Deubel, C.; Prokop, G. Friction of a MacPherson suspension system at various load cases. J. Vib. Control 2024, 30, 14–26. [Google Scholar] [CrossRef]
- Tian, J.; Whitfield, C. Effect of mass and center of gravity on vehicle speed and braking performance. J. Emerg. Investig. 2021, 4, 1–7. [Google Scholar] [CrossRef]
- Fatouh, Y. Comparison of simplex and duplex drum brakes linings with transverse slots in vehicles. J. Automob. Eng. 2024; OnlineFirst. [Google Scholar] [CrossRef]
- Momani, W.; Fayyad, S.M. Comparison stand tests and road tests of brake systems under various conditions. Int. J. Mech. Eng. 2021, 6, 84–90. [Google Scholar]
- Chen, C.F.; Wu, S.Y.; Dong, R.D.; Chen, M.H. Research on vehicle braking performance loading detection method based on ECE regulation. China Mach. 2023, 10, 92–95. [Google Scholar]
- Shan, H.M.; Zhang, L.B.; Zhang, Y.N. Experimental study on the relationship between lifting height and axle load of loading brake table. Mech. Des. Manuf. Eng. 2020, 49, 87–91. [Google Scholar]
- Chen, N.F.; Gu, Z.X.; Ying, C.Y. Research on the loading test of heavy-duty truck braking performance. Automot. Saf. 2015, 4, 94–99. [Google Scholar]
- Zhang, L. Roller Reaction Type Loading Braking Performance Detection System and Calibration; China University of Mining and Technology: Xuzhou, China, 2019. [Google Scholar]
- Liu, Y.P.; Tang, X.C.; Cui, J.W.; Tang, H.X. Experimental study on key technical parameters of lifting vehicle loading brake test bench. Intern. Combust. Engine Power Plant 2021, 38, 15–20. [Google Scholar]
- Huang, W.Y.; Yu, M.J.; Fan, Y.Y.; Tang, X.C.; Tian, X.S. Adaptability analysis of vehicle lifting load braking detection. J. Jiangsu Univ. Nat. Sci. Ed. 2017, 38, 632–637. [Google Scholar]
- Huang, W.Y.; Fu, W.J.; Yu, M.J.; Fan, Y.Y.; Wang, Q. Development and research on anti-force adjustable distance roller brake testing platform. Automob. Technol. 2016, 11, 19–24. [Google Scholar]
- Huang, W.Y.; Wang, G.C.; Fan, Y.Y.; Yu, M.J.; Fu, W.J. Research on vehicle braking performance loading detection method. Auto Time. 2016, 12, 4. [Google Scholar]
- Zhao, Y.X. Detection and analysis of brake force based on roller opposite-force brake tester. China Meas. Test. 2015, 41, 10–13. [Google Scholar]
- Li, S.M.; Zhang, J.S.; Chen, C.F.; Wang, L.; Zhang, Y. Comparative analysis of impact factors on flat plate and anti-force rolling brake testing platform tests. China Meas. Test. 2015, 41, 125–128. [Google Scholar]
- Firdaus, R.M.; Supriyo, B.; Suharjono, A. Analysis of braking force efficiency measurements for various braking strategy applied for vehicle tested on roller brake tester. J. Phys. Conf. Ser. 2020, 1517, 012079. [Google Scholar] [CrossRef]
- Deng, X.F.; Gu, Z.P.; Gu, J.; Xu, C.F. Analysis on factors influencing brake performance test of two-axle coaches. Bus Coach. Technol. Res. 2021, 2, 55–58. [Google Scholar]
- Hou, B.S.; Sun, X.P.; Zong, X.; Yuan, X.X.; Yang, Z.; Wang, J.F. Abnormal analysis of motor vehicle brake inspection based on similarity. In Proceedings of the 6th International Conference on Information Science, ISCTT 2021, Xishuangbanna, China, 26–28 November 2021; pp. 1–5. [Google Scholar]
- Shi, X. Evaluation of uncertainty of measurement results of automobile loading brake test bench. China Metrol. 2023, 4, 74–78. [Google Scholar]
- JJG 1160-2019; Vehicle Loading Brake Tester. China Standard Press: Beijing, China, 2019.
- Huang, W.Y.; Fan, Y.Y.; Yu, M.J. Research on loaded brake performance test of trucks. Int. J. Heavy Veh. Syst. 2020, 27, 648–662. [Google Scholar] [CrossRef]
- GB/T 13564-2022; Roller Opposite Forces Type Automobile Brake Tester. China Standard Press: Beijing, China, 2022.
- Yu, Z.S. Automotive Theory, 6th ed.; Mechanical Industry Press: Beijing, China, 2019. [Google Scholar]
- Arricale, V.M.; Genovese, A.; Tomar, A.S.; Kural, K.; Sakhnevych, A. Non-linear model of predictive control-based slip control ABS including tyre tread thermal dynamics. Appl. Mech. 2022, 3, 855–888. [Google Scholar] [CrossRef]
Disclaimer/Publisher’s Note: The statements, opinions and data contained in all publications are solely those of the individual author(s) and contributor(s) and not of MDPI and/or the editor(s). MDPI and/or the editor(s) disclaim responsibility for any injury to people or property resulting from any ideas, methods, instructions or products referred to in the content. |
© 2025 by the authors. Licensee MDPI, Basel, Switzerland. This article is an open access article distributed under the terms and conditions of the Creative Commons Attribution (CC BY) license (https://creativecommons.org/licenses/by/4.0/).









