An Improved Fault Diagnosis Approach Using LSSVM for Complex Industrial Systems
Abstract
:1. Introduction
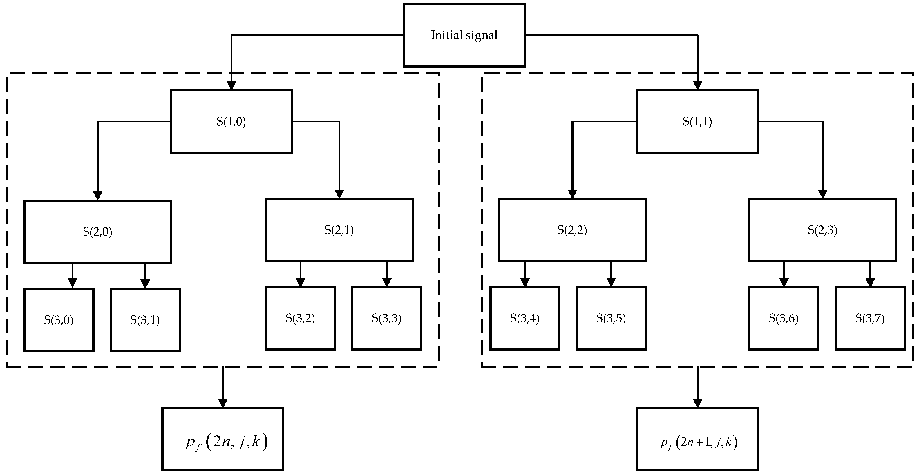
2. Signal Decomposition and Feature Extraction-Based Orthogonal Wavelet Packet Transform
3. Improved Fault Diagnosis Approach Using WMPSO-LSSVM
3.1. Least Squares Support Vector Machine
- Linear kernel function:
- Polynomial kernel function:
- Gaussian kernel function:
3.2. WMPSO-Based Parameters Optimization of LSSVM
| Algorithm 1 The process of the WMPSO parameters’ optimization |
Initialize is the position of the particle Calculate fitness function Individual extreme values of particles can be calculated by fitness function while do T is the maximum number of iterations performed by the algorithm for to n do Update velocity based on Equation (19) Update position based on Equation (20) if then Calculate based on Equation (25) Calculate based on Equation (24) Update position based on Equation (23) end if Calculate fitness function Update and end for end while |
3.3. Design of WMPSO-LSSVM-Based Fault Diagnosis Scheme for Industrial Systems
- 1.
- Decompose the composite fault data of industrial systems based on the orthogonal wavelet packet algorithm and extract the fault characteristics;
- 2.
- Take the extracted characteristics as the input to the WVPSO-LSSVM identification model, training to obtain the regularization coefficient C and kernel parameter . The training process is summarized as follows:
- Initialize the following parameters: the evolution algebra of the particles, the learning factors and , the regularization factor C, the kernel parameter , and the historical optimal kernel parameter ;
- Calculate the new information of the C and , and update a new generation of the particles;
- Calculate the fitness value of the particles according to the fitness function, and update the individual and global optimal values of C and on this basis;
- Evaluate whether the maximum number of iterations or searching boundaries has been reached. If so, store the C and , and construct the WMPSO-LSSVM-based identification model;
- 3.
- Take the extracted characteristics as the input to the WVPSO-LSSVM identification model, testing to obtain the classification result.
4. Experimental Applications for Industrial Systems Based on WMPSO-LSSVM
- States 2 and 7 can be distinguished via the vibration index;
- States 3 and 5 can be distinguished via the impulsion and tolerance indices;
- States 5 and 7 can be distinguished via the impulsion and tolerance indices;
- States 3 and 5 can be distinguished via the peak index;
- States 2 and 7 can also be distinguished via the kurtosis index, as can states 2 and 3.
5. Conclusions
Author Contributions
Funding
Informed Consent Statement
Data Availability Statement
Acknowledgments
Conflicts of Interest
Notations
| square-intergrable space | |
| wavelet subspace | |
| wavelet function in wavelet packet algorithm | |
| scale subspace | |
| Hilbert space | |
| orthogonal wavelet packet basis | |
| low-pass filter coefficients | |
| high-pass filter coefficients | |
| scale function in wavelet packet | |
| original signal | |
| a sequence of transformation coefficients in wavelet packet | |
| energy distribution | |
| w | the perpendicular vector in LSSVM |
| b | an offset of the hyperplane in LSSVM |
| C | regularization parameter in LSSVM |
| the fluctuations of the error in LSSVM | |
| Lagrange multiplier of the original problem | |
| Lagrange multiplier of the additional slack variables | |
| kernel function | |
| the velocity of the ith particle | |
| the position of the ith particle | |
| kernel parameter of the Gaussian kernel function | |
| m | weight coefficient in PSO |
| learning factor in PSO | |
| learning factor in PSO | |
| random number uniformly distributed in [0, 1] | |
| the best particle that indicates the global best | |
| the best particle that indicates the local best | |
| S | particle swarm |
| wavelet function in the mutation wavelet algorithm | |
| scale parameter in the mutation wavelet algorithm | |
| shape parameter | |
| t | the current iteration number |
| T | the maximum number of iterations |
| g | limit of scale parameter |
| the new position of the disturbed particle | |
| the mutation rate | |
| the global best of the ith particle | |
| wavelet function basis in Morlet | |
| the best particle that indicates the global best of the disturbed particle | |
| the best particle that indicates the individual best of the disturbed particle | |
| the historical optimal kernel parameter |
References
- Yuan, H.D.; Wu, N.L.; Chen, X.Y.; Wang, Y. Fault Diagnosis of Rolling Bearing Based on Shift Invariant Sparse Feature and Optimized Support Vector Machine. Machines 2021, 9, 98. [Google Scholar] [CrossRef]
- Espinoza-Sepulveda, N.; Sinha, J. Mathematical Validation of Experimentally Optimized Parameters Used in a Vibration-Based Machine-Learning Model for Fault Diagnosis in Rotating Machines. Machines 2021, 9, 155. [Google Scholar] [CrossRef]
- Nguyen, V.; Hoang, D.T.; Tran, X.T.; Van, M.; Kang, H.J. A Bearing Fault Diagnosis Method Using Multi-Branch Deep Neural Network. Machines 2022, 9, 345. [Google Scholar] [CrossRef]
- Chen, H.; Chai, Z.; Jiang, B.; Huang, B. Data-driven fault detection for dynamic systems with performance degradation: A unified transfer learning framework. IEEE Trans. Instrum. Meas. 2020, 70, 3504712. [Google Scholar] [CrossRef]
- Ran, G.; Liu, J.; Li, C.; Lam, H.-K.; Li, D.; Chen, H. Fuzzy-Model-Based Asynchronous Fault Detection for Markov Jump Systems with Partially Unknown Transition Probabilities: An Adaptive Event-Triggered Approach. IEEE Trans. Fuzzy Syst. 2022, 1–10. [Google Scholar] [CrossRef]
- Gao, Z.W.; Cecati, C.; Ding, S.X. A Survey of Fault Diagnosis and Fault-Tolerant Techniques-Part I: Fault Diagnosis with Model-Based and Signal-Based Approaches. IEEE Trans. Ind. Electron. 2015, 62, 3757–3767. [Google Scholar] [CrossRef] [Green Version]
- Chadha, G.S.; Panambilly, A.; Schwung, A.; Ding, S.X. Bidirectional deep recurrent neural networks for process fault classification. ISA Trans. 2021, 106, 330–342. [Google Scholar] [CrossRef]
- Wang, L.; Zhang, Z.J.; Long, H.; Xu, J.; Liu, R. Wind Turbine Gearbox Failure Identification with Deep Neural Networks. IEEE Trans. Ind. Inform. 2017, 13, 1360–1368. [Google Scholar] [CrossRef]
- Chen, H.T.; Li, L.L.; Shang, C.; Huang, B. Fault Detection for Nonlinear Dynamic Systems with Consideration of Modeling Errors: A Data-Driven Approach. IEEE Trans. Cybern. 2022, 1–11. [Google Scholar] [CrossRef]
- Javaid, A.; Javaid, N.; Wadud, Z.; Saba, T.; Sheta, O.E.; Saleem, M.Q.; Alzahrani, M.E. Machine Learning Algorithms and Fault Detection for Improved Belief Function Based Decision Fusion in Wireless Sensor Networks. Sensors 2019, 19, 1334. [Google Scholar] [CrossRef] [Green Version]
- Moreno, A.P.; Santiago, O.L.; de Lazaro, J.M.B.; Moreno, E.G. Comparative Evaluation of Classification Methods Used in the Fault Diagnosis of Industrial Processes. IEEE Lat. Am. Trans. 2013, 11, 682–689. [Google Scholar] [CrossRef]
- Ebrahimi, B.M.; Faiz, J. Diagnosis and performance analysis of three-phase permanent magnet synchronous motors with static, dynamic and mixed eccentricity. IET Electr. Power Appl. 2010, 4, 53–66. [Google Scholar] [CrossRef]
- Zuo, M.J.; Xiang, G.; Hu, S. Fault diagnosis of the constant current remote power supply system in CUINs based on the improved water cycle algorithm. India J. Geo-Mar. Sci. 2021, 50, 914–921. [Google Scholar]
- Zhao, Y.P.; Wang, J.J.; Li, X.Y.; Peng, G.J.; Yang, Z. Extended least squares support vector machine with applications to fault diagnosis of aircraft engine. ISA Trans. 2020, 97, 189–201. [Google Scholar] [CrossRef]
- Heidari, M.; Homaei, H.; Golestanian, H.; Heidari, A. Fault diagnosis of gearboxes using wavelet support vector machine, least square support vector machine and wavelet packet transform. J. Vibroeng. 2016, 18, 860–875. [Google Scholar]
- Milosevic, N.; Rackovic, M. Classification based on Missing Features in Deep Convolutional Neural Networks. Neural Netw. World 2019, 29, 221–234. [Google Scholar] [CrossRef]
- Chen, H.; Chen, Z.; Chai, Z.; Jiang, B.; Huang, B. A single-side neural network-aided canonical correlation analysis with applications to fault diagnosis. IEEE Trans. Cybern. 2021, 1–13. [Google Scholar] [CrossRef]
- Chen, H.T.; Chai, Z.; Dogru, O.; Jiang, B.; Huang, B. Data-Driven Designs of Fault Detection Systems via Neural Network-Aided Learning. IEEE Trans. Neural Netw. Learn. Syst. 2021, 1–12. [Google Scholar] [CrossRef]
- Landauskas, M.; Cao, M.; Ragulskis, M. Permutation entropy-based 2D feature extraction for bearing fault diagnosis. Nonlinear Dyn. 2020, 102, 1717–1731. [Google Scholar] [CrossRef]
- Kherif, O.; Benmhamed, Y.; Teguar, M.; Boubakeur, A.; Ghoneim, S.S. Accuracy Improvement of Power Transformer Faults Diagnostic Using KNN Classifier with Decision Tree Principle. IEEE Access 2021, 9, 81693–81701. [Google Scholar] [CrossRef]
- Liu, Y.W.; Cheng, Y.Q.; Zhang, Z.Z.; Wu, J. Multi-information Fusion Fault Diagnosis Based on KNN and Improved Evidence Theory. J. Vib. Eng. Technol. 2022, 10, 841–852. [Google Scholar] [CrossRef]
- Liu, T.Y.; Luo, H.; Kaynak, O.; Yin, S. A Novel Control-Performance-Oriented Data-Driven Fault Classification Approach. IEEE Syst. J. 2020, 14, 1830–1839. [Google Scholar] [CrossRef]
- Ma, X.; Hu, Y.; Wang, M.H.; Li, F.; Wang, Y. Degradation State Partition and Compound Fault Diagnosis of Rolling Bearing Based on Personalized Multilabel Learning. IEEE Trans. Instrum. Meas. 2021, 70, 1–11. [Google Scholar] [CrossRef]
- Gan, X.; Lu, H.; Yang, G.Y.; Liu, J. Rolling Bearing Diagnosis Based on Composite Multiscale Weighted Permutation Entropy. Entropy 2018, 20, 821. [Google Scholar] [CrossRef] [PubMed] [Green Version]
- Djeziri, M.A.; Djedidi, O.; Morati, N.; Seguin, J.L.; Bendahan, M.; Contaret, T. A temporal-based SVM approach for the detection and identification of pollutant gases in a gas mixture. Appl. Intell. 2021, 52, 6065–6078. [Google Scholar] [CrossRef]
- Suykens, J.A.K.; Vandewalle, J. Least squares support vector machine classifiers. Neural Process Lett. 1999, 9, 293–300. [Google Scholar] [CrossRef]
- Zhang, J.L. Fault Diagnosis of Nonlinear Analog Circuit Based on Generalized Frequency Response Function and LSSVM Classifier Fusion. Math. Probl. Eng. 2020, 2020, 8274570. [Google Scholar] [CrossRef]
- Fu, Y.X.; Jia, L.M.; Qin, Y.; Yang, J. Product function correntropy and its application in rolling bearing fault identification. Measurement 2017, 97, 88–99. [Google Scholar] [CrossRef]
- Zhang, K.; Su, J.P.; Sun, S.; Liu, Z.; Wang, J.; Du, M.; Liu, Z.; Zhang, Q. Compressor fault diagnosis system based on PCA-PSO-LSSVM algorithm. Sci. Prog. 2021, 104, 1–16. [Google Scholar] [CrossRef] [PubMed]
- Xu, H.B.; Chen, G.H. An intelligent fault identification method of rolling bearings based on LSSVM optimized by improved PSO. Mech. Syst. Signal Process. 2013, 35, 167–175. [Google Scholar] [CrossRef]
- Deng, W.; Yao, R.; Zhao, H.M.; Yang, X.; Li, G. A novel intelligent diagnosis method using optimal LS-SVM with improved PSO algorithm. Soft Comput. 2019, 23, 2445–2462. [Google Scholar] [CrossRef]
- Yuan, H.D.; Chen, J.; Dong, G.M. Bearing Fault Diagnosis Based on Improved Locality-Constrained Linear Coding and Adaptive PSO-Optimized SVM. Math. Probl. Eng. 2017, 2017, 7257603. [Google Scholar] [CrossRef] [Green Version]
- Zhang, D.D.; Xiang, W.G.; Cao, Q.W.; Chen, S. Application of incremental support vector regression based on optimal training subset and improved particle swarm optimization algorithm in real-time sensor fault diagnosis. Appl. Intell. 2020, 51, 3323–3338. [Google Scholar] [CrossRef]
- Zhang, Q.F.; Chen, S.; Fan, Z.P. Bearing fault diagnosis based on improved particle swarm optimized VMD and SVM models. Adv. Mech. Eng. 2021, 13, 1–12. [Google Scholar] [CrossRef]
- Liu, M.G.; Li, X.S.; Lou, C.Y.; Jiang, J. A Fault Detection Method Based on CPSO-Improved KICA. Entropy 2019, 21, 668. [Google Scholar] [CrossRef] [PubMed] [Green Version]
- Wang, H.; Peng, M.J.; Hines, J.W.; Zheng, G.Y.; Liu, Y.K.; Upadhyaya, B.R. A hybrid fault diagnosis methodology with support vector machine and improved particle swarm optimization for nuclear power plants. ISA Trans. 2020, 95, 358–371. [Google Scholar] [CrossRef] [PubMed]




























| Description of Seven States | Vibration Index | Impulsion Index | Tolerance Index | Peak Index | Kurtosis Index |
|---|---|---|---|---|---|
| State 1: missing gear teeth and | 1.1975 | 2.5531 | 2.9015 | 2.1319 | 3.0860 |
| outer ring wear of right bearing | 1.3132 | 6.8919 | 8.2115 | 5.3947 | 4.1036 |
| State 2: missing gear teeth and | 1.2293 | 3.1451 | 3.6689 | 2.5414 | 2.7140 |
| lack of balls on left bearing | 1.2920 | 4.9894 | 5.9483 | 3.9279 | 3.5757 |
| State 3: missing gear teeth and | 1.2657 | 4.3240 | 5.1791 | 3.3671 | 3.4370 |
| outer ring wear on left bearing | 1.3558 | 7.5935 | 9.1797 | 5.7598 | 5.4632 |
| State 4: missing gear teeth and | 1.2438 | 3.2264 | 3.7968 | 2.5912 | 2.8526 |
| inner ring wear on right bearing | 1.3082 | 5.6916 | 6.8665 | 4.3945 | 4.3278 |
| State 5: wear of gear and | 1.2252 | 2.2448 | 2.6442 | 1.8041 | 2.3961 |
| inner ring wear on left bearing | 1.3433 | 4.2110 | 4.9972 | 3.3652 | 4.6594 |
| State 6: wear of gear and | 1.2257 | 2.6885 | 3.3278 | 2.4035 | 2.7392 |
| lack of balls on left bearing | 1.3227 | 5.3905 | 6.7998 | 4.1221 | 8.0007 |
| State 7: wear of gear and | 1.3007 | 4.3120 | 5.1996 | 3.3152 | 3.6755 |
| outer ring wear on left bearing | 1.3742 | 7.4453 | 9.0964 | 5.5460 | 5.4385 |
| Classification Method | BP | ELM | LSSVM | PSO-LSSVM | WMPSO-LSSVM |
|---|---|---|---|---|---|
| Classification accuracy (%) | 64.29 | 86.50 | 84.17 | 90.00 | 95.71 |
| Method | WMPSO-LSSVM | Linear Regression | |
|---|---|---|---|
| Fault Types | |||
| Bearing inner ring wear and gear tooth loss | 0.0707154 | 0.411682 | |
| Bearing outer ring wear and gear tooth loss | 0.00146932 | 0.2976 | |
| Bearings missing balls and gear tooth loss | 0.00260635 | 0.545191 | |
| Seven types of fault features | 0.0224879 | 0.304906 | |
Publisher’s Note: MDPI stays neutral with regard to jurisdictional claims in published maps and institutional affiliations. |
© 2022 by the authors. Licensee MDPI, Basel, Switzerland. This article is an open access article distributed under the terms and conditions of the Creative Commons Attribution (CC BY) license (https://creativecommons.org/licenses/by/4.0/).
Share and Cite
Guan, S.; Huang, D.; Guo, S.; Zhao, L.; Chen, H. An Improved Fault Diagnosis Approach Using LSSVM for Complex Industrial Systems. Machines 2022, 10, 443. https://doi.org/10.3390/machines10060443
Guan S, Huang D, Guo S, Zhao L, Chen H. An Improved Fault Diagnosis Approach Using LSSVM for Complex Industrial Systems. Machines. 2022; 10(6):443. https://doi.org/10.3390/machines10060443
Chicago/Turabian StyleGuan, Shuyue, Darong Huang, Shenghui Guo, Ling Zhao, and Hongtian Chen. 2022. "An Improved Fault Diagnosis Approach Using LSSVM for Complex Industrial Systems" Machines 10, no. 6: 443. https://doi.org/10.3390/machines10060443
APA StyleGuan, S., Huang, D., Guo, S., Zhao, L., & Chen, H. (2022). An Improved Fault Diagnosis Approach Using LSSVM for Complex Industrial Systems. Machines, 10(6), 443. https://doi.org/10.3390/machines10060443

