A New Mineral Calcioveatchite, SrCaB11O16(OH)5·H2O, and the Veatchite–Calcioveatchite Isomorphous Series
Abstract
1. Introduction
2. Materials
2.1. Calcioveatchite and Veatchite from the Nepskoe Deposit
2.2. Veatchite from Other Localiies
3. Methods
4. Results
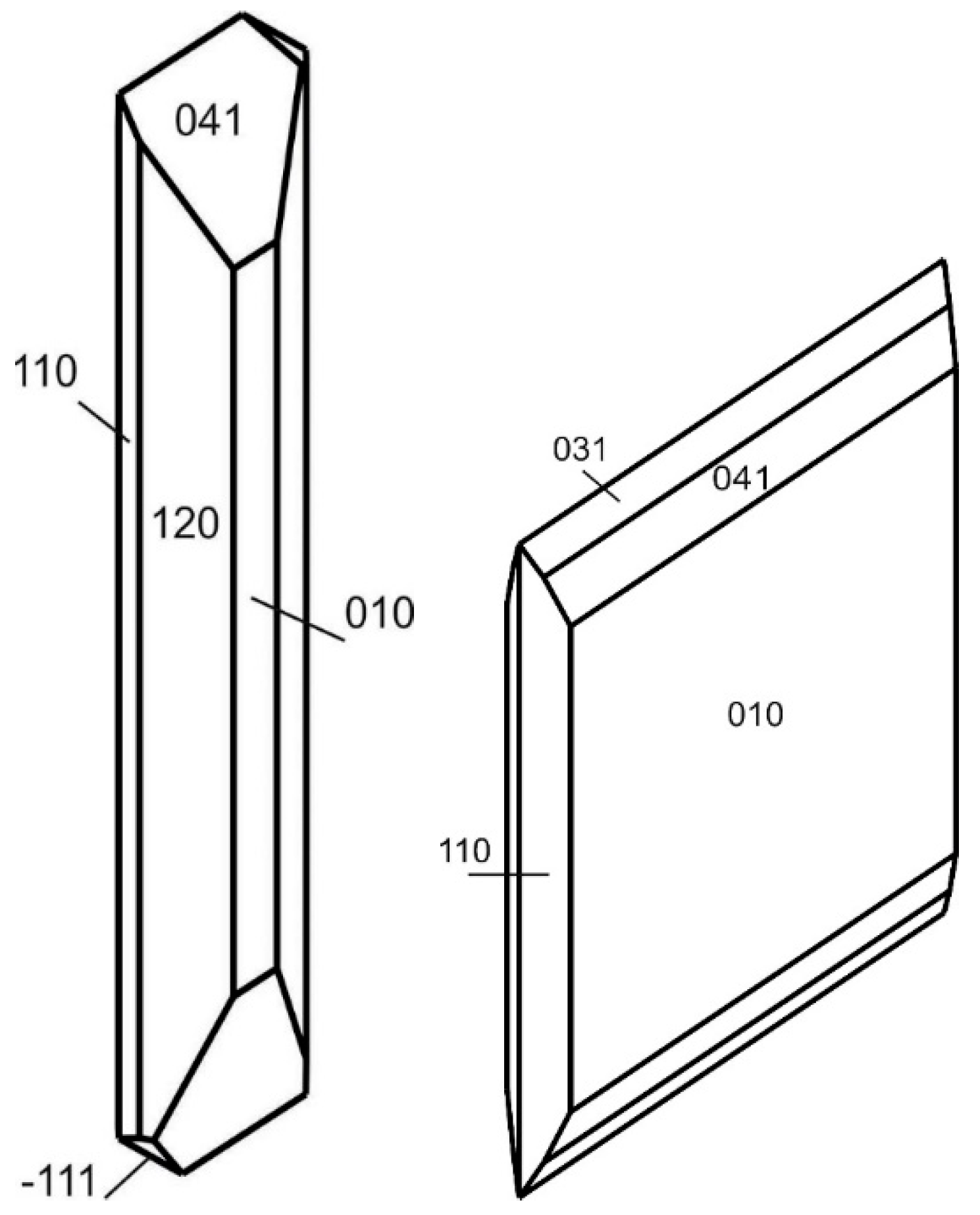
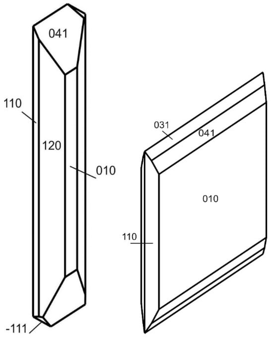
4.1. Optical Data
4.2. Infrared Spectroscopy
4.3. Chemical Composition
4.4. X-ray Crystallography and Crystal Structure of Calcioveatchite
5. Discussion
5.1. Crystal Structure and Crystal Chemical Features
5.2. The Veatchite–Calcioveatchite Isomorphous Series
6. Conclusions and Implications
Author Contributions
Funding
Data Availability Statement
Acknowledgments
Conflicts of Interest
References
- Grew, E.S.; Anovitz, L.M. (Eds.) Boron: Mineralogy, Petrology, and Geochemistry. Reviews in Mineralogy and Geochemistry; Mineralogical Society of America, De Gruyter: Berlin, Germany, 1996; Volume 33, 863p. [Google Scholar]
- Switzer, G. Veatchite, a new calcium borate from Lang, California. Am. Mineral. 1938, 23, 409–411. [Google Scholar]
- Murdoch, J. Crystallography of veatchite. Am. Mineral. 1939, 24, 130–135. [Google Scholar]
- Switzer, G.; Brannock, W.W. Composition of veatchite. Am. Mineral. 1950, 35, 90–92. [Google Scholar]
- Stewart, F.H.; Chalmers, R.A.; Phillips, R.B. Veatchite from the Permian evaporites of Yorkshire. Mineral. Mag. 1954, 30, 389–392. [Google Scholar] [CrossRef]
- Kramer, H.C.; Allen, R.D. A restudy of bakerite, priceite, and veatchite. Am. Mineral. 1956, 41, 689–700. [Google Scholar]
- Clark, J.R.; Mrose, M.E.; Perloff, A.; Burley, G. Studies of borate minerals. (VI): Investigation of veatchite. Am. Mineral. 1959, 44, 1141–1149. [Google Scholar]
- Braitsch, O. Über p-Veatchit, eine neue Veatchit-Varietät aus dem Zechsteinsalz. Beiträge Mineral. Petrogr. 1959, 6, 352–356. [Google Scholar]
- Clark, J.R.; Mrose, M.E. Veatchite and p-veatchite. Am. Mineral. 1960, 45, 1221–1229. [Google Scholar]
- Beevers, C.A.; Stewart, F.H. p-Veatchite from Yorkshire. Mineral. Mag. 1960, 32, 500–501. [Google Scholar] [CrossRef]
- Kondrat’eva, V.V. X-ray study of p-veatchite from halogen rocks. Rentgenografiya Mineral’nogi Syr’ya 1964, 4, 19–24. (In Russian) [Google Scholar]
- Kondrat’eva, V.V. Formula of p-veatchite from halogen rocks. Rentgenografiya Mineral’nogi Syr’ya 1966, 5, 66–68. (In Russian) [Google Scholar]
- Bocharov, V.M.; Avrova, N.P. On veatchite from halogen deposits. In Materials of the Session on 150-years Anniversary of All-Union Mineralogical Society; KazSSR Academy of Sciences Publishing: Alma-Ata, Kazakhstan, 1969; pp. 35–36. [Google Scholar]
- Gandymov, O.; Rumanova, I.M.; Belov, N.V. Crystal structure of p-veatchite 4SrO·11B2O3·7H2O = Sr4B22O34·7H2O = 2Sr2[B5O8(OH)]2·B(OH)3·H2O. Dokl. Akad. Nauk SSSR 1968, 180, 1216–1219. (In Russian) [Google Scholar]
- Rumanova, I.M.; Gandymov, O. The crystal structure of the natural strontium borate p-veatchite Sr2[B5O8(OH)]2·B(OH)3·H2O. Kristallografiya 1971, 16, 99–106. (In Russian) [Google Scholar]
- Clark, J.R.; Christ, C.L. Crystal structure of veatchite. Naturwissenschaften 1968, 55, 648. [Google Scholar] [CrossRef]
- Clark, J.R.; Christ, C.L. Veatchite: Crystal structure and correlation with p-veatchite. Am. Mineral. 1971, 56, 1934–1954. [Google Scholar]
- Rumanova, I.M.; Gandymov, O.; Belov, N.V. The crystal structure of veatchite and its relationship to the structure of p-veatchite. Kristallografiya 1971, 16, 286–291. (In Russian) [Google Scholar]
- Kumbasar, I. Veatchite-A, a new modification of veatchite. Am. Mineral. 1979, 64, 362–366. [Google Scholar]
- Grice, J.D.; Pring, A. Veatchite: Structural relationships of the three polytypes. Am. Mineral. 2012, 97, 489–495. [Google Scholar] [CrossRef]
- Apollonov, V.N.; Dolinina, Y.V.; Dorokhova, G.I.; Kuznetsov, I.E.; Piloyan, G.A.; Sokolov, V.N.; Sultanova, E.A. Ca-veatchite from the Nepskoe potassium salt deposit. Mineral. Zhurnal 1989, 11, 78–83. (In Russian) [Google Scholar]
- Rastsvetaeva, R.K.; Khomyakov, A.P.; Sokolova, T.N. Crystal structure of p-veatchite with high-calcium content and its place in the series of stratified borates with the [B5O8(OH)]2− radical. Crystallogr. Rep. 1993, 38, 180–185. [Google Scholar]
- Semeykina, L.K.; Kozlova, V.N. Sylvinites of the Nepa basin. In Sedimentary Formations and Conditions of Their Formation; Nauka Publishing: Novosibirsk, Russia, 1984; pp. 143–148. (In Russian) [Google Scholar]
- Britvin, S.N.; Dolivo-Dobrovolsky, D.V.; Krzhizhanovskaya, M.G. Software for processing the X-ray powder diffraction data obtained from the curved image plate detector of Rigaku RAXIS Rapid II diffractometer. Zap. Ross. Mineral. Obs. 2017, 146, 104–107. (In Russian) [Google Scholar]
- Libowitzky, E. Correlation of O–H stretching frequencies and O–H···O hydrogen bond lengths in minerals. Monatshefte Chem. 1999, 130, 1047–1059. [Google Scholar] [CrossRef]
- Mandarino, J.A. The Gladstone-Dale relationship, Part IV. The compatibility concept and its application. Can. Mineral. 1981, 19, 441–450. [Google Scholar]
- Rigaku Oxford Diffraction. CrysAlisPro Software System, v. 1.171.39.46; Rigaku Corporation: Oxford, UK, 2018. [Google Scholar]
- Sheldrick, G.M. Crystal structure refinement with SHELXL. Acta Crystallogr. 2015, C71, 3–8. [Google Scholar]
- Gagné, O.C.; Hawthorne, F.C. Comprehensive derivation of bond-valence parameters for ion pairs involving oxygen. Acta Crystallogr. 2015, B71, 562–578. [Google Scholar] [CrossRef]
- Ferraris, G.; Ivaldi, G. Bond Valence vs. Bond Length in O···O Hydrogen Bonds. Acta Crystallogr. 1988, B44, 341–344. [Google Scholar] [CrossRef]
- Grice, J.D.; Burns, P.C.; Hawthorne, F.C. Borate minerals. II. A hierarchy of structures based upon the borate fundamental building block. Can. Mineral. 1999, 37, 731–762. [Google Scholar]
- Yamnova, N.A.; Aksenov, S.M.; Eremin, N.N. Modular structure of the veatchite polytypes and of the related pentaborates. New Data Miner. 2014, 49, 75–89. [Google Scholar]
- Grice, J.D. Strontioginorite: Crystal-structure analysis and hydrogen bonding. Can. Mineral. 2005, 43, 1019–1026. [Google Scholar] [CrossRef]
- Pankova, Y.A.; Gorelova, L.A.; Krivovichev, S.V.; Pekov, I.V. The crystal structure of ginorite, Ca2[B14O20(OH)6]∙5H2O, and the analysis of dimensional reduction and structural complexity in the CaO–B2O3–H2O system. Eur. J. Mineral. 2018, 30, 277–287. [Google Scholar] [CrossRef]
- Ferro, O.; Pushcharovsky, D.Y.; Tiyt, S.; Vinogradova, S.A.; Lovskaya, E.V.; Pekov, I.V. Crystal structure of strontian hilgardite. Crystallogr. Rep. 2000, 45, 410–415. [Google Scholar] [CrossRef]
- Pekov, I.V.; Lovskaya, E.V.; Chukanov, N.V.; Zadov, A.E.; Apollonov, V.N.; Pushcharovsky, D.Y.; Ferro, O.; Vinogradova, S.A. Kurgantaite, CaSr[B5O9]Cl∙H2O: Revalidation of the mineral species and new data. Zap. Vserossiiskogo Mineral. Obs. 2001, 130, 71–79. (In Russian) [Google Scholar]
- Grice, J.D.; Gault, R.A.; Van Velthuizen, J. Borate minerals of the Penobsquis and Millstream deposits, southern New Brunswick, Canada. Can. Mineral. 2005, 43, 1469–1487. [Google Scholar] [CrossRef]
- Malinko, S.V.; Khalturina, I.I.; Ozol, A.A.; Bocharov, V.M. Boron Minerals; Nedra Publishing: Moscow, Russia, 1991; 232p. (In Russian) [Google Scholar]








| 1 | 2 | 3 | 4 | 5 | 6 | 7 | 8 | 9 | 10 | 11 | 12 | 13 | 14 | 15 | 16 | 17 | 18 | |
|---|---|---|---|---|---|---|---|---|---|---|---|---|---|---|---|---|---|---|
| wt.% | ||||||||||||||||||
| CaO | 7.05 [6.31–8.02] | 9.26 | 8.10 | 7.29 | 6.57 | 6.42 | 5.51 | 5.36 | 5.11 | 4.22 | 3.70 | 2.86 | 2.34 | 1.42 | 1.14 | 0.23 | 0.11 | 0 |
| SrO | 20.70 [19.37–21.83] | 17.11 | 19.56 | 20.06 | 21.83 | 22.67 | 22.75 | 23.57 | 24.56 | 22.53 | 27.24 | 27.38 | 29.44 | 31.61 | 29.01 | 31.48 | 35.17 | 31.73 |
| B2O3 | 61.96 [61.28–62.52] | 63.22 | 63.14 | 61.93 | 62.10 | 60.70 | 61.90 | 60.76 | 59.46 | 59.94 | 60.03 | 59.90 | 58.31 | 57.49 | 60.99 | 59.26 | 56.44 | 58.62 |
| Total | 99.93 * | 100 * | 90.80 | 89.28 | 90.50 | 89.79 | 90.16 | 89.69 | 89.13 | 89.69 | 90.97 | 90.14 | 90.09 | 90.52 | 91.14 | 90.97 | 91.72 | 100 * |
| formulae calculated based on 22 O atoms per formula unit (apfu) ** | ||||||||||||||||||
| Ca | 0.78 | 1 | 0.87 | 0.80 | 0.72 | 0.68 | 0.61 | 0.60 | 0.56 | 0.48 | 0.38 | 0.33 | 0.25 | 0.16 | 0.14 | 0.03 | 0.01 | 0 |
| Sr | 1.23 | 1 | 1.14 | 1.20 | 1.30 | 1.31 | 1.36 | 1.43 | 1.46 | 1.57 | 1.64 | 1.68 | 1.75 | 1.87 | 1.83 | 1.96 | 2.00 | 2 |
| B | 10.99 | 11 | 10.99 | 11.00 | 10.99 | 11.01 | 11.03 | 10.97 | 10.98 | 10.95 | 10.98 | 10.99 | 11.00 | 10.97 | 11.03 | 11.01 | 10.99 | 11 |
| Iobs | dobs | Icalc * | dcalc ** | h k l |
|---|---|---|---|---|
| 100 | 10.35 | 100 | 10.322 | 020 |
| 12 | 5.633 | 8 | 5.632 | 110 |
| 3 | 5.503 | 2 | 5.527 | -111 |
| 10 | 5.092 | 5 | 5.092 | 120 |
| 4 | 4.481 | 1, 2 | 4.458, 4.421 | 130, 031 |
| 14 | 3.447 | 17 | 3.441 | 060 |
| 13 | 3.362 | 6, 3 | 3.369, 3.357 | 101, 051 |
| 38 | 3.309 | 4, 3, 33 | 3.325, 3.307, 3.303 | 111, -211, -102 |
| 6 | 3.215 | 3 | 3.203 | 121 |
| 3 | 3.181 | 4 | 3.187 | -221 |
| 3 | 2.997 | 3 | 3.012 | -231 |
| 2 | 2.971 | 2 | 2.966 | 160 |
| 3 | 2.923 | 2 | 2.926 | 200 |
| 2 | 2.903 | 1 | 2.898 | 210 |
| 10 | 2.862 | 7 | 2.857 | 012 |
| 7 | 2.839 | 9 | 2.841 | -212 |
| 3 | 2.751 | 2 | 2.763 | -222 |
| 3 | 2.695 | 2 | 2.693 | 230 |
| 2 | 2.631 | 2 | 2.626 | 071 |
| 19 | 2.585 | 23 | 2.580 | 080 |
| 3 | 2.548 | 1 | 2.546 | 240 |
| 9 | 2.390 | 1, 7 | 2.400, 2.388 | -261, 250 |
| 2 | 2.364 | 1, 1 | 2.365, 2.361 | 052, 180 |
| 5 | 2.197 | 6 | 2.199 | 211 |
| 5 | 2.152 | 6 | 2.155 | -113 |
| 6 | 2.070 | 1, 2, 5 | 2.077, 2.066, 2.064 | 270, -133, 0.10.0 |
| 6 | 2.031 | 3, 10 | 2.033, 2.033 | -182, 241 |
| 2 | 2.002 | 4 | 1.998 | -143 |
| 3 | 1.943 | 3 | 1.940 | 152 |
| 5 | 1.918 | 1, 2, 1 | 1.916, 1.918, 1.915 | -282, -153, -253 |
| 2 | 1.863 | 4 | 1.860 | 261 |
| 3 | 1.776 | 1 | 1.769 | 271 |
| 1 | 1.761 | 1 | 1.760 | 1.10.1 |
| 2 | 1.653 | 2 | 1.651 | -204 |
| 1 | 1.591 | 1 | 1.592 | 291 |
| 1 | 1.583 | 1 | 1.582 | -314 |
| 1 | 1.506 | 1 | 1.507 | -451 |
| 1 | 1.425 | 1 | 1.423 | -3.11.2 |
| 1 | 1.398 | 1 | 1.396 | 2.13.0 |
| Formula | (Sr0.90Ca0.10)(Ca0.69Sr0.31)B11O16(OH)5·H2O |
|---|---|
| Formula weight | 615.89 |
| Temperature, K | 293(2) |
| Radiation and wavelength, Å | MoKα; 0.71073 |
| Crystal system, space group, Z | Monoclinic, P21, 2 |
| Unit-cell parameters, Å/° | a = 6.7030(3) b = 20.6438(9) β = 119.153(7) c = 6.6056(3) |
| V, Å3 | 798.26(8) |
| Absorption coefficient μ, mm-1 | 4.470 |
| F000 | 600 |
| Crystal size, mm | 0.10 × 0.41 × 0.60 |
| Diffractometer | Xcalibur S CCD |
| Absorption correction | Gaussian |
| θ range, ° | 3.480–28.280 |
| Index ranges | −8 ≤ h ≤ 8, −27 ≤ k ≤ 27, −8 ≤ l ≤ 8 |
| Reflections collected | 13,834 |
| Unique reflections | 3947 (Rint = 0.0566) |
| Unique reflections [I > 2σ(I)] | 3727 |
| Refinement method | Full-matrix least-squares on F2 |
| Number of refined parameters | 334 |
| Final R indices [I > 2σ(I)] | R1 = 0.0420, wR2* = 0.0890 |
| R indices (all data) | R1 = 0.0462, wR2* = 0.0912 |
| GoF | 1.040 |
| Largest diff. peak/hole, e/Å3 | 0.82 and −0.56 |
| Site | x | y | z | Ueq | s.o.f. |
|---|---|---|---|---|---|
| Sr | 0.38068(10) | 0.73563(3) | 0.19425(11) | 0.01048(18) | Sr0.902(8)Ca0.098 |
| Ca | 0.92530(17) | 0.34818(5) | 0.47827(18) | 0.0116(3) | Ca0.686(7)Sr0.314 |
| B1 | 0.3913(13) | 0.8851(5) | 0.1961(14) | 0.0120(18) * | B1.00 |
| B2 | 0.3381(12) | 0.3625(4) | 0.3774(12) | 0.0113(15) | B1.00 |
| B3 | 0.1879(13) | 0.9880(4) | 0.1075(16) | 0.0170(17) | B1.00 |
| B4 | 0.9719(12) | 0.8858(4) | 0.0165(13) | 0.0121(15) | B1.00 |
| B5 | 0.4243(13) | 0.3682(4) | 0.0629(13) | 0.0125(15) | B1.00 |
| B6 | 0.5209(12) | 0.2046(4) | 0.2988(13) | 0.0114(15) | B1.00 |
| B7 | 0.7903(11) | 0.7300(4) | 0.0937(12) | 0.0112(14) | B1.00 |
| B8 | 0.1243(12) | 0.2236(3) | 0.2206(12) | 0.0118(16) | B1.00 |
| B9 | 0.0576(12) | 0.7080(4) | 0.5189(12) | 0.0093(16) | B1.00 |
| B10 | 0.4168(15) | 0.5814(5) | 0.1823(16) | 0.0191(19) | B1.00 |
| B11 | 0.7540(14) | 0.1039(4) | 0.4017(15) | 0.0155(16) | B1.00 |
| O1 | 0.0476(8) | 0.6379(3) | 0.4991(9) | 0.0154(12) | O1.00 |
| O2 | 0.7324(6) | 0.2351(3) | 0.4632(7) | 0.0129(9) | O1.00 |
| O3 | 0.8584(7) | 0.7389(3) | 0.3233(7) | 0.0122(9) | O1.00 |
| O4 | 0.5959(7) | 0.8573(3) | 0.3921(8) | 0.0140(11) | O1.00 |
| O5 | 0.4981(7) | 0.3683(2) | 0.3019(8) | 0.0126(11) | O1.00 |
| O6 | 0.9487(7) | 0.2292(3) | 0.2682(7) | 0.0148(10) | O1.00 |
| O7 | 0.4362(7) | 0.2291(3) | 0.0615(7) | 0.0131(10) | O1.00 |
| O8 | 0.3910(9) | 0.9555(3) | 0.2088(10) | 0.0167(13) | O1.00 |
| O9 | 0.6018(7) | 0.3630(2) | 0.0168(8) | 0.0133(11) | O1.00 |
| O10 | 0.3485(7) | 0.2198(2) | 0.3741(7) | 0.0128(11) | O1.00 |
| O11 | 0.8000(7) | 0.8699(2) | 0.0931(8) | 0.0135(10) | O1.00 |
| O12 | 0.9482(7) | 0.7239(3) | 0.0185(8) | 0.0126(11) | O1.00 |
| O13 | 0.1124(7) | 0.3599(2) | 0.2232(8) | 0.0135(10) | O1.00 |
| O14 | 0.5993(8) | 0.6213(3) | 0.2671(11) | 0.0250(13) | O1.00 |
| H14 | 0.727(8) | 0.607(5) | 0.372(12) | 0.037 * | H1.00 |
| O15 | 0.1853(7) | 0.8564(2) | 0.1844(8) | 0.0097(10) | O1.00 |
| O16 | 0.1753(9) | 0.0540(3) | 0.1018(13) | 0.0341(15) | O1.00 |
| H16 | 0.301(9) | 0.074(4) | 0.165(16) | 0.051 * | H1.00 |
| O17 | 0.9847(9) | 0.9561(3) | 0.0050(9) | 0.0177(12) | O1.00 |
| O18 | 0.2207(9) | 0.6148(3) | 0.0953(12) | 0.0302(15) | O1.00 |
| H18 | 0.092(8) | 0.596(4) | 0.043(17) | 0.045 * | H1.00 |
| O19 | 0.7687(8) | 0.0377(3) | 0.4080(11) | 0.0304(14) | O1.00 |
| H19 | 0.657(11) | 0.012(4) | 0.363(16) | 0.046 * | H1.00 |
| O20 | 0.8675(10) | 0.4601(3) | 0.4460(12) | 0.0340(15) | O1.00 |
| H2OA | 0.960(11) | 0.492(3) | 0.48(2) | 0.051 * | H1.00 |
| H2OB | 0.733(6) | 0.475(4) | 0.366(16) | 0.051 * | H1.00 |
| O21 | 0.5436(8) | 0.1335(3) | 0.2970(8) | 0.0153(11) | O1.00 |
| O22 | 0.4334(10) | 0.5155(3) | 0.1902(13) | 0.0340(16) | O1.00 |
| H22 | 0.302(8) | 0.498(5) | 0.132(17) | 0.051 * | H1.00 |
| Sr - O7 2.530(4) - O10 2.548(4) - O12 2.556(4) - O18 2.668(6) - O14 2.695(6) - O2 2.714(4) - O6 2.766(4) - O15 2.802(5) - O4 2.874(5) - O3 2.885(4) - O9 3.005(5) <Sr - O> 2.731 B1 - O8 1.455(11) - O4 1.468(9) - O15 1.469(9) - O9 1.501(9) <B1 - O> 1.47 B2 - O13 1.352(8) - O4 1.367(8) - O5 1.391(8) <B2 - O> 1.370 B3 - O17 1.360(10) - O16 1.363(10) - O8 1.366(10) <B3 - O> 1.36 B4 - O15 1.449(9) - O17 1.459(10) - O13 1.497(9) - O11 1.503(8) <B4 - O> 1.48 B5 - O11 1.347(9) - O9 1.368(8) - O5 1.406(9) <B5 - O> 1.374 | Ca - O20 2.335(6) - O5 2.545(4) - O13 2.555(4) - O11 2.555(5) - O2 2.648(6) - O3 2.656(6) - O15 2.675(4) - O9 2.765(5) - O6 2.863(6) - O4 2.897(4) <Ca - O> 2.649 B6 - O2 1.444(9) - O7 1.472(9) - O21 1.476(9) - O10 1.497(8) <B6 - O> 1.472 B7 - O7 1.356(8) - O3 1.367(8) - O12 1.376(7) <B7 - O> 1.366 B8 - O10 1.345(8) - O6 1.363(8) - O12 1.408(8) <B8 - O> 1.372 B9 - O1 1.453(10) - O2 1.465(8) - O3 1.476(8) - O6 1.493(8) <B9 - O> 1.47 B10 - O18 1.341(10) - O14 1.349(11) - O22 1.364(11) <B10 - O> 1.35 B11 - O1 1.357(10) - O19 1.369(10) - O21 1.376(9) <B11 - O> 1.37 |
| D – H ··· A | D – H | H ··· A | D ··· A | ∠(D – H ··· A) |
|---|---|---|---|---|
| O14 - H14 ··· O1 | 0.849(15) | 1.99(7) | 2.647(7) | 134(9) |
| O16 - H16 ··· O21 | 0.850(15) | 1.87(3) | 2.711(7) | 169(10) |
| O18 - H18 ··· O16 | 0.847(15) | 1.79(2) | 2.636(8) | 172(10) |
| O19 - H19 ··· O8 | 0.852(15) | 1.94(2) | 2.789(8) | 171(9) |
| O20 - H20A ··· O19 O20 - H20B ··· O22 | 0.848(15) 0.847(15) | 1.86(3) 1.95(2) | 2.674(8) 2.800(8) | 161(8) 175(9) |
| O22 - H22 ··· O17 | 0.852(15) | 1.887(18) | 2.738(8) | 177(11) |
| Site | Sr | Ca | B1 | B2 | B3 | B4 | B5 | B6 | B7 | B8 | B9 | B10 | B11 | Σ | H-bonding | Σ |
|---|---|---|---|---|---|---|---|---|---|---|---|---|---|---|---|---|
| O1 | 0.80 | 1.04 | 1.84 | +0.26(O14) | 2.10 | |||||||||||
| O2 | 0.20 | 0.18 | 0.82 | 0.77 | 1.97 | 1.97 | ||||||||||
| O3 | 0.14 | 0.18 | 1.01 | 0.75 | 2.08 | 2.08 | ||||||||||
| O4 | 0.14 | 0.10 | 0.76 | 1.01 | 2.01 | 2.01 | ||||||||||
| O5 | 0.23 | 0.95 | 0.91 | 2.09 | 2.09 | |||||||||||
| O6 | 0.18 | 0.12 | 1.03 | 0.71 | 2.04 | 2.04 | ||||||||||
| O7 | 0.29 | 0.76 | 1.05 | 2.10 | 2.10 | |||||||||||
| O8 | 0.79 | 1.02 | 1.81 | +0.19(O19) | 2.00 | |||||||||||
| O9 | 0.11 | 0.14 | 0.70 | 1.01 | 1.96 | 1.96 | ||||||||||
| O10 | 0.28 | 0.70 | 1.08 | 2.06 | 2.06 | |||||||||||
| O11 | 0.23 | 0.69 | 1.07 | 1.99 | 1.99 | |||||||||||
| O12 | 0.28 | 0.99 | 0.90 | 2.17 | 2.17 | |||||||||||
| O13 | 0.23 | 1.06 | 0.70 | 1.99 | 1.99 | |||||||||||
| O14 = OH | 0.20 | 1.07 | 1.27 | −0.26(O1) | 1.01 | |||||||||||
| O15 | 0.16 | 0.17 | 0.76 | 0.81 | 1.90 | 1.90 | ||||||||||
| O16 = OH | 1.03 | 1.03 | −0.22(O21) +0.26(O18) | 1.07 | ||||||||||||
| O17 | 1.03 | 0.78 | 1.81 | +0.21(O22) | 2.02 | |||||||||||
| O18 = OH | 0.22 | 1.09 | 1.31 | −0.26(O16) | 1.05 | |||||||||||
| O19 = OH | 1.01 | 1.01 | −0.19(O8) +0.24(O20) | 1.06 | ||||||||||||
| O20 = H2O | 0.38 | 0.38 | −0.20(O19) −0.18(O22) | 0.00 | ||||||||||||
| O21 | 0.75 | 0.99 | 1.74 | +0.22(O16) | 1.96 | |||||||||||
| O22 = OH | 1.02 | 1.02 | +0.18(O20) −0.21(O17) | 0.99 | ||||||||||||
| Σ | 2.20 | 1.96 | 3.01 | 3.02 | 3.08 | 2.98 | 2.99 | 3.03 | 3.05 | 3.01 | 3.03 | 3.18 | 3.04 |
| Mineral | Calcioveatchite | Veatchite | ||
|---|---|---|---|---|
| Ideal Formula | SrCaB11O16(OH)5·H2O | Sr2B11O16(OH)5·H2O | ||
| Polytype | 1M | 1M | 2M | 1A |
| Crystal system Space group | Monoclinic P21 | Monoclinic P21 | Monoclinic Cc | Triclinic P–1 |
| a, Å b, Å c, Å α, ° β, ° γ, ° V, Å3 Z | 6.7030 (3) 20.6438 (9) 6.6056 (3) 90 119.153 (7) 90 798.26 (8) 2 | 6.7127 (4) 20.704 (1) 6.6276 (4) 90 119.209 (1) 90 805.4 (2) 2 | 6.6070 (3) 11.7125 (5) 20.6848 (9) 90 91.998 (1) 90 1599.7 (2) 4 | 6.6378 (6) 6.7387 (6) 20.982 (2) 87.860 (1) 82.696 (1) 60.476 (1) 809.7 (2) 2 |
| Source | This work | [20] | ||
Disclaimer/Publisher’s Note: The statements, opinions and data contained in all publications are solely those of the individual author(s) and contributor(s) and not of MDPI and/or the editor(s). MDPI and/or the editor(s) disclaim responsibility for any injury to people or property resulting from any ideas, methods, instructions or products referred to in the content. |
© 2024 by the authors. Licensee MDPI, Basel, Switzerland. This article is an open access article distributed under the terms and conditions of the Creative Commons Attribution (CC BY) license (https://creativecommons.org/licenses/by/4.0/).
Share and Cite
Pekov, I.V.; Zubkova, N.V.; Apollonov, V.N.; Yapaskupt, V.O.; Britvin, S.N.; Pushcharovsky, D.Y. A New Mineral Calcioveatchite, SrCaB11O16(OH)5·H2O, and the Veatchite–Calcioveatchite Isomorphous Series. Minerals 2024, 14, 901. https://doi.org/10.3390/min14090901
Pekov IV, Zubkova NV, Apollonov VN, Yapaskupt VO, Britvin SN, Pushcharovsky DY. A New Mineral Calcioveatchite, SrCaB11O16(OH)5·H2O, and the Veatchite–Calcioveatchite Isomorphous Series. Minerals. 2024; 14(9):901. https://doi.org/10.3390/min14090901
Chicago/Turabian StylePekov, Igor V., Natalia V. Zubkova, Vladimir N. Apollonov, Vasiliy O. Yapaskupt, Sergey N. Britvin, and Dmitry Yu. Pushcharovsky. 2024. "A New Mineral Calcioveatchite, SrCaB11O16(OH)5·H2O, and the Veatchite–Calcioveatchite Isomorphous Series" Minerals 14, no. 9: 901. https://doi.org/10.3390/min14090901
APA StylePekov, I. V., Zubkova, N. V., Apollonov, V. N., Yapaskupt, V. O., Britvin, S. N., & Pushcharovsky, D. Y. (2024). A New Mineral Calcioveatchite, SrCaB11O16(OH)5·H2O, and the Veatchite–Calcioveatchite Isomorphous Series. Minerals, 14(9), 901. https://doi.org/10.3390/min14090901

