Occurrence Characteristics of Lead–Zinc Mine and Low-Flying Aeromagnetic Prospecting in a Forested Region of Yichun City
Abstract
:1. Introduction
2. Theory and Method
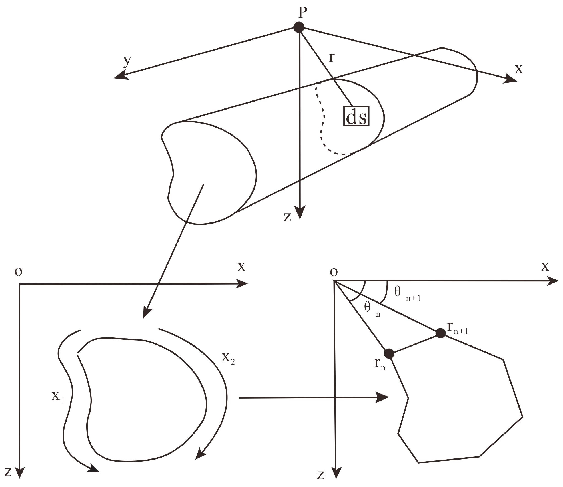
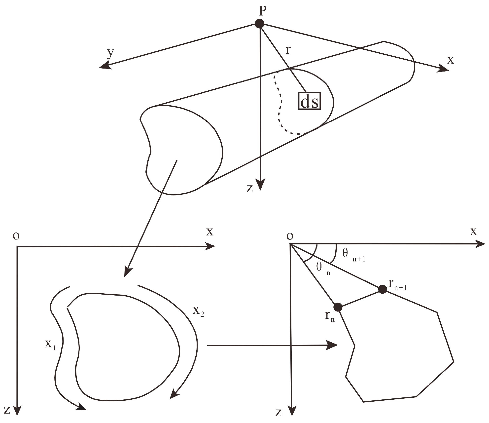
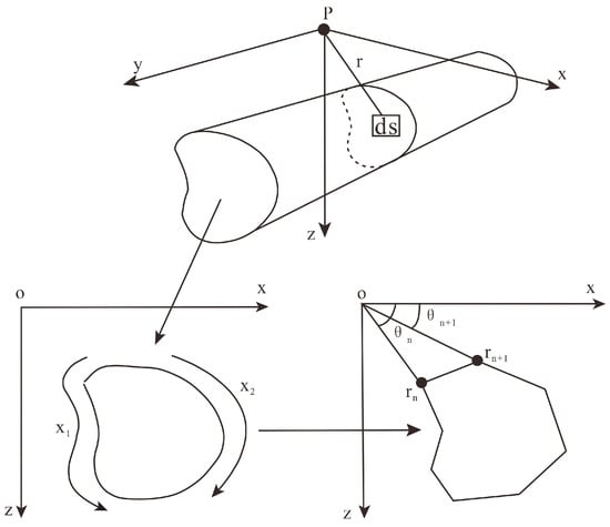
2.1. Method Principle
2.2. Magnetic Data Fitting in 2.5D with Human–Computer Interaction
- (1)
- Import the measured magnetic anomaly data of the profile;
- (2)
- Import the initial model and initial physical parameters;
- (3)
- Add, delete, and modify the field source model based on the comparison between the theoretical anomalies of the module’s forwarding and the measured anomalies;
- (4)
- Continue until the root-mean-square (RMS) error between the theoretical anomalies of the forwarding and the measured anomalies is less than or equal to 10%;
- (5)
3. Introduction to the Research Area
3.1. Location of the Study Area
3.2. Geology of the Study Area
3.2.1. Geological Structure
3.2.2. Stratum
3.2.3. Intrusive Rock
4. Application
4.1. Magnetic Petrophysics
4.2. Data Acquisition
4.3. Data Processing
4.4. Anomaly Extraction
4.4.1. Inference of Anomaly
- I anomaly
- II Anomaly
- III Anomaly
- IV Anomaly
- V Anomaly
- VI Anomaly
- VII Anomaly
4.4.2. Inference of Rock Mass Distribution
4.4.3. Linear Structural Distribution
4.5. Inversion and Interpretation
4.5.1. The Profile of V Anomaly
4.5.2. Human–Computer Interaction Fitting Inversion
5. Discussion and Conclusions
5.1. Discussion
- From the point of view of geological ore-searching signs, according to the tectonic location map of the Yichun area (Figure 5) and the regional geological map of the study area (Figure 6), this aeromagnetic study region is located within the Wuxingzhen–Xilin compound fold belt, which belongs to the Yichun–Yanshou polymetallic metallogenic belt. In addition, there are one large iron ore mine and over ten iron and lead–zinc deposits (points) around the study area. Moreover, the intrusive rocks in the study area are predominantly Late Triassic dioritic granites with lead, zinc, and molybdenum anomalies, and the granite generated in this period is magmatic mixed granite. In the study area, Early Cretaceous fine-grained granite occurs sporadically in the form of dykes, and vein rocks are also developed within the area. These factors make it conducive to the later enrichment of elements such as lead, zinc, molybdenum, thereby creating favorable conditions for mineralization.. Additionally, the Late Triassic–Early Jurassic diorite is a landmark intrusive rock for ore-searching in the area, which demonstrates that the geology of the study area possesses favorable conditions for lead and zinc mineralization.
- Regarding the geophysical ore-searching signs lead–zinc mines have the following aeromagnetic signatures:
- A gently varying weak magnetic field (low, gently positive, negative, or positively and negatively varying magnetic field) as the background field, which typically reflects the mineralizing geological environment (carbonate rocks and acidic and moderately acidic intrusive rocks) of skarn-type deposits (Figure 7b).
- They are typically found around or near strong magnetic anomalies, which may be caused by iron ore or polymetallic iron deposits. Moreover, they are aligned with the spatial distribution of strong magnetic anomalies, indicating that lead–zinc polymetallic deposits are often associated with iron ore or distributed in close proximity.
- The amplitude of the aeromagnetic anomalies of iron polymetallic ores is relatively high, essentially in the range of 550–2500 nT, and several of them are even higher; the aeromagnetic anomalies of lead–zinc polymetallic ores are largely striped or isolated point-like single-peak anomalies (bands), with low and slow peaks, and the amplitude of the anomalies is primarily in the range of 100 nT. The majority of the resolved signals are background noise.
- The majority of AS are weak background fields with isolated anomalies (bands) (Figure 9a). The amplitude is generally 1–2 nT/m, accompanied by iron ore for up to tens of nT/m. Hence, the V anomaly was identified as an anomaly in the study area, a single-peaked anomaly (band).
5.2. Conclusions
- In the Yichun area, there are substantial magnetic differences between the lead–zinc deposits and the surrounding rocks. The dynamic delta wing low-altitude magnetic survey system is characterized by anti-interference and high efficiency and offers clear advantages when locating lead–zinc resources in swamps or forests.
- The Yichun area has seen positive results in exploring lead–zinc resources by applying the low-altitude, high-precision magnetic survey approach. The magnetic basement in the study area is deeper in the north and shallower in the south, with considerable gradient changes. This analysis infers that, in the study area, there are ten linear structures and six rock bodies (veins), pinpointing seven anomaly areas for prospecting, among which the V anomaly is identified to be controlling factors-related and the focus of further works.
Author Contributions
Funding
Data Availability Statement
Acknowledgments
Conflicts of Interest
References
- Zhu, W.P.; Liu, S.H.; Zhu, H.W.; Xu, L.P. Study on the exploration depth of geophysical methods commonly used. Prog. Geophys. 2017, 32, 2608–2618. (In Chinese) [Google Scholar]
- Malozyomov, B.V.; Martyushev, N.V.; Kukartsev, V.V.; Tynchenko, V.S.; Bukhtoyarov, V.V.; Wu, X.; Tyncheko, Y.A.; Kukartsev, V.A. Overview of Methods for Enhanced Oil Recovery from Conventional and Unconventional Reservoirs. Energies 2023, 16, 4907. [Google Scholar] [CrossRef]
- Benítez, M.E.; Prezzi, C.; Ballivián Justiniano, C.A.; Verdecchia, S.O.; De Martino, F.J.; Carlini, M.; Lanfranchini, M.E. Ground magnetic survey and 3D geophysical model of ultrabasic rocks from the Martín García Complex (Buenos Aires, Argentina). J. South Am. Earth Sci. 2023, 121, 104117. [Google Scholar] [CrossRef]
- Hildenbrand, T.G.; Blakely, R.J.; Hinze, W.J.; Keller, G.R.; Langel, R.A.; Nabighian, M.; Roest, W. Aeromagnetic survey over U.S. to advance geomagnetic research. Eos Trans. Am. Geophys. Union 1996, 77, 265–268. [Google Scholar] [CrossRef]
- Isles, D.J.; Rankin, L.R. Geological Interpretation of Aeromagnetic Data; Society of Exploration Geophysicists and Australian Society of Exploration: St. Leonards, NSW, Australia, 2013; ISBN 978-0-643-09809-1. [Google Scholar]
- Olakunle, O.O.; Olumuyiwa, A.A.; Adetola, S.O.; Oluwaseyi, E.O. Hydrocarbon potential evaluation of Middle Benue Basin, East Central Nigeria using high resolution aeromagnetic data. Results Geophys. Sci. 2023, 14, 100058. [Google Scholar]
- Mieth, M.; Jokat, W. Banded iron formation at Grunehogna Craton, East Antarctica—Constraints from aeromagnetic data. Precambrian Res. 2014, 250, 143–150. [Google Scholar] [CrossRef]
- Sparlin, M.A.; Lewis, R.D. Interpretation of the magnetic anomaly over the Omaha Oil Field, Gallatin County, Illinois. Geophysics 2012, 59, 1092–1099. [Google Scholar] [CrossRef]
- Spector, A.; Lawler, T.L. Application of aeromagnetic data to mineral potential evaluation in Minnesota. Geophysics 2012, 60, 1704–1714. [Google Scholar] [CrossRef]
- Stephen, O.I.; Aigbedion, I.; Kesyton, O.O.; Musa, A.B. Assessment of groundwater occurrence in a typical schist belt region in Osun State, Southwestern Nigeria using VES, aeromagnetic dataset, remotely sensed data, and MCDA approaches. Sustain. Water Resour. Manag. 2022, 9, 29. [Google Scholar]
- Ahmed, E.; Sultan, A.; Mahmoud, M.; Mahmoud, A.-A. Exploring mineralization zones using remote sensing and aeromagnetic data, West Allaqi Area, Eastern-Desert, Egypt. Egypt. J. Remote Sens. Space Sci. 2022, 25, 417–433. [Google Scholar]
- Cyril, C.O.; John, O.O.; Oyeshomo, A.V.; Gbadebo, O.O. Mineral exploration of Iwo-Apomu Southwestern Nigeria using aeromagnetic and remote sensing. Egypt. J. Remote Sens. Space Sci. 2022, 25, 371–385. [Google Scholar]
- Hodgson, I.; Corporate Publications; Australian Geological Survey Organisation. Airborne Magnetic and Radiometric Surveys. In AGSO Journal of Australian Geology & Geophysics; Australian Geological Survey Organisation: Canberra, ACT, Australia, 1997; Volume 17, p. 2. ISSN 1320-1271. [Google Scholar]
- Younes, M.; Ahmed, A.; Abdelhalim, M.; Mohammed, O.; Bouchra, D.; Azizi, M.; Yassine, E.-t.; Mohammed, E.A.; Mustapha, B. Aeromagnetic data of the Kelâat M’Gouna inlier (Jbel Saghro, Eastern Anti-Atlas, Morocco): Geotectonic and mining implications. J. Afr. Earth Sci. 2023, 197, 104744. [Google Scholar]
- Lasheen, E.S.R.; Mohamed, W.H.; Ene, A.; Awad, H.A.; Azer, M.K. Implementation of Petrographical and Aeromagnetic Data to Determine Depth and Structural Trend of Homrit Waggat Area, Central Eastern Desert, Egypt. Appl. Sci. 2022, 12, 8782. [Google Scholar] [CrossRef]
- Raana, R.P.; Zeinab, D.; Soumyajit, M.; Leila, H.D.; Tahereh, G.R. Interpretation of aeromagnetic data to detect the deep-seated basement faults in fold thrust belts: NW part of the petroliferous Fars province, Zagros belt, Iran. Mar. Pet. Geol. 2021, 133, 105292. [Google Scholar]
- Tucker, D.H.; Hone, I.G.; Downie, D.; Luyendyk, A.; Horsfall, K.; Anfiloff, V. Aeromagnetic regional survey of onshore Australia. Geophysics 2012, 53, 254–265. [Google Scholar] [CrossRef]
- Huang, L.S.; Jing, R.Z.; Tang, Y.P.; Pei, C.; Zeng, H. Integrated geophysical exploration of Puddy Lake copper nickel mining area, Ontario, Canada. Miner. Resour. Geol. 2018, 32, 534–539. [Google Scholar]
- Eldosouky, A.M.; Elkhateeb, S.O.; Mahdy, A.M.; Saad, A.A.; Fnais, M.S.; Abdelrahman, K.; Andráš, P. Structural analysis and basement topography of Gabal Shilman area, South Eastern Desert of Egypt, using aeromagnetic data. J. King Saud Univ.-Sci. 2022, 34, 101764. [Google Scholar] [CrossRef]
- Lu, N.; Xi, Y.; Zheng, H.; Gao, W.; Li, Y.; Liu, Y.; Cui, Z.; Liao, G.; Liu, J. Development of a Hybrid Fixed-Wing UAV Aeromagnetic Survey System and an Application Study in Chating Deposit. Minerals 2023, 13, 1094. [Google Scholar] [CrossRef]
- Cui, Z.Q.; Xu, Z.L.; Meng, Q.M.; Gao, W.D. Review on exploration effect and characteristics of aeromagnetic survey system based on current three types flying-platform. Comput. Tech. Geophys. Geochem. Explor. 2015, 37, 437–443. [Google Scholar]
- Xi, Y.-Z.; Liao, G.-X.; Lu, N.; Li, Y.-B.; Wu, S. Study on the Aeromagnetic System between Fixed-Wing UAV and Unmanned Helicopter. Minerals 2023, 13, 700. [Google Scholar] [CrossRef]
- Bian, G.; Jin, S.H.; Liu, Q.; Wang, M.N.; Fang, Z.; Sun, C. Application and practice of the powered glider aeromagnetic system in marine magnetisurvey. Hydrogr. Surv. Charting 2022, 42, 13–16. [Google Scholar]
- An, S.L.; Zhou, K.F.; Wang, J.L.; Feng, Q.W. Aeromagnetic survey system with dynamic delta wing and its applications in Kalatage exploration Area. Prog. Geophys. 2019, 34, 1170–1175. [Google Scholar]
- Bona, K.; Soocheol, J.; Eunseok, B.; Seungwook, S.; Seongjun, C. Investigation of Iron Ore Mineral Distribution Using Aero-Magnetic Exploration Techniques: Case Study at Pocheon, Korea. Minerals 2021, 11, 665. [Google Scholar]
- Wang, H.P.; Chen, X.N.; Guo, X.D. Elementary analysis the Anomalies Characteristics of Aeromagnetic and Geomagnetic. World Nonferrous Met. 2019, volume, 186–188. [Google Scholar]
- Bona, K.; Seulki, L.; Gyesoon, P.; Seong-Jun, C. Development of an Unmanned Airship for Magnetic Exploration. Explor. Geophys. 2021, 52, 462–467. [Google Scholar]
- Ahmed, M.; Mohamed, A.; Fahad, A.; Atef, M.M.; Ahmed, A. Detection of Mineralization Zones Using Aeromagnetic Data. Appl. Sci. 2022, 12, 9078. [Google Scholar]
- Anderson, M.; Matti, J.; Jachens, R. Structural model of the San Bernardino basin, California, from analysis of gravity, aeromagnetic, and seismicity data. J. Geophys. Res. Solid Earth 2004, 109. [Google Scholar] [CrossRef]
- Fuentes–Arreazola, M.A.; Núñez, D.; Cupul–Velázquez, A.M.; Núñez–Cornú, F.J. New insights into El Chichón (Chiapas, Mexico) hydrothermal system from an aeromagnetic survey. J. S. Am. Earth Sci. 2023, 122, 104169. [Google Scholar] [CrossRef]
- Varga, A.; Pozsár, A.; Zajzon, N.; Topa, B.; Benkó, Z.; Pál-Molnár, E.; Raucsik, B. Effects of Metasomatism on Granite-Related Mineral Systems: A Boron-Rich Open Greisen System in the Highiş Granitoids (Apuseni Mountains, Romania). Minerals 2023, 13, 1083. [Google Scholar] [CrossRef]
- Ge, M.H.; Zhang, J.J.; Liu, K.; Wang, M.; Li, M. Petrogenesis of the Late Paleozoic to Mesozoic granite from the Xiao Hinggan Mountains-Zhangguangcai Mountains and its geological implications. Acta Petrol. Et Mineral. 2020, 39, 385–405. [Google Scholar]
- Xu, Z.l.; Meng, Q.M.; Li, W.J.; Cui, Z.Q. The aerogeophysical data processing software system based on Oasis Montaj plateform. Comput. Tech. Geophys. Geochem. Explor. 2014, 36, 257–261. [Google Scholar]
- Sun, B.M.; Wu, Y.G.; Guan, Y.W. Application of joint inversion interpretation of gravity and magnetism in Tianchi deep structure of Changbai Mountain. Glob. Geol. 2014, 33, 910–915. [Google Scholar]
- Li, T.L.; Mu, S.M. The research on the methods of interactive interpretation system for gravity and magnetic data. J. Chang. Univ. Earth Sci. 1990, 03, 341–346. [Google Scholar]
- Reeves, C. Aeromagnetic Surveys: Principles, Practice and Interpretation; Geosoft Inc.: Toronto, ON, Canada, 2005. [Google Scholar]
- Hinze, W.J.; Frese, R.V.; Saad, A.H. Gravity and Magnetic Exploration: Principles, Practices, and Applications; Cambridge University Press: New York, NY, USA, 2013. [Google Scholar]
- Han, S.Q.; Wu, G.X.; Zhang, M.H.; Wang, D.P. The structural evolution and prospecting direction of the Yichun Pb, Zn(Ag) metallogenic belt. Jilin Geol. 2005, 04, 32–36. [Google Scholar]
- Liu, Y.M. Metallogenic feature and prospecting signs in Xilin lead-zinc deposit (Erduan-Nangou section), Yichun city, Heilongjiang province. Miner. Resour. Geol. 2003, S1, 335–337. [Google Scholar]
- Han, Z.X.; Hao, Z.P.; Hou, M. Metallogenic series of ore deposits related to Caledonian granitoids in Xiaohingganling region. Miner. Depos. 1995, 14, 293–302. [Google Scholar]
- Yin, B.C.; Ran, Q.C. Metallogenic evolution in Xiaohingganling-Zhangguangcailing region, Heilongjiang province. Miner. Depos. 1997, 16, 44–51. [Google Scholar]
- Su, Y.M. Geological metallogenic background and prospecting direction of polymetallic deposits in Daxinganling area, Heilongiiang province. China Resour. Compr. Util. 2022, 40, 55–57+61. [Google Scholar] [CrossRef]
- Cai, W.J.; Feng, C.Y.; Ni, W.C.; Shen, Z.X.; Fang, J.Q.; Qiu, C.T.; Yang, J.Z.; Qi, C. Analysis and study of aeromagnetic anomalous characteristics of lead-zinc polymetallic deposits in Yichun area. Geophys. Geochem. Explor. 2016, 40, 869–875. [Google Scholar]
- Zhang, E.; Li, M.S.; Lu, H.X.; Li, H.Y.; Quan, X.D.; Wang, B.; Dong, S.F. Application of Weight Evidence Method to Lead-Zinc Metallogenic Prognosis in Yichun Area, Heilongjiang Province. J. Jilin Univ. Earth Sci. Ed. 2017, 47, 1419–1428. [Google Scholar]
- Pueyo, E.L.; Ayala, C.; Izquierdo-Llavall, E.; Rubio, F.M.; Santolaria, P.; Clariana, P.; Soto, R.; Müller, C.O.; Rey-Moral, C.O.; Zehner, B.; et al. Deliverable 6.4. Optimized 3D reconstruction workflow based on gravimetric, structural and petrophysical data. GEOERA 3DGEO-EU, 3D Geomodeling for Europe, project number GeoE.171.005. Report, 2021, 264 p (pp. 103–153). Available online: https://geoera.eu/wp-content/uploads/2021/11/3DGEO-EU_D6.4_Optimized-3D-reconstruction-workflow.pdf (accessed on 31 October 2021).
- Qi, C.; Cai, W.J.; Tian, Y. Analysis of magnetic susceptibility features of rocks and ores in Xiaoxingan mountain metallogenic belt and application. Geophys. Geochem. Explor. 2017, 8, 272–281. [Google Scholar]
- Xu, L.Y.; Yong, L.W.; Qi, C.A.; Shan, G.; Ning, W.; Jie, W.L.; Cheng, Y. Basin structure and multiresource potential based on high-precision airborne gravity and magnetic data. Appl. Geophys. 2022, 19, 433–446. [Google Scholar]
- Xiong, S.Q.; Tong, J.; Ding, Y.Y.; Li, Z.K. Aeromagnetic data and geological structure of continental China: A review. Appl. Geophys. 2016, 13, 227–237. [Google Scholar] [CrossRef]
















| Chronostratigraphic Unit | Rock Type | Susceptibility (10−6 SI) | Natural Remanent Magnetization (10−3 A/m) | |||
|---|---|---|---|---|---|---|
| Samples | Range of Variation | Average | Samples | Range of Variation | ||
| Quaternary | Stomatal basalt, almond-shaped olivine basalt, olivine basalt, basalt | 2102 | 30–26,620 | 4210 | 56 | 687–22,865 |
| Cretaceous | Pyroxene andesite, pyroxene andesite porphyrite, andesite basalt, olivine basalt | 3780 | 6420–33,300 | 18,070 | 151 | 82–5970 |
| Andesite porphyrite, andesite, andesitic tuff, breccia tuff | 3900 | 410–18,400 | 6770 | 244 | 45–6451 | |
| Tuff, tuff lava, perlite | 1620 | 10–8670 | 1890 | 128 | 59–2757 | |
| Dacite, rhyolite, rhyolite porphyry, conglomerate tuff, gravelly tuff, tuffaceous lava | 606 | 10–4830 | 180 | |||
| Jurassic | Tuff, tuffaceous-fused breccia | 270 | 3560–23,700 | 12,100 | ||
| Rhyolite porphyry tuff lava, tuff lava, tuff sandstone | 2172 | 10–13,300 | 4210 | 33 | 80–469 | |
| Rhyolite porphyry | 275 | 70–1480 | 330 | |||
| Triassic | Andesite | 42 | 510–13,690 | 5830 | ||
| Triassic-Permian | Andesitic tuff, tuff lava | 1170 | 10–29,800 | 6050 | 11 | 79–453 |
| Rhyolite porphyry, tuff | 690 | 10–10,600 | 2970 | |||
| Permian-Carboniferous | Tuff, andesitic tuff | 241 | 130–9900 | 1550 | ||
| Ordovician | Gray-green tuff lava | 91 | 190–26,690 | 13,870 | ||
| Cambrian | Rhyolite porphyry tuff lava | 180 | 3100–17,900 | 10,000 | 31 | 47–214 |
| Age | Rock Type | Susceptibility (10−6 SI) | Natural Remanent Magnetization (10−3 A/m) | |||
|---|---|---|---|---|---|---|
| Samples | Range of Variation | Average | Samples | Range of Variation | ||
| Mesozoic | Albitophyre | 150 | 40–100 | 60 | ||
| Alaskite granite, Syenogranite | 5760 | 20–7110 | 2270 | |||
| Biotite granite, Plagiogranite, Granite, Alkali feldspar granite, Granite porphyry | 30,420 | 430–25,300 | 2860 | 216 | 38–584 | |
| Diorite, Pyroxene diorite, Granodiorite | 5820 | 320–49,100 | 12,390 | 147 | 229–5200 | |
| Late Paleozoic | Biotite granite, Plagiogranite, Monzogranite, Alkali feldspar granite | 8580 | 10–7450 | 270 | ||
| Alaskite granite, Porphyritic granodiorite | 3240 | 20–7050 | 2120 | |||
| Granodiorite | 3450 | 340–30,000 | 8580 | |||
| Early Paleozoic | Mixed granite, Porphyritic granite | 600 | 20–220 | 90 | ||
| Cataclastic granite, Syenite granite, Biotite granite, Plagiogranite | 3420 | 10–7660 | 710 | 55 | 0–65 | |
| Granodiorite | 120 | 650–7520 | 2840 | 14 | 32–196 | |
| Diorite | 150 | 400–14,700 | 6750 | |||
| Gabbro | 330 | 1280–45,900 | 15,820 | |||
| Mesoproterozoic | Mixed granite | 300 | 100–1330 | 750 | ||
| Peridotite | 60 | 21530–185,000 | 52,190 | 11 | 3320–8441 | |
| Paleoproterozoic | Mixed rock, Mixed granite, Porphyritic mixed granite, Biotite granite | 930 | 10–670 | 190 | ||
| Biotite monzogranite | 60 | 930–4530 | 2610 | |||
| Ores and Surrounding Rocks | Samples | Susceptibility (10−6 SI) | Natural Remanent Magnetization (10−3 A/m) | ||
|---|---|---|---|---|---|
| Range of Variation | Average | Range of Variation | Average | ||
| Skarn | 3 | 100–7750 | 2430 | ||
| Skarnization marble | 1 | 20–1720 | 300 | ||
| Magnetized hornblende gabbro | 21 | 36,820–23,2420 | 149,850 | ||
| Magnetite | 11 | 164,010–5,947,450 | 701,830 | 91,600–681,400 | 255,000 |
Disclaimer/Publisher’s Note: The statements, opinions and data contained in all publications are solely those of the individual author(s) and contributor(s) and not of MDPI and/or the editor(s). MDPI and/or the editor(s) disclaim responsibility for any injury to people or property resulting from any ideas, methods, instructions or products referred to in the content. |
© 2023 by the authors. Licensee MDPI, Basel, Switzerland. This article is an open access article distributed under the terms and conditions of the Creative Commons Attribution (CC BY) license (https://creativecommons.org/licenses/by/4.0/).
Share and Cite
Ji, N.; Qin, X.; Wu, H.; Wang, Z.; Du, W.; Liu, Y.; Zhang, T.; Zhang, S.; Shi, Q. Occurrence Characteristics of Lead–Zinc Mine and Low-Flying Aeromagnetic Prospecting in a Forested Region of Yichun City. Minerals 2023, 13, 1414. https://doi.org/10.3390/min13111414
Ji N, Qin X, Wu H, Wang Z, Du W, Liu Y, Zhang T, Zhang S, Shi Q. Occurrence Characteristics of Lead–Zinc Mine and Low-Flying Aeromagnetic Prospecting in a Forested Region of Yichun City. Minerals. 2023; 13(11):1414. https://doi.org/10.3390/min13111414
Chicago/Turabian StyleJi, Naixuan, Xiaoxiao Qin, Heyu Wu, Zi Wang, Wei Du, Yun Liu, Tiehan Zhang, Shengze Zhang, and Qiaomu Shi. 2023. "Occurrence Characteristics of Lead–Zinc Mine and Low-Flying Aeromagnetic Prospecting in a Forested Region of Yichun City" Minerals 13, no. 11: 1414. https://doi.org/10.3390/min13111414
APA StyleJi, N., Qin, X., Wu, H., Wang, Z., Du, W., Liu, Y., Zhang, T., Zhang, S., & Shi, Q. (2023). Occurrence Characteristics of Lead–Zinc Mine and Low-Flying Aeromagnetic Prospecting in a Forested Region of Yichun City. Minerals, 13(11), 1414. https://doi.org/10.3390/min13111414

