Influence of the Plan Structural Symmetry on the Non-Linear Seismic Response of Framed Reinforced Concrete Buildings
Abstract
1. Introduction
2. Methodology
- Interstory drifts;
- Roof rotations;
- Demand–capacity ratios of structural elements.
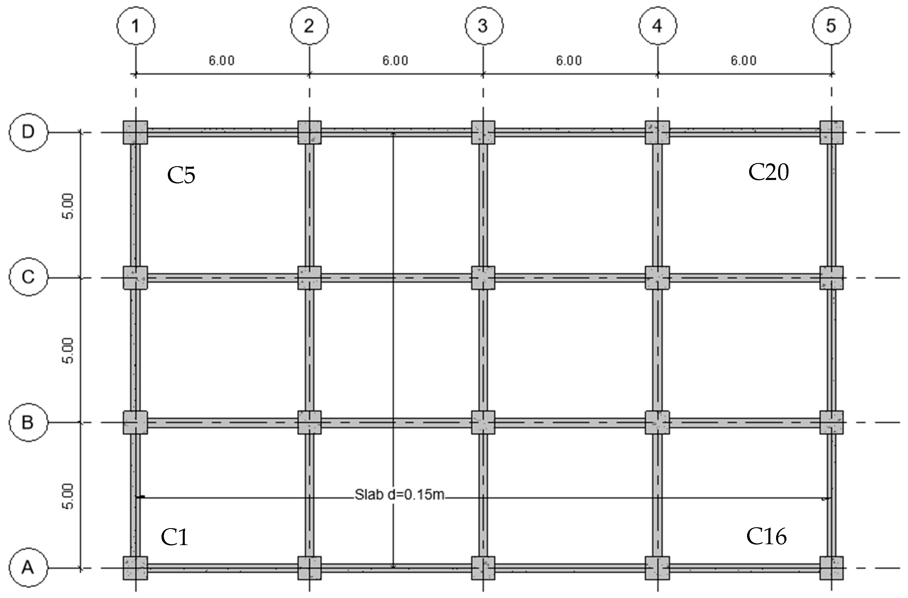
2.1. Description of the Archetypes
Geometry of the Archetypes
2.2. Analysis Type
- Nonlinear static analysis with incremental pushover;
- Nonlinear dynamic time-history analysis using artificial accelerograms;
- Nonlinear dynamic time-history analysis using recorded events.
2.2.1. Static Non-Linear Analysis
2.2.2. Time-History Non-Linear Dynamic Analysis Using Artificial Accelerograms
2.2.3. Time-History Non-Linear Dynamic Analysis Using Seismic Records
3. Results and Discussion
3.1. Results of Linear Analysis
3.2. Results from Non-Linear Analysis
3.2.1. Interstory Drift Control
3.2.2. Acceptance Criteria Based on the Transient Interstory Drift
3.2.3. Rotation Control
3.2.4. Damage Control
4. Conclusions
- Influence of Asymmetry on Dynamic Response: The linear analysis indicated a significant impact of asymmetry on the dynamic response of the buildings, a factor that becomes increasingly critical as the slope of the terrain, and hence the irregularity of the buildings in both plan and elevation, increases. This underscores the need for considering a higher number of vibration modes to accurately capture the seismic behavior of structures located on sloped terrains.
- Nonlinear Ductility and Capacity: The nonlinear analyses, particularly with incremental pushover, demonstrated that the archetypes exhibited adequate ductility in both the X and Y directions. This finding is pivotal, as it suggests that despite the geometric complexities introduced by slope-induced asymmetry, the designed archetypes can still achieve the desirable level of seismic performance.
- Transient Interstory Drift and Damage Control: The dynamic nonlinear analysis, essential for closely approximating the seismic response of buildings, highlights the significance of transient interstory drift as a critical measure of seismic damage. This study confirmed that the maximum allowable drift values, as dictated by ASCE 7, were not exceeded, ensuring that all the dynamic time-history analyses results can be considered reliable for performance evaluation.
- Acceptance Criteria and Structural Design Suitability: The application of ASCE 7 acceptance criteria based on transient interstory drift offers a robust framework for evaluating the seismic suitability of structural designs. Our findings reveal that despite the potential increases in drift due to architectural asymmetry, the structural integrity remains within safe limits, affirming the effectiveness of conventional design practices in mitigating seismic risks.
- Rotations Control and Irregularity Effects: Contrary to expectations, archetypes with higher degrees of irregularity (45°) did not exhibit the highest rotations, challenging the preconceived notions about the relationship between structural asymmetry and torsional responses. This suggests that the presence of structural supports and the method of displacement restriction play a significant role in mitigating potential damage, especially in highly irregular structures.
- Comprehensive Damage Analysis: The extensive damage control analysis, considering both demand versus capacity ratios and specific architectural features like short columns and reduced stiffness on upper stories, provides a nuanced understanding of seismic vulnerability. This approach allows for a detailed examination of how structural and non-structural elements contribute to the overall seismic resilience of buildings on sloped terrains.
- Incorporation into Current Standards: There is a pressing need for current seismic design standards to include provisions that directly address the design of buildings located on slopes, ensuring that their dynamic response and the irregularity caused by asymmetry are considered in conventional design procedures. This inclusion would enhance the seismic safety and performance of such structures, acknowledging the unique challenges posed by sloped terrains.
Author Contributions
Funding
Data Availability Statement
Acknowledgments
Conflicts of Interest
References
- Fotopoulou, S.D.; Pitilakis, K.D. Vulnerability Assessment of Reinforced Concrete Buildings at Precarious Slopes Subjected to Combined Ground Shaking and Earthquake Induced Landslide. Soil Dyn. Earthq. Eng. 2017, 93, 84–98. [Google Scholar] [CrossRef]
- Tripe, R.; Kontoe, S.; Wong, T.K.C. Slope Topography Effects on Ground Motion in the Presence of Deep Soil Layers. Soil Dyn. Earthq. Eng. 2013, 50, 72–84. [Google Scholar] [CrossRef]
- Bourdeau, C.; Havenith, H.-B. Site Effects Modelling Applied to the Slope Affected by the Suusamyr Earthquake (Kyrgyzstan, 1992). Eng. Geol. 2008, 97, 126–145. [Google Scholar] [CrossRef]
- Mohammad, Z.; Baqi, A.; Arif, M. Seismic Response of RC Framed Buildings Resting on Hill Slopes. Procedia Eng. 2017, 173, 1792–1799. [Google Scholar] [CrossRef]
- Zaidi, S.A.; Naqvi, T.; Ibrahim, S.M. Study on the Effects of Seismic Soil-Structure Interaction of Concrete Buildings Resting on Hill Slopes. Mater. Today Proc. 2021, 43, 2250–2254. [Google Scholar] [CrossRef]
- Fatahi, B.; Huang, B.; Yeganeh, N.; Terzaghi, S.; Banerjee, S. Three-Dimensional Simulation of Seismic Slope-Foundation-Structure Interaction for Buildings near Shallow Slopes. Int. J. Geomech. 2020, 20, 04019140. [Google Scholar] [CrossRef]
- Shabani, M.J.; Shamsi, M.; Ghanbari, A. Slope Topography Effect on the Seismic Response of Mid-Rise Buildings Considering Topography-Soil-Structure Interaction. Earthq. Struct. 2021, 20, 187–200. [Google Scholar] [CrossRef]
- Assimaki, D.; Kausel, E. Modified Topographic Amplification Factors for a Single-Faced Slope Due to Kinematic Soil-Structure Interaction. J. Geotech. Geoenviron. Eng. 2007, 133, 1414–1431. [Google Scholar] [CrossRef]
- Paolucci, R. Amplification of Earthquake Ground Motion by Steep Topographic Irregularities. Earthq. Engng. Struct. Dyn. 2002, 31, 1831–1853. [Google Scholar] [CrossRef]
- Schmitz, M.; Hernández, J.J.; Rocabado, V.; Domínguez, J.; Morales, C.; Valleé, M.; García, K.; Sánchez-Rojas, J.; Singer, A.; Oropeza, J.; et al. The Caracas, Venezuela, Seismic Microzoning Project: Methodology, Results, and Implementation for Seismic Risk Reduction. Prog. Disaster Sci. 2020, 5, 100060. [Google Scholar] [CrossRef]
- Patel, M.U.F. A Performance Study and Seismic Evaluation of RC Frame Buildings on Sloping Ground. IOSR J. Mech. Civ. Eng. (IOSR-JMCE) 2018, 2014, 51–58. [Google Scholar] [CrossRef]
- Vijayanarayanan, A.R.; Goswami, R. Floor Acceleration Spectrum for RC Moment Frame Buildings on Slopes. In Proceedings of the 17th World Conference on Earthquake Engineering, 17WCEE, Sendai, Japan, 13–18 September 2020. [Google Scholar]
- Lang, D.; Singh, Y.; Molina, S.; Surana, M. Peculiarities of Seismic Risk in Hilly Regions: Topographic Effects on Hazard and Vulnerability. In Progresses in European Earthquake Engineering and Seismology; Vacareanu, R., Ionescu, C., Eds.; Springer Proceedings in Earth and Environmental Sciences; Springer International Publishing: Cham, Switzerland, 2022; pp. 295–307. ISBN 978-3-031-15103-3. [Google Scholar]
- Standards New Zealand. Structural Design Actions. Part 5, Earthquake Actions: New Zealand: Commentary; Standards New Zealand: Wellington, New Zealand, 2004; ISBN 978-1-86975-019-0.
- Athanasopoulou, A.; Fardis, M.; Pinto, P.; Aucun, B.; Tsionis, G.; Somja, H.; Plumier, A.; Pecker, A.; Franchin, P.; Carvalho, E.; et al. Eurocode 8: Seismic Design of Buildings—Worked Examples; Publications Office: Luxembourg, 2012; ISBN 978-92-79-23068-4. [Google Scholar]
- International Code Council. 2018 IBC: International Building Code; International Code Council, Inc.: Country Club Hills, IL, USA, 2017; ISBN 978-1-60983-735-8. [Google Scholar]
- Shabani, M.J.; Ghanbari, A. Comparison of Seismic Behavior of Steel Building Adjacent to Slope Topography by Considering Fixed-Base, SSI and TSSI. Asian J. Civ. Eng. 2020, 21, 1151–1169. [Google Scholar] [CrossRef]
- Aggarwal, Y.; Saha, S.K. Seismic Performance Assessment of Reinforced Concrete Hilly Buildings with Open Story. Structures 2021, 34, 224–238. [Google Scholar] [CrossRef]
- Bhasker, R.; Menon, A. Torsional Irregularity Indices for the Seismic Demand Assessment of RC Moment Resisting Frame Buildings. Structures 2020, 26, 888–900. [Google Scholar] [CrossRef]
- Raychowdhury, P.; Ray-Chaudhuri, S. Seismic Response of Nonstructural Components Supported by a 4-Story SMRF: Effect of Nonlinear Soil-Structure Interaction. Structures 2015, 3, 200–210. [Google Scholar] [CrossRef]
- Foti, D. Local Ground Effects in Near-Field and Far-Field Areas on Seismically Protected Buildings. Soil Dyn. Earthq. Eng. 2015, 74, 14–24. [Google Scholar] [CrossRef]
- Hasan, M.; Serker, N.H.M.K. Seismic Analysis of RC Buildings Resting on Sloping Ground with Varying Hill Slopes. In Proceedings of the International Conference on Planning, Architecture and Civil Engineering, Rajshahi, Bangladesh, 7–9 February 2019. [Google Scholar]
- Chhetri, S.; Adhikari, S. Seismic Performance of Step Back, Step Back Set Back and Set Back Buildings in Sloping Ground Base. Struct. Mech. Eng. Constr. Build. 2021, 17, 538–547. [Google Scholar] [CrossRef]
- Alitalesh, M.; Shahnazari, H.; Baziar, M.H. Parametric Study on Seismic Topography–Soil–Structure Interaction; Topographic Effect. Geotech. Geol. Eng. 2018, 36, 2649–2666. [Google Scholar] [CrossRef]
- Amendola, C.; Pitilakis, D. Urban Scale Risk Assessment Including SSI and Site Amplification. Bull. Earthq. Eng. 2022, 50, 133–141. [Google Scholar] [CrossRef]
- Daniel, J.; Sivakamasundari, S. Seismic Behaviour of Stiffness Irregular Building on Hill Slope. Int. J. Aerosp. Lightweight Struct. 2014, 4, 281–300. [Google Scholar]
- Jamle, S. Response of Multistory Building Located on 20 Degree and 30 Degree Sloping Ground under Seismic Loading. Int. Res. J. Eng. Technol. 2020, 6, 1178252. [Google Scholar] [CrossRef]
- Song, P.; Guo, S.; Zhao, W.; Xin, Q. Seismic Response Analysis of Reinforced Concrete Frame Structures Considering Slope Effects. Appl. Sci. 2023, 13, 5149. [Google Scholar] [CrossRef]
- Priyanshu, K.; Kumar, V. Seismic Response of Special Moment Resisting Frames Constructed on Plain and Sloping Ground. IOP Conf. Ser. Earth Environ. Sci. 2023, 1110, 012068. [Google Scholar] [CrossRef]
- American Society of Civil Engineers. Seismic Evaluation and Retrofit of Existing Buildings, 41st ed.; American Society of Civil Engineers: Reston, VA, USA, 2017; ISBN 978-0-7844-1485-9. [Google Scholar]
- Razi, M.A.; Mohammad, Z.; Ali, S.A. Seismic Analysis of Hill Buildings. In Proceedings of the International Conference on Advances in Construction Materials and Structures (ACMS-2018), Uttarakhand, India, 7–8 March 2018. [Google Scholar]
- Fan, Z.; Liu, T.; Yang, S. Analysis on Performances of Frame Structures on Sloping Ground. Build. Struct. 2016, 46, 1–9. [Google Scholar]
- Ghosh, R.; Debbarma, R. Effect of Slope Angle Variation on the Structures Resting on Hilly Region Considering Soil–Structure Interaction. Int. J. Adv. Struct. Eng. 2019, 11, 67–77. [Google Scholar] [CrossRef]
- Jarapala, R.; Menon, A. Seismic Performance of Reinforced Concrete Buildings on Hill Slopes: A Review. J. Inst. Eng. India Ser. A 2023, 104, 721–745. [Google Scholar] [CrossRef]
- Farghaly, A.A. Evaluation of Seismic Performance of Buildings Constructed on Hillside Slope of Doronka Village-Egypt. ISRN Civ. Eng. 2014, 2014, 940923. [Google Scholar] [CrossRef]
- Ganie, M.A.; Gupta, S. Seismic Behavior of Short Columns of an RC-Frame on Plane and Sloping Ground: Review. In Proceedings of the 2018 5th International Conference on “Computing for Sustainable Global Development”, New Delhi, India, 14–16 March 2018. [Google Scholar]
- Singh, A.; Tolani, S.; Bharti, S.D.; Datta, T.K. Seismic Analysis of Flat Slab Buildings on Hilly Ground. ASPS Conf. Proc. 2022, 1, 775–779. [Google Scholar] [CrossRef]
- Aggarwal, Y.; Saha, S.K. An Improved Rapid Visual Screening Method for Seismic Vulnerability Assessment of Reinforced Concrete Buildings in Indian Himalayan Region. Bull. Earthq. Eng. 2023, 21, 319–347. [Google Scholar] [CrossRef]
- Gómez, M.A.; Díaz-Segura, E.G.; Vielma, J.C. Nonlinear Numerical Assessment of the Seismic Response of Hillside RC Buildings. Earthq. Eng. Eng. Vib. 2021, 20, 423–440. [Google Scholar] [CrossRef]
- Gómez, M.A.; Vielma, J.C.; Díaz-Segura, E.G. Evaluación numérica de la respuesta sísmica de estructuras fundadas en laderas. Obras Y Proy. 2022, 31, 68–76. [Google Scholar] [CrossRef]
- Patil, R.T.; Raghunandan, M. Seismic Collapse Risk of Reinforced Concrete Hillside Buildings in Indian Himalayan Belt. Bull Earthq. Eng 2021, 19, 5665–5689. [Google Scholar] [CrossRef]
- National Institute of Standardization. Diseño Sísmico de Edificios Nch 433; National Institute of Standardization: Santiago, Chile, 2009. (In Spanish) [Google Scholar]
- CEN. Eurocode 8: Design of Structures for Earthquake Resistance; European Committee for Standardization: Brussels, Belgium, 2005. [Google Scholar]
- ASCE. Minimum Design Loads and Associated Criteria for Buildings and Other Structures: ASCE/SEI 7-22; ASCE, American Society of Civil Engineer (Reston, Virginia), Ed.; American Society of Civil Engineers: Reston, VA, USA, 2022; ISBN 978-0-7844-1578-8. [Google Scholar]
- Cook, D.; Sen, A.; Liel, A.; Basnet, T.; Creagh, A.; Koodiani, H.K.; Berkowitz, R.; Ghannoum, W.; Hortacsu, A.; Kim, I.; et al. ASCE/SEI 41 Assessment of Reinforced Concrete Buildings: Benchmarking Nonlinear Dynamic Procedures with Empirical Damage Observations. Earthq. Spectra 2023, 39, 1721–1754. [Google Scholar] [CrossRef]
- Vielma-Quintero, J.C.; Carvallo, J.; Vielma, J.C. Comparative Assessment of Performance-Based Design Methodologies Applied to a R.C. Shear-Wall Building. Buildings 2023, 13, 1492. [Google Scholar] [CrossRef]
- Bhasker, R.; Menon, A. Characterization of Ground Motion Intensity for the Seismic Fragility Assessment of Plan-Irregular RC Buildings. Structures 2020, 27, 1763. [Google Scholar] [CrossRef]
- Mander, J.B.; Priestley, M.J.N.; Park, R. Theoretical Stress-Strain Model for Confined Concrete. J. Struct. Eng. 1998, 114, 1804–1826. [Google Scholar] [CrossRef]
- Menegotto, M.; Pinto, M. Method of Analysis for Cyclically Loaded, R.C. Plane Frames Including Changes in Geometry and Nonelastic Behavior of Elements under Combined Normal Force and Bending; ETH Zürich: Zurich, Switzerland, 1973; pp. 15–22. [Google Scholar]
- Vielma-Perez, J.; Mulder, M. Improved Procedure for Determining the Ductility of Buildings under Seismic Loads. RIMNI 2018, 34, 1–27. [Google Scholar] [CrossRef]
- Hosseinpour, F.; Abdelnaby, A.E. Effect of Different Aspects of Multiple Earthquakes on the Nonlinear Behavior of RC Structures. Soil Dyn. Earthq. Eng. 2017, 92, 706–725. [Google Scholar] [CrossRef]
- Center for Engineering Strong Motion Data (CESMD). 2023. Available online: https://www.strongmotioncenter.org/index.html (accessed on 5 May 2023).
- Seismosoft Ltd. SeismoSpect. A Computer Program for Post-Processing of Groups of Earthquake Records. Pavia, Italy. 2021. Available online: https://seismosoft.com/ (accessed on 1 February 2021).
- Seismosoft Ltd. SeismoMatch. A Computer Program for Spectrum Matching of Earthquake Records. Pavia, Italy. 2021. Available online: https://seismosoft.com/ (accessed on 1 February 2021).
- Seismosoft Ltd. SeismoStruct 2021 User Manual—A Computer Program for Static and Dynamic Nonlinear Analysis of Framed Structures. Pavia, Italy. 2021. Available online: https://seismosoft.com/ (accessed on 1 February 2021).
- Seismosoft Ltd. SeismoBuild. A Computer Program for Seismic Assessment of Reinforced Concrete Framed Structures. Pavia, Italy. 2021. Available online: https://seismosoft.com/ (accessed on 1 February 2021).
- Khanal, B.; Chaulagain, H. Seismic Elastic Performance of L-Shaped Building Frames through Plan Irregularities. Structures 2020, 27, 22–36. [Google Scholar] [CrossRef]
- Vielma, J.C.; Porcu, M.C.; López, N. Intensity Measure Based on a Smooth Inelastic Peak Period for a More Effective Incremental Dynamic Analysis. Appl. Sci. 2020, 10, 8632. [Google Scholar] [CrossRef]
- Vielma, J.; Barbat, A.H.; Oller, S. Seismic Performance of Waffled-Slab Floor Buildings. Proc. Inst. Civ. Eng.—Struct. Build. 2009, 162, 169–182. [Google Scholar] [CrossRef]
- Vielma, J.C.; Barbat, A.H.; Oller, S. Seismic Safety of Low Ductility Structures Used in Spain. Bull Earthq. Eng 2010, 8, 135–155. [Google Scholar] [CrossRef]
- Uva, G.; Porco, F.; Fiore, A.; Ruggieri, S. Effects in Conventional Nonlinear Static Analysis: Evaluation of Control Node Position. Structures 2018, 13, 178–192. [Google Scholar] [CrossRef]
- De Stefano, M.; Mariani, V. Pushover Analysis for Plan Irregular Building Structures. Geotech. Geol. Earthq. Eng. 2014, 34, 429–448. [Google Scholar] [CrossRef]
- La Brusco, A.; Mariani, V.; Tanganelli, M.; Viti, S.; De Stefano, M. Seismic Assessment of a Real RC Asymmetric Hospital Building According to NTC 2008 Analysis Methods. Bull. Earthq. Eng. 2015, 13, 2973–2994. [Google Scholar] [CrossRef]
- Rezazadeh, H.; Amini, F.; Afshar, M.A. Effect of Inertia Nonlinearity on Dynamic Response of an Asymmetric Building Equipped with Tuned Mass Dampers. Earthq. Eng. Eng. Vib. 2020, 19, 499–513. [Google Scholar] [CrossRef]
- Kewalramani, M.A.; Syed, Z.I. Seismic Analysis of Torsional Irregularity in Multi-Storey Symmetric and Asymmetric Buildings. Eurasian J. Anal. Chem. 2018, 13, 286–292. [Google Scholar]
- Zavala, D.J.; Torres, C.J.; Moreno, J.D. Influence of the P-Delta Effect and Stiffness Irregularity on the Structural Behavior of Reinforced Concrete Buildings. J. Phys. Conf. Ser. 2022, 2287, 012047. [Google Scholar] [CrossRef]














| Parameter | Concrete G30 |
|---|---|
| Compression strength (MPa) | 38.00 |
| Strength lower bound (MPa) | 30.00 |
| Tension strength (MPa) | 2.90 |
| Modulus of elasticity (MPa) | 28,973.00 |
| Specific weight (kN/m3) | 24.00 |
| Parameter | Value |
|---|---|
| Modulus of elasticity (MPa) | 200,000.00 |
| Yield strength (MPa) | 490.00 |
| Strain hardening parameter (dimensionless) | 0.0050 |
| Transition curve initial shape parameter (dimensionless) | 20.00 |
| Transition curve shape calibrating coefficient A1 (dimensionless) | 18.50 |
| Transition curve shape calibrating coefficient A2 (dimensionless) | 0.15 |
| Transition curve shape calibrating coefficient A3 (dimensionless) | 0.00 |
| Transition curve shape calibrating coefficient A4 (dimensionless) | 1.00 |
| Fracture/buckling strain (dimensionless) | 1.00 |
| Specific weight (kN/m3) | 78.00 |
| Columns | Beams X and Y | ||||||
|---|---|---|---|---|---|---|---|
| Archetype | 1-2 | 3-4 | 5-6-7 | 8-9 | 1-2-3 | 4-5-6 | 7-8-9 |
| Basic | 70 × 70 | 60 × 60 | 50 × 50 | 40 × 40 | 30 × 70 | 30 × 60 | 30 × 50 |
| 15° | 70 × 70 | 60 × 60 | 50 × 50 | 40 × 40 | 30 × 70 | 30 × 60 | 30 × 50 |
| 30° | 70 × 70 | 60 × 60 | 50 × 50 | 40 × 40 | 30 × 70 | 30 × 60 | 30 × 50 |
| 45° | 70 × 70 | 60 × 60 | 50 × 50 | 40 × 40 | 30 × 70 | 30 × 60 | 30 × 50 |
| Earthquake Hazard Level | Exceedance Probability | Target Building Performance Level | |||
| 1-A | 1-B | 3-C | 5-D | ||
| 50% in 50 years | a | b | c | d | |
| 20% in 50 years | e | f | g | h | |
| 5% in 50 years | i | j | k | l | |
| 2% in 50 years | m | n | o | p | |
| Earthquake | Date | Station | Epicentral Distance (km) | Component | PGA (cm/sec2) | |
|---|---|---|---|---|---|---|
| Maule | 27-02-2010 | 8.8 | Angol | 209 | E–W | 684 |
| N–S | 916 | |||||
| Maule | 27-02-2010 | 8.8 | Concepción San Pedro | 109 | 97 | 598 |
| 7 | 667 | |||||
| Maule | 27-02-2010 | 8.8 | Constitución | 70 | E–W | 530 |
| N–S | 618 | |||||
| Maule | 27-02-2010 | 8.8 | Llolleo | 274 | E–W | 324 |
| N–S | 549 | |||||
| Maule | 27-02-2010 | 8.8 | Santiago Maipú | 69 | E–W | 481 |
| N–S | 549 | |||||
| Coquimbo | 16-09-2015 | 8.3 | El pedregal | 92 | 90 | 677 |
| 360 | 561 | |||||
| Coquimbo | 16-09-2015 | 8.3 | Tololo | 175 | 90 | 234 |
| 360 | 338 | |||||
| Coquimbo | 16-09-2015 | 8.3 | San Esteban | 168 | 90 | 268 |
| 360 | 182 | |||||
| Puerto Quellón | 25-12-2016 | 7.6 | Loncomilla | 136 | 90 | 136 |
| 360 | 148 | |||||
| Puerto Quellón | 25-12-2016 | 7.6 | Hotel Espejo de Luna | 75 | 90 | 371 |
| 360 | 350 | |||||
| Valparaíso | 24-07-2015 | 6.9 | Torpederas | 39 | 90 | 889 |
| 360 | 731 |
| Limit State | Basic | 15° | 30° | 45° | ||||
|---|---|---|---|---|---|---|---|---|
| X (%) | Y (%) | X (%) | Y (%) | X (%) | Y (%) | X (%) | Y (%) | |
| Operational Level (1-A) | 0.428 | 0.449 | 0.370 | 0.391 | 0.362 | 0.375 | 0.261 | 0.265 |
| Immediate Occupancy (1-B) | 0.571 | 0.599 | 0.493 | 0.522 | 0.483 | 0.499 | 0.354 | 0.356 |
| Life Safety (3-C) | 0.713 | 0.749 | 0.617 | 0.652 | 0.603 | 0.624 | 0.451 | 0.450 |
| Collapse Prevention (5-D) | 0.856 | 0.899 | 0.740 | 0.783 | 0.724 | 0.749 | 0.553 | 0.546 |
Disclaimer/Publisher’s Note: The statements, opinions and data contained in all publications are solely those of the individual author(s) and contributor(s) and not of MDPI and/or the editor(s). MDPI and/or the editor(s) disclaim responsibility for any injury to people or property resulting from any ideas, methods, instructions or products referred to in the content. |
© 2024 by the authors. Licensee MDPI, Basel, Switzerland. This article is an open access article distributed under the terms and conditions of the Creative Commons Attribution (CC BY) license (https://creativecommons.org/licenses/by/4.0/).
Share and Cite
Vielma-Quintero, J.C.; Diaz-Segura, E.G.; Vielma, J.C. Influence of the Plan Structural Symmetry on the Non-Linear Seismic Response of Framed Reinforced Concrete Buildings. Symmetry 2024, 16, 370. https://doi.org/10.3390/sym16030370
Vielma-Quintero JC, Diaz-Segura EG, Vielma JC. Influence of the Plan Structural Symmetry on the Non-Linear Seismic Response of Framed Reinforced Concrete Buildings. Symmetry. 2024; 16(3):370. https://doi.org/10.3390/sym16030370
Chicago/Turabian StyleVielma-Quintero, Juan Carlos, Edgar Giovanny Diaz-Segura, and Juan Carlos Vielma. 2024. "Influence of the Plan Structural Symmetry on the Non-Linear Seismic Response of Framed Reinforced Concrete Buildings" Symmetry 16, no. 3: 370. https://doi.org/10.3390/sym16030370
APA StyleVielma-Quintero, J. C., Diaz-Segura, E. G., & Vielma, J. C. (2024). Influence of the Plan Structural Symmetry on the Non-Linear Seismic Response of Framed Reinforced Concrete Buildings. Symmetry, 16(3), 370. https://doi.org/10.3390/sym16030370

