Toward Systematic Literature Reviews in Hydrological Sciences
Abstract
1. Introduction
2. Materials and Methods
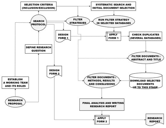
2.1. Materials
2.2. Methods
3. Results
3.1. Research Question Statement
3.2. Search Protocol and Inclusion and Exclusion Criteria
3.2.1. Search Strategies
- Hydro*: This search term captures documents that include hydrology-related terms, such as hydroclimatology, hydrometeorology, and hydrological, among others.
- Uncertainty: This term is fundamental because uncertainty is a central theme in this study. The inclusion of this keyword ensured that the documents were related.
- Forecast: This term is essential for documents that focus on their ability to predict future events.
- Hydropower: Excluded because including this term can lead to studies of power generation rather than uncertainty in hydrological forecasts.
- Hydrogen*: This term was excluded because it could identify documents related to the chemical elements and technologies surrounding it that were unrelated to the research.
- Photo*: Excluded because previous reviews have found that with the current growth of photovoltaic power generation technologies, many papers related to forecasts or predictions of photovoltaic power generation capacity have appeared.
- Petro*: Excluded because many papers related to petroleum were detected in the pre-search essay and error stage when this term was excluded.
- Filter 1: The publication year from 2017 to 2023 (October) was used (see Table 2). This period was chosen to obtain trends that showed the current landscape of the field (However, at a general level, previous documents that provide important inputs should be taken into consideration). Furthermore, Figure 2 shows that 2017 saw a new ascending slope in academic production on the research topic. This filter returned 834 documents for Scopus and 3072 for the WOS.
- Filter 2: The second filter was used for Scopus as the Subject Area and for WOS as the Research Area to delimit the classification area, applying the criteria presented in Table 3, resulting in 782 documents for Scopus and 2882 documents for WOS.
- Filter 3: The languages admitted for the search of the articles were determined (see Table 4); this filter can be used for convenience or for the researchers’ use of the languages. This filter yielded 744 documents for Scopus and 2860 documents for WOS.
- Filter 4: Keywords at a general level should be contained within the documents (see Table 5), which helps perform filtering that leads to a general orientation toward the subject of studs, obtaining 615 documents for Scopus and 1140 documents for WOS.
- Filters 5 and 6: Subsequent filters are based on the researcher’s criteria, as they refine their search so that the focus of the investigation is even more precise. In the specific case of this research, Filter 5 is shown in Table 6 and Filter 6 in Table 7, obtaining 544 documents in Filter 5 for Scopus and 806 documents for WOS. In comparison, Filter 6 closes this stage with 256 and 271 documents in Scopus and WOS, respectively. Something to highlight for the study case, “Drought forecasting” and “Flood Forecasting” were not included as keywords because they are specific cases of “Hydrological forecast”.
3.2.2. Design Summary Form by Abstract and Title (Form 1)
3.2.3. Design of Summary Form 2 to Extract Essential Information from Selected Documents
- Section 1: Presents a unique identifier for the document (the same identifier assigned in Form 1), retrieval link, year of publication, and the journal or event in which it was published.
- Section 2: Information on the methods or methodologies applied. The idea is to list the methods applied by type.
- Section 3: Contains specific research information, such as data sources, input and output variables, and the model used.
- Section 4: Benchmarking (in some cases, there are no other models against which it is compared, but in many others, it is evaluated against another method to present strengths and improvements in the developed research), performance metrics, and a column for some observations that the researcher considers important to provide an orientation of what was found in the document review.
3.3. Application of the Initial Systematic Document Search and Extraction Protocol
3.3.1. Evolution of the Number of Documents Found in Each Phase
3.3.2. Application Form 1
3.3.3. Retrieval of Selected Documents
3.3.4. Documents Final Selection from Scopus and WOS
3.3.5. Documents Referenced by Colleagues and Cross Reference
3.3.6. Final Database Prepared with Documents Selected to Review
4. Discussion
5. Conclusions
- Improves the quality and thoroughness of the review papers and state-of-the-art evaluations: The proposed methodology ensures that the review process is transparent, replicable, and objective by establishing clear selection criteria, exhaustive search strategies, and structured summary forms, guaranteeing the inclusion of relevant studies and the systematic extraction of relevant data, which strengthens the quality and reliability of the results.
- Promotes transparency and replicability and emphasizes openness at all stages of the review process. This allows other researchers to follow the same steps and reproduce the results, thereby facilitating the validation and comparison of the studies. In addition, the methodology provides clear and detailed documentation of the methods used, allowing for a more accurate and reliable assessment.
- Exhaustive identification of the relevant literature: This methodology ensures a broad and thorough search of the existing literature. By using reliable databases and establishing appropriate search strategies, the collection of relevant studies is maximized, which allows obtaining a broad and updated view of the state-of-the-art in the study area.
- Foster collaboration and knowledge sharing: This methodology fosters collaboration among researchers and facilitates knowledge sharing within a scientific community. This methodology provides a clear and structured framework that allows researchers to share and compare their results, enrich scientific progress, and stimulate new research.
- Allows comprehensive and reproducible mapping of the relevant literature on research questions.
- The quality and relevance of the studies are critically evaluated before their synthesis.
- The evidence is synthesized quantitatively when it is feasible to maximize rigor.
- This provides excellent reliability and robustness to the conclusions obtained, thereby improving the quality of reviews.
Supplementary Materials
Author Contributions
Funding
Data Availability Statement
Acknowledgments
Conflicts of Interest
Correction Statement
References
- Cochrane.org. What Are Systematic Reviews? Available online: https://www.cochrane.org/our-evidence/what-are-systematic-reviews (accessed on 15 January 2023).
- Siddaway, A.P.; Wood, A.M.; Hedges, L.V. How to Do a Systematic Review: A Best Practice Guide for Conducting and Reporting Narrative Reviews, Meta-Analyses, and Meta-Syntheses. Annu. Rev. Psychol. 2018, 70, 747–770. [Google Scholar] [CrossRef]
- Hallock, W. Hydraulic illustration of the Wheatstone Bridge. Science 1898, 8, 206–208. [Google Scholar] [CrossRef]
- Piper, A.M. The origin of Artesian pressure. Econ. Geol. 1928, 23, 683–696. [Google Scholar] [CrossRef]
- Breusse, J.J. Modern geophysical methods for subsurface water exploration. Geophysics 1963, 28, 633–657. [Google Scholar] [CrossRef]
- Linsley, R.K. The relation between rainfall and runoff: Review paper. J. Hydrol. 1967, 5, 297–311. [Google Scholar] [CrossRef]
- Perrault, P. Treatise on the Origin of Springs; Ilustrada; Hafner Publishing Company: New York, NY, USA, 1967; ISBN 9780028502007. [Google Scholar]
- Yamamoto, S. Current studies on hydrology in Japan. Geogr. Rev. Jpn. 1972, 45, 163–171. [Google Scholar] [CrossRef]
- Dyring, M.; Hofmann, H.; Stanton, D.; Moss, P.; Froend, R. Ecohydrology of coastal aquifers in humid environments and implications of a drying climate. Ecohydrology 2023, 16, e2491. [Google Scholar] [CrossRef]
- Stein, E.D.; Gee, E.M.; Adams, J.B.; Irving, K.; Van Niekerk, L. Advancing the science of environmental flow management for protection of temporarily closed estuaries and coastal lagoons. Water 2021, 13, 595. [Google Scholar] [CrossRef]
- Wei, X.; Zhou, X.; Wang, C. The influence of mountain temperate forests on the hydrology in northeast China. For. Chron. 2003, 79, 297–300. [Google Scholar] [CrossRef]
- Wullschleger, S.D.; Meinzer, F.C.; Vertessy, R.A. A review of whole-plant water use studies in tree. Tree Physiol. 1998, 18, 499–512. [Google Scholar] [CrossRef]
- Yin, J.; Porporato, A.; D’Odorico, P.; Rodríguez-Iturbe, I. Ecohydrology. In Encyclopedia of Water; Wiley: Hoboken, NJ, USA, 2019; pp. 1–21. [Google Scholar] [CrossRef]
- Rinaldo, A.; Rodriguez-Iturbe, I. Ecohydrology 2.0. Rend. Lincei 2022, 33, 245–270. [Google Scholar] [CrossRef]
- Moniruzzaman, M.; Chowdhury, M.S.H.; Saha, D.; Billah, M.M.; Helal, A.; Biswash, R.A. Hydrokinetic Turbine Technology and Its Prospect in Bangladesh: A Review. Aust. J. Eng. Innov. Technol. 2022, 4, 01007. [Google Scholar] [CrossRef]
- Anctil, F.; Lauzon, N. Generalisation for neural networks through data sampling and training procedures, with applications to streamflow predictions. Hydrol. Earth Syst. Sci. 2004, 8, 940–958. [Google Scholar] [CrossRef]
- Chen, Y.; Han, D. Big data and hydroinformatics. J. Hydroinformatics 2016, 18, 599–614. [Google Scholar] [CrossRef]
- Ghobadi, F.; Kang, D. Application of Machine Learning in Water Resources Management: A Systematic Literature Review. Water 2023, 15, 620. [Google Scholar] [CrossRef]
- Hamitouche, M.; Molina, J.L. A Review of AI Methods for the Prediction of High-Flow Extremal Hydrology. Water Resour. Manag. 2022, 36, 3859–3876. [Google Scholar] [CrossRef]
- Mohammadi, B. A review on the applications of machine learning for runoff modeling. Sustain. Water Resour. Manag. 2021, 7, 98. [Google Scholar] [CrossRef]
- Mosavi, A.; Ozturk, P.; Chau, K.W. Flood prediction using machine learning models: Literature review. Water 2018, 10, 1536. [Google Scholar] [CrossRef]
- Rhif, M.; Abbes, A.B.; Farah, I.R.; Martínez, B.; Sang, Y. Wavelet transform application for/in non-stationary time-series analysis: A review. Appl. Sci. 2019, 9, 1345. [Google Scholar] [CrossRef]
- Kambalimath, S.; Deka, P.C. A basic review of fuzzy logic applications in hydrology and water resources. Appl. Water Sci. 2020, 10, 191. [Google Scholar] [CrossRef]
- Simmonds, J.; Gómez, J.A.; Ledezma, A. The role of agent-based modeling and multi-agent systems in flood-based hydrological problems: A brief review. J. Water Clim. Chang. 2019, 11, 1580–1602. [Google Scholar] [CrossRef]
- Sit, M.; Demiray, B.Z.; Xiang, Z.; Ewing, G.J.; Sermet, Y.; Demir, I. A comprehensive review of deep learning applications in hydrology and water resources. Water Sci. Technol. 2020, 82, 2635–2670. [Google Scholar] [CrossRef]
- Gentine, P.; Troy, T.J.; Lintner, B.R.; Findell, K.L. Scaling in Surface Hydrology: Progress and Challenges. J. Contemp. Water Res. Educ. 2012, 147, 28–40. [Google Scholar] [CrossRef]
- Matsuyama, H. Review and Prospect on the Field of Hydrology and Water Resources Contributed by Geographers in Recent 30 Years. J. Jpn. Soc. Hydrol. Water Resour. 2018, 31, 467–486. [Google Scholar] [CrossRef]
- Merheb, M.; Moussa, R.; Abdallah, C.; Colin, F.; Perrin, C.; Baghdadi, N. Hydrological response characteristics of Mediterranean catchments at different time scales: A meta-analysis. Hydrol. Sci. J. 2016, 61, 2520–2539. [Google Scholar] [CrossRef]
- Phien, H.N.; Ruksasilp, W. A review of single-site models for monthly streamflow generation. J. Hydrol. 1981, 52, 1–12. [Google Scholar] [CrossRef]
- Singh, V.P. Review of Hydrology for Engineers, Geologists, and Environmental Professionals by Sergio E. Serrano. J. Hydrol. Eng. 2011, 16, 846. [Google Scholar] [CrossRef]
- Di Baldassarre, G.; Elshamy, M.; Van Griensven, A.; Soliman, E.; Kigobe, M.; Ndomba, P.; Mutemi, J.; Mutua, F.; Moges, S.; Xuan, Y.; et al. Hydrologie et climat futurs dans le bassin du Nil: Une revue. Hydrol. Sci. J. 2011, 56, 199–211. [Google Scholar] [CrossRef]
- Dinu, M.J.; Siddaramaiah, D.G. Uncertainties in predicting impacts of climate change on hydrology in basin scale: A review. Arab. J. Geosci. 2020, 13, 1037. [Google Scholar] [CrossRef]
- Mortsch, L.; Hengeveld, H.; Lister, M.; Lofgren, B.; Quinn, F.; Slivitzky, M.; Wenger, L. Climate change impacts on the hydrology of the great lakes-st. Lawrence system. Can. Water Resour. J. 2000, 25, 153–179. [Google Scholar] [CrossRef]
- Stadnyk, T.A.; Déry, S.J. Canadian continental-scale hydrology under a changing climate: A review. Water 2021, 13, 906. [Google Scholar] [CrossRef]
- Wong, K.V.; Lennon, C. Innovations Related to Hydrology in Response to Climate Change—A Review. Open Hydrol. J. 2015, 9, 17–23. [Google Scholar] [CrossRef]
- Bobba, A.G.; Rudra, R.P.; Diiwu, J.Y. A stochastic model for identification of trends in observed hydrological and meteorological data due to climate change in watersheds. J. Environ. Hydrol. 2006, 14, 1–11. [Google Scholar]
- Bolgov, M.V. Stochastic hydrology: The development of main ideas in Russia. Inst. Water Probl. Russ. Acad. Sci. 2021, 66, 19–40. [Google Scholar] [CrossRef]
- Matalas, N.C. Developments in stochastic hydrology. Rev. Geophys. 1975, 13, 67–73. [Google Scholar] [CrossRef]
- Mizuki, C.; Kuzuha, Y. Frequency Analysis of Hydrological Data for Urban Floods—Review of Traditional Methods and Recent Developments, Especially an Introduction of Japanese Proper Methods. Water 2023, 15, 2490. [Google Scholar] [CrossRef]
- Beven, K.; Binley, A. GLUE: 20 years on. Hydrol. Process 2014, 28, 5897–5918. [Google Scholar] [CrossRef]
- Georgakakos, K.P.; Kavvas, M.L. Precipitation analysis, modeling, and prediction in hydrology. Rev. Geophys. 1987, 25, 163–178. [Google Scholar] [CrossRef]
- Koutsoyiannis, D.; Makropoulos, C.; Langousis, A.; Baki, S.; Efstratiadis, A.; Christofides, A.; Karavokiros, G.; Mamassis, N. HESS opinions: “Climate, hydrology, energy, water: Recognizing uncertainty and seeking sustainability”. Hydrol. Earth Syst. Sci. 2009, 13, 247–257. [Google Scholar] [CrossRef]
- Li, W.; Duan, Q.; Miao, C.; Ye, A.; Gong, W.; Di, Z. A review on statistical postprocessing methods for hydrometeorological ensemble forecasting. Wiley Interdiscip. Rev. Water 2017, 4, e1246. [Google Scholar] [CrossRef]
- Liu, Y.; Gupta, H.V. Uncertainty in hydrologic modeling: Toward an integrated data assimilation framework. Water Resour. Res. 2007, 43, W07401. [Google Scholar] [CrossRef]
- Moges, E.; Demissie, Y.; Larsen, L.; Yassin, F. Review: Sources of hydrological model uncertainties and advances in their analysis. Water 2021, 13, 28. [Google Scholar] [CrossRef]
- Teng, J.; Jakeman, A.J.; Vaze, J.; Croke, B.F.W.; Dutta, D.; Kim, S. Flood inundation modelling: A review of methods, recent advances and uncertainty analysis. Environ. Model. Softw. 2017, 90, 201–216. [Google Scholar] [CrossRef]
- Troin, M.; Arsenault, R.; Wood, A.W.; Brissette, F.; Martel, J.L. Generating Ensemble Streamflow Forecasts: A Review of Methods and Approaches Over the Past 40 Years. Water Resour. Res. 2021, 57, e2020WR028392. [Google Scholar] [CrossRef]
- Vannitsem, S.; Bremnes, J.B.; Demaeyer, J.; Evans, G.R.; Flowerdew, J.; Hemri, S.; Lerch, S.; Roberts, N.; Theis, S.; Atencia, A.; et al. Statistical postprocessing for weather forecasts review, challenges, and avenues in a big data world. Bull. Am. Meteorol. Soc. 2021, 102, E681–E699. [Google Scholar] [CrossRef]
- Wetterhall, F.; Pappenberger, F.; Alfieri, L.; Cloke, H.L.; Thielen-Del Pozo, J.; Balabanova, S.; Daňhelka, J.; Vogelbacher, A.; Salamon, P.; Carrasco, I.; et al. HESS Opinions “forecaster priorities for improving probabilistic flood forecasts”. Hydrol. Earth Syst. Sci. 2013, 17, 4389–4399. [Google Scholar] [CrossRef]
- Arenson, L.U.; Harrington, J.S.; Koenig, C.E.M.; Wainstein, P.A. Mountain Permafrost Hydrology–Practical Review Following Studies from the Andes. Geosciences 2022, 12, 48. [Google Scholar] [CrossRef]
- Beria, H.; Larsen, J.R.; Ceperley, N.C.; Michelon, A.; Vennemann, T.; Schaefli, B. Understanding snow hydrological processes through the lens of stable water isotopes. WIREs Water 2018, 5, e1311. [Google Scholar] [CrossRef]
- Mohammadzadeh Khani, H.; Kinnard, C.; Lévesque, E. Historical Trends and Projections of Snow Cover over the High Arctic: A Review. Water 2022, 14, 587. [Google Scholar] [CrossRef]
- Walvoord, M.A.; Kurylyk, B.L. Hydrologic Impacts of Thawing Permafrost—A Review. Vadose Zone J. 2016, 15, vzj2016.01.0010. [Google Scholar] [CrossRef]
- Amani, M.; Ghorbanian, A.; Ahmadi, S.A.; Kakooei, M.; Moghimi, A.; Mirmazloumi, S.M.; Moghaddam, S.H.A.; Mahdavi, S.; Ghahremanloo, M.; Parsian, S.; et al. Google Earth Engine Cloud Computing Platform for Remote Sensing Big Data Applications: A Comprehensive Review. IEEE J. Sel. Top. Appl. Earth Obs. Remote Sens. 2020, 13, 5326–5350. [Google Scholar] [CrossRef]
- Devendran, A.A.; Lakshmanan, G. A Review On Accuracy and Uncertainty of Spatial Data and Analyses with special reference to Urban and Hydrological Modelling. ISPRS Ann. Photogramm. Remote Sens. Spat. Inf. Sci. 2014, II-8, 171–178. [Google Scholar] [CrossRef][Green Version]
- Evora, N.D.; Coulibaly, P. Recent advances in data-driven modeling of remote sensing applications in hydrology. J. Hydroinformatics 2009, 11, 194–201. [Google Scholar] [CrossRef]
- Rango, A. Application of remote sensing methods to hydrology and water resources. Hydrol. Sci. J. 1994, 39, 309–320. [Google Scholar] [CrossRef]
- Wu, X.; Lu, G.; Wu, Z. Remote Sensing Technology in the Construction of Digital Twin Basins: Applications and Prospects. Water 2023, 15, 2040. [Google Scholar] [CrossRef]
- Kale, V.S. Fluvial hydrology and geomorphology of Monsoon-dominated Indian rivers. Rev. Bras. De Geomorfol. 2005, 6, 63–73. [Google Scholar] [CrossRef][Green Version]
- Wymore, A.S.; Ward, A.S.; Wohl, E.; Harvey, J.W. Viewing river corridors through the lens of critical zone science. Front. Water 2023, 5, 1147561. [Google Scholar] [CrossRef]
- Blair, P.; Buytaert, W. Socio-hydrological modelling: A review asking “why, what and how”? Hydrol. Earth Syst. Sci. 2016, 20, 443–478. [Google Scholar] [CrossRef]
- Khilchevskyi, V. Socio-hydrology: The pros and cons of a new interdisciplinary field of research. Bull. Taras Shevchenko Natl. Univ. Kyiv Geogr. 2021, 78–79, 9–13. [Google Scholar] [CrossRef]
- Pande, S.; Sivapalan, M. Progress in socio-hydrology: A meta-analysis of challenges and opportunities. WIREs Water 2017, 4, e1193. [Google Scholar] [CrossRef]
- Watts, G. Hydrology with impact: How does hydrological science inform decision-makers? Hydrol. Res. 2015, 47, 545–551. [Google Scholar] [CrossRef]
- DiCarlo, D.A. Stability of gravity-driven multiphase flow in porous media: 40 Years of advancements. Water Resour. Res. 2013, 49, 4531–4544. [Google Scholar] [CrossRef]
- Frenelus, W.; Peng, H.; Zhang, J. Evaluation methods for groundwater inflows into rock tunnels: A state-of-the-art review. Int. J. Hydrol. 2021, 5, 152–168. [Google Scholar] [CrossRef]
- Hermans, T.; Goderniaux, P.; Jougnot, D.; Fleckenstein, J.H.; Brunner, P.; Nguyen, F.; Linde, N.; Huisman, J.A.; Bour, O.; Lopez Alvis, J.; et al. Advancing measurements and representations of subsurface heterogeneity and dynamic processes: Towards 4D hydrogeology. Hydrol. Earth Syst. Sci. 2023, 27, 255–287. [Google Scholar] [CrossRef]
- Molz, F.J.; Liu, H.H.; Szulga, J. Fractional Brownian motion and fractional Gaussian noise in subsurface hydrology: A review, presentation of fundamental properties, and extensions. Water Resour. Res. 1997, 33, 2273–2286. [Google Scholar] [CrossRef]
- Nwachukwu, M.A. Prospective techniques for in-situ treatment and protection of aquifers: A sustainable hydrology review. Int. J. Water Resour. Environ. Eng. 2014, 6, 131–143. [Google Scholar] [CrossRef]
- Too, V.K.; Omuto, C.T.; Biamah, E.K.; Obiero, J.P. Review of Soil Water Retention Characteristic (SWRC) Models between Saturation and Oven Dryness. Open J. Mod. Hydrol. 2013, 4, 173–182. [Google Scholar] [CrossRef]
- Ma, Y.J.; Li, X.Y.; Guo, L.; Lin, H. Hydropedology: Interactions between pedologic and hydrologic processes across spatiotemporal scales. Earth Sci. Rev. 2017, 171, 181–195. [Google Scholar] [CrossRef]
- Van-Huyssteen, C.W. A review of advances in hydropedology for application in South Africa. S. Afr. J. Plant Soil 2008, 25, 245–254. [Google Scholar] [CrossRef]
- Chris, P. River Discharge to the Coastal Ocean: A Global Synthesis. Oceanography 2011, 24, 143–144. [Google Scholar] [CrossRef]
- Gröger, M.; Dieterich, C.; Haapala, J.; Ho-Hagemann, H.T.M.; Hagemann, S.; Jakacki, J.; May, W.; Meier, H.E.M.; Miller, P.A.; Rutgersson, A.; et al. Coupled regional Earth system modeling in the Baltic Sea region. Earth Syst. Dyn. 2021, 12, 939–973. [Google Scholar] [CrossRef]
- Guo, Y.; Zhang, Y.; Zhang, L.; Wang, Z. Regionalization of hydrological modeling for predicting streamflow in ungauged catchments: A comprehensive review. Wiley Interdiscip. Rev. Water 2021, 8, e1487. [Google Scholar] [CrossRef]
- He, Y.; Bárdossy, A.; Zehe, E. A review of regionalisation for continuous streamflow simulation. Hydrol. Earth Syst. Sci. 2011, 15, 3539–3553. [Google Scholar] [CrossRef]
- Arnbjerg-Nielsen, K.; Willems, P.; Olsson, J.; Beecham, S.; Pathirana, A.; Bülow Gregersen, I.; Madsen, H.; Nguyen, V.-T.V. Impacts of climate change on rainfall extremes and urban drainage systems: A review. Water Sci. Technol. 2013, 68, 16–28. [Google Scholar] [CrossRef]
- Burn, S.; Maheepala, S.; Sharma, A. Utilising integrated urban water management to assess the viability of decentralised water solutions. Water Sci. Technol. 2012, 66, 113–121. [Google Scholar] [CrossRef]
- Ferrans, P.; Torres, M.N.; Temprano, J.; Rodríguez Sánchez, J.P. Sustainable Urban Drainage System (SUDS) modeling supporting decision-making: A systematic quantitative review. Sci. Total Environ. 2022, 806, 150447. [Google Scholar] [CrossRef]
- Kourtis, I.M.; Tsihrintzis, V.A. Adaptation of urban drainage networks to climate change: A review. Sci. Total Environ. 2021, 771, 145431. [Google Scholar] [CrossRef]
- Kuttler, W. Urban climate. Part 1: Fundamentals and causes [Stadtklima. Teil 1: Grundzüge und ursachen]. Umweltwissenschaften Und Schadst. Forsch. 2004, 16, 187–199. [Google Scholar] [CrossRef]
- Mitchell, V.G.; McMahon, T.A.; Mein, R.G. Components of the Total Water Balance of an Urban Catchment. Environ. Manag. 2003, 32, 735–746. [Google Scholar] [CrossRef] [PubMed]
- Njue, N.; Stenfert Kroese, J.; Gräf, J.; Jacobs, S.R.; Weeser, B.; Breuer, L.; Rufino, M.C. Citizen science in hydrological monitoring and ecosystem services management: State of the art and future prospects. Sci. Total Environ. 2019, 693, 133531. [Google Scholar] [CrossRef] [PubMed]
- Sto Domingo, N.D.; Refsgaard, A.; Mark, O.; Paludan, B. Flood analysis in mixed-urban areas reflecting interactions with the complete water cycle through coupled hydrologic-hydraulic modelling. Water Sci. Technol. 2010, 62, 1386–1392. [Google Scholar] [CrossRef]
- Urich, C.; Rauch, W. Modelling the urban water cycle as an integrated part of the city: A review. Water Sci. Technol. 2014, 70, 1857–1872. [Google Scholar] [CrossRef]
- Walker, K.P. Urban runoff and combined sewer overflow. Water Environ. Res. 1992, 64, 408–411. [Google Scholar] [CrossRef]
- Evaristo, J.; McDonnell, J.J. A role for meta-analysis in hydrology. Hydrol. Process 2017, 31, 3588–3591. [Google Scholar] [CrossRef]
- Beltrán, G.Ó.A. Revisiones sistemáticas de la literatura. Rev. Colomb. Gastroenterol. 2005, 20, 60–69. [Google Scholar]
- García-Peñalvo, F.J.; García-Holgado, A. Técnicas Para Llevar a Cabo Mapeos y Revisiones Sistemáticas de la Literatura. 2021. Available online: https://zenodo.org/records/4732089 (accessed on 15 October 2023).
- Manterola, C.; Astudillo, P.; Arias, E.; Claros, N. Revisiones sistemáticas de la literatura. Qué se debe saber acerca de ellas. Cir. Esp. 2013, 91, 149–155. [Google Scholar] [CrossRef]
- Espinosa-Santos, V. Difusion y divulgacion de la investigacion cientifica. Idesia 2010, 28, 5–6. [Google Scholar] [CrossRef]
- Rodríguez, M.B.; Quintero Ortega, S.P.; Zafra, S.L. La revisión sistemática de la literatura científica y la necesidad de visualizar los resultados de las investigaciones. Rev. Logos Cienc. Tecnol. 2015, 7, 101–103. [Google Scholar] [CrossRef]
- Fourez, G. Alfabetizacion Cientifica y Tecnologica: Acerca de las Finalidades de la Ensenanza de las Ciencias; Buenos Aires: Ediciones Colihue SRL, Ed.; Nuevos Caminos; Reimpresa; Colihue; Colihue: Buenos Aires, Argentina, 1997; ISBN 9789505816378. [Google Scholar]
- Kitchenham, B.; Brereton, P.; Turner, M.; Niazi, M.; Linkman, S.; Pretorius, R.; Budgen, D. The Impact of Limited Search Procedures for Systematic Literature Reviews—A Participant-Observer Case Study. In Proceedings of the ESEM 2009: 2009 3rd International Symposium on Empirical Software Engineering and Measurement, Lake Buena Vista, FL, USA, 15–16 October 2009. [Google Scholar] [CrossRef]
- Elsevier, B.V. Scopus® Scopus Preview; Elsevier B.V.: Amsterdam, The Netherlands; Available online: https://www.scopus.com (accessed on 15 October 2023).
- Clarivate Analytics. Web Of Science®; Claivate Analytics: London, UK; Available online: https://www.webofscience.com/wos (accessed on 15 October 2023).
- Centre for Science and Technology Studies. VOSviewer-Visualizing Scientific Landscapes; Leiden University: Leiden, The Netherlands; Available online: https://www.vosviewer.com/download (accessed on 20 March 2023).
- Muka, T.; Glisic, M.; Milic, J.; Verhoog, S.; Bohlius, J.; Bramer, W.; Chowdhury, R.; Franco, O.H. A 24-step guide on how to design, conduct, and successfully publish a systematic review and meta-analysis in medical research. Eur. J. Epidemiol. 2020, 35, 49–60. [Google Scholar] [CrossRef]
- Kitchenham, B. Procedures for Performing Systematic Reviews; Keele University: Keele, UK, 2004; Volume 33, pp. 1–26. [Google Scholar]
- Nguyen, N.; Singh, S. A Primer on Systematic Reviews and Meta-Analyses. Semin. Liver Dis. 2018, 38, 103–111. [Google Scholar] [CrossRef]
- Kitchenham, B.; Pearl Brereton, O.; Budgen, D.; Turner, M.; Bailey, J.; Linkman, S. Systematic literature reviews in software engineering—A systematic literature review. Inf. Softw. Technol. 2009, 51, 7–15. [Google Scholar] [CrossRef]
- Yildirim, G.; Rahman, A.; Singh, V.P. A Bibliometric Analysis of Drought Indices, Risk, and Forecast as Components of Drought Early Warning Systems. Water 2022, 14, 253. [Google Scholar] [CrossRef]

















| Term to Be Included | Term to Be Excluded | |
|---|---|---|
| Hydro* | Hydropower | Photo* |
| Uncertainty | Hydrogen* | Petro* |
| Forecast | ||
| Term to Be Included | ||||||
|---|---|---|---|---|---|---|
| 2017 | 2018 | 2019 | 2020 | 2021 | 2022 | 2023 |
| Scopus, Subject Area to Be Included | ||
| Environmental Science | Engineering | Mathematics |
| Earth and Planetary Sciences | Computer Science | |
| WOS, Research Area to Be Included | ||
| Meteorologic Atmospheric Sciences | Engineering | Mathematics |
| Water Resources | Computer Science | |
| Term to Be Included | |
|---|---|
| English | Spanish |
| Term to Be Included | |
|---|---|
| Uncertainty Analysis | Hydrological Modeling |
| Forecasting | Forecasting Method |
| Weather Forecasting | Uncertainty |
| Scopus, Subject Area to Be Excluded | ||
| Economics, Econometrics, and Finance | Social Sciences | Medicine |
| Biochemistry, Genetics, and Molecular Biology | Material Sciences | Chemistry |
| Agricultural and Biological Sciences | Chemical Engineering | Energy |
| WOS, Research Area to Be Excluded | ||
| Mathematical Methods in Social Sciences | Telecommunications | Geology |
| Public Environmental Occupational Health | Automation Control Systems | Energy Fuels |
| Operations Research Management Science | Geochemistry Geophysics | Agriculture |
| Imaging Science Photographic Technology | Astronomy Astrophysics | Oceanography |
| Science Technology Other Topics | Instrument Instrumentation | Physical Geography |
| Life and Sciences Biomedic Other Topics | Education Educational Research | Remote Sensing |
| Mathematical Computational Biology | Marine Freshwater Biology | |
| Term to Be Included | ||
|---|---|---|
| Uncertainty Analysis | Streamflow forecasting | Probabilistic forecast |
| Weather Forecasting | Error Analysis | Hydrological forecasting |
| Forecasting | Streamflow forecast | Uncertainty Quantifications |
| Forecasting Method | Ensemble forecast | Hydrological forecast |
| Uncertainty | Streamflow prediction | Deterministic Forecast |
| Prediction | Precipitation Forecast | Uncertainty Quantification |
| Hydrology | Forecast uncertainty | Probability forecasting |
| Item | Year | Title | DOI | Abstract | Duplicated? | Selected? |
|---|---|---|---|---|---|---|
| … | … | … | … | … | … | … |
| 1–8 | 2023 | The suitability of a seasonal ensemble hybrid framework including data-driven approaches for hydrological forecasting | 10.5194/hess-27-501-2023 | Hydrological forecasts are important for operational water management and near-future planning, even more so in light of the increased occurrences of extreme events such as floods and droughts… | Yes | No |
| … | … | … | … | … | … | … |
| 1–49 | 2022 | Exploring hydrologic post-processing of ensemble streamflow forecasts based on affine kernel dressing and non-dominated sorting genetic algorithm II | 10.5194/hess-26-1001-2022 | Forecast uncertainties are unfortunately inevitable when conducting a deterministic analysis of a dynamical system. The cascade of uncertainty originates from different components of the forecasting chain, such as the chaotic nature of the atmosphere, various initial conditions and boundaries, inappropriate conceptual hydrologic modeling, and the inconsistent stationarity… | Yes | Yes |
| … | … | … | … | … | … | … |
| 2–68 | 2021 | Bluecat: A Local Uncertainty Estimator for Deterministic Simulations and Predictions | 10.1029/2021WR031215 | We present a new method for simulating and predicting hydrologic variables with uncertainty assessment and provide example applications to river flows… | No | Yes |
| … | … | … | … | … | … | … |
| Item | Link | Year | Journal | Post Process | Statistic | Math | ML/IA | Hydrolog. | Data Sources | Input var | Input t | Input x | Output var | Out t | Model | Bench Marking | Metrics | Remarks |
|---|---|---|---|---|---|---|---|---|---|---|---|---|---|---|---|---|---|---|
| … | … | … | … | … | … | … | … | … | … | … | … | … | … | … | … | … | … | … |
| 1–49 | https://... | 2022 | Hydrology and Earth System Science | Yes | Affine Kernel Dressing, Ensemble Kalman Filter | N/A | Non-Dominated Sorting Genetic Algorithm II | Bucket, GR4J, HBV, IHACRES, SAC-SMA | ECMWF, TIGGE at downscaling resolution of 0.5° to 0.1° and aggregated to 7 Days ahead, DEM | By model | Daily | Basins | Flow | Daily to 7 Days | Models + AKD, Models + NSGA-II | Raw Forecast | MAE, MCRPS, RMSE, KGE and spread | The performance of the AI method was superior to that of the AKD method… |
| … | … | … | … | … | … | … | … | … | … | … | … | … | … | … | … | … | … | … |
| 2–68 | https://... | 2022 | Water Resources Research | Yes | Blue Cat | N/A | N/A | HYMOD | Gauges (Precip., Temp., Flow) | Precip., Temp., Flow | Daily | Basins | Flow | Daily to 100 Days | HYMOD + BlueCat | Observed data | Predictive probability probability (PPP) plot, NSE | This paper presents a new method for simulating and predicting… |
| … | … | … | … | … | … | … | … | … | … | … | … | … | … | … | … | … | … | … |
| Search Step | Scopus | WOS | ||
|---|---|---|---|---|
| Docs | % | Docs | % | |
| Initial | 1.947 | 100 | 5.598 | 100 |
| Filter 1 | 834 | 42.8 | 3.072 | 54.9 |
| Filter 2 | 782 | 40.2 | 2.882 | 51.5 |
| Filter 3 | 744 | 38.2 | 2.860 | 51.1 |
| Filter 4 | 615 | 31.6 | 1.140 | 20.4 |
| Filter 5 | 544 | 27.9 | 806 | 14.4 |
| Filter 6 | 256 | 13.1 | 271 | 4.8 |
| Reference | Research Question | Protocol Inclusion or Exclusion Criteria | Search Various Sources | Applying Incl. and Excl. Criteria | Systematic Data Extraction | Evaluation of Studies Quality | Quantitative or Qualitative Summary | Narrative Summary |
|---|---|---|---|---|---|---|---|---|
| [6] | * | - | - | - | - | - | - | *** |
| [29] | * | - | - | - | - | - | - | *** |
| [28] | *** | * | - | * | - | * | *** | - |
| [71] | * | - | - | - | - | - | - | *** |
| [46] | * | - | - | - | - | - | * | ** |
| [21] | ** | ** | - | *** | - | *** | ** | ** |
| [22] | *** | - | - | - | - | - | * | *** |
| [23] | * | - | - | - | - | - | * | *** |
| [32] | * | - | - | - | - | - | - | *** |
| [24] | * | * | *** | * | - | - | * | *** |
| [29] | * | ** | *** | ** | * | * | *** | ** |
| [20] | * | - | - | - | - | * | * | *** |
| [45] | ** | - | - | - | - | - | * | *** |
| [34] | * | - | - | - | - | - | - | *** |
| [47] | ** | - | - | - | - | - | ** | *** |
| [48] | * | - | - | - | - | - | - | *** |
| [19] | * | - | - | - | - | - | * | *** |
| [102] | ** | *** | * | * | *** | * | *** | - |
| [18] | * | - | *** | * | ** | - | ** | *** |
Disclaimer/Publisher’s Note: The statements, opinions and data contained in all publications are solely those of the individual author(s) and contributor(s) and not of MDPI and/or the editor(s). MDPI and/or the editor(s) disclaim responsibility for any injury to people or property resulting from any ideas, methods, instructions or products referred to in the content. |
© 2024 by the authors. Licensee MDPI, Basel, Switzerland. This article is an open access article distributed under the terms and conditions of the Creative Commons Attribution (CC BY) license (https://creativecommons.org/licenses/by/4.0/).
Share and Cite
De León Pérez, D.; Acosta Vega, R.; Salazar Galán, S.; Aranda, J.Á.; Francés García, F. Toward Systematic Literature Reviews in Hydrological Sciences. Water 2024, 16, 436. https://doi.org/10.3390/w16030436
De León Pérez D, Acosta Vega R, Salazar Galán S, Aranda JÁ, Francés García F. Toward Systematic Literature Reviews in Hydrological Sciences. Water. 2024; 16(3):436. https://doi.org/10.3390/w16030436
Chicago/Turabian StyleDe León Pérez, David, Rick Acosta Vega, Sergio Salazar Galán, José Ángel Aranda, and Félix Francés García. 2024. "Toward Systematic Literature Reviews in Hydrological Sciences" Water 16, no. 3: 436. https://doi.org/10.3390/w16030436
APA StyleDe León Pérez, D., Acosta Vega, R., Salazar Galán, S., Aranda, J. Á., & Francés García, F. (2024). Toward Systematic Literature Reviews in Hydrological Sciences. Water, 16(3), 436. https://doi.org/10.3390/w16030436

