Experimental Study on the Characteristics of Sediment Transport and Sorting in Pressurized Pipes
Abstract
:1. Introduction
2. Materials and Methods
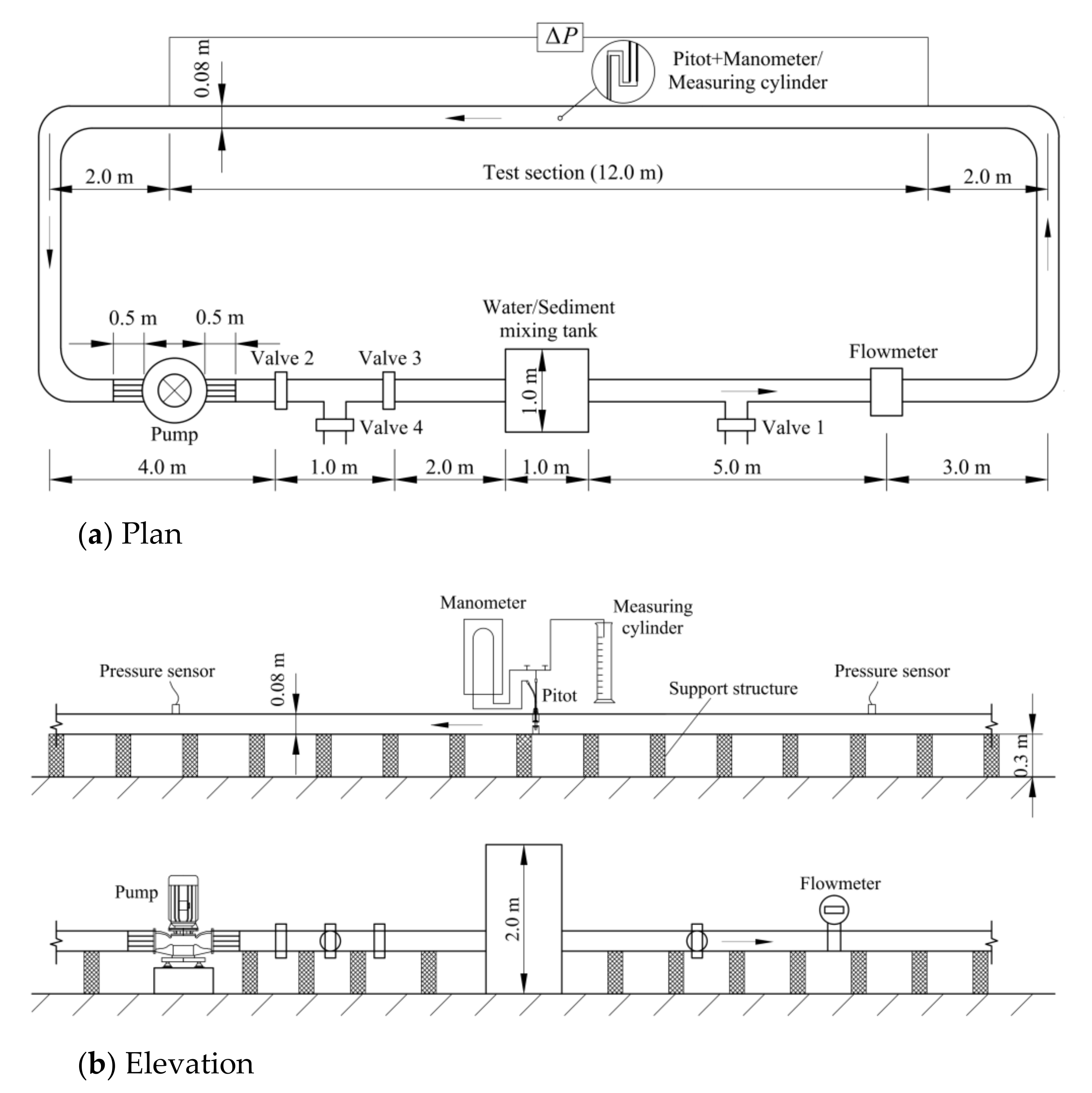
2.1. Experimental Facility
2.2. Test Conditions
3. Results and Discussion
3.1. Velocity Distribution
3.2. Sediment Concentration Distribution
3.3. Influence of Sediment Concentration on the Resistance Coefficient
3.4. Sediment Transport Flux and Sediment Sorting
3.4.1. Sediment Transport Flux
3.4.2. Sediment Sorting
3.5. Limitations and Uncertainties
4. Conclusions
Author Contributions
Funding
Institutional Review Board Statement
Informed Consent Statement
Data Availability Statement
Acknowledgments
Conflicts of Interest
References
- Chebbo, G.; Bachoc, A. Characterization of Suspended Solids in Urban Wet Weather Discharges. Water Sci. Technol. 1992, 25, 171–179. [Google Scholar] [CrossRef]
- Mcilhatton, T.D.; Ashley, R.M.; Tait, S.J. Improved formulations for rapid erosion of diverse solids in combined sewers. Water Sci. Technol. 2005, 52, 143–150. [Google Scholar] [CrossRef]
- Schmitt, T.G.; Thomas, M.; Ettrich, N. Assessment of urban flooding by dual drainage simulation model RisUrSim. Water Sci. Technol. 2005, 52, 257–264. [Google Scholar] [CrossRef] [PubMed]
- Danielson, T.J. Sand transport modeling in multiphase pipelines. In Proceedings of the Offshore Technology Conference, Houston, TX, USA, 30 April–3 May 2007. [Google Scholar]
- Hashemi, S.A.; Sadighian, A.; Shah, S.; Sanders, R.S. Solid velocity and concentration fluctuations in highly concentrated liquid–solid (slurry) pipe flows. Int. J. Multiph. Flow 2014, 66, 46–61. [Google Scholar] [CrossRef]
- Najmi, K.; Hill, A.L.; Mclaury, B.S.; Shirazi, S.A.; Cremaschi, S. Experimental study of low concentration sand transport in multiphase air-water horizontal pipelines. J. Energy Resour. Technol. 2015, 137, 32908. [Google Scholar] [CrossRef]
- Dabirian, R.; Mohan, R.; Shoham, O.; Kouba, G. Critical sand deposition velocity for gas-liquid stratified flow in horizontal pipes. J. Nat. Gas Sci. Eng. 2016, 33, 527–537. [Google Scholar] [CrossRef]
- Bai, Y.C.; Xu, H.J. Hydrodynamic instability of hyperconcentrated flows of the Yellow River. J. Hydraul. Res. 2010, 48, 742–753. [Google Scholar] [CrossRef]
- Xu, H.J.; Bai, Y.C.; Li, C. Hydro-instabilitycharacteristics of Bingham fluidflow as in the Yellow River. J. Hydro-Environ. Res. 2018, 20, 22–30. [Google Scholar] [CrossRef]
- Bagnold, R.A. Some flume experiments on large grains but little denser than the transporting fluid, and their implications. Proc. Inst. Civ. Eng. 1955, 4, 174–205. [Google Scholar] [CrossRef]
- Wang, Z.Y.; Zeng, Q.H.; Zhang, X.Y. Experimental study of solid-nonnewtonian fluid two-phase flow. J. Sediment Res. 1990, 3, 1–12. (In Chinese) [Google Scholar]
- Liu, Q.Q.; Chen, L. Further analysis of the effect of particles on flow turbulence. J. Hydraul. Eng. 1997, 77–82. (In Chinese) [Google Scholar]
- Ni, J.R.; Qu, Y.Z. Modeling of vertical segregation of solid particles in sediment-laden flow. J. Hydrodyn. 2003, 18, 349–353. (In Chinese) [Google Scholar]
- Qiang, T.; Collins, A.L.; Wen, A.; He, X.; Bao, Y.; Yan, D.; Yi, L.; Zhang, Y. Particle size differentiation explains flow regulation controls on sediment sorting in the water-level fluctuation zone of the Three Gorges Reservoir, China. Sci. Total Environ. 2018, 633, 1114. [Google Scholar]
- Shi, Z.H.; Fang, N.F.; Wu, F.Z.; Wang, L.; Yue, B.J.; Wu, G.L. oil erosion processes and sediment sorting associated with transport mechanisms on steep slope. J. Hydrol. 2012, 454–455, 123–130. [Google Scholar] [CrossRef]
- Nag, D.; Phartiyal, B.; Singh, D.S.; Ariztegui, D.J.S. Sedimentary characteristics of palaeolake deposits along the Indus River valley, Ladakh, Trans-Himalaya: Implications for the depositional environment. Sedimentology 2016, 63, 1765–1785. [Google Scholar] [CrossRef]
- Han, Q.W.; Yang, X.Q. A review of the research work of reservoir sedimentation in China. J. China Inst. Water 2003, 1, 169–178. (In Chinese) [Google Scholar]
- Caviedes-Voullième, D.; Morales-Hernández, M.; Juez, C.; Lacasta, A.; García-Navarro, P. Two-Dimensional Numerical Simulation of Bed-Load Transport of a Finite-Depth Sediment Layer: Applications to Channel Flushing. J. Hydraul. Eng. 2017, 143, 4017034. [Google Scholar] [CrossRef]
- Jha, S.K.; Bombardelli, F.A. Two-phase modeling of turbulence in dilute sediment-laden, open-channel flows. Environ. Fluid Mech. 2009, 9, 237–266. [Google Scholar] [CrossRef] [Green Version]
- Pu, J.H.; Wallwork, J.T.; Khan, M.A.; Pandey, M.; Gough, T. Flood Suspended Sediment Transport: Combined Modeling from Dilute to Hyper-Concentrated Flow. Water 2021, 13, 379. [Google Scholar] [CrossRef]
- Liang, L.; Yu, X.; Bombardelli, F. A General Mixture Model for Sediment Laden Flows. Adv. Water Resour. 2017, 107, 108–125. [Google Scholar] [CrossRef]
- Wang, J.; Li, Y.; Pan, L.; Lai, Z.; Jian, S. Study of the Sediment Transport Law in a Reverse-Slope Section of a Pressurized Pipeline. Water 2020, 12, 3042. [Google Scholar] [CrossRef]
- Al-Lababidi, S.; Yan, W.; Yeung, H. Sand Transportations and Deposition Characteristics in Multiphase Flows in Pipelines. J. Energy Resour. Technol. 2012, 134, 34501. [Google Scholar] [CrossRef]
- Manuel, R.P.; Jose, A.; Joaquín, S.; Jerónimo, P.; Alfredo, J.; Juan, N. Characterization of sediments during transport of solids in circular sewer pipes. Water Sci. Technol. 2018, 2017, wst2018055. [Google Scholar] [CrossRef]
- Montes, C.; Kapelan, Z.; Saldarriaga, J. Predicting nondeposition sediment transport in sewer pipes using Random forest. Water Res. 2020, 189, 116639. [Google Scholar] [CrossRef]
- Wu, J.D.; Yuan, X.Y.; Fan, Y.G.; Wang, X.D. State Modeling and Verification of Resistance Loss along the Long-Range Solid-Liquid Two-Phase Pipeline. Adv. Mater. Res. 2012, 461, 854–859. [Google Scholar] [CrossRef]
- Shuai, M.; Wang, X.; Wu, J.; Leng, T.; Jiang, D. Study on resistance loss characteristics of iron concentrate pipeline transportation. In Proceedings of the The 27th Chinese Control and Decision Conference (2015 CCDC), Qingdao, China, 23–25 May 2015; pp. 2037–2041. [Google Scholar] [CrossRef]
- Wang, Z.; Qian, N. Experiment study of two–Phase turbulent flow with hyperconcentration of coarse particles. Sci. China Ser. A 1984, XXVII, 1317–1327. [Google Scholar]
- Xie, C.G.; Atkinson, I.; Hammond, P.; Oddie, G.; Bolchover, P. Isokinetic Sampling: US. US7717000 B2, 18 May 2010. [Google Scholar]
- Cheng, P.; Gao, S.; Li, X.L. Evaluation of a Wide Range Laser Particle Size Analyses and Comparison with Pipette and Sieving Methods. Acta Sedimentol. Sin. 2001, 19, 449–455. (In Chinese) [Google Scholar]
- Wang, Z.Y.; Chien, N. Experimental study on the movement law of laminated load. Sci. China Ser. A 1984, 1, 91–98. (In Chinese) [Google Scholar]
- Archibong-Eso, A.; Aliyu, A.M.; Yan, W.; Okeke, N.E.; Baba, Y.D.; Fajemidupe, O.; Yeung, H. Experimental Study on Sand Transport Characteristics in Horizontal and Inclined Two-Phase Solid-Liquid Pipe Flow. J. Pipeline Syst. Eng. Pract. 2020, 11, 4019050. [Google Scholar] [CrossRef]
- Julien, P.Y. Erosion and Sedimentation; Cambridge University Press: New York, NY, USA, 2010. [Google Scholar]
- Kaushal, D.R.; Tomita, Y. Comparative study of pressure drop in multisized particulate slurry flow through pipe and rectangular duct. Int. J. Multiph. Flow 2003, 29, 1473–1487. [Google Scholar] [CrossRef]
- Verma, A.K.; Singh, S.N.; Seshadri, V. Pressure drop for the flow of high concentration solid-liquid mixture across 90° horizontal conventional circular pipe bend. Indian J. Eng. Mater. Sci. 2006, 13, 477–483. [Google Scholar]
- Peng, R.S.; Li, H.M.; Liu, Y.Z.; Yang, W.H. Dynamic settling velocity of sediment and improvement of quasi-hydrostatic settlement method. J. Sediment Res. 1997, 2, 74–78. (In Chinese) [Google Scholar]
- Qu, Y.Z.; Ni, J.R.; Meng, X.G. Mechanism of vertical segregation of solid particles in sediment-laden flow. J. Hydrodyn. 2003, 18, 108–113. [Google Scholar]
- Kaushal, D.R.; Tomita, Y.; Dighade, R.R. Concentration at the pipe bottom at deposition velocity for transportation of commercial slurries through pipeline. Powder Technol. 2002, 125, 89–101. [Google Scholar] [CrossRef]
- Wang, Z.; Qian, N. Experimental study on the physical properties of sediment suspensions with hyperconcentration. J. Hydraul. Eng. 1984, 4, 3–12. (In Chinese) [Google Scholar]
- Spearman, J.; Manning, A.J. On the hindered settling of sand-mud suspensions. Ocean Dyn. 2017, 67, 465–483. [Google Scholar] [CrossRef]
- Etemad, S.G.; Thibault, J.; Hashemabadi, S.H. Calculation of the Pitot tube correction factor for Newtonian and non-Newtonian fluids. ISA Trans. 2003, 42, 505–512. [Google Scholar] [CrossRef]














| Pipe Diameter D/mm | Discharge Q/m3/h | Range of Grain Sizes d/μm | Range of Volume Concentrations C/% |
|---|---|---|---|
| 80 | 5.05–50.13 | - | 0 |
| 80 | 5.81–40.29 | 0.82–323 | 2.2–26.27 |
| Discharge Q/m3/h | Head Loss Hf/cm | Energy Slope J | Shear Stress | Shear Velocity u*/m/s |
|---|---|---|---|---|
| 5.05 | 1.85 | 0.00156 | 0.3057 | 0.0175 |
| 10.06 | 4.80 | 0.00405 | 0.7933 | 0.0282 |
| 15.02 | 8.90 | 0.00750 | 1.4708 | 0.0384 |
| 20.33 | 14.50 | 0.01223 | 2.3963 | 0.0490 |
| 25.09 | 21.00 | 0.01771 | 3.4705 | 0.0589 |
| 29.45 | 27.70 | 0.02336 | 4.5777 | 0.0677 |
| 35.18 | 36.20 | 0.03052 | 5.9825 | 0.0773 |
| 40.26 | 45.70 | 0.03853 | 7.5524 | 0.0869 |
| 45.12 | 55.50 | 0.04680 | 9.1720 | 0.0958 |
| 50.13 | 63.20 | 0.05329 | 10.4445 | 0.1022 |
Publisher’s Note: MDPI stays neutral with regard to jurisdictional claims in published maps and institutional affiliations. |
© 2021 by the authors. Licensee MDPI, Basel, Switzerland. This article is an open access article distributed under the terms and conditions of the Creative Commons Attribution (CC BY) license (https://creativecommons.org/licenses/by/4.0/).
Share and Cite
Li, Y.; Zhang, J.; Xu, H.; Bai, Y. Experimental Study on the Characteristics of Sediment Transport and Sorting in Pressurized Pipes. Water 2021, 13, 2782. https://doi.org/10.3390/w13192782
Li Y, Zhang J, Xu H, Bai Y. Experimental Study on the Characteristics of Sediment Transport and Sorting in Pressurized Pipes. Water. 2021; 13(19):2782. https://doi.org/10.3390/w13192782
Chicago/Turabian StyleLi, Yan, Jinliang Zhang, Haijue Xu, and Yuchuan Bai. 2021. "Experimental Study on the Characteristics of Sediment Transport and Sorting in Pressurized Pipes" Water 13, no. 19: 2782. https://doi.org/10.3390/w13192782
APA StyleLi, Y., Zhang, J., Xu, H., & Bai, Y. (2021). Experimental Study on the Characteristics of Sediment Transport and Sorting in Pressurized Pipes. Water, 13(19), 2782. https://doi.org/10.3390/w13192782
