A Comprehensive Performance Assessment of the Modified Philip–Dunne Infiltrometer
Abstract
1. Introduction
2. Methods
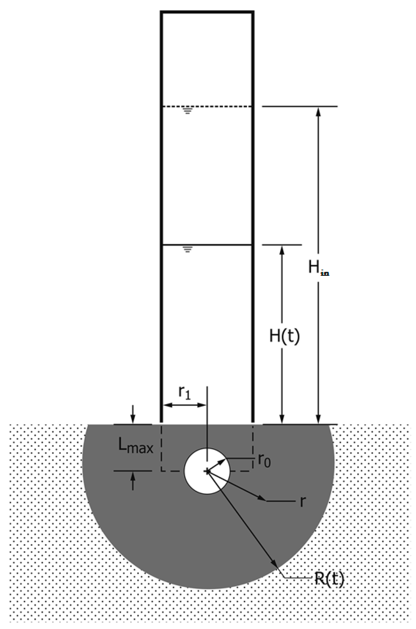
2.1. Background and Governing Equations
2.2. Forward-Modeling Algorithm and Its Applications
3. Results and Discussion
3.1. Example of the Use of Application 1: Forward Simulation of Drawdown Curves for Different Types of Soil
3.2. Example of the Use of Application 2: Simulation Using Determined by Equation (6) and Compare with the Measured Time Intervals
3.3. Example of the Use of Application 3: Simulation Using Determined by Equation (5) and Compare with the Changes in Measured Head Values
3.4. Effects of Applying Varying Moisture Deficit Δθ on the Back-Fitted Ks and Ψ
4. Conclusions
Author Contributions
Funding
Acknowledgments
Conflicts of Interest
References
- Kanwar, R.S.; Rizvi, H.; Ahmed, M.; Horton, R.; Marley, S.J. Measurement of field-saturated hydraulic conductivity by using Guelph and velocity permeameters. Trans. ASAE 1990, 32, 1885–1890. [Google Scholar] [CrossRef]
- Ahmed, F.; Nestingen, R.; Nieber, J.; Gulliver, J.; Hozalski, R. A Modified Philip–Dunne Infiltrometer for Measuring the Field-Saturated Hydraulic Conductivity of Surface Soil. Vadose Zone J. 2014, 13. [Google Scholar] [CrossRef]
- Mohanty, B.; Kanwar, R.S.; Everts, C. Comparison of saturated hydraulic conductivity measurement methods for a glacial-till soil. Soil Sci. Soc. Am. J. 1994, 58, 672–677. [Google Scholar] [CrossRef]
- Alagna, V.; Bagarello, V.; Di Prima, S.; Iovino, M. Determining hydraulic properties of a loam soil by alternative infiltrometer techniques. Hydrol. Process. 2016, 30, 263–275. [Google Scholar] [CrossRef]
- Reynolds, W.; Bowman, B.; Brunke, R.; Drury, C.; Tan, C. Comparison of tension infiltrometer, pressure infiltrometer, and soil core estimates of saturated hydraulic conductivity. Soil Sci. Soc. Am. J. 2000, 64, 478–484. [Google Scholar] [CrossRef]
- Alakayleh, Z.; Clement, T.P.; Fang, X. Understanding the Changes in Hydraulic Conductivity Values of Coarse-and Fine-Grained Porous Media Mixtures. Water 2018, 10, 313. [Google Scholar] [CrossRef]
- Sällfors, G.; Öberg-Högsta, A.-L. Determination of hydraulic conductivity of sand-bentonite mixtures for engineering purposes. Geotech. Geol. Eng. 2002, 20, 65–80. [Google Scholar] [CrossRef]
- Komine, H. Theoretical equations on hydraulic conductivities of bentonite-based buffer and backfill for underground disposal of radioactive wastes. J. Geotech. Geoenviron. Eng. 2008, 134, 497–508. [Google Scholar] [CrossRef]
- Sivapullaiah, P.; Sridharan, A.; Stalin, V. Hydraulic conductivity of bentonite-sand mixtures. Can. Geotech. J. 2000, 37, 406–413. [Google Scholar] [CrossRef]
- Francisca, F.M.; Glatstein, D.A. Long term hydraulic conductivity of compacted soils permeated with landfill leachate. Appl. Clay Sci. 2010, 49, 187–193. [Google Scholar] [CrossRef]
- Abeele, W. The influence of bentonite on the permeability of sandy silts. Nucl. Chem. Waste Manag. 1986, 6, 81–88. [Google Scholar] [CrossRef]
- ASTM-D5084-16a. Standard Test Methods for Measurement of Hydraulic Conductivity of Saturated Porous Materials Using a Flexible Wall Permeameter; American Society for Testing and Materials: Philadelphia, PA, USA, 2016.
- Lee, D.; Elrick, D.; Reynolds, W.; Clothier, B. A comparison of three field methods for measuring saturated hydraulic conductivity. Can. J. Soil Sci. 1985, 65, 563–573. [Google Scholar] [CrossRef]
- Wessolek, G.; Plagge, R.; Leij, F.; Van Genuchten, M.T. Analysing problems in describing field and laboratory measured soil hydraulic properties. Geoderma 1994, 64, 93–110. [Google Scholar] [CrossRef]
- Mallants, D.; Jacques, D.; Tseng, P.-H.; van Genuchten, M.T.; Feyen, J. Comparison of three hydraulic property measurement methods. J. Hydrol. 1997, 199, 295–318. [Google Scholar] [CrossRef]
- Reynolds, W.D.; Elrick, D.E. A Method for Simultaneous In Situ Measurement in the Vadose Zone of Field-Saturated Hydraulic Conductivity, Sorptivity and the Conductivity-Pressure Head Relationship. Groundw. Monit. Remediat. 1986, 6, 84–95. [Google Scholar] [CrossRef]
- Bagarello, V.; Iovino, M.; Elrick, D. A simplified falling-head technique for rapid determination of field-saturated hydraulic conductivity. Soil Sci. Soc. Am. J. 2004, 68, 66–73. [Google Scholar] [CrossRef]
- Philip, J. Approximate analysis of falling-head lined borehole permeameter. Water Resour. Res. 1993, 29, 3763–3768. [Google Scholar] [CrossRef]
- ASTM-D8152-18. Standard Practice for Measuring Field Infiltration Rate and Calculating Field Hydraulic Conductivity Using the Modified Philip Dunne Infiltrometer Test; American Society for Testing and Materials: Philadelphia, PA, USA, 2018.
- Merva, G. The velocity permeameter technique for rapid determination of hydraulic conductivity in situ. In Proceedings of the 3rd Workshop on Land Drainage, Columbus, OH, USA, 7–11 December 1987. [Google Scholar]
- Perroux, K.; White, I. Designs for Disc Permeameters. Soil Sci. Soc. Am. J. 1988, 52, 1205–1215. [Google Scholar] [CrossRef]
- Bouwer, H. Measuring Horizontal and Vertical Hydraulic Conductivity of Soil With the Double-Tube Method 1. Soil Sci. Soc. Am. J. 1964, 28, 19–23. [Google Scholar] [CrossRef]
- Reynolds, W.; Elrick, D. Ponded infiltration from a single ring: I. Analysis of steady flow. Soil Sci. Soc. Am. J. 1990, 54, 1233–1241. [Google Scholar] [CrossRef]
- Gómez, J.; Giráldez, J.; Fereres, E. Analysis of infiltration and runoff in an olive orchard under no-till. Soil Sci. Soc. Am. J. 2001, 65, 291–299. [Google Scholar] [CrossRef]
- Connolly, R.D.; Silburn, D.M.; Ciesiolka, C.A.A.; Foley, J.L. Modelling hydrology of agricultural catchments using parameters derived from rainfall simulator data. Soil Tillage Res. 1991, 20, 33–44. [Google Scholar] [CrossRef]
- Muñoz-Carpena, R.; Regalado, C.M.; Álvarez-Benedi, J.; Bartoli, F. Field evaluation of the new Philip-Dunne permeameter for measuring saturated hydraulic conductivity. Soil Sci. 2002, 167, 9–24. [Google Scholar] [CrossRef]
- Nestingen, R.; Asleson, B.C.; Gulliver, J.S.; Hozalski, R.M.; Nieber, J.L. Laboratory Comparison of Field Infiltrometers. J. Sustain. Water Built Environ. 2018, 4, 04018005. [Google Scholar] [CrossRef]
- Zhang, R. Determination of soil sorptivity and hydraulic conductivity from the disk infiltrometer. Soil Sci. Soc. Am. J. 1997, 61, 1024–1030. [Google Scholar] [CrossRef]
- Weiss, P.T.; Gulliver, J.S. Effective saturated hydraulic conductivity of an infiltration-based stormwater control measure. J. Sustain. Water Built Environ. 2015, 1, 04015005. [Google Scholar] [CrossRef]
- García-Serrana, M.; Gulliver, J.S.; Nieber, J.L. Infiltration capacity of roadside filter strips with non-uniform overland flow. J. Hydrol. 2017, 545, 451–462. [Google Scholar] [CrossRef]
- Kristvik, E.; Kleiven, G.H.; Lohne, J.; Muthanna, T.M. Assessing the robustness of raingardens under climate change using SDSM and temporal downscaling. Water Sci. Technol. 2018, 77, 1640–1650. [Google Scholar] [CrossRef] [PubMed]
- Taguchi, V.J.; Carey, E.S.; Hunt III, W.F. Field Monitoring of Downspout Disconnections to Reduce Runoff Volume and Improve Water Quality along the North Carolina Coast. J. Sustain. Water Built Environ. 2018, 5, 04018018. [Google Scholar] [CrossRef]
- Nestingen, R.S. The Comparison of Infiltration Devices and Modification of the Philip-Dunne Permeameter for the Assessment of Rain Gardens. Master’s Thesis, University of Minnesota, Minneapolis, MN, USA, 2007. [Google Scholar]
- ASTM-D2216-10. Standard Test Methods for Laboratory Determination of Water (Moisture) Content of Soil and Rock by Mass; American Society for Testing and Materials: Philadelphia, PA, USA, 2010.
- ASTM-F1815-11. Standard Test Methods for Saturated Hydraulic Conductivity, Water Retention, Porosity, and Bulk Density of Athletic Field Rootzones; American Society for Testing and Materials: Philadelphia, PA, USA, 2011.
- Clapp, R.B.; Hornberger, G.M. Empirical equations for some soil hydraulic properties. Water Resour. Res. 1978, 14, 601–604. [Google Scholar] [CrossRef]
- Nash, J.E.; Sutcliffe, J.V. River flow forecasting through conceptual models part I—A discussion of principles. J. Hydrol. 1970, 10, 282–290. [Google Scholar] [CrossRef]
- Rawls, W.J.; Brakensiek, D.L.; Saxtonn, K. Estimation of soil water properties. Trans. ASAE 1982, 25, 1316–1320. [Google Scholar] [CrossRef]
- Brooks, R.H.; Corey, A.T. Properties of porous media affecting fluid flow. J. Irrig. Drain. Div. 1966, 92, 61–90. [Google Scholar]
- Philip, J. The theory of infiltration: 5. The influence of the initial moisture content. Soil Sci. 1957, 84, 329–340. [Google Scholar] [CrossRef]
- Gray, D.M.; Norum, D. The effect of soil moisture on infiltration as related to runoff and recharge. In Proceedings of the Hydrology Symposium No. 6 Soil Moisture, Saskatoon, SK, Canada, 15–16 November 1967. [Google Scholar]
- Ruggenthaler, R.; Meißl, G.; Geitner, C.; Leitinger, G.; Endstrasser, N.; Schöberl, F. Investigating the impact of initial soil moisture conditions on total infiltration by using an adapted double-ring infiltrometer. Hydrol. Sci. J. 2016, 61, 1263–1279. [Google Scholar] [CrossRef]
- Ahmed, F. Characterizing the Performance of a New Iniltrometer and Hydraulic Properties of Roadside Swales. Ph.D. Thesis, University of Minnesota, Minneapolis, MN, USA, 2014. [Google Scholar]
- Durner, W.; Lipsius, K. Determining Soil Hydraulic Properties. Encycl. Hydrol. Sci. 2005, 1021–1144. [Google Scholar] [CrossRef]
- Regalado, C.M.; Ritter, A.; Alvarez-Benedi, J.; Munoz-Carpena, R. Simplified method to estimate the Green–Ampt wetting front suction and soil sorptivity with the Philip–Dunne falling-head permeameter. Vadose Zone J. 2005, 4, 291–299. [Google Scholar] [CrossRef]








| Forward-Modeling Application | Measured/Input | Simulated | Calculated/Output |
|---|---|---|---|
| Application 1 | Assumed Hin and ΔH(tj), known Ks and Ψ | Δtsj using ΔH(tj) and H(tj) | tj = tj−1 + Δtsj, and H(tj) = H(tj−1) − ΔH(tj) |
| Application 2 | Measured Hin, H(tj), tj, assumed Ksi and Ψi | Δtsj using H(tj), and ΔH(tj) | NSE between Δtsj and Δtj = tj − tj−1 |
| Application 3 | Measured Hin, H(tj), tj, assumed Ksi and Ψi | ΔHs(tj) using H(tj), and Δtj | NSE between ΔHs(tj) and ΔH(tj) |
| Soil Type | Δθb | Ψc | Δtsj (Seconds) | ||||||||
|---|---|---|---|---|---|---|---|---|---|---|---|
| (cm/s) | (cm) | θe − θin | (cm) | Max | Min | Avg | SD | ||||
| Silt loam | 1.89 × 10−4 | 0.027 | 0.501 | −17 | 0.36 | 0.050 (wet) 0.217 (dry) | −24 −86 | 1615 459 | 526 274 | 899 361 | 302 53 |
| Sandy loam | 7.19 × 10−4 | 0.025 | 0.412 | −15 | 0.61 | 0.050 (wet) 0.222 (dry) | −19 −61 | 530 169 | 148 88 | 270 124 | 104 23 |
| Sand | 5.83 × 10−3 | 0.010 | 0.417 | −8 | 1.09 | 0.050 (wet) 0.355 (dry) | −9 −53 | 123 23 | 21 12 | 47 17 | 26 3 |
| Soil Type | Hin | θin | θs | Δθ | Ks (cm/s) | Ψ (cm) | ||
|---|---|---|---|---|---|---|---|---|
| (cm) | Application 2 | Application 3 | Application 2 | Application 3 | ||||
| Silt loam | 31.0 | 0.238 | 0.449 | 0.211 | 3.82 × 10−4 | 3.88 × 10−4 | −37 | −36 |
| Sandy loam | 51.0 | 0.339 | 0.382 | 0.043 | 2.58 × 10−3 | 2.83 × 10−3 | −44 | −37 |
| Sand | 33.5 | 0.096 | 0.375 | 0.279 | 2.64 × 10−2 | 2.74 × 10−2 | −9 | −8 |
| Soil Type | Δθ | Ks | Ψ | H(t1) | NSE |
|---|---|---|---|---|---|
| (cm/s) | (cm) | (cm) | |||
| Silt loam | 0.211 (measured) | 3.96 × 10−4 | −37 | 27.4 | 0.961 |
| 0.217 (maximum) | 3.82 × 10−4 | −37 | 27.3 a | 0.961 | |
| 0.050 (assumed) | 4.94 × 10−4 | −28 | 30.2 | 0.933 | |
| (assumed) | 4.91 × 10−4 | −28 | 30.1 | 0.934 | |
| (assumed) | 4.06 × 10−4 | −35 | 29.2 | 0.966 | |
| (assumed) | 3.95 × 10−4 | −36 | 28.2 | 0.965 | |
| Sandy loam | 0.043 (measured) | 2.59 × 10−3 | −44 | 50.3 | 0.968 |
| 0.222 (maximum) | 1.79 × 10−3 | −70 | 47.2 a | 0.965 | |
| 0.050 (assumed) | 2.54 × 10−3 | −45 | 50.2 | 0.969 | |
| assumed) | 2.51 × 10−3 | −46 | 50.1 | 0.964 | |
| (assumed) | 2.21 × 10−3 | −53 | 49.1 | 0.965 | |
| (assumed) | 2.08 × 10−3 | −57 | 48.2 | 0.964 | |
| Sand | 0.279 (measured) | 2.64 × 10−2 | −9 | 28.8 | 0.986 |
| 0.355 (maximum) | 2.58 × 10−2 | −9 | 27.5 a | 0.986 | |
| 0.050 (assumed) | 3.59 × 10−2 | −5 | 32.7 | 0.977 | |
| (assumed) | 3.40 × 10−2 | −5 | 32.0 | 0.961 | |
| (assumed) | 2.88 × 10−2 | −8 | 30.5 | 0.986 | |
| (assumed) | 2.78 × 10−2 | −8 | 29.0 | 0.986 |
© 2019 by the authors. Licensee MDPI, Basel, Switzerland. This article is an open access article distributed under the terms and conditions of the Creative Commons Attribution (CC BY) license (http://creativecommons.org/licenses/by/4.0/).
Share and Cite
Alakayleh, Z.; Fang, X.; Clement, T.P. A Comprehensive Performance Assessment of the Modified Philip–Dunne Infiltrometer. Water 2019, 11, 1881. https://doi.org/10.3390/w11091881
Alakayleh Z, Fang X, Clement TP. A Comprehensive Performance Assessment of the Modified Philip–Dunne Infiltrometer. Water. 2019; 11(9):1881. https://doi.org/10.3390/w11091881
Chicago/Turabian StyleAlakayleh, Zuhier, Xing Fang, and T. Prabhakar Clement. 2019. "A Comprehensive Performance Assessment of the Modified Philip–Dunne Infiltrometer" Water 11, no. 9: 1881. https://doi.org/10.3390/w11091881
APA StyleAlakayleh, Z., Fang, X., & Clement, T. P. (2019). A Comprehensive Performance Assessment of the Modified Philip–Dunne Infiltrometer. Water, 11(9), 1881. https://doi.org/10.3390/w11091881

