Three-Dimensional Lightning Characteristics Analysis over the Tibetan Plateau Based on Satellite-Based and Ground-Based Multi-Source Data
Abstract
1. Introduction
2. Materials and Methods
2.1. LFEDA Data
2.2. LMI Data
3. Results
3.1. Characteristics of Lightning Activities over the Tibetan Plateau Based on LMI Group Data
3.2. Three-Dimensional Characteristics of Lightning Activities over the Tibetan Plateau Based on LFEDA Data
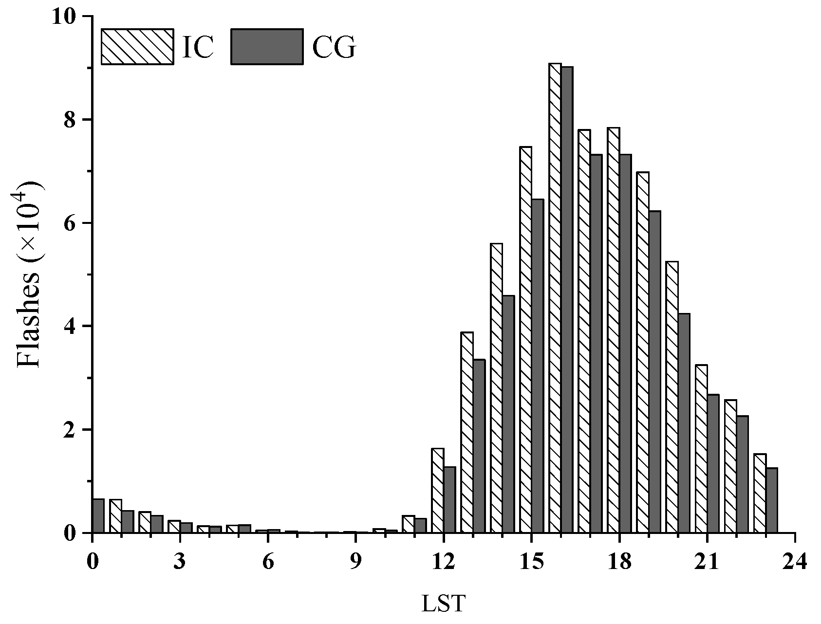
3.2.1. Temporal Variation Characteristics of IC and CG over the Tibetan Plateau
3.2.2. Spatial Distribution Characteristics of IC and CG around Nagqu
3.2.3. The Variation Characteristics of IC with Altitude
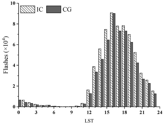
3.2.4. Comparison of Lightning Activity Characteristics between Nagqu and Hainan Area
3.3. Analysis of Detection Features of LMI
4. Discussions and Conclusions
- (1)
- Characteristics of all types of lightning activities over the Tibetan Plateau: Nagqu, Dangxiong, and Jiali in the hinterland of the Tibetan Plateau were the three major centers of lightning activities, more lightning appeared in the transition zone between lower and higher terrain, where the convections were more intense; the diurnal variation of lightning activity is significant, the most active period concentrated around 15:00 LST, the second peak was at 0:00, and the weakest time was in the morning, indicating that the influence of temperature and solar radiation on lightning activity is very prominent, and it is closely related to the unique topography and night rain phenomenon of the plateau. In terms of lightning types, the number of IC was greatly more than that of CG. Therefore, the study of IC change is of very important scientific meaning and practice value for the early warning of the plateau DCSs. The spatial distribution of IC at different altitudes is quite different, more ICs occurred at low altitudes.
- (2)
- Comparison of lightning activities between the Nagqu and Hainan area: the hourly variation of lightning activities in Nagqu showed a single peak, while that in Hainan was characterized by double peaks, affected by the enhancement of boundary stream in the low latitude or altitude area of China. Lightning activities and convections in Nagqu were less than 1/3 of that in Hainan. The IC in the Hainan area was more intense than that in the Nagqu area, which indirectly reflected that the convection in the low latitude tropical area was more vigorous. However, the duration of high-frequency lightning activities in Nagqu (15–19:00) was about 2 h longer than that in Hainan (15–17:00), which may be related to the fact that solar radiation and convective activities last longer over the Tibetan Plateau.
- (3)
- Analysis of features of LMI: LMI has more advantages in IC detection; LMI has higher detection efficiency for the lightning in the range of 4–6 KM altitude, which is partly related to the stronger convective process and the higher proportion of IC.
Author Contributions
Funding
Institutional Review Board Statement
Informed Consent Statement
Data Availability Statement
Acknowledgments
Conflicts of Interest
References
- Yu, Z.S.; Kang, S.C.; Jiang, J.Y. Spatial and Temporal Variations of the Night-Rain Rate during Summer over the Tibetan Plateau. J. Mt. Sci. 2011, 29, 627–632. [Google Scholar]
- Qie, X.S.; Zhang, G.S.; Kong, X.Z.; Zhang, Y.J.; Wang, H.B. Observation on the summer lightning discharge in the northeastern Verge of Qinghai-Xizang Plateau. Plateau Meteorol. 2003, 22, 209–220. (In Chinese) [Google Scholar]
- Luo, Y.L.; Zhang, R.H.; Qian, W.M.; Luo, Z.Z.; Hu, X. Intercomparison of Deep Convection over the Tibetan Plateau–Asian Monsoon Region and Subtropical North America in Boreal Summer Using CloudSat/CALIPSO Data. J. Clim. 2014, 24, 2164–2177. [Google Scholar] [CrossRef]
- Xue, X.Y.; Ren, G.Y.; Sun, X.B.; Ren, Y.Y. Climatological characteristics of meso-scale and micro-scale strong convective weather events in China. Clim. Environ. Res. 2019, 24, 199–213. (In Chinese) [Google Scholar]
- Zheng, D.; Zhang, Y.J.; Zhang, Y.; Yao, W.; Wang, F.; Lyu, W.T.; Meng, Q.; Fan, X.P.; Ma, Y.; Yang, J. Lightning and deep convective activities over the Tibetan Plateau. Earth Sci. 2020, 7, 487–488. [Google Scholar] [CrossRef] [PubMed]
- Zhang, Y.H.; Yan, J.Z.; Cheng, X. Advances in impact of climate change and human activities on wetlands on the Tibetan Plateau. Acta Ecol. Sin. 2023, 43, 2180–2193. [Google Scholar]
- Williams, E.; Guha, A.; Boldi, R.; Christian, H.; Bechler, D. Global lightning activity and the hiatus in global warming. J. Atmos. Sol.-Terr. Phys. 2019, 189, 27–34. [Google Scholar] [CrossRef]
- Fan, P.L.; Zheng, D.; Zhang, Y.J.; Gu, S.Q.; Zhang, W.J.; Yao, W.; Yan, B.W.; Xu, Y.B. A performance evaluation of the World-Wide Lightning Location Network (WWLLN) over the Tibetan Plateau. J. Atmos. Ocean. Technol. 2018, 35, 927–939. [Google Scholar] [CrossRef]
- Xu, W.X. Thunderstorm Climatologies and Their Relationships to Total and Extreme Precipitation in China. J. Geophys. Res. Atmos. 2020, 125, e2020JD033152. [Google Scholar] [CrossRef]
- Zhu, J.; Zhi, S.; Ren, S. Characteristics of Lightning Activities over the Tibetan Plateau Based on Satellite Detection and Its Circulation Background Analysis. Atmosphere 2023, 14, 1765. [Google Scholar] [CrossRef]
- Guo, F.X.; Wang, M.F.; Huang, Z.C.; Li, Y.; Mu, Y.; Lian, C.; Zeng, F. The Model Analysis of Lightning Charge Structure Characters and Attributions over Qinghai-Tibetan Plateau. Plateau Meteorol. 2018, 37, 911–922. [Google Scholar]
- Wei, Q.; Zhou, W.; Xie, Y.X.; Zhang, W.; Duan, H. Study on the relationship between lightning and temperature and humidity in Sichuan. Meteorol. Hydrol. Mar. Instrum. 2023, 4, 40–44. [Google Scholar]
- Wen, H.; Zhang, W.J.; Lyu, W.T.; Li, P. Preliminary Observations from the China Fengyun-4A Lightning Mapping Imager and Its Optical Radiation Characteristics. Remote Sens. 2020, 12, 2622. [Google Scholar] [CrossRef]
- Qing, M.; Penglei, F.; Dong, Z.; Yijun, Z.; Wen, Y. Relationships between cloud-to-ground lightning and radar parameters at Naqu of the Qinghai-Tibet Plateau. J. Appl. Meteor. Sci. 2018, 29, 524–533. [Google Scholar]
- Hui, L.; Zhou, Y.J.; Yan, Z.T. The Characteristics of Thunderstorms and Their Lightning Activity on the Qinghai-Tibetan Plateau. Adv. Meteorol. 2022, 91, 214. [Google Scholar] [CrossRef]
- Qie, X.S.; Toumi, R.; Yuan, T. Lightning Activities on the Tibetan Plateau as Observed by the Lightning Imaging Sensor. J. Geophys. Res. Atmos. 2003, 108, 4551. (In Chinese) [Google Scholar] [CrossRef]
- Qie, X.S.; Yuan, T.; Xie, Y.R.; Ma, Y.M. Spatial and temporal distribution of lightning activities over the Tibetan plateau. Chin. J. Geophys. 2004, 47, 997–1002. (In Chinese) [Google Scholar]
- Gao, P.; Wu, T.; Wang, D. Initial Results of Long-term Continuous Observation of Lightning Discharges by FALMA in Chinese Inland Plateau Region. Atmosphere 2021, 12, 514. [Google Scholar] [CrossRef]
- Qie, X.S.; Toumi, R.; Zhou, Y.Y. Lightning activity on the central Tibetan Plateau and its response to convective available potential energy. Chin. Sci. Bull. 2003, 48, 296–299. [Google Scholar] [CrossRef]
- Zhao, Y.; Zhang, Y.J.; Dong, W.S.; Zhang, H.F.; Chen, C.P.; Zhang, T. Preliminary analysis of characteristics of lightning in the Nagqu area of the Qinghai-Xizang plateau. Chin. J. Geophys. 2004, 47, 405–410. (In Chinese) [Google Scholar]
- Yang, J.; Zhang, Z.Q.; Wei, C.Y.; Lu, F.; Guo, Q. Introducing the new generation of Chinese Geostationary Weather Satellites, Fengyun-4. Bull. Am. Meteorol. Soc. 2017, 98, 1637–1659. [Google Scholar] [CrossRef]
- Zou, M.; Zhang, Y.; Fan, Y.; Wang, J.; Zhang, H. Performance Evaluation of LMI Based on Low-Frequency Three-Dimensional Total Lightning Flash Location Data. Remote Sens. 2024, 16, 244. [Google Scholar] [CrossRef]
- Shi, D.D.; Zheng, D.; Zhang, Y.; Zhang, Y.; Huang, Z.; Lu, W.; Chen, S.D.; Yan, X. Low-frequency E-field Detection Array (LFEDA)-Construction and preliminary results. Sci. China Earth Sci. 2017, 60, 1896–1908. [Google Scholar] [CrossRef]
- Cao, D.J.; Lu, F.; Zhang, X.H.; Yang, J. Lightning Activity Observed by the FengYun-4A Lightning Mapping Imager. Remote Sens. 2021, 13, 4922–4941. [Google Scholar] [CrossRef]
- Li, Y.; Liu, Y.B.; Chen, Y.; Chen, B.J. Characteristics of Deep Convective Systems and Initiation during Warm Seasons over China and Its Vicinity. Remote Sens. 2021, 13, 4289. [Google Scholar] [CrossRef]
- Zhang, Y.; Wang, J.X.; Zheng, D.; Lyu, W.; Zhang, Y.; Fan, Y. Progress of Observation and Study on CMA_FEBLS Low Frequency Three-Dimensional Total Lightning Flash Detection Technology in the Last Decade. J. Trop. Meteorol. 2021, 37, 298–308. (In Chinese) [Google Scholar]
- Hui, W.; Guo, Q. Preliminary characteristics of measurements from Fengyun-4A Lightning Mapping Imager. Remote Sens. 2021, 42, 4922–4941. [Google Scholar] [CrossRef]
- Liu, R.X.; Lu, Q.F.; Chen, M.; Zhang, Y.; Hui, W.; Li, X.Q. Quality assessment of FY-4A lightning data in inland China. J. Trop. Meteorol. 2020, 26, 286–299. [Google Scholar]
- Mach, D.M. Geostationary Lightning Mapper clustering algorithm stability. J. Geophys. Res. Atmos. 2020, 125, e2019JD031900. [Google Scholar] [CrossRef]
- Huang, F.X. Lightning Imaging Sensor on FY-4 Meteorological Satellite: Mission and Challenge. Meteorol. Sci. Technol. 2007, 35, 35–42. [Google Scholar]
- Kang, N.; Guo, Y.; Hui, W.; He, X.W.; Peng, Y. Single-Event-Upset Protection on FPGA Loaded in Lightning Mapping Imager of FY-4A Satellite. Meteorol. Sci. Technol. 2020, 48, 68–75. [Google Scholar]
- Wu, X.; Yuan, T.; Qie, K.; Luo, J. Geographical distribution of extreme deep and intense convective storms on Earth. Atmos. Res. 2020, 235, 104789. [Google Scholar] [CrossRef]
- Xia, R.D.; Zhang, D.L.; Wang, B. A 6-yr cloud-to-ground lightning climatology and its relationship to rainfall over central and eastern China. J. Appl. Meteorol. Climatol. 2015, 54, 2443–2460. [Google Scholar] [CrossRef]
- Duan, C.F.; Cao, W.; Miao, Q.L.; Liu, K. Spatial Distribution of Night Rainfall in Summer over China. J. Nat. Resour. 2013, 28, 1935–1944. (In Chinese) [Google Scholar]
- Yang, Z.Y.; Duan, W.S.; Sun, J.h. Climatic characteristics of night rain in Yunnan Province. Torrential Rain Disaster 2021, 40, 160–166. [Google Scholar]
- Wang, J.S.; Jiang, X.; Zhang, X.D. Characteristics of temporal and spatial variations of nocturnal precipitation in China. J. Nanjing Univ. 2022, 58, 750–765. (In Chinese) [Google Scholar]
- Srivastava, A.; Tian, Y.; Qie, X.S.; Wang, D.; Sun, Z.; Yuan, S.; Wang, Y.; Chen, Z.; Xu, W.; Zhang, H. Performance assessment of Beijing Lightning Network (BLNET) and comparison with other lightning location networks across Beijing. Atmos. Res. 2017, 197, 76–83. [Google Scholar] [CrossRef]
- Wang, D.F.; Qie, X.S.; Yuan, S.F.; Sun, Z.L.; Chen, Z.X.; Li, J.L. Spatial and Temporal Distribution of Lightning Activity and Contribution of Thunderstorms with Different Lightning-Producing Capabilities in Beijing Metropolitan Region. Chin. J. Atmos. Sci. 2020, 44, 225–238. (In Chinese) [Google Scholar]
- Yuan, T.; Qie, X.S. Seasonal variation of lightning activities and related meteorological factors over the central Qinghai-Xizang Plateau. Acta Meteor. Sin. 2005, 63, 123–127. [Google Scholar]
- Zhu, J. Comparison of the Satellite-Based Lightning Imaging Sensor (LIS) against the Ground-Based National Lightning Monitoring Network. Prog. Geophys. 2018, 33, 541–546. (In Chinese) [Google Scholar]
- Hui, W.; Huang, F.X.; Liu, R.X. Characteristics of lightning signals over the Tibetan Plateau and the capability of FY-4A LMI lightning detection in the Plateau. Int. J. Remote Sens. 2020, 41, 4605–4625. [Google Scholar] [CrossRef]










| Detection Network | Number and Percentage of Flashes | |
|---|---|---|
| IC Detected | CG Detected | |
| LMI | 1007 | 160 |
| LFEDA (true value) | 15,788 | 15,063 |
| DE of LMI | 6.4% | 1.1% |
Disclaimer/Publisher’s Note: The statements, opinions and data contained in all publications are solely those of the individual author(s) and contributor(s) and not of MDPI and/or the editor(s). MDPI and/or the editor(s) disclaim responsibility for any injury to people or property resulting from any ideas, methods, instructions or products referred to in the content. |
© 2024 by the authors. Licensee MDPI, Basel, Switzerland. This article is an open access article distributed under the terms and conditions of the Creative Commons Attribution (CC BY) license (https://creativecommons.org/licenses/by/4.0/).
Share and Cite
Zhu, J.; Zhi, S.; Zheng, D.; Yuan, Z. Three-Dimensional Lightning Characteristics Analysis over the Tibetan Plateau Based on Satellite-Based and Ground-Based Multi-Source Data. Atmosphere 2024, 15, 854. https://doi.org/10.3390/atmos15070854
Zhu J, Zhi S, Zheng D, Yuan Z. Three-Dimensional Lightning Characteristics Analysis over the Tibetan Plateau Based on Satellite-Based and Ground-Based Multi-Source Data. Atmosphere. 2024; 15(7):854. https://doi.org/10.3390/atmos15070854
Chicago/Turabian StyleZhu, Jie, Shulin Zhi, Dong Zheng, and Zhengguo Yuan. 2024. "Three-Dimensional Lightning Characteristics Analysis over the Tibetan Plateau Based on Satellite-Based and Ground-Based Multi-Source Data" Atmosphere 15, no. 7: 854. https://doi.org/10.3390/atmos15070854
APA StyleZhu, J., Zhi, S., Zheng, D., & Yuan, Z. (2024). Three-Dimensional Lightning Characteristics Analysis over the Tibetan Plateau Based on Satellite-Based and Ground-Based Multi-Source Data. Atmosphere, 15(7), 854. https://doi.org/10.3390/atmos15070854

