Spatial and Temporal Distribution of CO2 and Thermal Comfort Conditions in a Day Care Center
Abstract
1. Introduction
2. Materials and Methods
2.1. Experimental Test Room
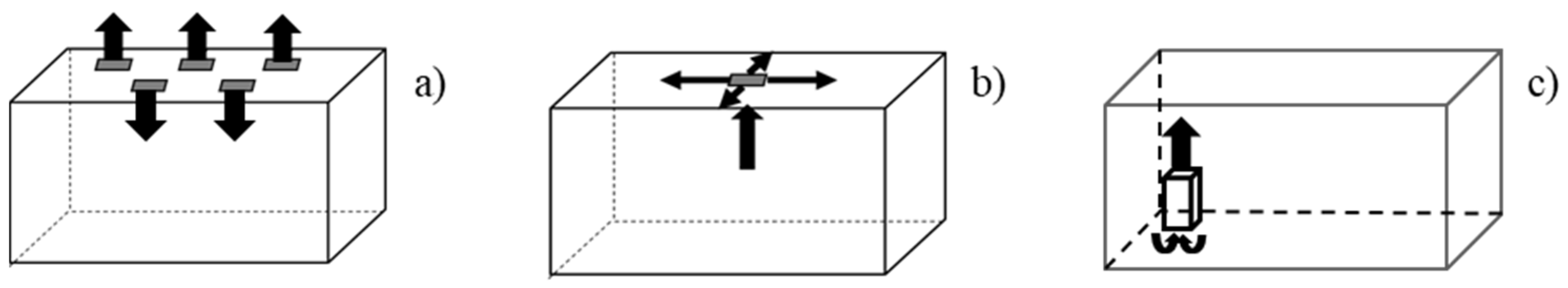
2.2. Air Treatment Systems
2.3. Experimental Test Studied
2.4. Thermal Comfort Variables
2.5. CO2 Concentration
3. Results
3.1. Thermal Comfort Analysis
3.1.1. PPDH and PPDL Temporal Analysis
3.1.2. PPDH and PPDL Classification by Footprint
3.1.3. PPDH and PPDL Statistical Analysis
3.1.4. PPDH and PPDL Time Average Analysis
3.2. CO2 Concentration Analysis
3.2.1. Temporal CO2 Concentration Analysis
3.2.2. CO2 Concentration Classification by Footprint
3.2.3. CO2 Concentration Statistical Analysis
3.2.4. CO2 Concentration Time Average Analysis
4. Limitations of This Study
5. Conclusions
- Children were more affected by thermal comfort issues compared to adults, with the additional consideration that children require a higher comfort category (Category I) than adults (Category II). In none of the experimental tests did the children’s breathing plane (L) remain within Category I throughout the entire period. Conversely, when either VS or FC was activated, air quality exposure was similar across both planes. However, when no system or only AC was activated, the teacher’s plane (H) experienced poor air quality.
- A spatial variation in thermal comfort was observed between the two planes, with the maximum variation found in case 8 and the minimum in case 2.
- The spatial variation in CO2 concentration between planes was greatest in case 1 and case 4.
- The temporal variation in thermal comfort between planes was highest in case 8 and lowest in cases 2, case 3, and case 5. When VS and/or FC were activated under very low outdoor temperatures, the difference between the planes increased. However, this difference decreased as outdoor temperatures rose.
- The temporal variation in air quality between planes was greatest in case 1, case 3, case 4, and case 7. Activating VS improved air quality and reduced the differences between planes. Outdoor atmospheric conditions had a greater influence when VS was activated, increasing the sensation of cold but also improving air quality. Conversely, activating FC improved thermal comfort in both planes while increasing the difference between them. Achieving a balance between activating VS and/or FC and accounting for outdoor atmospheric conditions is crucial. Among the eight experimental tests, this balance was best achieved in case 5, where both VS and FC were activated.
Author Contributions
Funding
Institutional Review Board Statement
Informed Consent Statement
Data Availability Statement
Acknowledgments
Conflicts of Interest
Abbreviations
| Nomenclature | |
| ACH | Air changes per hour (h−1) |
| Cx | CO2 concentration spatial average in plane or probe “x” (ppm) |
| x | CO2 concentration temporal average in plane or probe “x” (ppm) |
| fcl | Clothing surface area factor |
| hc | Convective heat transfer coefficient (W/(m2·K)) |
| M | Metabolic rate (W/m2) |
| pa | Water vapor partial pressure (Pa) |
| PMV | Predicted mean voted |
| PMVx | PMV spatial average in plane or probe “x” |
| x | PMV temporal average in plane or probe “x” |
| PPD | Predicted percentage of dissatisfied (%) |
| PPDx | PPD spatial average in plane “x” (%) |
| x | PPD temporal average in plane “x” (%) |
| RH | Relative humidity (%) |
| ta | Air temperature (°C) |
| tcl | Clothing surface temperature (°C) |
| Mean radiant temperature (°C) | |
| T | Temperature (°C) |
| W | Effective mechanical power (W/m2) |
| Acronyms | |
| AC | Portable air cleaner system |
| D | Door |
| E | Exhaust grille |
| FC | Fan coil unit system |
| H | High plane |
| HVAC | Heating, ventilation and air-conditioning systems |
| IAQ | Indoor air quality |
| IEQ | Indoor environmental quality |
| IQR | Interquartile range |
| L | Low plane |
| NS | No system |
| ODA | Outdoor air quality |
| P | Probe |
| S | Supply grille |
| SARS-CoV-2 | Severe acute respiratory syndrome coronavirus |
| VS | Ventilation system |
| Subscripts | |
| H | Measurement plane at 1.7 m |
| L | Measurement plane at 0.75 m |
| i | Probe number |
References
- Riley, E.C.; Murphy, G.; Riley, R.L. Airborne spread of measles in a suburban elementary school. Am. J. Epidemiol. 1978, 107, 421–432. [Google Scholar] [CrossRef]
- Issarow, C.M.; Mulder, N.; Wood, R. Modelling the risk of airborne infectious disease using exhaled air. J. Theor. Biol. 2015, 372, 100–106. [Google Scholar] [CrossRef]
- Correia, G.; Rodrigues, L.; da Silva, M.G.; Gonçalves, T. Airborne route and bad use of ventilation systems as non-negligible factors in SARS-CoV-2 transmission. Med. Hypotheses 2020, 141, 109781. [Google Scholar] [CrossRef] [PubMed]
- Cheung, T.; Li, J.; Goh, J.; Sekhar, C.; Cheong, D.; Tham, K.W. Evaluation of aerosol transmission risk during home quarantine under different operating scenarios: A pilot study. Build. Environ. 2022, 225, 109640. [Google Scholar] [CrossRef]
- Milton, D.K. A Rosetta Stone for Understanding Infectious Drops and Aerosols. J. Pediatr. Infect. Dis. Soc. 2020, 9, 413–415. [Google Scholar] [CrossRef] [PubMed]
- Olmedo, I.; Nielsen, P.V.; Ruiz de Adana, M.; Jensen, R.L.; Grzelecki, P. Distribution of exhaled contaminants and personal exposure in a room using three different air distribution strategies. Indoor Air 2012, 22, 64–76. [Google Scholar] [CrossRef] [PubMed]
- King, M.-F.; Noakes, C.; Sleigh, P.; Camargo-Valero, M. Bioaerosol deposition in single and two-bed hospital rooms: A numerical and experimental study. Build. Environ. 2013, 59, 436–447. [Google Scholar] [CrossRef]
- Villafruela, J.; Olmedo, I.; José, J.S. Influence of human breathing modes on airborne cross infection risk. Build. Environ. 2016, 106, 340–351. [Google Scholar] [CrossRef]
- Wu, W.; Lin, Z. Experimental study of the influence of a moving manikin on temperature profile and carbon dioxide distribution under three air distribution methods. Build. Environ. 2015, 87, 142–153. [Google Scholar] [CrossRef]
- Xu, C.; Nielsen, P.V.; Liu, L.; Jensen, R.L.; Gong, G. Human exhalation characterization with the aid of schlieren imaging technique. Build. Environ. 2017, 112, 190–199. [Google Scholar] [CrossRef]
- Wu, Y.; Gao, N. The dynamics of the body motion induced wake flow and its effects on the contaminant dispersion. Build. Environ. 2014, 82, 63–74. [Google Scholar] [CrossRef]
- Korsavi, S.S.; Montazami, A.; Mumovic, D. Ventilation rates in naturally ventilated primary schools in the UK; Contextual, Occupant and Building-related (COB) factors. Build. Environ. 2020, 181, 107061. [Google Scholar] [CrossRef]
- Deng, S.; Lau, J. Seasonal variations of indoor air quality and thermal conditions and their correlations in 220 classrooms in the Midwestern United States. Build. Environ. 2019, 157, 79–88. [Google Scholar] [CrossRef]
- Korsavi, S.S.; Montazami, A.; Mumovic, D. Indoor air quality (IAQ) in naturally-ventilated primary schools in the UK: Occupant-related factors. Build. Environ. 2020, 180, 106992. [Google Scholar] [CrossRef]
- Mohamed, S.; Rodrigues, L.; Omer, S.; Calautit, J. Overheating and indoor air quality in primary schools in the UK. Energy Build. 2021, 250, 111291. [Google Scholar] [CrossRef]
- Vilcekova, S.; Meciarova, L.; Burdova, E.K.; Katunska, J.; Kosicanova, D.; Doroudiani, S. Indoor environmental quality of classrooms and occupants’ comfort in a special education school in Slovak Republic. Build. Environ. 2017, 120, 29–40. [Google Scholar] [CrossRef]
- Zivelonghi, A.; Lai, M. Mitigating aerosol infection risk in school buildings: The role of natural ventilation, volume, occupancy and CO2 monitoring. Build. Environ. 2021, 204, 108139. [Google Scholar] [CrossRef]
- Mahyuddin, N.; Awbi, H. The spatial distribution of carbon dioxide in an environmental test chamber. Build. Environ. 2010, 45, 1993–2001. [Google Scholar] [CrossRef]
- Asif, A.; Zeeshan, M.; Jahanzaib, M. Indoor temperature, relative humidity and CO2 levels assessment in academic buildings with different heating, ventilation and air-conditioning systems. Build. Environ. 2018, 133, 83–90. [Google Scholar] [CrossRef]
- Johnson, D.L.; Lynch, R.A.; Floyd, E.L.; Wang, J.; Bartels, J.N. Indoor air quality in classrooms: Environmental measures and effective ventilation rate modeling in urban elementary schools. Build. Environ. 2018, 136, 185–197. [Google Scholar] [CrossRef]
- Kabirikopaei, A.; Lau, J. Uncertainty analysis of various CO2-Based tracer-gas methods for estimating seasonal ventilation rates in classrooms with different mechanical systems. Build. Environ. 2020, 179, 107003. [Google Scholar] [CrossRef]
- Villafruela, J.; Olmedo, I.; de Adana, M.R.; Méndez, C.; Nielsen, P. CFD analysis of the human exhalation flow using different boundary conditions and ventilation strategies. Build. Environ. 2013, 62, 191–200. [Google Scholar] [CrossRef]
- ISO 16000-26:2012; Indoor Air—Part 26: Sampling Strategy for Carbón Dioxide (CO2). ISO: Geneva, Switzerland, 2012.
- Korsavi, S.S.; Jones, R.V.; Fuertes, A. Operations on windows and external doors in UK primary schools and their effects on indoor environmental quality. Build. Environ. 2022, 207, 108416. [Google Scholar] [CrossRef]
- Haddad, S.; Synnefa, A.; Marcos, M.Á.P.; Paolini, R.; Delrue, S.; Prasad, D.; Santamouris, M. On the potential of demand-controlled ventilation system to enhance indoor air quality and thermal condition in Australian school classrooms. Energy Build. 2021, 238, 110838. [Google Scholar] [CrossRef]
- Merema, B.; Delwati, M.; Sourbron, M.; Breesch, H. Demand controlled ventilation (DCV) in school and office buildings: Lessons learnt from case studies. Energy Build. 2018, 172, 349–360. [Google Scholar] [CrossRef]
- Dorizas, P.V.; Samuel, S.; Dejan, M.; Keqin, Y.; Dimitris, M.-M.; Tom, L. Performance of a natural ventilation system with heat recovery in UK classrooms: An experimental study. Energy Build. 2018, 179, 278–291. [Google Scholar] [CrossRef]
- Korsavi, S.S.; Montazami, A.; Mumovic, D. Perceived indoor air quality in naturally ventilated primary schools in the UK: Impact of environmental variables and thermal sensation. Indoor Air 2020, 31, 480–501. [Google Scholar] [CrossRef]
- Olmedo, I.; Berlanga, F.; Villafruela, J.; de Adana, M.R. Experimental variation of the personal exposure in a hospital room influenced by wall heat gains. Build. Environ. 2019, 154, 252–262. [Google Scholar] [CrossRef]
- Berlanga, F.; Olmedo, I.; de Adana, M.R.; Villafruela, J.; José, J.S.; Castro, F. Experimental assessment of different mixing air ventilation systems on ventilation performance and exposure to exhaled contaminants in hospital rooms. Energy Build. 2018, 177, 207–219. [Google Scholar] [CrossRef]
- Berlanga, F.; de Adana, M.R.; Olmedo, I.; Villafruela, J.; José, J.S.; Castro, F. Experimental evaluation of thermal comfort, ventilation performance indices and exposure to airborne contaminant in an airborne infection isolation room equipped with a displacement air distribution system. Energy Build. 2018, 158, 209–221. [Google Scholar] [CrossRef]
- Zhang, D.; Ding, E.; Bluyssen, P.M. Guidance to assess ventilation performance of a classroom based on CO2 monitoring. Indoor Built Environ. 2022, 31, 1107–1126. [Google Scholar] [CrossRef]
- Shrestha, M.; Rijal, H.; Kayo, G.; Shukuya, M. An investigation on CO2 concentration based on field survey and simulation in naturally ventilated Nepalese school buildings during summer. Build. Environ. 2022, 207, 108405. [Google Scholar] [CrossRef]
- Monge-Barrio, A.; Bes-Rastrollo, M.; Dorregaray-Oyaregui, S.; González-Martínez, P.; Martin-Calvo, N.; López-Hernández, D.; Arriazu-Ramos, A.; Sánchez-Ostiz, A. Encouraging natural ventilation to improve indoor environmental conditions at schools. Case studies in the north of Spain before and during COVID. Energy Build. 2022, 254, 111567. [Google Scholar] [CrossRef]
- Cai, C.; Sun, Z.; Weschler, L.B.; Li, T.; Xu, W.; Zhang, Y. Indoor air quality in schools in Beijing: Field tests, problems and recommendations. Build. Environ. 2021, 205, 108179. [Google Scholar] [CrossRef]
- Mijakowski, M.; Sowa, J. An attempt to improve indoor environment by installing humidity-sensitive air inlets in a naturally ventilated kindergarten building. Build. Environ. 2017, 111, 180–191. [Google Scholar] [CrossRef]
- St-Jean, M.; St-Amand, A.; Gilbert, N.L.; Soto, J.C.; Guay, M.; Davis, K.; Gyorkos, T.W. Indoor air quality in Montréal area day-care centres, Canada. Environ. Res. 2012, 118, 1–7. [Google Scholar] [CrossRef]
- Technical Building Code (CTE). Available online: https://www.codigotecnico.org (accessed on 4 December 2024).
- EN 16798-3:2017; Energy Performance of Buildings. Ventilation for Buildings. For Non-Residential Buildings. Performance Requirements for Ventilation and Room-Conditioning Systems (Modules M5-1, M5-4). ISO: Geneva, Switzerland, 2017.
- Long Range Wide Area Network Protocol. Available online: https://lora-alliance.org/about-lorawan/ (accessed on 4 December 2024).
- Jiménez, J.L.S.; de Adana, M.R. Assessment of Outdoor Thermal Comfort in a Hot Summer Region of Europe. Atmosphere 2024, 15, 214. [Google Scholar] [CrossRef]
- ISO 7730:2005; Ergonomics of the Thermal Environment. Analytical Determination and Interpretation of Thermal Comfort Using Calculation of the PMV and PPD Indices and Local Thermal Comfort Criteria. ISO: Geneva, Switzerland, 2005.
- EN 16798-2:2019; Energy Performance of Buildings. Ventilation for Buildings. Part 2: Interpretation of the Requirements in EN 16798-1. ISO: Geneva, Switzerland, 2019.











| Air Treatment Systems | |||
|---|---|---|---|
| Characteristics | VS | FC | AC |
| Type of system | Unidirectional exhaust air (*) | Air heating | Portable |
| Outside air | 100% | 0% | 0% |
| Flow (m3/h) | 300 | 175 | 230 |
| ACH (h−1) | 2.4 | 1.4 | 1.9 (**) |
| Air Treatment Systems | ||||
|---|---|---|---|---|
| Characteristics | Temperature | Relative Humidity | CO2 Concentration | Air Velocity |
| Measurement range | 0–65 °C | 10–90% | 400–5000 ppm | 0–50 m/s |
| Accuracy | ±0.2 °C | ±2% | ±50 ppm + 5% of reading | ±0.03 m/s + 4% of reading |
| Sampling rate | 2 min | |||
| Date | JAN 17 | MAR09 | FEB 14 | FEB 21 | FEB 16 | FEB 24 | FEB 09 | FEB 02 | |
|---|---|---|---|---|---|---|---|---|---|
| Experimental Test | Case | NS | VS | FC | AC | VS + FC | VS + AC | FC + AC | VS + FS + AC |
| 1 | 2 | 3 | 4 | 5 | 6 | 7 | 8 | ||
| Air system operation | VS | OFF | ON | OFF | OFF | ON | ON | OFF | ON |
| FC | OFF | OFF | ON | OFF | ON | OFF | ON | ON | |
| AC | OFF | OFF | OFF | ON | OFF | ON | ON | ON | |
| Scale | Sensation |
|---|---|
| +3 | Hot |
| +2 | Warm |
| +1 | Slightly warm |
| 0 | Neutro |
| −1 | Slightly cool |
| −2 | Cool |
| −3 | Cold |
| Thermal State of the Body as a Whole | ||||
|---|---|---|---|---|
| Category | PPD (%) | PMV | Level of Expectation | Explanation |
| I | <6 | −0.2 < PMV < +0.2 | High | Occupants with special needs (children, etc.) |
| II | <10 | −0.5 < PMV < +0.5 | Medium | Normal level |
| III | <15 | −0.7 < PMV < +0.7 | Moderate | Acceptable level |
| IV | <25 | −1.0 < PMV < +1.0 | Low | Very short time of occupancy |
| Category | CO2 Concentration (ppm) |
|---|---|
| I | 0–950 |
| II | 951–1200 |
| III | 1201–1750 |
| IV | >1750 |
| Experimental Test | 1 | 2 | 3 | 4 | 5 | 6 | 7 | 8 | ||
|---|---|---|---|---|---|---|---|---|---|---|
| Air System Operation | VS | OFF | ON | OFF | OFF | ON | ON | OFF | ON | |
| FC | OFF | OFF | ON | OFF | ON | OFF | ON | ON | ||
| AC | OFF | OFF | OFF | ON | OFF | ON | ON | ON | ||
| T (°C) | 09:30 a.m. | 12 | 14 | 8 | 9 | 8 | 1 | 6 | 1 | |
| 1:30 p.m. | 15 | 16 | 16 | 19 | 17 | 12 | 14 | 13 | ||
| Average | 13.5 | 15 | 12 | 14 | 12.5 | 6.5 | 10 | 7 | ||
| RH (%) | 09:30 a.m. | 94 | 94 | 76 | 87 | 81 | 86 | 93 | 80 | |
| 1:30 p.m. | 82 | 100 | 48 | 46 | 42 | 44 | 58 | 47 | ||
| Average | 88 | 97 | 62 | 66.5 | 61.5 | 65 | 75.5 | 63.5 | ||
| Climate | C | C | S | S | S | S | C | S | ||
| Precipitation (mm) | 0.25 | 0.76 | 0 | 0 | 0 | 0 | 0 | 0 | ||
| Visibility (km) | 9.7 | 8.2 | 10 | 9.7 | 10 | 10 | 9.5 | 9.8 | ||
| Wind speed (km/h) | 24.6 | 13.7 | 10 | 4.8 | 7.4 | 5 | 6.1 | 2.6 | ||
Disclaimer/Publisher’s Note: The statements, opinions and data contained in all publications are solely those of the individual author(s) and contributor(s) and not of MDPI and/or the editor(s). MDPI and/or the editor(s) disclaim responsibility for any injury to people or property resulting from any ideas, methods, instructions or products referred to in the content. |
© 2024 by the authors. Licensee MDPI, Basel, Switzerland. This article is an open access article distributed under the terms and conditions of the Creative Commons Attribution (CC BY) license (https://creativecommons.org/licenses/by/4.0/).
Share and Cite
Luque, J.M.M.; Jiménez, J.L.S.; Ruiz de Adana, M. Spatial and Temporal Distribution of CO2 and Thermal Comfort Conditions in a Day Care Center. Atmosphere 2024, 15, 1500. https://doi.org/10.3390/atmos15121500
Luque JMM, Jiménez JLS, Ruiz de Adana M. Spatial and Temporal Distribution of CO2 and Thermal Comfort Conditions in a Day Care Center. Atmosphere. 2024; 15(12):1500. https://doi.org/10.3390/atmos15121500
Chicago/Turabian StyleLuque, José María Moral, José Luis Sánchez Jiménez, and Manuel Ruiz de Adana. 2024. "Spatial and Temporal Distribution of CO2 and Thermal Comfort Conditions in a Day Care Center" Atmosphere 15, no. 12: 1500. https://doi.org/10.3390/atmos15121500
APA StyleLuque, J. M. M., Jiménez, J. L. S., & Ruiz de Adana, M. (2024). Spatial and Temporal Distribution of CO2 and Thermal Comfort Conditions in a Day Care Center. Atmosphere, 15(12), 1500. https://doi.org/10.3390/atmos15121500

