Next Article in Journal
Responses of Growth, Enzyme Activity, and Flower Bud Differentiation of Pepper Seedlings to Nitrogen Concentration at Different Growth Stages
Next Article in Special Issue
Design of Chili Field Navigation System Based on Multi-Sensor and Optimized TEB Algorithm
Previous Article in Journal
Mechanical Harvesting of Marginal Land and Agroforestry Field: New Insights from Safflower for Bio-Product Production
Previous Article in Special Issue
HCFormer: A Lightweight Pest Detection Model Combining CNN and ViT
 
 
Font Type:
Arial Georgia Verdana
Font Size:
Aa Aa Aa
Line Spacing:
Column Width:
Background:
Article

Design and Test of Potato Seedling Killing and Residual Film Recycling Integrated Machine

College of Mechanical and Electrical Engineering, Gansu Agricultural University, Lanzhou 730070, China
*
Author to whom correspondence should be addressed.
Agronomy 2024, 14(10), 2269; https://doi.org/10.3390/agronomy14102269
Submission received: 19 August 2024 / Revised: 12 September 2024 / Accepted: 27 September 2024 / Published: 1 October 2024

Abstract

Plastic film mulching technology can effectively enhance crop yield and quality, and the use of mulch has been increasing in recent years; however, the problem of mulch residue is worsening due to the large amount of recycling work and slow natural degradation. In this study, a potato seedling killing and residual film recycling machine is designed to provide good working conditions for potato harvesters before harvesting in response to the problems of difficult separation of film tangles, the low net rate of recycling due to the mixing of residual film with soil, and the high soil content in residual film recycling operations in northwest China. The machine is based on the potato monoculture and double row planting mode in Gansu area. This paper puts forward the overall design scheme and carries out the theoretical analysis and parameter determination of the key components, such as the seedling killing device, the film surface cleaning device, the film unloading device, and so on. Using EDEM software to carry out the virtual simulation test and Design-Expert13 to analyze the test results, we determined the optimal working scheme for the machine, with a forward speed of 0.8 m/s, a film gap of 125 mm, and a spiral stirrer speed of 600 r/min. Based on a field test for verification, the test results show that the machine’s residual film recovery rate was 83.3%, the impurity rate was 3.8%, and the rate of injury to the potatoes was 1.4%. The machine meets the requirements of national and industry standards, and it can simultaneously realize straw crushing, film surface cleaning, residual film recycling, and hydraulic film unloading operations, with better operating results and while reaching the expected results. It can also provide a reference for the design and testing of a seeding and residual film recycling machine.

1. Introduction

Plastic film mulching technology can improve crop yield and quality, save water resources, and improve the soil environment [1,2]. Nowadays, with the advancement of science and technology and demand, it has gradually evolved into a sustainable agricultural production method, and it has been widely used in the fields of field crop mulching, orchards, vegetable greenhouses, and other fields. However, while improving the growing environment of crops, mulch film has also caused some pollution to the environment [3,4]. Due to the slow degradation of mulch film, the huge amount of use, and the less-developed technology for recycling mulch film, most of the mulch film is left behind in the field, which affects the seedling emergence of crops, the growth of root systems, and the yield of crops. It is also not conducive to the mechanization of the farmland, which restricts the ecological environment of the farmland and the sustained development of agriculture [5]. China, as the largest agricultural film user in Asia, accounting for more than 70% of Asia and nearly 50% of the world, has increased the use of agricultural plastic mulch from 375,000 tons in 1993 to 1.32 million tons in 2021 [6], and it is still on the rise.
The traditional method of crop residual film disposal is mainly burning and burying, which not only pollutes the air environment but also damages the soil quality and the ecosystem [7,8]. In recent years, with the continuous development of science and technology, mechanized residual film recycling technology has begun to emerge, and experts and scholars at home and abroad have developed many types of residual film recycling machines. For example, Gansu Agricultural University developed the canvas belt potato digging residual film recycling joint operation machine. China, Shandong, Fangcheng Agricultural Machinery Co. developed the 18CM-130A7 residual film recycling bundling machine [9]. Other examples include China, Jiangsu, Changzhou Hansen Machinery Co., Ltd. in Xinjiang [10], the 4CMJ-2.0 integrated residual film recycling and straw return machine developed by American scholars Sawyer and Roberson, and the hydraulic residual film recycling machine developed by Israel [11]. Although residual film recycling technology has made great progress, thus alleviating the traditional manual recycling method’s inefficiency and high cost, the existing residual film recycling machine still presents some problems, such as film and seedling entanglement in potato planting plots, resulting in a poor separation effect. The residual film recycling device’s operation is unstable, prone to the entanglement congestion phenomenon, etc. [12].
In order to solve the problems of the residual film recycling machine, the project team designed a potato seedling killing and residual film recycling machine, which can simultaneously achieve the straw crushing, film cleaning, residual film recycling, and hydraulic unloading operations, improve the recycling efficiency of residual film while ensuring the integrity of the residual film, solve the environmental problems brought about by crop residual film, promote the sustainable development of agricultural production, and promote the process of agricultural mechanization and intelligence, which is of great significance to the promotion of the design of the potato seedling killing and residual film recycling machine and the sustainable development of agriculture. It is of great significance to provide a reference for the design of potato seedling killing and residual film recycling equipment and the sustainable development of agriculture.

2. Materials and Methods

2.1. Structure and Main Technical Parameters of the Machine

As shown in Figure 1, the machine mainly consists of 3 parts: the seedling killing device, the film surface cleaning device, and the film unloading device. The potato seedling killing device primarily consists of a suspension frame, a protective shell for the killing machine, a transmission system, an anti-damage baffle plate, and a seedling killing and dumping knife. The film surface cleaning device comprises a pressing roller, a spiral soil removal device, and a roller brush soil removal device. The residual film recovery part consists of a frame, a parallel four-bar adjusting mechanism, a film rolling device, an adjustable ground wheel, and so on. The machine has a set of seedling killing, film surface sub-cleaning, film rolling, and unloading functions in one. The machine’s main technical indicators are shown in Table 1.

2.2. Working Principle

The machine adopts the three-point suspension type. When the machine is working, driven by tractor traction, the potato straw on the ridge and the edge of the ridge is cut off and crushed by the seedling killing knife, the anti-damage baffle plate, and the shell of the seedling killing machine is rebounded back to the ridge by the splash of straw. The machine will be used for the production of the seedling killing machine, and it is also used for the production of the seedling killing machine. As the machine advances, the suppression roller crushes the slabs of soil and clumps of straw on the film’s surface, and then the screwdriving device pushes the crushed soil and crushed straw on the ridge to the bottom of the two sides of the ridge. Then, the remaining impurities on the surface layer of the film surface on the ridge are swept away by the roller brush device at the rear of the screw device, and, after the film surface is cleaned, the subsequent film rolling operation begins [13] Rolling film device on the pick film teeth due to the centrifugal force generated by the rotation of the film rollers popped out of the film on the ridge to pick up the film, film rollers under the edge of the film film shovel will be the edge of the residual film flipped up, residual film by the pick film teeth attached to the film rollers, unloading operations, film rollers to stop the operation of the film, residual film by the hydraulic cylinders driven by the side of the roll rolls off to the field, the falling residual film from the manual pickup to recycle, to complete the recycling of residual film operations.

2.3. Structure Design of Seedling Killing Device

The potato seedling killing (stubble) device in Figure 2 mainly comprises the dumping knife roller, the gearbox, the three-point suspension device, the shield shell and other components, and the power transmission mode for the belt drive. Throwing knife roller structure by the roller, the edge of the ridge large dumping knife and small dumping knife on the ridge and other components, the large dumping knife two for a group, mainly clean up the edge of the ridge potato straw; dumping knife roller in the middle of the middle part of the staggered distribution by the small dumping knife, used to break up the ridge potato straw and part of the soil.

2.3.1. Tool Arrangement Distribution

The potato seedling killing device’s dump knife roller cutter is used in the form of blades. A knife roller through the high-speed rotation of the tool is used to achieve centrifugal rotary movement. The tool can be used to break the potato’s residual seedling effect, and the tool arrangement also needs to meet the same rotary plane within the symmetrical arrangement of the tool to ensure that it does not miss the cut conditions as far as possible under the selection of the larger value of the knife, which is axially arranged at the same phase angle to avoid straw and weeds, such as in the case of an entangled cutter. The cutter arrangement is shown in Figure 3.
As shown in Figure 3a, the length of the dumping knife roller is 1100 mm, the interval of knives on the edge of the ridge is 80 mm, and the interval of knives on the ridge is 120 mm. As shown in Figure 3b, the overall tool is divided into 15 groups, with 4 groups of tools installed on the edge of the ridge and 2 tools installed on the same rotary plane. The tool phase angle is 180°, and 11 groups of tools are installed on the ridge. Four tools are installed on the same rotary plane, and the tool phase angle is 90°.

2.3.2. Tool Structure Parameters

In order to improve the machine to kill the quality of rice seedlings, work efficiency, while reducing the damage of the tool on the potato, the design of the tool to take the edge of the monopoly dumping knife and the monopoly dumping knife two kinds of knives, as shown in Figure 4. The knife is connected to the knife roller through the pin articulation, and the connection hole is large to ensure that the seedling killing knife can be properly adjusted to fling. In order to conform to the shape of the ridge, the knife is designed as a slanting knife, which can reduce the cutting resistance of the knife and facilitate the knife’s ability to break the potato stalks. In order to increase the contact area between the seedling killing knife and potato straw, the knife on the ridge is designed as a bending type. If the tool’s bending angle is too small, it is easy for weeds and straw on the ridge to become entangled. On the contrary [14], the potato straw, if broken, cannot be effective, thus affecting the film surface cleaning effect. After analysis, the bending angle of the knife throwing was set to 30°.

2.3.3. Simulation Optimization of Seedling Killing Device

Parameter Setting
In order to study the seedling killing effect of the seedling killing knife and provide data support for the subsequent field test of the residual film recycling prototype, according to the structural analysis of the potato seedling killing device, the discrete elements of the model of the seedling killing knife, the straw, and the soil was established by using Rcuedyn2023 dynamics simulation software and EDEM2020 discrete element simulation software. Except for the contact model between potato straw particles selected through the Hertz–Mindlin with bonding model, for the rest of the particles, the areas between the particles, and the geometry, the contact models selected were the default Hertz–Mindlin no-sliding contact model and the Standard Rolling Friction rolling friction model. The simulation model parameters are shown in Table 2 [15,16].
Simulation Modeling
Using Solid Works to create the potato straw and soil trough model, we imported the model into EDEM, as shown in Figure 5 and Figure 6. The potato straw was filled with a length of 120 mm and a diameter of 10 mm, and the soil trough model was set to a length of 1500 mm, a width of 900 mm, and a height of 300 mm. We then set up a particle factory for generating soil particles, and we filled the soil trough quickly with soil particles of 5 mm that were established in advance. Finally, the straw particles were generated on the surface of the soil particles, where the number of particles was set to 50 in the straw particle factory. The total simulation time for this simulation test was 1.5 s. The Recurdyn2023 time step was 0.01, and the EDEM time step was set to 1 × 10−5.

2.4. Structural Design of Membrane Surface Cleaning Device

The film surface cleaning device is shown in Figure 7, which mainly consists of three parts: the imitation suppression roller, the first-level film surface cleaning device, the spiral soil repellent device, and the second-level film surface cleaning device roller brush device.

2.4.1. Screw Driver Structural Analysis

The spiral soil driving device, shown in Figure 8, mainly consists of a drive shaft, a spiral support beam, a pair of connecting plates, a chain drive, and a spiral mechanism designed. The main purpose of the design is to solve the problem of film-soil-seedling entanglement, to provide a recycling occasion for the residual film recycling device before the operation, and to clean the residual film surface on the ridge with more residual seedlings and soil and other impurities to the bottom of the ridge.
During the working process, the soil seedlings and other accumulated materials on the ridge are separated from the middle position of the ridge and fall down to the two ends of the ridge under the spiral blade, which can clean up the debris on the film surface and complete the cleaning of the film surface. The working schematic diagram of the spiral soil repellent device is shown in Figure 9. When the machine is in operation, the screw unit rotates in a clockwise direction from the left side of the machine according to the power transmission. Left-rotating and right-rotating screw blades convey in the direction of v left, v right. v front represents the forward direction of the implements, v turn represents the rotating direction of the spiral soil repellent device, S represents the distance from the membrane gap, d represents the rotating shaft’s diameter, and D represents the diameter of the spiral blades.
The size of the pitch not only determines the lift angle of the spiral but also the slip surface of the material running under a certain filling coefficient. The pitch design criteria, according to a review of the relevant national design standards, in general, needs to meet the following formula to be permissible:
S max π d t a n π 2 ρ
Usually, for standard screw conveyors, the pitch calculation formula is generally as follows:
S = K 1 D
where S is the pitch of the screw drive, (mm);
D is the diameter of the spiral blade, (mm);
The value range of K1 is in accordance with national standards, (K1 = 0.8–1.0).
According to the calculation, the design of the screw driving device pitch S is 125 mm. During the operation of the screw driving device, in order to avoid entanglement of the potato straw in the screw rotating shaft of the screw conveying device, the design of the rotating shaft diameter needs to meet the following requirements:
π d L 1 + L 2
where L1 is the length of the main root of potato straw, (mm);
L2 is the length of potato straw stubs, (mm).
The relationship between the conveying capacity, the screw diameter, and the pitch of the screw drive units is
Q = 47 D 2 S φ n ρ ϵ
where Q is the volume conveyed by the screw driving unit, (t/h3);
φ is the filling factor, ( φ = 1 );
n is the rotational speed of the screw driving unit, (r/min);
ρ is the straw and soil bulk density, (t/m3);
ϵ is the inclined conveying rate, ( ϵ = 0 .5).

2.4.2. Conveying Material Force Analysis

The material in the spiral groove during the soil driving operation on the spiral ridge makes a complex curved motion, and the potato residual seedling at an arbitrary radius of the left spiral blade was taken as the research object. A force analysis was carried out on it [17]. Any potato residual seedling M at the distance R of the spiral blade from the spiral axis was taken as the object of study to analyze the necessary conditions for lateral transport of the material in the spiral conveying device, as shown in Figure 10.
Using the spiral blades as a reference, the potato residual seedling force was analyzed as
F z = F c o s α + β F T = F s i n α + β
α = tan 1 S 2 π R , ρ = tan 1 μ 1
where μ1 is the coefficient of friction between potato residual seedling and the spiral surface;
FZ is the axial force;
FT is the circumferential force.
As the tangential friction f1 is the force that hinders the lateral movement of the material on the ridge, if we want to make the potato residual seedlings move laterally, we need to satisfy the requirement that the normal component force is greater than the axial resistance, that is
N 1 cos α > f 1 sin α
f 1 = μ 1 N 1 = N 1 tan γ
Summarized from the above equation,
N 1 cos α = N 1 tan γ sin α
α = π 2 γ
The above formula shows that the closer it is to the spiral axis, the greater the spiral angle of lift. As the spiral angle of lift increases, the axial force gradually decreases, while the circumferential force gradually increases. The greater the circumferential force, the greater the degree of torsion of potato residual seedlings, and the greater the degree of torsion of potato residual seedlings. When the circumferential force increases to a certain extent, the potato residual seedlings’ friction and self-weight cannot be balanced, and it will begin to roll with the spiral axis; that is, if it is close to the spiral axis, a part of the residual seedling will rotate with the spiral axis, resulting in reduced efficiency. In serious cases, this will make the potato residual seedling on the ridge splash, thus affecting the normal conveying operations.

2.5. Simulation Analysis of the Optimization of the Screw Driving Device

2.5.1. Model Building

In order to make the simulation process close to the actual situation and to avoid the influence of the simulation’s soil trough boundary on the simulation test results, a soil trough model with a length × width × height of 1800 mm × 1000 mm × 400 mm and a potato straw model with a length of 30~50 mm were established. The soil tank was set up to generate two types of soil particles divided into upper and lower layers, and the soil particle bed was modeled as shown in Figure 11 [18,19]. The long potato straw base model consisted of spherical particles with a radius of 5 mm to form columnar straw particles, and the short straw consisted of 3 mm spherical particles. The long potato straw was set to generate 50~100, and the short straw particles were set to generate 100~150, which were randomly distributed on the already established soil model. The potato straw model is shown in Figure 12. The soil, straw, and auger device material parameters and the contact parameters between them were set in accordance with the simulation parameters of the seedling killing device above.

2.5.2. Design of a One-Factor Simulation Test Program

In order to analyze the influence of the structural parameters of the screw driving device in the membrane surface cleaning device on the degree of membrane surface debris being transported by the screw and the cleaning effect of the membrane surface, according to the discussion of the working principle of the screw driving device and the analysis of the material conveying force above, we selected the forward speed of the screw machine, the rotational speed of the screw stirrer, the distance from the membrane gap as a test factor, and the membrane surface cleaning rate as a test index. We used the quadratic rotating orthogonal combination experimental design method to carry out the test. The membrane surface cleanliness rate was calculated through the following formula:
η 1 = 1 m 1 m 2
where η 1 is the rate of film surface cleanliness on the ridge, (%);
m1 is the number of potato straws on the ridge;
m2 is the total number of potato straws generated from the simulation experiment.
Simulation Test Program for the Forward Speed Factor of Implements
In the simulation test to study the effect of the forward speed of the machine on the cleaning of the film surface, the variables of the forward speed of the machine were selected to be 0.3 m/s, 0.8 m/s, and 1.4 m/s. The speed of the spiral stirrer was 600 r/min, and the gap from the film was 20 mm. The one-way test program of the forward speed of the machine was as shown in Table 3, and 1~3 groups of tests were carried out.
Simulation Test Program for Rotational Speed Factor of Spiral Churn
In the simulation test to study the effect of the spiral churning speed on film surface cleaning, the variables of the spiral churning speed were selected as 500 r/min, 600 r/min, and 700 r/min, and the forward speed of the machine was 0.8 m/s, with a gap of 20 mm from the film. The test program of the spiral churning speed of the potato spiral soil repellent device is shown in Table 4, and 4~6 groups of tests were carried out.
Simulation Test Program for Pitch Film Gap Factor
In the simulation test to study the effect of the distance to the film gap on film surface cleaning, the variables for the distance to the film gap were selected as 10 mm, 20 mm, and 30 mm, the forward speed of the machine was 0.8 m/s, and the rotational speed of the screw winch was 600 r/min. The one-way test program for the distance to the film gap of the potato screw soil repellent device is shown in Table 5, and 7–9 groups of tests were carried out.

2.6. Structural Design of Residual Film Recycling Device

The residual film recovery device is one of the core components of the machine, as shown in Figure 13. The design of this component mainly consists of two parts: a floating film rolling device and a hydraulic film unloading device.

2.6.1. Floating Film Winder

Aiming at the problems of film leakage and congestion of the traditional residual film recycling machine, a floating film rolling device was designed, as shown in Figure 14, which mainly consists of a film stripping plate, film picking teeth, and film winding rollers. In the process of residual film recycling, the up and down floating of the film rollers can be realized automatically. Based on the machine’s design requirements, the film roll diameter is designed as 85 mm, the length of the film picking teeth is designed as 30 mm, and, in order to reduce the weight of the machine, the middle of the film roll adopts a hollow structure design [20].
In the process of film rolling and recycling operations, with the superposition of the number of layers of film wound on the film rolling rollers, the film rolling roller shaft diameter R increases. In order to ensure that the linear speed is unchanged, the film rolling device needs to be designed so as to reduce the rotational speed of n. The torque of the film rolling rollers is calculated as follows:
M = J α
where J is the inertia of the film rollers, (kg·m2);
m(t) is the mass of the rollers and the mass of the rolled-up film, (kg).
At the rotational moment of inertia J of the film rollers, the angular acceleration and the film rollers α and the mass of the rolled-up residual film m(t) are calculated as follows:
J = m t R 2 t
α = d ω dt
J = m t R 2 t
According to the equation above, it can be seen that in the process of film rolling, as the film radius increases and the quality of the rolled residual film increases, the angular speed of the film roll decreases due to the constant value of the film roll torque, and the constant speed rotation of the film roll is realized at the same time, which ensures the stability of the residual film recycling operation.

2.6.2. Hydraulic Film Unloading Device

The film unloading device mainly consists of hydraulic cylinders, pulley sets, stripping plates, and other structures. The structure’s schematic diagram is shown in Figure 15. The inlet and the outlet of the hydraulic cylinders are connected to the tractor, and they work through the driving control lever.

2.7. Transmission System

The transmission system diagram of the implement is shown in Figure 16, and the implement mainly adopts mechanical transmission and hydraulic transmission [21,22], which is connected to the tractor through three-point suspension during operation. The power of the tractor is transmitted to the output shaft through the power input shaft via the gearbox, and the output shaft transmits the power to the seedling killing device through the belt transmission. The seedling killing device transmits the power to the transmission shaft through the chain drive, and the ends of the transmission shaft are driven to the spiral soil repelling device and the roller brush soil repelling device through the chain drive. The power at the power input end of the transmission shaft is transmitted to the film rolling device through the chain drive. The two ends of the drive shaft are driven by the chain drive to the spiral soil repellent device and the roller brush soil repellent device, and the power input end of the drive shaft transmits the power to the film rolling device through the chain drive.
In the whole transmission system, the key components’ transmission ratio calculation formula is as follows:
z 2 z 1 = 25 9 , z 4 z 2 = 1 , z 6 z 4 = 15 30 , z 5 z 6 = z 7 z 6 = 17 27 , z 8 z 6 = z 9 z 6 = 17 27
The transmission ratios of the screw driving unit and the roller brush soil extraction unit are as follows:
i 1 = i 2 = z 5 z 6 z 6 z 4 z 2 z 1
The transmission ratio of the profiling film winding device is as follows:
i 3 = z 9 z 6 z 6 z 4 z 2 z 1
When the tractor advances at a constant speed, the rotational speed of the power output shaft is 650 r/min. Then, the rotational speed of the seedling killing knife roller in the seedling killing device is 1850 r/min, the rotational speed of the screw repelling device and the roller brush repelling device is 600 r/min, and the rotational speed of the imitation film rolling roller is 200 r/min.

2.8. Field Test

2.8.1. Experimental Conditions

The residual film sampling site is located in Lujiagou Town, Dingxi City, Gansu Province, under Yangjiawan, where the potato planting pattern adopts the monoculture two-row pattern, with the width of the top of the ridge being 600~750 mm, the width of the bottom of the ridge being 900~100 mm, and the height of the ridge surface being 100~150 mm. The planting pattern of potato in Gansu region is shown in Figure 17.
The northwest dry zone potato residual film recycling operation test was conducted in mid-September 2023 in Dingxi City, Gansu Province, Lujiagou Town, at the Yangjiawan potato test base. The potato planting pattern in the experimental site was a monoculture two-row pattern. The test plot area is 1 hm2, the soil type is yellow sheep soil, and there is a deep ploughing layer. The ridge width of the row spacing is 300~500 mm. It is covered with a film thickness of 0.015 mm. The film surface has a small amount of damage. The machine operation’s supporting power was a 40 kW Dongfang Hong 404 tractor. This residual film recycling operation machine is suitable for potato pre-harvesting operations. The field test is shown in Figure 18.

2.8.2. Test Methods

Based on local growing agronomy and Chinese national standards [23], the designed potato seedling killing and residual film recycling integrated machine was field-tested. The film surface cleaning effect of the prototype and the residual film recycling effect were mainly evaluated. The test criteria were based on the potato residual film recovery rate, the impurity rate, and the potato injury rate. The working status of the potato seedling killing device, the spiral soil repellent device, and the floating film rolling device was examined in real time. The experimental field was divided into 5 areas, and 2 groups of tests were carried out on each area for a total of 10 groups of tests. Each group of test areas was separated by an interval of 10 m. The relevant data were recorded, and the data were taken as the average of the results of the 10 groups. The rate of injury to potatoes and the rate of impurity were calculated as follows:
C = W 0 W × 100 %
T = W s W z × 100 %
where C is the residual film recovery rate, (%);
T is the rate of potato injury, (%);
W is the mass of film wrapped around the rollers after the operation, (g);
W0 is the mass of the residual film recovered by the rollers after the operation, such as soil seedlings and other impurities, (g);
Ws is the mass of potato damage during residual film recycling, (g);
Wz is the total potato mass, (g).
Through the above test, the residual film recovery rate of the prototype was tested, and, according to the national standard, the mass method was selected for the testing method. The recovered residual film was weighed after cleaning and removing water, and the residual film recovery rate after the operation of this integrated residual film recovery machine was calculated. Its calculation formula is as follows:
J = 1 M M 0 × 100 %
where J is the residual film recovery rate, (%);
M is the post-operational residual film mass, (g);
M0 is the pre-operational residual film mass.

3. Results and Discussion

3.1. Simulation Results of Seedling Killing Device

Figure 19 shows the potato seedling killing device during the crushed potato straw process simulation. From the simulation test figure, it can be seen that regarding the seedling killing device in the ridge after operation, part of the potato straw at the back end of the machine falls, and the small dump knife group crushed the potato straw smaller. The edge of the ridge by the large dump knife group crushed potato straw larger because the straw on the ridge needs to present a broken small shape to be able to satisfy the subsequent film cleaning device transport cleaning. The potato straw on the edge of the ridge only needs to be separated from the straw on the ridge, falling into the two sides of the ridge can be realised to return the potato straw to the field, the simulation test on the ridge and the edge of the ridge to kill seedling is shown in Figure 20. In the process of potato seedling killing device crushing potato straw, the soil particle model partially adheres to the surface of the dumping knife group, making the knife group with the increase in operating time, the knife group sharpness decreases, affecting the effect of seedling killing [24].
Figure 21 shows the potato particles between the number of bonding bonds and the simulation time change curve. From the figure, it can be seen in the potato straw bonding model’s number of change rule that at the beginning of the change in the amount of bonding bonds is small. At this stage, the dumping knife and the potato straw particles have not yet produced contact and the straw particles are still bonded together. With the advancement of the knife roller and the rotation of the knife group, the knife group contacted the straw particles, and the straw particles were broken. The number of bonded particles began to decrease rapidly, and the straw crushing rate reached 91.2%, which achieved the expected effect.
Due to the simulation of the parameter settings for the calculated theoretical values, the specific results of the machine’s operation of multiple elements were jointly decided. The simulation process of the potato straw pellet model’s crushing effect and the evaluation of the actual operation through the evaluation method are not completely consistent, so the simulation test did not carry out a detailed test for the damage range of potato mulch film. On the basis of the better parameters obtained, this simulation test analyses the seedling killing effect of potato seedling killing device under this parameter, for the subsequent field test, we selected the optimal combination of parameters to achieve the optimization and enhancement of the seedling killing device.

3.2. Analysis of the Results of Simulation Tests for the Optimization of the Screw Driving Device

3.2.1. Influence of Machine Forward Speed on Film Surface Cleaning Effect

The positional distribution of potato straw particles at different forward speeds is shown in Figure 22, where different colors represent the distribution of different potato straw particles on and under the ridges, and the distribution range of straw particles from small to large is green < red < blue [25,26]. In the blue area, there is no movement of straw particles, and the straw particles are more distributed. A few red areas indicate that there are straw particles with higher speeds there, and the spiral blades in the screw driving device rotate to pick up the material so that the straw particles move laterally along the spiral blades. Through a comparison of the three groups of straw particles in the chart, it can be seen that as the machine’s forward speed increases, the spiral device gradually increases the amount of material on both sides of the ridge. The amount of material gradually increases while the amount of material splash gradually increases. The material falls through the spiral blade splash to the back end of the roller brush device below, resulting in an increase in the workload of the brush, which may be due to the roller brush piling up with material during operation. It can be seen that as the forward speed of the machine increases, the amount of potato straw on the ridge shows a decreasing trend, and thus the range of straw splash is wider.
At the end of the simulation of the film surface cleaning work of the spiral soil driving device, the number of potato straw particles on the soil bed was counted through the EDEM post-processing function so as to calculate the clean rate of the film surface on the ridge. Statistically, the auger driving device works in a stable state at different forward speeds of the machine, and the film surface clean rate is maintained between 80% and 91%. The forward speeds of the machine are 0.3 m/s, 0.8 m/s, and 1.4 m/s, corresponding to the film surface clean rates of 89.1%, 90.7%, and 85.4%. With the increase in the forward speed of the machine, the film surface clean rate shows a trend of increasing and then decreasing. The growth trend is greater than the decreasing trend. The extreme difference is 5.3%, and the data change is small, so the impact of the forward speed of the machine on the film surface clean rate is less significant. The screw conveying device’s rotational speed meets the conveying efficiency. With the increase in the forward speed of the machine, the film surface cleaning effect is more obvious. The number of residual seedlings on the ridge surface is reduced, but when the forward speed of the machine is more than 1.4 m/s, the screw conveying capacity is limited, the residual seedlings and other impurities cannot be transported in a timely manner, and the front of the screw device shows the phenomenon of Yong blocking.

3.2.2. Influence of the Rotational Speed of the Spiral Agitator on the Cleaning Effect of the Film Surface

The distribution of particle positions on the ground and on the ridge at different auger speeds is shown in Figure 23. As the rotational speed of the spiral churn increases, the 7th group of straw particles is more distributed on the surface of the ridge. Part of Yong blocked the front end of the spiral driving device, and the number of straw particles on the ground is reduced. The 9th group of straw particles is more distributed on the surface of the ridge, and more straw particles are splashed on the ground. Some of them splashed beyond the ground of the specified area, and straw particles that are out of the area are out of the computational domain and not shown. From this, it can be initially judged that the amount of material conveyed increases as the speed of the screw churn increases.
According to the results of EDEM 2022 software post-processing data, it can be seen that the speed of the spiral stirrer is at 500 r/min, 600 r/min, and 700 r/min, corresponding to membrane surface cleaning rates of 87%, 96.9%, and 93.4%, which generally meet the normal membrane surface cleaning effect. However, as the rotational speed of the screw churn increases, the splashing of straw particles becomes more and more serious. As the rotational speed of spiral stirrer increased to 600 r/min, the clean rate of film surface increased greatly, and when the rotational speed increased to 700 r/min, the residual straw on the film surface increased, and most of them were splashed to the ridge as the spiral soil repellent device’s rotating speed was too fast. The extreme difference in the clean rate of the film surface was 9.9%, which indicated that the rotational speed of the spiral stirrer had a greater influence on the cleaning effect of the film surface.

3.2.3. Influence of the Distance Gap on the Cleaning Effect of the Film Surface

The distribution of particle velocity under different blade pitches is shown in Figure 24. From the top view angle, from which the distribution of straw particles can be observed, when the clearance from the membrane is increased from 10 mm to 20 mm, the straw particles on the soil bed are obviously reduced, and the number of straws blocked at the front end of the screw driving device decreases. When the clearance from the membrane increases to 30 mm, the straw particles on the soil bed partially increase, and the number of straws blocked at the front end of the screw driving device slightly decreases, but the residual straw particles on the membrane surface greatly increase. The number of straw particles on the soil bed partially increased when the gap to the membrane was increased to 30 mm, and the number of straws blocked at the front end of the screw driving device slightly decreased, but the residual straw particles on the membrane surface greatly increased, so the gap to the membrane had a greater influence on the cleaning effect of the membrane surface.
At the end of the simulation test, the remaining straw particles on the soil bed were counted using the post-processing function of the software, and the film surface cleanliness rate was calculated. The membrane surface clean rates corresponding to the gaps of 10 mm, 20 mm, and 30 mm from the membrane were 86.9%, 98.1% and 91.3%, with an extreme difference of 11.2%. By comparing the influence of two factors, namely, the forward speed of the machine and the rotational speed of the spiral agitator on the membrane surface clean rate, it was found that the influence of the gap from the membrane on the membrane surface clean rate was relatively stable. With the increase in the clearance from the film, the phenomenon of straw particle blocking is obviously reduced, which improves the working efficiency and the film surface clean rate, but the clearance from the film is too large, which makes it easy to produce the phenomenon of omission, resulting in the poor cleaning effect of straw particles on the surface of the ridge. Furthermore, the clearance from the film is too small, and the accumulation of straw blocking is serious.

3.2.4. Multifactor Response Surface Test Analysis

Combined with the analysis of the results of the single-factor simulation test, it was determined that the influence range of the machine was ranked as the distance from the film gap to the spiral stirrer speed and the machine forward speed. When the machine was operating, the forward speed was selected as 0.2~1.5 m/s, the range of the speed of the spiral stirrer was set to 500~700 r/min, and the range of the film gap was set to 10~30 mm. The coded value of the test factor level is shown in Table 6.

3.2.5. Experimental Results

The experimental design was carried out using Design-Expert 13 software, and the pitch of the screw device was 125 mm during the test [27]. In total, 17 groups of tests were carried out, and each group of tests was carried out several times. The average value was taken to ensure the accuracy of the data, and the experimental design scheme and the data are shown in Table 7.
A quadratic polynomial regression model of ANOVA to obtain the relationship between the film surface cleanliness Y and the forward speed of the machine X1, the rotational speed of the spiral agitator X2, and the distance from the film gap X3 was fitted to the factors using the Design-Expert13 software to obtain the results in Table 8. From the data in the table, it can be seen that the p-values of the model analyses of the forward speed of the machine X1, the rotational speed of the spiral stirrer X2, the distance from the film gap X3, and the film surface cleanliness Y are all less than 0.01, which indicates that the regression model has a higher degree of significance in which the experimental factors have a greater to lesser effect on the film surface cleanliness in order of distance from the film gap to the rotational speed of the spiral stirrer and the forward speed of the machine. The model’s misfit value is greater than 0.5, indicating that this regression model has a high degree of fit. The coefficient of determination R2 and the corrected coefficient of determination of this regression model were 0.9897 and 0.9765, respectively, which were close to 1. The coefficient of variation and the precision were 0.94% and 26.95, respectively, which indicated that the fitted model had high reliability.

3.2.6. Response Surface Analysis

The data were processed using Design-Expert13 software to derive the response surface of the significant interaction between the forward speed of the machine, the rotational speed of the spiral stirrer, and the distance from the film gap and their impact on the film surface cleanliness, as shown in Figure 25.
According to the results of the regression model analysis of the above multi-factor test and the operating conditions of the potato seedling killing and residual film recycling machine membrane surface cleaning, the constraint analysis of the test factors, through multi-factor simulation analysis to obtain a better effect of the membrane surface cleaning parameter indicators, i.e., the optimal combination of operating parameters of the spiral driving device, indicated the following: forward speed of the machine of 0.8 m/s, spiral churning rotational speed of 600 r/min, and distance from the film gap of 20 mm. In order to verify the accuracy and reliability of the results of the optimization analysis, the model of the spiral soil driving device was modified according to the above parameters, and the optimized model was re-established to simulate and set up the relevant parameters. In order to make the comparative analysis of the experimental results more obvious, the other parameters were set up in the same way as before for the simulation and the analysis, and the results of the simulation test show that the model can predict the change of the coefficient of deviation better. The model is verified to be accurate [28,29].

3.3. Field Test Results and Analyses

During the field test of the prototype, the seedling killing device can operate normally to reach the required speed and meet the requirements of straw crushing [30,31]. The screw churns in the screw driving device are able to rotate normally, and debris, such as residual seedling weeds on the ridges, are transported laterally and moved to the bottom of the ridges. The floating film rolling mechanism can roll up the residual film for recycling, and the hydraulic film unloading device can unload the residual film rolled up on the film rollers. All parts of the machine are able to operate normally, and there is no problem of residual film blockage or dismantling. The forward speed of the prototype is 0.8 m/s, the spiral soil repellent device is 20 mm away from the film gap, and the spiral churn speed is 600 r/min [32,33]. The film surface cleaning effect is related to the recycling effect of the film rollers for residual film recycling operations. The specific test data are summarized as shown in Table 9.
During the test, it was found that when the forward speed of the potato seedling killing and residual film recycling machine was kept at 0.8~1 m/s, the working status of the seedling killing device, the film surface cleaning device, and the film rolling device was more stable, and it met the design requirements. The operating effect of the machine field test is shown in Figure 26. Figure 26a shows the effect of residual film recycling operation before the optimization of the film surface cleaning device. More residual seedlings and other impurities remain on the ridges, and the residual film is partially recycled. Figure 26b shows the machine parameters according to the spiral soil driving device through the response surface optimization design for operation; compared with pre-optimization, the film surface cleaning effect is better, and the residual film winding and harvesting operation is good [34].

4. Conclusions

(1)
Based on the local agronomic requirements and national standards in Gansu Province, we designed an integrated potato seedling killing and residual film recycling machine. The machine is simple to operate, reduces labor intensity, and improves production efficiency, and the machine can simultaneously complete the operations of killing seedlings, film surface cleaning, film rolling, and film unloading.
(2)
We completed the design of the key components of the machine and the determination of the operating parameters by means of theoretical analyses and calculations. Using EDEM2020 software to simulate the membrane surface cleaning effect of the spiral device, the results obtained from the simulation using Design-Expert 13 software were used to establish a regression model with the membrane surface cleaning rate as a reference indicator. Through a response surface analysis and an optimal design, the optimal solution was determined as follows: forward speed of the machine set at 0.8 m/s, clearance from the film of 125 mm, and speed of the spiral stirrer set at 600 r/min.
(3)
We conducted field trials on the effectiveness of machine film cleaning and residual film recycling. Through the test measuring potato seedling killing and residual film recovery, the following results were found: a machine residual film recovery rate of 83.3%, an impurity rate of 3.8%, and an injury rate of 1.4%. The machine’s design met the operational requirements, the national standards, and the expected results.

Author Contributions

Conceptualization, Y.C. and R.X.; Data curation, R.X., X.L. and H.Z.; Formal analysis, H.L.; Funding acquisition, X.L. and H.Z.; Investigation, Y.C. and H.Z.; Project administration, X.L. and H.Z.; Resources, X.L. and H.Z.; Software, Y.C.; Supervision, X.L. and H.L.; Validation, Y.C.; Writing—original draft, Y.C. and R.X.; Writing—review and editing, Y.C. All authors have read and agreed to the published version of the manuscript.

Funding

This work was supported by the National Key Research and Development Program (2022YFD2002005), the Key Scientific and Technological Program of Gansu Province (22ZD6NA046), the Gansu Provincial University Industry Support Plan (2022CYZC-42) and the Gansu Province Agricultural Machinery Equipment R&D Key Project (njyf2024-03-1), the earmarked fund for Gansu Province Science and Technology Plan Major Special Project (23ZDNA005),and National Key R & D Program sub-project (2023YFD170190302). Development and Application of High-efficiency Residual Film Recycling Machine for Corn Stubble Land in Hexi Irrigation Area Project GSAU-JSFW-2024-56.

Data Availability Statement

Data are reported within the article.

Conflicts of Interest

The authors declare no conflicts of interest.

References

  1. Zhang, J.; Liang, J.; Luo, S.; Yao, Z.; Tian, C.; Sun, Y. Status and Control Measures of Plastic Film Pollution in Farmland. Soils Crops 2022, 11, 385–397. [Google Scholar]
  2. Yang, H.; Hu, Z.; Wu, F.; Guo, K.; Gu, F.; Cao, M. The Use and Recycling of Agricultural Plastic Mulch in China: A Review. Sustainability 2023, 15, 15096. [Google Scholar] [CrossRef]
  3. De Sadeleer, I.; Woodhouse, A. Environmental Impact of Biodegradable and Non-Biodegradable Agricultural Mulch Film: A Case Study for Nordic Conditions. Int. J. Life Cycle Assess. 2024, 29, 275–290. [Google Scholar] [CrossRef]
  4. Bi, J.; Wang, X.; Zhu, D. The Impact of Mulch Film Coverage on Crop Yields. Trans. Chin. Soc. Agric. Eng. 2008, 11, 172–175. [Google Scholar]
  5. Zhao, Y.; Chen, X.; Wen, H.; Zhen, X.; Niu, Q.; Kang, J. Current Status and Prospects of Agricultural Plastic Film Pollution Control Technology. Agric. Mech. J. 2017, 48, 1–14. [Google Scholar]
  6. Li, D.; Zhao, W.; Xin, S.; Liu, X.; Qu, H.; Xu, Y. Current Status and Prospects of Agricultural Plastic Film Recycling Technology. Chin. J. Agric. Mach. 2020, 41, 204–209. [Google Scholar]
  7. Li, M.; Ma, S. Research Status and Recommendations for Agricultural Film Recycling Machines in China. Agric. Mech. Res. 2014, 36, 245–252. [Google Scholar]
  8. Ping, Y. Problems and Countermeasures of Mechanized Recycling Equipment for Agricultural Plastic Film in China. Anhui Agric. Sci. 2014, 42, 7678–7679+7682. [Google Scholar]
  9. Li, Z.; Zhou, J.; Zhang, C.; Jiang, J. Pollution and Prevention Strategies for Plastic Mulch Films in Farmland. Hebei Ind. Technol. 2015, 32, 177–182. [Google Scholar]
  10. Jiang, D.; Chen, X.; Yan, L.; Zhang, R.; Wang, Z.; Wang, M. Research on Resource Utilization Technology and Equipment for Agricultural Plastic Film. Chin. J. Agric. Mach. 2020, 41, 179–190. [Google Scholar]
  11. Wan, Y. Difficulties and Application Development of Mechanized Technology for Recycling Agricultural Plastic Films. Hebei Agric. Mach. 2023, 19, 4345. [Google Scholar]
  12. Xu, G. Research, Application, and Recommendations on Mechanized Technology for Plastic Film Recycling. Agric. Dev. Equip. 2020, 2, 78. [Google Scholar]
  13. Zhao, B.; Wang, X.; Yang, S.; Morice, O. Design and Experiment of the Support Mechanism for Rice Stubble Removal Machine. J. South China Agric. Univ. 2018, 39, 100–104. [Google Scholar]
  14. Zhu, X.; Lv, Y.; Yu, J.; Li, J. Design and Experiment of Potato Full-Ridge Imitation-Type Stem and Leaf Shredding Roller. Agric. Mech. J. 2022, 53, 140–150. [Google Scholar]
  15. Liu, X.; Zhang, H.; Zhao, W.; Sun, W.; Li, H.; Li, H. Design of a Film Rolling Device for Potato Digger and Residual Film Recovery Machine Based on TRIZ Innovation Theory. Xinjiang Agric. Mech. 2021, 3, 10–11+17. [Google Scholar]
  16. Shi, L.; Zhao, W.; Sun, W. Discrete Element-Based Soil Particle Contact Model and Parameter Calibration for Northwest Arid Region Farmland. Agric. Eng. J. 2017, 33, 181–187. [Google Scholar]
  17. Dai, F.; Guo, X.; Zhao, W.; Xin, S.; Liu, X.; Wu, Z. Design and Experiment of a Canvas-Belted Potato Digger and Residual Film Recovery Combined Machine. Trans. Chin. Soc. Agric. Mach. 2018, 49, 104–113. [Google Scholar]
  18. Wang, H.; Gao, A.; Cheng, Z.; Liu, F.; Liu, L.; Ren, W.; Wang, C. Simulation Analysis of Straw Collection Performance Using ADAMS and EDEM. Agric. Eng. 2023, 13, 90–96. [Google Scholar]
  19. Ma, Z.; Zhao, Z.; Quan, W.; Shi, F.; Gao, C.; Wu, M. Parameter Calibration of Rice Residue Straw Using EDEM Discrete Element Simulation. Chin. Agric. Sci. Bull. 2023, 25, 103–113. [Google Scholar]
  20. Wang, Z.; Chen, X.; Yan, L.; Jiang, D.; Wang, M. Design and Experiment of the Following-Type Residue Film Recovery Machine’s Film Lifting and Collecting Mechanism. Agric. Mech. J. 2021, 52, 80–90. [Google Scholar]
  21. Ma, Y.; Yang, S.; Li, M.; Wang, Q.; Ke, Z. Design of a Potato Harvester and Residual Film Recovery Machine for Complex Terrain. J. Hebei Univ. (Nat. Sci. Ed.) 2022, 42, 569–579. [Google Scholar]
  22. Liu, K.; Su, H.; Li, F.; Jiao, W. Calibration of Soil Discrete Element Model Parameters Using Response Surface Method. Chin. J. Agric. Mech. 2021, 42, 143–149. [Google Scholar]
  23. Xu, P.; Dai, F.; Zhao, W.; Shi, R.; Wang, F.; Song, X. Simulation Analysis and Experiment of Floating Pneumatic Film Rolling Device. Agric. Res. Arid Areas 2023, 41, 307–317. [Google Scholar]
  24. Wang, L.; Liang, D.; Li, S.; Chen, B. Motion Analysis of Self-Powered Film Removal and Raking Machine. South. Agric. Mach. 2020, 51, 190–193. [Google Scholar]
  25. Wang, P.; Chen, X.; Wen, H. Simulation Research on Cotton Stalk Cutting and Crushing Based on ANSYS/LS-DYNA and Field Experiments. Agriculture 2023, 13, 1268. [Google Scholar] [CrossRef]
  26. Liu, X.; Zhao, W.; Zhang, H.; Wang, G.; Sun, W.; Dai, F.; Xin, S. Design and Experiment of an Upper-Side-Discharge Straw-Returning and Bundle Self-Unloading Integrated Corn Residual Film Recycling Machine. Int. J. Agric. Biol. Eng. 2023, 16, 61–70. [Google Scholar] [CrossRef]
  27. Yuan, Y.; Wang, J.; Zhang, X.; Zhao, S. Effect of Rotary Speed on Soil and Straw Throwing Process by Stubble-Crushing Blade for Strip Tillage Using DEM-CFD. Agriculture 2023, 13, 877. [Google Scholar] [CrossRef]
  28. Xu, H.; Hu, Z.; Zhang, P.; Gu, F.; Wu, F.; Song, W.; Wang, C. Optimization and Experiment of Straw Back-Throwing Device of No-Tillage Drill Using Multi-Objective QPSO Algorithm. Agriculture 2021, 11, 986. [Google Scholar] [CrossRef]
  29. Guo, J.; Liu, Y.; Wei, Y.; Zhou, J.; Shi, Y. Vibration Characteristics Analysis and Structural Optimization of Straw Returning and Residual Film Recovery Integrated Machine. Trans. Chin. Soc. Agric. Eng. 2024, 40, 155–163. [Google Scholar]
  30. Ji, L.; Xie, H.; Yang, H.; Wei, H.; Yan, J.; Shen, H. Simulation Analysis of Dry Soil Cleaning Device for Potatoes Based on EDEM-Recurdyn Coupling. Chin. J. Agric. Mech. 2021, 42, 109–115. [Google Scholar]
  31. Zhu, H.; Wu, X.; Bai, L.; Wang, M.; Lei, F.; Fang, Y. Design and Experiment of Shaftless Spiral Fertilizer Distribution Device for No-Tillage Seeder. Trans. Chin. Soc. Agric. Mach. 2023, 54, 125–134. [Google Scholar]
  32. Sun, W.; Wang, H.; Zhao, W.; Zhang, H.; Liu, X.; Wu, J. Design and Experiment of a Residual Film Recovery Type Full-Mulch Potato Digger. Trans. Chin. Soc. Agric. Mach. 2018, 49, 105–114. [Google Scholar]
  33. Guo, W.; He, X.; Wang, L.; Zhao, P.; Hu, C.; Hou, S.; Wang, X. Development of a Comb-Tooth Pneumatic Film Removal and Soil Layer Residual Film Recovery Machine. Trans. Chin. Soc. Agric. Eng. 2020, 36, 1–10. [Google Scholar]
  34. NY/T 1143-2006; Residual Film Recycling Machine. China Standards Press: Beijing, China, 2006.
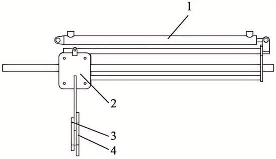
Figure 1. Potato seedling killing and residual film recycling integrated machine. 1. Suspension frame. 2. Transmission system. 3. Seedling killing and dumping knife. 4. Seedling killing machine shell. 5. Parallel four-bar adjusting mechanism. 6. Frame. 7. Transmission shaft. 8. Hydraulic film unloading device. 9. Adjustable ground wheel. 10. Side film lifting shovel. 11. Floating film rolling device. 12. Roller brush. 13. Film surface soil repellent device. 14. Imitation suppression roller. 15. Anti-damage baffle plate.
Figure 1. Potato seedling killing and residual film recycling integrated machine. 1. Suspension frame. 2. Transmission system. 3. Seedling killing and dumping knife. 4. Seedling killing machine shell. 5. Parallel four-bar adjusting mechanism. 6. Frame. 7. Transmission shaft. 8. Hydraulic film unloading device. 9. Adjustable ground wheel. 10. Side film lifting shovel. 11. Floating film rolling device. 12. Roller brush. 13. Film surface soil repellent device. 14. Imitation suppression roller. 15. Anti-damage baffle plate.
Agronomy 14 02269 g001
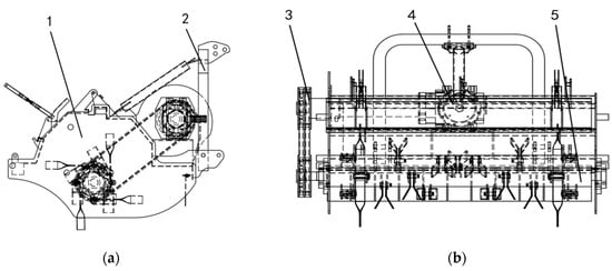
Figure 2. Schematic diagram of the structure of the seedling killing device: (a) side view; (b) main view. 1. Shield worm shell. 2. Three-point suspension device. 3. Belt drive mechanism. 4. Gearbox. 5. Knife dumping roller.
Figure 2. Schematic diagram of the structure of the seedling killing device: (a) side view; (b) main view. 1. Shield worm shell. 2. Three-point suspension device. 3. Belt drive mechanism. 4. Gearbox. 5. Knife dumping roller.
Agronomy 14 02269 g002
Figure 3. Throwing knife roller structure and its tool arrangement. (a) Throwing knife roller structure. (b) Tool arrangement.
Figure 3. Throwing knife roller structure and its tool arrangement. (a) Throwing knife roller structure. (b) Tool arrangement.
Agronomy 14 02269 g003
Figure 4. Schematic diagram of the structure of the seedling killing knife. (a) Knife throwing on the edge of the ridge. (b) Knife throwing on the ridge.
Figure 4. Schematic diagram of the structure of the seedling killing knife. (a) Knife throwing on the edge of the ridge. (b) Knife throwing on the ridge.
Agronomy 14 02269 g004
Figure 5. Potato straw simulation model.
Figure 5. Potato straw simulation model.
Agronomy 14 02269 g005
Figure 6. Soil trench model.
Figure 6. Soil trench model.
Agronomy 14 02269 g006
Figure 7. Schematic diagram of the membrane surface cleaning device. 1. Imitation suppression roller. 2. Parallel four-bar adjusting mechanism. 3. Spiral soil repellent device. 4. Brush soil repellent device. 5. Frame.
Figure 7. Schematic diagram of the membrane surface cleaning device. 1. Imitation suppression roller. 2. Parallel four-bar adjusting mechanism. 3. Spiral soil repellent device. 4. Brush soil repellent device. 5. Frame.
Agronomy 14 02269 g007
Figure 8. Schematic diagram of auger driving device. 1. Connecting plate. 2. Drive shaft. 3. Spiral support beam. 4. Chain drive. 5. Right-hand spiral blade. 6. Spiral shaft. 7. Left spiral blade.
Figure 8. Schematic diagram of auger driving device. 1. Connecting plate. 2. Drive shaft. 3. Spiral support beam. 4. Chain drive. 5. Right-hand spiral blade. 6. Spiral shaft. 7. Left spiral blade.
Agronomy 14 02269 g008
Figure 9. Schematic diagram of the movement of the screw driving device. (a) Front view of auger driving unit. (b) Left view of auger driving unit.
Figure 9. Schematic diagram of the movement of the screw driving device. (a) Front view of auger driving unit. (b) Left view of auger driving unit.
Agronomy 14 02269 g009
Figure 10. Potato straw force in horizontal plane. α is the helical angle of lift of the spiral blade; N1 is the normal thrust of the potato residual seedling by the spiral blade; f1 represents the potato residual seedlings in the tangential direction of the spiral blade to produce friction; The F-force is obtained by the friction force that causes the normal thrust of the potato stump to deviate by an angle; the angle of deviation of the normal thrust is approximated as the equivalent angle of external friction of the potato stump γ. The F-force is obtained by the friction force that causes the normal thrust to deviate by an angle.
Figure 10. Potato straw force in horizontal plane. α is the helical angle of lift of the spiral blade; N1 is the normal thrust of the potato residual seedling by the spiral blade; f1 represents the potato residual seedlings in the tangential direction of the spiral blade to produce friction; The F-force is obtained by the friction force that causes the normal thrust of the potato stump to deviate by an angle; the angle of deviation of the normal thrust is approximated as the equivalent angle of external friction of the potato stump γ. The F-force is obtained by the friction force that causes the normal thrust to deviate by an angle.
Agronomy 14 02269 g010
Figure 11. Soil particle bed modeling.
Figure 11. Soil particle bed modeling.
Agronomy 14 02269 g011
Figure 12. Potato straw simulation model.
Figure 12. Potato straw simulation model.
Agronomy 14 02269 g012
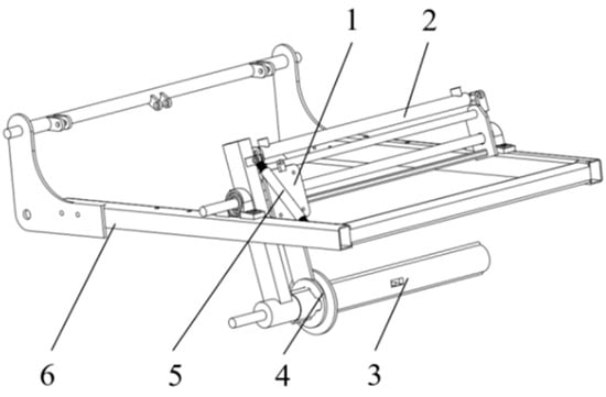
Figure 13. Schematic diagram of residual film recycling device. 1. Pulley set. 2. Hydraulic cylinder. 3. Film rollers. 4. Film stripping plate. 5. Connecting rod. 6. Frame.
Figure 13. Schematic diagram of residual film recycling device. 1. Pulley set. 2. Hydraulic cylinder. 3. Film rollers. 4. Film stripping plate. 5. Connecting rod. 6. Frame.
Agronomy 14 02269 g013
Figure 14. Schematic diagram of film winding device.
Figure 14. Schematic diagram of film winding device.
Agronomy 14 02269 g014
Figure 15. Hydraulic film unloading device. 1. Hydraulic cylinder. 2. Pulley. 3. Small film stripping plate. 4. Large film stripping plate.
Figure 15. Hydraulic film unloading device. 1. Hydraulic cylinder. 2. Pulley. 3. Small film stripping plate. 4. Large film stripping plate.
Agronomy 14 02269 g015
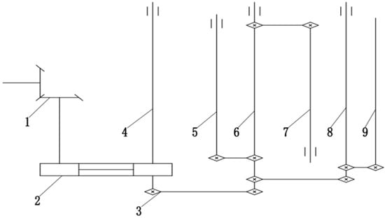
Figure 16. Schematic diagram of the transmission system. 1. Gearbox. 2. Belt drive. 3. Chain drive. 4. Seedling killing device. 5. Spiral soil driving device. 6. Drive shaft. 7. Roller brush device. 8. Film unloading device. 9. Film rolling device.
Figure 16. Schematic diagram of the transmission system. 1. Gearbox. 2. Belt drive. 3. Chain drive. 4. Seedling killing device. 5. Spiral soil driving device. 6. Drive shaft. 7. Roller brush device. 8. Film unloading device. 9. Film rolling device.
Agronomy 14 02269 g016
Figure 17. Schematic diagram of the planting pattern. (a) Schematic diagram of planting pattern; (b) schematic diagram of field planting pattern. 1. Loess soil. 2. Potato straw and weeds. 3. Black film.
Figure 17. Schematic diagram of the planting pattern. (a) Schematic diagram of planting pattern; (b) schematic diagram of field planting pattern. 1. Loess soil. 2. Potato straw and weeds. 3. Black film.
Agronomy 14 02269 g017
Figure 18. Machine field trials.
Figure 18. Machine field trials.
Agronomy 14 02269 g018
Figure 19. Simulation test of seedling killing device.
Figure 19. Simulation test of seedling killing device.
Agronomy 14 02269 g019
Figure 20. Simulation of seedling killing on and around ridges. (a) Killing of seedlings on the ridge. (b) Killing of seedlings on the edge of the ridge.
Figure 20. Simulation of seedling killing on and around ridges. (a) Killing of seedlings on the ridge. (b) Killing of seedlings on the edge of the ridge.
Agronomy 14 02269 g020
Figure 21. Variation curve of the number of bonding bonds of potato straw.
Figure 21. Variation curve of the number of bonding bonds of potato straw.
Agronomy 14 02269 g021
Figure 22. Positional distribution of straw particles with different forward speeds: (a) forward speed of 0.3 m/s; (b) forward speed of 0.8 m/s; (c) forward speed of 1.4 m/s.
Figure 22. Positional distribution of straw particles with different forward speeds: (a) forward speed of 0.3 m/s; (b) forward speed of 0.8 m/s; (c) forward speed of 1.4 m/s.
Agronomy 14 02269 g022
Figure 23. Positional distribution of straw particles with different screw churn speeds. (a) Speed of rotation 500 r/min. (b) Speed of rotation 600 r/min. (c) Speed of rotation 700 r/min.
Figure 23. Positional distribution of straw particles with different screw churn speeds. (a) Speed of rotation 500 r/min. (b) Speed of rotation 600 r/min. (c) Speed of rotation 700 r/min.
Agronomy 14 02269 g023
Figure 24. Positional distribution of straw particles with different gaps between the membranes. (a) Clearance to membrane of 10 mm. (b) Clearance to membrane of 20 mm. (c) Clearance to membrane of 30 mm.
Figure 24. Positional distribution of straw particles with different gaps between the membranes. (a) Clearance to membrane of 10 mm. (b) Clearance to membrane of 20 mm. (c) Clearance to membrane of 30 mm.
Agronomy 14 02269 g024
Figure 25. Response surface for the effect of test factors on indicators: (a) X3 = 20 mm film surface clean rate; (b) X2 = 600 r/min film surface cleaning rate; (c) X1 = 0.8 m/s film surface clean rate.
Figure 25. Response surface for the effect of test factors on indicators: (a) X3 = 20 mm film surface clean rate; (b) X2 = 600 r/min film surface cleaning rate; (c) X1 = 0.8 m/s film surface clean rate.
Agronomy 14 02269 g025
Figure 26. Effectiveness of residual film recycling operations. (a) Effect of residual film recycling before optimization. (b) Effect of residual film recycling after optimization.
Figure 26. Effectiveness of residual film recycling operations. (a) Effect of residual film recycling before optimization. (b) Effect of residual film recycling after optimization.
Agronomy 14 02269 g026
Table 1. Main technical parameters of the operating machine.
Table 1. Main technical parameters of the operating machine.
ParametersNumerical Values
Machine length × width × height2000 × 1100 × 1000 (mm)
Motive force≥40 kw
Working width900 mm
Overall quality2500 kg
Operating speed (adjustable)3–6 km.h−1
Suspension modeThree-point suspension
Table 2. Simulation parameters.
Table 2. Simulation parameters.
ParametersNumerical Values
Soil density2600 (kg·m−3)
Soil Poisson’s ratio0.3
Soil shear modulus5 × 107 Pa
Straw density1128 (kg·m−3)
Straw Poisson’s ratio0.25
Straw shear modulus1.83 × 106 Pa
Iron density7865 (kg·m−3)
Iron Poisson’s ratio0.3
Iron shear modulus7.9 × 1010 Pa
Soil–soil coefficient of recovery0.21
Soil–Fe coefficient of recovery0.54
Straw–iron coefficient of recovery0.5
Soil–soil static friction factor0.68
Soil–Fe static friction factor0.31
Straw–iron static friction factor0.2
Soil–soil rolling friction factor0.27
Soil–Fe rolling friction factor0.13
Straw–iron rolling friction factor0.03
Table 3. One-factor test program for forward speed of implements.
Table 3. One-factor test program for forward speed of implements.
NumberForward Speed (m/s)Screw Churn Speed (r/min)Clearance from Membrane (mm)
10.360020
20.860020
31.460020
Table 4. One-factor test program for screw churn speed.
Table 4. One-factor test program for screw churn speed.
NumberForward Speed (m/s)Screw Churn Speed (r/min)Clearance from Membrane (mm)
40.850020
50.860020
60.870020
Table 5. One-factor test program for distance to film gap.
Table 5. One-factor test program for distance to film gap.
NumberForward Speed (m/s)Screw Churn Speed (r/min)Clearance from Membrane (mm)
70.860010
80.860020
90.860030
Table 6. Test factor level code.
Table 6. Test factor level code.
LevelExperimental Factors
Forward Speed (m/s)Screw Unit Speed (r/min)Threshold Gap (mm)
−10.350010
00.860020
11.470030
Table 7. Results of the experimental design.
Table 7. Results of the experimental design.
Serial NumberExperimental FactorsFilm Surface Cleanliness Y/%
X1/(m∙s−1)X2/(r∙min−1)X3/mm
11.45002090.9
20.37002089.1
30.35002080.1
41.47002091.2
50.86002092.9
60.86002094.6
70.87001093.4
80.85003086.9
91.46001086.4
100.86002093.6
110.86002095.1
120.36001083.9
130.36003077.6
140.85001087
150.87003091.3
161.46003087.8
170.86002093.7
Table 8. Analysis of variance (ANOVA) for film surface cleanliness.
Table 8. Analysis of variance (ANOVA) for film surface cleanliness.
SourceSquare SumDFMean SquareFp
Model407.33945.2674.91<0.0001significant
X181.92181.92135.6<0.0001
X250.42150.4283.46<0.0001
X36.2816.2810.390.0146
X1 X218.93118.9331.330.0008
X1 X314.81114.8124.520.0017
X2 X31111.660.2392
X 1 2 148.851148.85246.38<0.0001
X 2 2 0.194610.19460.32220.588
X 3 2 71.3171.3118.01<0.0001
Residual4.2370.60410.52890.6861insignificant
Lack of fit1.230.4003
Pure error3.0340.757
Cor total411.5616
Table 9. Results of field trial data.
Table 9. Results of field trial data.
Measurement IndicatorsTechnology Standard/%Measured Mean Value/%
Impurity rate≤43.8
Residual film recovery rate≥8083.3
Injured potato rate≤1.51.4
Disclaimer/Publisher’s Note: The statements, opinions and data contained in all publications are solely those of the individual author(s) and contributor(s) and not of MDPI and/or the editor(s). MDPI and/or the editor(s) disclaim responsibility for any injury to people or property resulting from any ideas, methods, instructions or products referred to in the content.

Share and Cite

MDPI and ACS Style

Chen, Y.; Xing, R.; Liu, X.; Zhang, H.; Li, H. Design and Test of Potato Seedling Killing and Residual Film Recycling Integrated Machine. Agronomy 2024, 14, 2269. https://doi.org/10.3390/agronomy14102269

AMA Style

Chen Y, Xing R, Liu X, Zhang H, Li H. Design and Test of Potato Seedling Killing and Residual Film Recycling Integrated Machine. Agronomy. 2024; 14(10):2269. https://doi.org/10.3390/agronomy14102269

Chicago/Turabian Style

Chen, Yangzhou, Ruofei Xing, Xiaolong Liu, Hua Zhang, and Hui Li. 2024. "Design and Test of Potato Seedling Killing and Residual Film Recycling Integrated Machine" Agronomy 14, no. 10: 2269. https://doi.org/10.3390/agronomy14102269

APA Style

Chen, Y., Xing, R., Liu, X., Zhang, H., & Li, H. (2024). Design and Test of Potato Seedling Killing and Residual Film Recycling Integrated Machine. Agronomy, 14(10), 2269. https://doi.org/10.3390/agronomy14102269

Note that from the first issue of 2016, this journal uses article numbers instead of page numbers. See further details here.

Article Metrics

Back to TopTop