On the Addition of Multifunctional Methacrylate Monomers to an Acrylic-Based Infusible Resin for the Weldability of Acrylic-Based Glass Fibre Composites
Abstract
1. Introduction
1.1. Infusible Thermoplastic Resin Welding Process
1.2. Problem Statement and Objectives
2. Experimental Details
2.1. Material Selection
2.1.1. Multifunctional Methacrylate Monomers
2.1.2. Constituents of Thermoplastic Composites
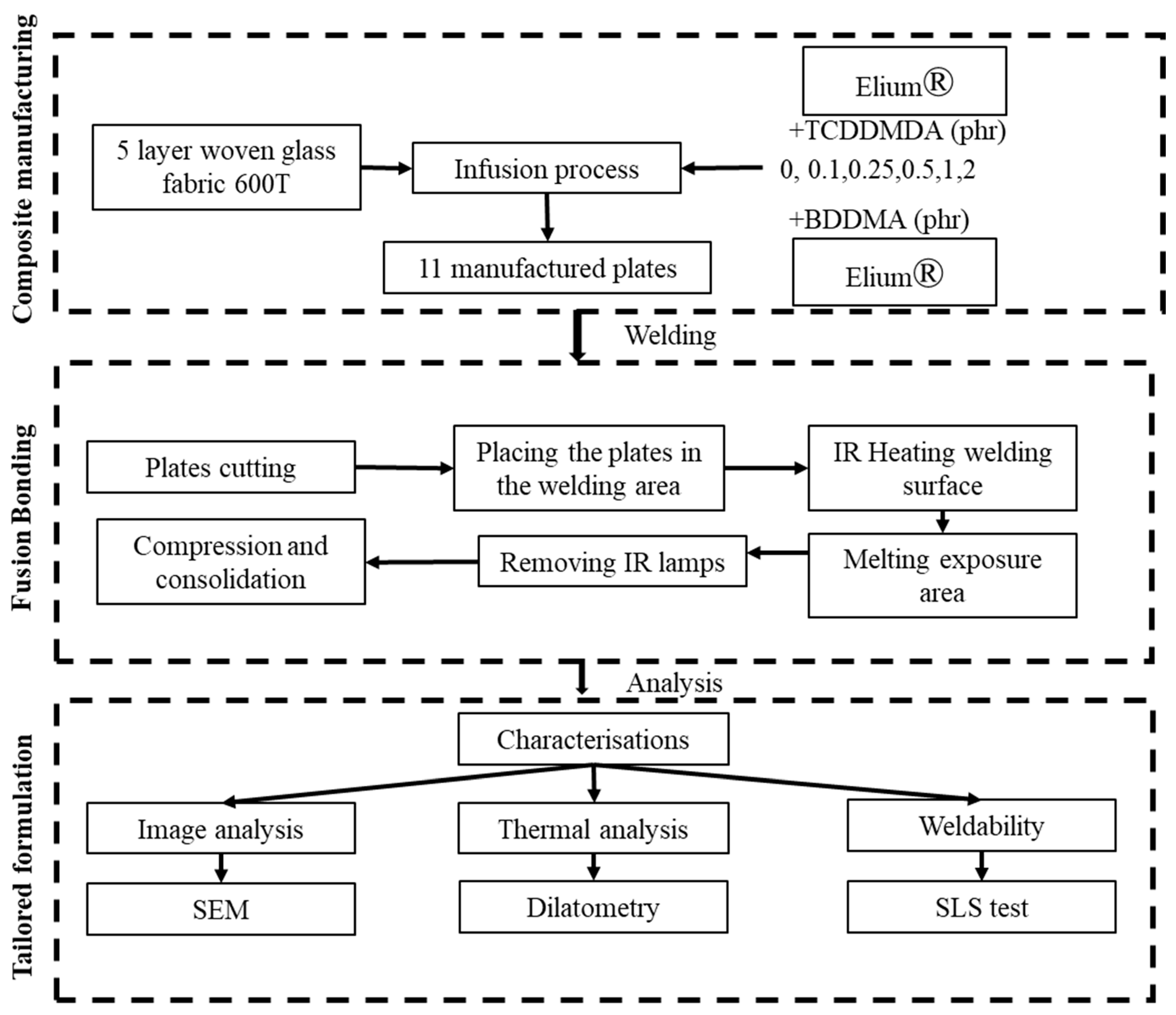
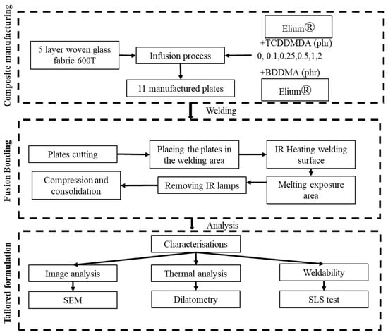
2.2. Composite Manufacturing
2.3. IR Welding Process
2.4. Analysis and Testing
2.4.1. Dilatometry
2.4.2. Single-Lap Shear (SLS)
2.4.3. Image Analysis
3. Results and Discussion
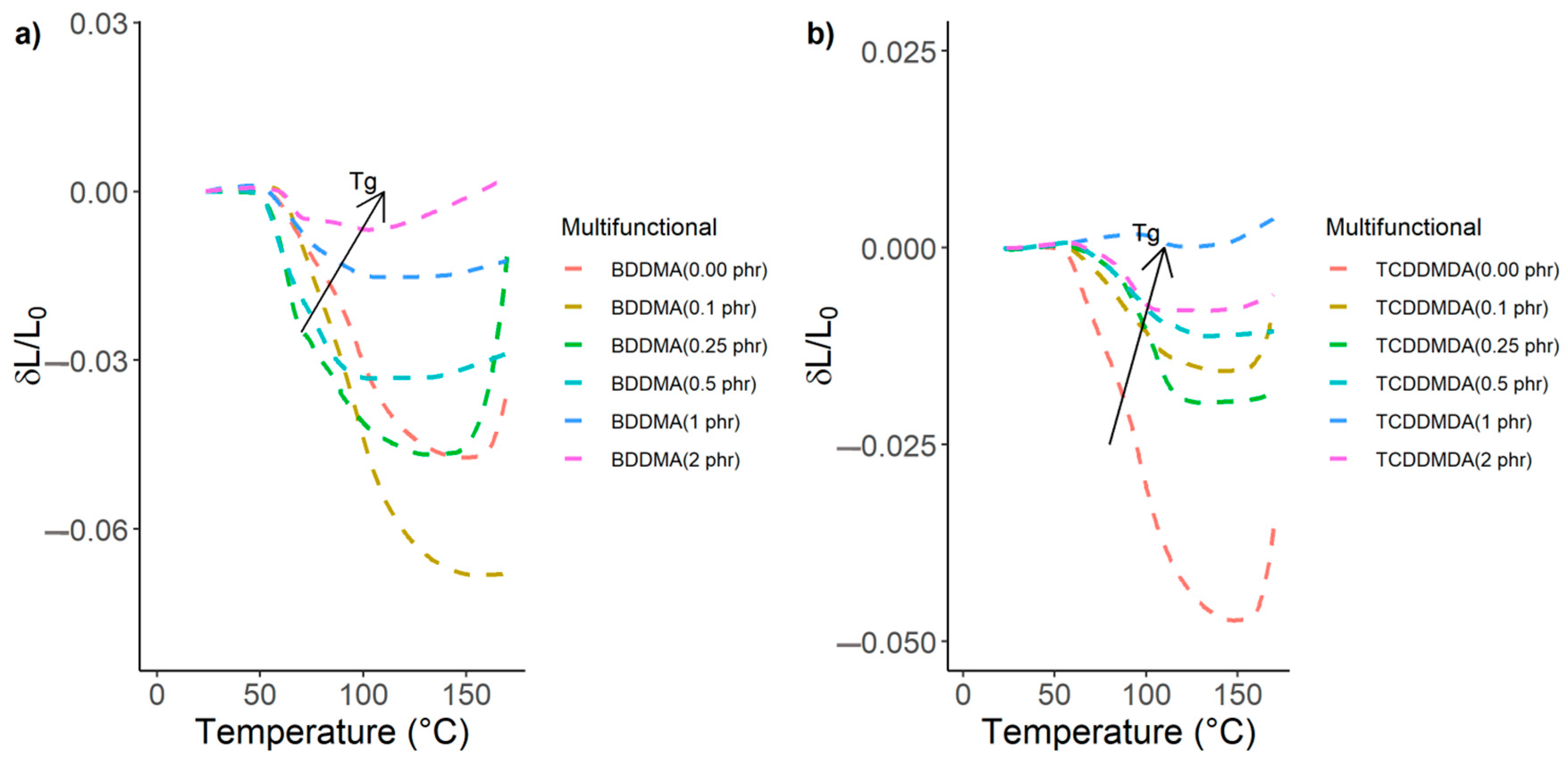
3.1. Thermal Analysis
3.2. Mechanical Properties
3.2.1. Single-Lap Shear (SLS)
3.2.2. Comparison of Strengths with Other Welding Techniques
3.2.3. Fractography
4. Conclusions
- An appropriate melt strength for an acrylic-based glass fibre composite material was obtained with each of the multifunctional methacrylate monomers at 0.25 phr, indicating optimal welding conditions.
- Compared to the reference sample, the addition of 0.25 phr of each of the multifunctional methacrylate monomers to the composite matrix offered the maximum bond shear strength of the weld, with an increase of 50%.
- Both multifunctional methacrylate monomers showed similar behaviour in the composite matrix in terms of weldability, regardless of their phr values in the Elium® matrix.
Author Contributions
Funding
Institutional Review Board Statement
Informed Consent Statement
Data Availability Statement
Acknowledgments
Conflicts of Interest
References
- Crosky, A.; Soatthiyanon, N.; Ruys, D.; Meatherall, S.; Potter, S. Thermoset matrix natural fibre-reinforced composites. In Natural Fibre Composites; Elsevier BV: Amsterdam, The Netherlands, 2014; pp. 233–270. [Google Scholar] [CrossRef]
- Mallick, P.K. Thermoplastics and thermoplastic-matrix composites for lightweight automotive structures. In Materials, Design and Manufacturing for Lightweight Vehicles; Elsevier Ltd.: Amsterdam, The Netherlands, 2010; pp. 174–207. [Google Scholar]
- Avenet, J.; Cender, T.A.; Le Corre, S.; Bailleul, J.-L.; Levy, A. Adhesion of High Temperature Thermoplastic Composites. Procedia Manuf. 2020, 47, 925–932. [Google Scholar] [CrossRef]
- Avenet, J.; Cender, T.A.; Le Corre, S.; Bailleul, J.-L.; Levy, A. Experimental correlation of rheological relaxation and interface healing times in welding thermoplastic PEKK composites. Compos. Part A Appl. Sci. Manuf. 2021, 149, 106489. [Google Scholar] [CrossRef]
- Ageorges, C.; Ye, L.; Hou, M. Advances in fusion bonding techniques for joining thermoplastic matrix composites: A review. Compos. Part A Appl. Sci. Manuf. 2001, 32, 839–857. [Google Scholar] [CrossRef]
- Tao, W.; Su, X.; Wang, H.; Zhang, Z.; Li, H.; Chen, J. Influence mechanism of welding time and energy director to the thermoplastic composite joints by ultrasonic welding. J. Manuf. Process. 2018, 37, 196–202. [Google Scholar] [CrossRef]
- Bhudolia, S.K.; Gohel, G.; Leong, K.F.; Islam, A. Advances in Ultrasonic Welding of Thermoplastic Composites: A Review. Materials 2020, 13, 1284. [Google Scholar] [CrossRef] [PubMed]
- Palardy, G. Smart ultrasonic welding of thermoplastic composites. In Proceedings of the American Society for Composites- 31st Technical Conference, ASC 2016 DEStech Publications Inc, Williamsburg, VA, USA, 19–22 September 2016. [Google Scholar]
- Williams, G.; Green, S.; McAfee, J.; Heward, C.M. Induction Welding of Thermoplastic Composites. In FRC90–Proceedings; Mechanical Engineering Publications: London, UK, 1990; pp. 133–136. [Google Scholar]
- McKnight, S.H.; Holmes, S.T.; Gillespie, J.W.; Lambing, C.L.T.; Marinelli, J.M. Scaling issues in resistance-welded thermoplastic composite joints. Adv. Polym. Technol. 1997, 16, 279–295. [Google Scholar] [CrossRef]
- Swartz, H.D.; Swartz, J.L. Focused Infrared Melt Fusion: Another Option for Welding Thermoplastic Composites; SME Technical Paper, Joining Composites; Society of Manufacturing Engineers: Southfield, Michigan, 1989; pp. 1–16. [Google Scholar]
- De Baere, I.; Allaer, K.; Jacques, S.; Van Paepegem, W.; Degrieck, J. Interlaminar behavior of infrared welded joints of carbon fabric-reinforced polyphenylene sulfide. Polym. Compos. 2012, 33, 1105–1113. [Google Scholar] [CrossRef]
- Perrin, H.; Mertz, G.; Senoussaoui, N.-L.; Borghini, L.; Klein, S.; Vaudemont, R. Surface functionalization of thermoset composite for infrared hybrid welding. Funct. Compos. Mater. 2021, 2, 1–15. [Google Scholar] [CrossRef]
- Asseko, A.C.A.; Lafranche, É.; Cosson, B.; Schmidt, F.; Le Maoult, Y. Infrared welding process on composite: Effect of interdiffusion at the welding interface. AIP Conf. Proc. 2016, 1769, 020011. [Google Scholar] [CrossRef]
- Allaer, K.; de Baere, I.; van Paepegem, W.; Degrieck, J. Infrared welding of carbon fabric reinforced thermoplastics. Jec Compos. Mag. 2012, 44–47. [Google Scholar]
- Van Rijswijk, K.; Bersee, H.E.N. Reactive Processing of Textile Fiber-Reinforced Thermoplastic Composites—An Overview. Compos. Part A Appl. Sci. Manuf. 2007, 38, 666–681. [Google Scholar] [CrossRef]
- Murray, R.E.; Penumadu, D.; Cousins, D.; Beach, R.; Snowberg, D.; Berry, D.; Suzuki, Y.; Stebner, A. Manufacturing and Flexural Characterization of Infusion-Reacted Thermoplastic Wind Turbine Blade Subcomponents. Appl. Compos. Mater. 2019, 26, 945–961. [Google Scholar] [CrossRef]
- ARKEMA. OLERIS® ACCOLA CAREFLEX ® DICUP ELIUM ® TEGOGLA. Available online: https://www.arkema.com/global/en/products/product-safety/disclaimer/ (accessed on 1 February 2023).
- Bodaghi, M.; Park, C.H.; Krawczak, P. Reactive Processing of Acrylic-Based Thermoplastic Composites: A Mini-Review. Front. Mater. 2022, 9. [Google Scholar] [CrossRef]
- Murray, R.E.; Roadman, J.; Beach, R. Fusion joining of thermoplastic composite wind turbine blades: Lap-shear bond characterization. Renew. Energy 2019, 140, 501–512. [Google Scholar] [CrossRef]
- Bhudolia, S.K.; Gohel, G.; Kantipudi, J.; Leong, K.F.; Barsotti, R.J.B., Jr. Ultrasonic Welding of Novel Carbon/Elium® Thermoplastic Composites with Flat and Integrated Energy Directors: Lap Shear Characterisation and Fractographic Investigation. Materials 2020, 13, 1634. [Google Scholar] [CrossRef] [PubMed]
- Gohel, G.; Bhudolia, S.K.; Kantipudi, J.; Leong, K.F.; Barsotti, R.J. Ultrasonic welding of novel Carbon/Elium® with carbon/epoxy composites. Compos. Commun. 2020, 22, 100463. [Google Scholar] [CrossRef]
- Chebil, M.S.; Bouaoulo, G.; Gerard, P.; EL Euch, S.; Issard, H.; Richaud, E. Oxidation and unzipping in ELIUM resin: Kinetic model for mass loss. Polym. Degrad. Stab. 2021, 186, 109523. [Google Scholar] [CrossRef]
- Hussein, M.A.; Albeladi, H.k.; AlRomaizan, A.N. Role of Cross-Linking Process on the Performance of PMMA. Int. J. Biosens. Bioelectron. 2017, 3, 279–284. [Google Scholar] [CrossRef]
- Decker, C. UV-Radiation Curing of Adhesives. Handb. Adhes. Sealants 2006, 2, 303–353. [Google Scholar]
- FRIMO Group GmbH. IR-Welding Innovations. Available online: https://trends.directindustry.com/frimo-group-gmbh/project-36161-133913.html (accessed on 1 February 2023).
- Beckel, E.R.; Nie, J.; Stansbury, J.W.; Bowman, C.N. Effect of Aryl Substituents on the Reactivity of Phenyl Carbamate Acrylate Monomers. Macromolecules 2004, 37, 4062–4069. [Google Scholar] [CrossRef]
- Maruo, Y.; Yoshihara, K.; Irie, M.; Nagaoka, N.; Matsumoto, T.; Minagi, S. Does Multifunctional Acrylate’s Addition to Methacrylate Improve Its Flexural Properties and Bond Ability to CAD/CAM PMMA Block? Materials 2022, 15, 7564. [Google Scholar] [CrossRef] [PubMed]
- Min, K.; Silberstein, M.; Aluru, N.R. Crosslinking PMMA: Molecular dynamics investigation of the shear response. J. Polym. Sci. Part B: Polym. Phys. 2013, 52, 444–449. [Google Scholar] [CrossRef]
- Jerolimov, V.; Jagger, R.G.; Millward, P.J. Effect of Cross-linking Chain Length on Glass Transition of a Dough-moulded Poly (methylmethacrylate) Resins. Acta Stomatol. Croat. 1994, 28, 3–9. [Google Scholar]
- Jerolimov, V.; Jagger, R.; Milward, P. Effect of the curing cycle on acrylic denture base glass transition temperatures. J. Dent. 1991, 19, 245–248. [Google Scholar] [CrossRef]
- Ajay, R.; Suma, K.; Ali, S.A. Monomer modifications of denture base acrylic resin: A systematic review and meta-analysis. J. Pharm. Bioallied Sci. 2019, 11, S112–S125. [Google Scholar] [CrossRef] [PubMed]
- Kubota, T.; Kobayashi, M.; Hayashi, R.; Ono, A.; Mega, J. Influence of Carbon Chain Length of Fluorinated Alkyl Acrylate on Mechanical Properties of Denture Base Resin. Int. J. Oral-Medical Sci. 2005, 4, 92–96. [Google Scholar] [CrossRef]
- Spasojevic, P.; Panic, V.; Seslija, S.; Nikolic, V.; Popovic, I.; Velickovic, S. Poly(methyl methacrylate) denture base materials modified with ditetrahydrofurfuryl itaconate: Significant applicative properties. J. Serbian Chem. Soc. 2015, 80, 1177–1192. [Google Scholar] [CrossRef]
- Brzeski, M.; Mitschang, P. Deconsolidation and Its Interdependent Mechanisms of Fibre Reinforced Polypropylene. Polym. Polym. Compos. 2015, 23, 515–524. [Google Scholar] [CrossRef]
- Wan, Y.; Takahashi, J. Deconsolidation behavior of carbon fiber reinforced thermoplastics. J. Reinf. Plast. Compos. 2014, 33, 1613–1624. [Google Scholar] [CrossRef]
- Pettersson, J. “Analysis and Design of an Adhesive Joint in Wind Turbine Blades,” Lund University. 2016. Available online: https://www.byggmek.lth.se/fileadmin/byggnadsmekanik/publications/tvsm5000/web5217.pdf (accessed on 28 February 2023).
- Bodaghi, M.; Costa, R.; Gomes, R.; Silva, J.; Curado-Correia, N.; Silva, F. Experimental comparative study of the variants of high-temperature vacuum-assisted resin transfer moulding. Compos. Part A Appl. Sci. Manuf. 2019, 129, 105708. [Google Scholar] [CrossRef]
- Johnson, W.; Masters, J.; Wilson, D.; Melin, L.; Neumeister, J.; Pettersson, K.; Johansson, H.; Asp, L. Evaluation of Four Composite Shear Test Methods by Digital Speckle Strain Mapping and Fractographic Analysis. J. Compos. Technol. Res. 2000, 22, 161. [Google Scholar] [CrossRef]









| Fusion-Bonding Process | Heating Time (s) | Specific Parameters | Scale-Up Potential | Reference |
|---|---|---|---|---|
| Ultrasonic welding | 3–4 | Frequency: 20–40 kHz | A thermoplastic composite airframe panel | Palardy and Villegas [8] |
| Amplitude: 10–100 µm | ||||
| Induction welding | 10–3600 | Frequency: 60–100 MHz | One-shot welding up to 600 cm | Williams et al. [9] |
| Resistance welding | 30–3000 | Power input: 30–160 kW/m2 | Double lap joints with the length of 1.2 m | McKnight et al. [10] |
| Pressure: 0.1–1.4 MPa | ||||
| Infrared welding | 10–30 | Beam temperature: 650 °C | Welding of a surface area of 1.2 × 2.4 m2 | Swartz [11] |
| References | Polymer Composite | Interests of Study | Observations |
|---|---|---|---|
| Baere et al. [12,15] | 5-harness satin weave carbon-reinforced polphenylene sulfide (PPS) | Heating time, contact pressure, consolidation time using lap shear experiments | Pre-consolidation of PPS resulted in reproducible results with IR process |
| Chateau et al. [14] | Glass fibre Polycarbonate/polycarbonate composite | Welding temperature on the joining quality | A complete self-diffusion was not feasible due to inadequate welding temperature |
| Perrin et al. [13] | Carbon fibre-reinforced peek | Chemical surface modification on the mechanical performance | IR welding was proven to be an appropriate technique for welding of dissimilar composite matrix |
| Chemical Name | Commercial Name | Structure | Functionality | Viscosity at 25 °C (mPa.s) | Features | Tg (°C) |
|---|---|---|---|---|---|---|
| TCDDMDA | SR834 | ![]() | 4 | 108 | Toughness | High Tg |
| BDDMA | SR214 | ![]() | 4 | 12 | Hardness Excellent solubility | 210 |
| Specimen with Multifunctional Methacrylate Monomer (phr) | SLS (MPa) ± Standard Deviation (MPa) | Coefficient of Variation (CoV) (Standard Deviation/Average) (%) | |
|---|---|---|---|
| Neat Elium (0) | 12.27 ± 1.84 | 15 | |
| BDDMA | 0.1 | 14.063 ± 1.76 | 12.5 |
| 0.25 | 19.12 ± 0.48 | 2.5 | |
| 0.5 | 12.3 ± 4.34 | 35 | |
| 1 | 15.56 ± 2.22 | 14 | |
| 2 | 14.64 ± 1.00 | 6.83 | |
| TCDDMDA | 0.1 | 16.32 ± 2.6 | 15.9 |
| 0.25 | 18.84 ± 0.64 | 3.39 | |
| 0.5 | 13.99 ± 0.73 | 5.2 | |
| 1 | 17.00 ± 3.24 | 19.05 | |
| 2 | 11.63 ± 2.13 | 18.31 | |
| Parameters | Murray et al. [20] (2019) | Bhudolia et al. [21] (2020) | Current Study | ||
|---|---|---|---|---|---|
| Welding method | -Induction welding -Resistance welding | Ultrasonic welding | IR welding | ||
| Type of resin | Elium®188 | Elium®150 | Elium®188XO | ||
| Ratio of resin:initiator | 100:2 | 100:3 | 100:3 | ||
| Type of fabric | Fibreglast 3.5-oz plain-weave carbon fibre | Twill-weave dry carbon fibres | woven glass fabric | ||
| Composite manufacturing technique | Vacuum infusion | Resin transfer moulding (RTM) and post-cured at 65 °C | Vacuum infusion | ||
| Overlap area (mm2) | 645 | 645.16 | 640 | ||
| Variables | Comparing adhesives with resistance and induction-welded bonds | - weld time - weld pressure - amplitude - ED type | Multifunctional methacrylate monomer concentration | ||
| Average shear strength of best bonding results (MPa) | Induction | resistance | 18.68 | BDDMA | TCDDMDA |
| 18.5 | 18.5 | 19.12 | 18.84 | ||
Disclaimer/Publisher’s Note: The statements, opinions and data contained in all publications are solely those of the individual author(s) and contributor(s) and not of MDPI and/or the editor(s). MDPI and/or the editor(s) disclaim responsibility for any injury to people or property resulting from any ideas, methods, instructions or products referred to in the content. |
© 2023 by the authors. Licensee MDPI, Basel, Switzerland. This article is an open access article distributed under the terms and conditions of the Creative Commons Attribution (CC BY) license (https://creativecommons.org/licenses/by/4.0/).
Share and Cite
Perrin, H.; Bodaghi, M.; Berthé, V.; Vaudemont, R. On the Addition of Multifunctional Methacrylate Monomers to an Acrylic-Based Infusible Resin for the Weldability of Acrylic-Based Glass Fibre Composites. Polymers 2023, 15, 1250. https://doi.org/10.3390/polym15051250
Perrin H, Bodaghi M, Berthé V, Vaudemont R. On the Addition of Multifunctional Methacrylate Monomers to an Acrylic-Based Infusible Resin for the Weldability of Acrylic-Based Glass Fibre Composites. Polymers. 2023; 15(5):1250. https://doi.org/10.3390/polym15051250
Chicago/Turabian StylePerrin, Henri, Masoud Bodaghi, Vincent Berthé, and Régis Vaudemont. 2023. "On the Addition of Multifunctional Methacrylate Monomers to an Acrylic-Based Infusible Resin for the Weldability of Acrylic-Based Glass Fibre Composites" Polymers 15, no. 5: 1250. https://doi.org/10.3390/polym15051250
APA StylePerrin, H., Bodaghi, M., Berthé, V., & Vaudemont, R. (2023). On the Addition of Multifunctional Methacrylate Monomers to an Acrylic-Based Infusible Resin for the Weldability of Acrylic-Based Glass Fibre Composites. Polymers, 15(5), 1250. https://doi.org/10.3390/polym15051250



