Free Volume and Water Sorption by Cellulose Esters
Abstract
1. Introduction
2. Experimental
2.1. Objects and Methods
2.2. Sorption Measurements
- Temperature control accuracy was ±0.05 °C;
- Weighing error was ±0.01 mg;
- Time registration error was ±5 s;
- Error in determining pressure was ±0.03 rel.u;
- Error in determining the sample thickness was ±5%.
2.3. Positron Annihilation
3. Results and Discussion
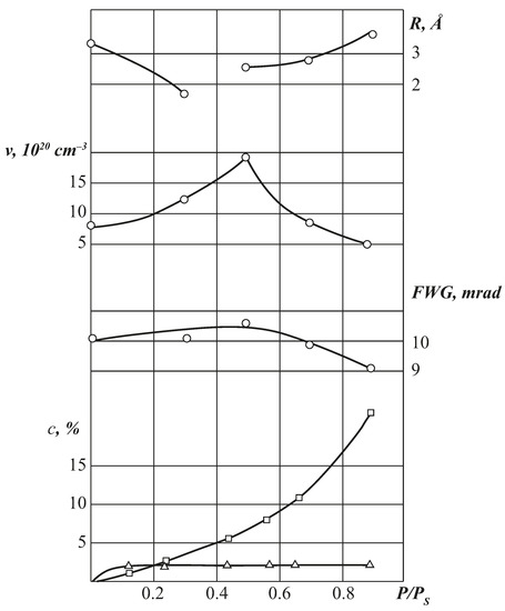
- First, we performed measurements at different vapour activities, which allowed us Here are 21, pleaseto compare the data on the transformation of the free volume at different filling degrees with the sorption isotherms;
- Second, we obtained quantitative characteristics of free volume parameters of polymeric sorbents in isobar–isothermal equilibrium with the environment of different humidity.
- In the region of high p/ps, where CA filling with sorbate molecules occurs predominantly by the Flory–Huggins mechanism, the character of changes in the freevolume parameters is different;
- Continuous increase of the mean radius of the freevolume holes with increasing p/ps;
- Decrease in the half-width of the broad AC component, indicating “loosening” of the polymer matrix at high values of humidity;
- Decrease in the concentration of positron traps.
4. Conclusions
Author Contributions
Funding
Institutional Review Board Statement
Informed Consent Statement
Data Availability Statement
Acknowledgments
Conflicts of Interest
References
- Grebennikov, S.F.; Eltekov, Y.A. Sorption in Polymer Systems; Publishing House SPBU: St. Petersburg, Russia, 2014. (In Russian) [Google Scholar]
- Tager, A.A. Physicochemistry of Polymers, 4th ed.; Publishing House Scientific World: Moscow, Russia, 2007. (In Russian) [Google Scholar]
- Papkov, S.P.; Feinberg, E.Z. Interaction of Pulp and Cellulose Materials with Water; Publishing House Chemistry: Moskow, Russia, 1976. (In Russian) [Google Scholar]
- Brown, G.L. Clustering of Water in Polymers. In Water in Polymers; Rowland, S.P., Ed.; ACS Publications: Washington, DC, USA, 1980. [Google Scholar]
- Tolmachev, A.M. Adsorption, Adsorbents and Adsorption Processes in Non-Porous Materials; Publishing House Border: Moscow, Russia, 2011. [Google Scholar]
- Zhizhenkov, V.V.L.; Grebennikov, S.F.; Busygin, K.N.; Kvachadze, N.G.; Smotrina, T.V.; Smotrin, V.A. Formation of liquid crystal structures in polyparaamides. Polym. Sci. Ser. A 2017, 59, 165–173. [Google Scholar] [CrossRef]
- Van Krevelen, D.W.; Hoftyzer, P.J. Correlations with Chemical Structure. In Properties of Polymers; Elsevier Scientific Pub. Co.: New York, NY, USA, 1976; ISBN 9780444596123. [Google Scholar]
- Van Krevelen, D.W.; Te Nijenhuis, K. Properties of Polymers Their Correlation with Chemical Structure. In Their Numerical Estimation And Prediction From Additive Group Contributions; Elsevier: Amsterdam, The Netherlands, 2009; ISBN 9780080548197/9780080915104. [Google Scholar]
- Khasbiullin, R.R.; Kostina, Y.V.; Petrova, T.F.; Bondarenko, G.N.; Chalykh, A.E.; Chuvaev, V.F.; Gerasimov, V.K. Residual Water in Polyvinyl Alcohol. Polym. Sci. Ser. A 2014, 56, 569–578. [Google Scholar] [CrossRef]
- Chalykh, A.E. Diffusion in Polymer Systems; Publishing House Chemistry: Moskow, Russia, 1987. (In Russian) [Google Scholar]
- Kovarski, A.Z. Molecular Dynamics of Additives in Polymers; CRC Press: Utrech, The Netherlands, 1998. [Google Scholar]
- Chalykh, A.E.; Borisevich, A.A.; Petrova, T.F.; Belokurova, A.P. Sorption and Diffusion of Water Vapors with Polyacrylic Acid and Hydrate Numbers of the Carboxy-Strong Group; Chemistry and Chemical Technology; Publishing House Izvestia Universities: Moscow, Russia, 2009. (In Russian) [Google Scholar]
- Chalykh, A.E.; Levenets, M.S. Isotherms of Sorption of Hard-Chain Glass-Forming Polymers; Preprint S2.96; Publishing House Frumkin Institute of Physical Chemistry and Electrochemistry Russian Academy of Sciences (IPCE RAS): Moscow, Russia, 1996. (In Russian) [Google Scholar]
- Komarova, T.P. Prediction of diffusion and protective properties of limer materials. In The Collection Insulation Materials for Corrosion Protection of Pipelines; Publishing House VNIIST: Moscow, Russia, 1982. (In Russian) [Google Scholar]
- Chalykh, A.E.; Petrova, T.F.; Khasbiullin, R.R.; Ozerin, A.N. Water sorption and water diffusion in chitin and chitosan. Polym. Sci. Ser. A 2014, 56, 614–622. [Google Scholar] [CrossRef]
- Chalykh, A.E.; Petrova, T.F.; Matveev, V.V.; Gerasimov, V.K.; Khasbiullin, R.R.; Shcherbina, A.A.; Abaturova, N.A. Phase Equilibria and Structures of Phases in the Chitosan—Polyvinyl Alcohol Systems. Russ. Chem. Bull. 2020, 69, 675–682. [Google Scholar] [CrossRef]
- Chalykh, A.E. Prediction of diffusion and protective properties of poly-dimensional materials. In The Collection Insulation Materials for Corrosion Protection of Pipelines; VNIIST: Moscow, Russia, 1982. (In Russian) [Google Scholar]
- Chalykh, A.E.; Petrova, T.F.; Gerasimov, V.K.; Antipov, Y.V.; Aliev, A.D.; Matveev, V.V. Water sorption by aromatic polyamides. Prot. Met. Phys. Chem. Surfaces 2021, 57. in print. [Google Scholar]
- Chalykh, A.E.; Petrova, T.F.; Antipov, Y.V.; Aliev, A.D.; Matveev, V.V.; Telitsyna, M.Y. Water Sorption by Carbon Fibers. Prot. Met. Phys. Chem. Surfaces 2020, 56, 20–29. [Google Scholar] [CrossRef]
- Chalykh, A.E.; Gerasimov, V.K.; Semenova, S.I.; Chalykh, T.I. Solubility of Sulfur Dioxide in Polymer Membranes. Membranes 2001, 10, 3–8. [Google Scholar]
- Shipovskaya, A.B.; Shchegolev, S.Y. Phase Analysis and Optical Activity of Cellulose Ether Systems—Mesophase Solvent; Publishing House of the Saratov University: Saratov, Russia, 2014. (In Russian) [Google Scholar]
- Malkin, A.Y.; Chalykh, A.E. Diffusion and viscosity of polymers. In Methods of Change; Publishing House Chemistry: Moscow, Russia, 1979. (In Russian) [Google Scholar]
- Nikolaev, N.I. Diffusion in Membranes; Moscow Publishing House Chemistry: Moscow, Russia, 1980. (In Russian) [Google Scholar]
- Goldansky, V.I. Physical Chemistry of Positron and Positronium; Publishing House Science: Moscow, Russia, 1968. [Google Scholar]
- Brandt, W. Positron Dynamics in Solids. J. Appl. Phys. 1974, 5, 1–23. [Google Scholar] [CrossRef]
- Nakanishi, H.; Wang, S.J.; Jean, Y.C. Chemical Dynamics of Positronium Atom in Liquids; Dorikens-Vanpraet, L., Dorikens, M., Segers, D., Eds.; World Scientific Publishing Co. Pte. Ltd.: Singapore, 1989. [Google Scholar]
- Miura, T.; Suzuki, T.; Oki, Y.; Numajuri, M.; Kondo, K.; Shiomi, Y.; Ifo, Y. Water absorption in novolac epoxy resins studied by positron annihilation. J. Phys. IV 1993, 3, 249–252. [Google Scholar] [CrossRef][Green Version]







| Sample | Substitution Degree γ | Glass Transition Temperature, TG, K | Molar Mass, Mη × 10−4 | Density, g/cm3 | Solvent |
|---|---|---|---|---|---|
| CA1 | 0.6 | 503 | 7.7 | 1.29 | DMF |
| CA2 | 1.21 | 493 | 7.5 | 1.27 | DMF |
| CA3 | 1.70 | 473 | 6.9 | 1.30 | DMF |
| CA4 | 2.03 | 457 | 7.8–8.8 | 1.32 | DMF |
| CA5 | 2.40 | - | 8.2 | 1.33 | DMF |
| CA6 | 2.60 | 462 | 7.5 | 1.30 | DCM:ethanol 3:1 |
| CA7 | 2.85–2.90 | 460 | 7.8–8.0 | 1.28 | DCM:ethanol 9:1 |
| CTA | 3.0 | 456 | 6.8–7.2 | 1.27 | DCM:ethanol 9:1 |
| Sample | p/ps | Radius of the Spherical Vacancies, R, A° | Trap Concentration, nv, 1020 cm−3 | Free Volume Fraction, f * |
|---|---|---|---|---|
| CA1 (SD = 0.6) | 0 | 3.80 | 0.46 | 0.011 |
| CA3 (SD = 1.70) | 0 | 2.60 | 1.47 | 0.011 |
| CA4 (SD = 2.00) | 0 | 2.79 | 1.88 | 0.017 |
| CA5 (SD = 2.40) | 0 | 2.89 | 1.51 | 0.015 |
| CA6 (SD = 2.60) | 0 | 3.14 | 1.08 | 0.014 |
| CA7 (SD = 2.90) | 0 | 3.28 | 1.09 | 0.016 |
| CA2 (SD = 1.21) | 0 | 3.3 | 7.7 | 0.012 |
| —”— | 0.3 | 1.7 | 13.7 | 0.003 |
| —”— | 0.5 | 2.6 | 19.1 | 0.015 |
| —”— | 0.7 | 2.7 | 7.1 | 0.006 |
| —”— | 0.9 | 3.8 | 5.6 | 0.013 |
| Designation | Free Volume Fraction, f * | Spherical Micropore Radius, R, A° |
|---|---|---|
| CA1 | 0.011 | 3.80 |
| CA2 | 0.012 | 3.3 |
| CA3 | 0.011 | 3.4 |
| CA4 | 0.017 | 2.79 |
| CA5 | 0.015 | 3.28 |
| CA6 | 0.014 | 3.14 |
| CA7 | 0.016 | 3.28 |
| CTA | 0.018 | 3.41 |
| Sorbent | Temperature, °C | C′H | χ |
|---|---|---|---|
| CA2, SD = 1.21 | 30 | 0.0248 | 1.06 |
| 40 | 0.0112 | 1.12 | |
| CA3, SD = 1.71 | 20 | 0.0251 | 1.25 |
| 30 | 0.0235 | 1.29 | |
| 40 | 0.0142 | 1.26 | |
| CA4, SD = 2.00 | 20 | 0.0083 | 1.34 |
| 30 | 0.0083 | 1.49 | |
| 40 | 0.0131 | 1.43 |
| Group | p/ps Values | |||||
|---|---|---|---|---|---|---|
| 0.2 | 0.5 | 0.7 | 0.8 | 0.9 | 1.0 | |
| –OH * | 0.35 | 0.5 | 0.75 | 0.95 | 1.2 | 2.0 |
| –C = O * | 0.025 | 0.055 | 0.11 | 0.17 | 0.20 | 0.30 |
| –COO– * | 0.025 | 0.050 | 0.075 | 0.11 | 0.14 | 0.20 |
| –COO– ** | 0.035 | 0.072 | 0.13 | 0.18 | 0.26 | 0.50 |
Publisher’s Note: MDPI stays neutral with regard to jurisdictional claims in published maps and institutional affiliations. |
© 2021 by the authors. Licensee MDPI, Basel, Switzerland. This article is an open access article distributed under the terms and conditions of the Creative Commons Attribution (CC BY) license (https://creativecommons.org/licenses/by/4.0/).
Share and Cite
Chalykh, A.E.; Bardyshev, I.I.; Petrova, T.F. Free Volume and Water Sorption by Cellulose Esters. Polymers 2021, 13, 2644. https://doi.org/10.3390/polym13162644
Chalykh AE, Bardyshev II, Petrova TF. Free Volume and Water Sorption by Cellulose Esters. Polymers. 2021; 13(16):2644. https://doi.org/10.3390/polym13162644
Chicago/Turabian StyleChalykh, Anatoly E., Ivan I. Bardyshev, and Tatiana F. Petrova. 2021. "Free Volume and Water Sorption by Cellulose Esters" Polymers 13, no. 16: 2644. https://doi.org/10.3390/polym13162644
APA StyleChalykh, A. E., Bardyshev, I. I., & Petrova, T. F. (2021). Free Volume and Water Sorption by Cellulose Esters. Polymers, 13(16), 2644. https://doi.org/10.3390/polym13162644
