Effect of Impurity Ions on Solubility and Metastable Zone Width of Lithium Metaborate Salts
Abstract
:1. Introduction
2. Experimental Section
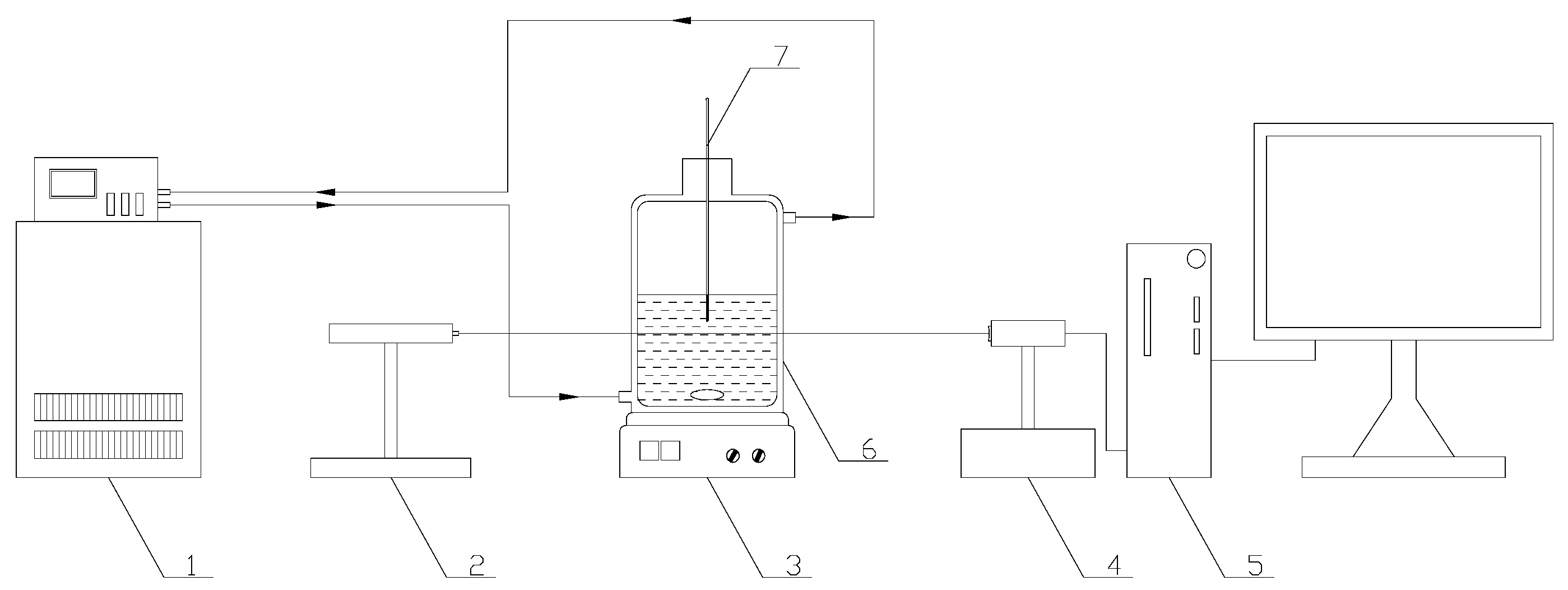
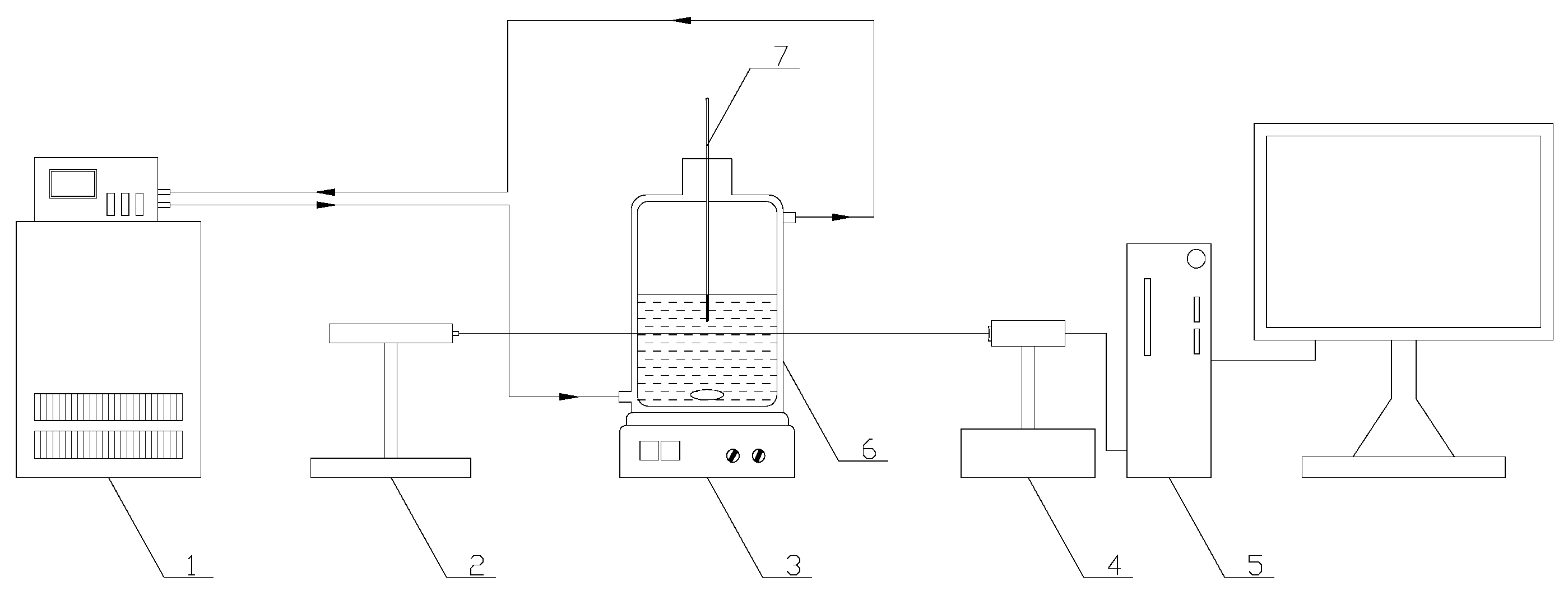
2.1. Materials and Apparatus
2.2. Experimental Method
2.3. Analysis Method
3. Results and Discussion
3.1. Solubility for Systems LiBO2−H2O and LiBO2−NaCl−H2O
3.2. Metastable Zone Width in Lithium Metaborate Solutions
3.3. Impurities on the MZW for Lithium Metaborate Solutions
3.4. Apparent Nucleation Order of Lithium Metaborate Solutions
4. Conclusions
Author Contributions
Funding
Conflicts of Interest
References
- Gao, S.Y.; Song, P.S.; Zheng, M.P.; Xia, S.P. Salt Lake Chemicals; Science Press: Beijing, China, 2007. [Google Scholar]
- Gao, S.Y.; Li, G.Y. The chemistry of borate in salt lake brine (I) behavior of borate during solar evaporation of brine. Chem. J. Chin. Univ. 1982, 3, 141–148. [Google Scholar]
- Gao, S.Y.; Fu, T.J.; Wang, J.Z. Chemistry of borate in salt lake brine III. maximum solubility of mg-borate in concentrated salt lake brine. Chin. J. Inorg. Chem. 1985, 1, 97–102. [Google Scholar]
- Meng, L.Z.; Guo, Y.F.; Li, D.; Deng, T.L. Solid and liquid metastable phase equilibria in the aqueous quaternary system Li+, Mg2+//SO42–, Borate-H2O at 273.15 K. Chem. Res. Chin. Univ. 2017, 33, 655–659. [Google Scholar] [CrossRef]
- Gurbuz, H.; Ozdemir, B. Experimental determination of the metastable zone width of borax decahydrate by ultrasonic velocity measurement. J. Cryst. Growth 2003, 252, 343–349. [Google Scholar] [CrossRef]
- Sun, Y.Z.; Song, X.F.; Wang, J.; Luo, Y.; Yu, J. Unseeded supersolubility of lithium carbonate: Experimental measurement and simulation with mathematical models. J. Cryst. Growth 2009, 311, 4714–4719. [Google Scholar] [CrossRef]
- Wang, P.P.; Yu, P.B.; Wu, Q.F.; Chen, J.X. Determination of freezing eutectic crystallization metastable zone of monosodium glutamate. Chem. Eng. 2017, 45, 33–36. [Google Scholar] [CrossRef]
- Sayan, P.; Ulrich, J. Effect of various impurities on the metastable zone width of boric acid. Cryst. Res. Technol. 2001, 36, 411–417. [Google Scholar] [CrossRef]
- Meng, Q.F.; Dong, Y.P.; Kong, F.Z.; Feng, H.T.; Li, W. Study on the metastable zone property of boric acid in different concentrations of MgCl2 and NaCl solutions. Acta Chim. Sinica 2010, 68, 1699–1706. [Google Scholar]
- Kong, F.Z.; Dong, Y.P.; Meng, Q.F.; Peng, J.Y.; Li, W. Study of the metastable zone property of H3BO3 in CaCl2–H3BO3–H2O system. J. Salt Lake Res. 2011, 19, 48–53. [Google Scholar]
- Peng, J.Y.; Dong, Y.P.; Nie, Z.; Kong, F.Z.; Meng, Q.F.; Li, W. Solubility and metastable zone width measurement of borax decahydrate in potassium chloride solution. J. Chem. Eng. Data 2012, 57, 890–895. [Google Scholar] [CrossRef]
- Peng, J.Y.; Dong, Y.P.; Wang, L.P.; Li, L.L.; Li, W.; Feng, H.T. Effect of impurities on the solubility, metastable zone width, and nucleation kinetics of borax decahydrate. Ind. Eng. Chem. Res. 2014, 53, 12170–12178. [Google Scholar] [CrossRef]
- Sahin, O.; Dolas, H.; Demir, H. Determination of nucleation kinetics of potassium tetraborate tetrahydrate. Cryst. Res. Technol. 2007, 42, 766–772. [Google Scholar] [CrossRef]
- Li, D.; Meng, L.Z.; Guo, Y.F.; Deng, T.L.; Yang, L. Chemical engineering process simulation of brines using phase diagram and Pitzer model of the system CaCl2−SrCl2−H2O. Fluid Phase Equilibr. 2019, 484, 232–238. [Google Scholar] [CrossRef]
- Qinghai Institute of Salt Lakes, Chinese Academy of Science. Analytical Methods of Brines and Salts, 2nd ed.; China Science Press: Beijing, China, 1988. [Google Scholar]
- Reburn, W.T.; Gale, W.A. The system lithium oxide−boric oxide−water. J. Phys. Chem. 1955, 59, 19–24. [Google Scholar] [CrossRef]
- Ma, Y.; Wang, Z.; Zhou, J.Y. Effects of impurity ions on the metastable zone width of phosphoric acid in tributyl phosphate. J. Chem. Eng. Data. 2014, 59, 2909–2913. [Google Scholar] [CrossRef]
- Omar, W.; Ulrich, J. Solid liquid equilibrium, metastable zone, and nucleation parameters of the oxalic acid-water system. Cryst. Growth. Des. 2006, 6, 1927–1930. [Google Scholar] [CrossRef]
- Nývlt, J.; Söhnel, O.; Matuchová, M.; Broul, M. The Kinetics of Industrial Crystallization; Elsevier: Amsterdam, The Netherlands, 1985. [Google Scholar]
- Mullin, J.W. Crystallization, 4th ed.; Butterworth-Heinemann: London, UK, 2001. [Google Scholar]






| No. | Liquid Phase, 100w | T/K | Equilibrium Solid Phase | |
|---|---|---|---|---|
| LiBO2 | NaCl | |||
| 1 | 4.88 | 0.00 | 303.15 | LiBO2·8H2O |
| 2 | 7.43 | 0.00 | 313.15 | LiBO2·2H2O |
| 3 | 7.93 | 0.00 | 323.15 | LiBO2·2H2O |
| 4 | 4.97 | 4.47 | 303.15 | LiBO2·8H2O |
| 5 | 7.59 | 4.47 | 313.15 | LiBO2·2H2O |
| 6 | 8.09 | 4.47 | 323.15 | LiBO2·2H2O |
| 7 | 4.66 | 10.31 | 303.15 | LiBO2·8H2O |
| 8 | 7.23 | 10.31 | 313.15 | LiBO2·2H2O |
| 9 | 7.46 | 10.31 | 323.15 | LiBO2·2H2O |
| 100w(LiBO2) | △Tmax/K | ||
|---|---|---|---|
| 100 r/min | 200 r/min | 400 r/min | |
| 4.88 | 12.92 | 11.11 | 11.86 |
| 7.43 | 19.00 | 17.24 | 17.68 |
| 7.93 | 28.13 | 26.70 | 25.81 |
| 100w(NaCl) | 100w(LiBO2) | △Tmax (K) | |||
|---|---|---|---|---|---|
| 6 K/h | 9 K/h | 12 K/h | 18 K/h | ||
| 0.00 | 4.88 | 9.13 | 10.82 | 11.11 | 13.24 |
| 7.43 | 14.99 | 16.44 | 17.24 | 19.16 | |
| 7.93 | 22.61 | 25.06 | 26.70 | 28.67 | |
| 4.47 | 4.97 | 14.77 | 16.27 | 16.98 | 19.10 |
| 7.59 | 20.69 | 22.16 | 24.29 | 24.85 | |
| 8.09 | 28.14 | 30.44 | 31.38 | 32.83 | |
| 10.31 | 4.66 | 20.00 | 21.45 | 22.52 | 25.09 |
| 7.23 | 26.76 | 27.87 | 29.55 | 31.34 | |
| 7.46 | 33.13 | 35.92 | 38.13 | 39.68 | |
| 100w(NaCl) | 100w(LiBO2) | Nucleation Equation | R2 | m |
|---|---|---|---|---|
| 0.00 | 7.93 | y = 1.1893 + 0.2164x | 0.9876 | 4.62 |
| 7.43 | y = 1.0043 + 0.2196x | 0.9915 | 4.55 | |
| 4.88 | y = 0.7129 + 0.3222x | 0.9469 | 3.10 | |
| 4.47 | 8.09 | y = 1.3460 + 0.1381x | 0.9614 | 7.24 |
| 7.59 | y = 1.1810 + 0.1765x | 0.9008 | 5.67 | |
| 4.97 | y = 0.9906 + 0.2285x | 0.9827 | 4.38 | |
| 10.31 | 7.46 | y = 1.3941 + 0.1670x | 0.9600 | 5.99 |
| 7.23 | y = 1.310 + 0.1476x | 0.9769 | 6.78 | |
| 4.66 | y = 1.1397 + 0.2040x | 0.9771 | 4.90 |
© 2019 by the authors. Licensee MDPI, Basel, Switzerland. This article is an open access article distributed under the terms and conditions of the Creative Commons Attribution (CC BY) license (http://creativecommons.org/licenses/by/4.0/).
Share and Cite
Li, D.; Ma, Y.; Meng, L.; Guo, Y.; Deng, T.; Yang, L. Effect of Impurity Ions on Solubility and Metastable Zone Width of Lithium Metaborate Salts. Crystals 2019, 9, 182. https://doi.org/10.3390/cryst9040182
Li D, Ma Y, Meng L, Guo Y, Deng T, Yang L. Effect of Impurity Ions on Solubility and Metastable Zone Width of Lithium Metaborate Salts. Crystals. 2019; 9(4):182. https://doi.org/10.3390/cryst9040182
Chicago/Turabian StyleLi, Dan, Yong Ma, Lingzong Meng, Yafei Guo, Tianlong Deng, and Lan Yang. 2019. "Effect of Impurity Ions on Solubility and Metastable Zone Width of Lithium Metaborate Salts" Crystals 9, no. 4: 182. https://doi.org/10.3390/cryst9040182
APA StyleLi, D., Ma, Y., Meng, L., Guo, Y., Deng, T., & Yang, L. (2019). Effect of Impurity Ions on Solubility and Metastable Zone Width of Lithium Metaborate Salts. Crystals, 9(4), 182. https://doi.org/10.3390/cryst9040182

