Abstract
A fine-grained Mg-2Y-0.6Nd-0.6Zr alloy was processed by bar-rolling and equal-channel angular pressing (ECAP). The effect of ECAP on the microstructure and mechanical properties of rolled Mg-2Y-0.6Nd-0.6Zr alloy was investigated by optical microscopy, scanning electron microscopy, electron backscattered diffraction and a room temperature tensile test. The results show that the Mg-2Y-0.6Nd-0.6Zr alloy obtained high strength and poor plasticity after rolling. As the number of ECAP passes increased, the grain size of the alloy gradually reduced and the texture of the basal plane gradually weakened. The ultimate tensile strength of the alloy first increased and then decreased, the yield strength gradually decreased, and the plasticity continuously increased. After four passes of ECAP, the average grain size decreased from 11.2 µm to 1.87 µm, and the alloy obtained excellent comprehensive mechanical properties. Its strength was slightly reduced compared to the as-rolled alloy, but the plasticity was greatly increased.
1. Introduction
As lightweight metallic materials used for engineering applications, magnesium alloys have the advantages of low density, high specific strength, high specific stiffness, good shielding and ease of recycling. They are widely used in numerous important areas, such as military, aerospace, transportation, and electronic communications [1,2,3]. Mg-Y-Nd-Zr (WE) alloys are commercial high-strength rare earth magnesium alloys developed in Britain in the 1980s. They have excellent creep resistance at high temperatures and are widely used as high-strength heat-resistant engineering materials [4]. However, their application potential is limited by their low number of slip systems and their poor plasticity at room temperature. In recent years, equal-channel angular pressing (ECAP) has been widely used as a method to effectively refine grains and improve the mechanical properties of magnesium alloys [5,6,7,8].
However, under conventional conditions, the ECAP of magnesium alloys can only be carried out at higher temperatures, which leads to grain growth during the pressing process and decreases the strengthening effect of ECAP. In this context, many scholars have begun to explore ways to reduce the pressing temperature, such as through the stepwise reduction of pressing temperature [9], the reduction of pressing speed [10], the application of back pressure [11,12], and a bread jacket outside the sample [13]. These methods all reduce the pressing temperature to a certain extent and the strengthening effect of ECAP is enhanced. However, with the development of society, the requirements for materials are ever increasing and the limited strengthening effect of ECAP limits its further expansion in industrial applications. Therefore, getting rid of the single ECAP strengthening mode, combining ECAP with other strengthening methods, breaking through the traditional ECAP strengthening limit and preparing fine-grained magnesium alloys with excellent performance have become hot issues in current ECAP research. At present, the most popular method is pre-deformation before ECAP. Pre-deformation can reduce the grain size, improve the as-casted microstructure, and enhance the plastic deformation ability of the alloy, thereby effectively reducing the ECAP temperature. In addition, pre-deformation can increase the strength of the alloy. This strengthening combined with ECAP strengthening can further improve the properties of the alloy. Miyahara et al. [14] first extruded an as-cast AZ61 magnesium alloy at 437 °C, and then conducted ECAP at 200 °C. After one pass of ECAP, a submicron microstructure was obtained and the average grain size after the fourth pass was ~0.62 µm. The elongation reached 1320% in the tensile test of strain rate of 3.3 × 10−4 s−1 at 200 °C. Krajňák et al. [15] first extruded an as-cast AX41 magnesium alloy at 350 °C and then ECAP was carried out at 220 °C and 250 °C. After eight passes of ECAP, both obtained good plasticity; however, after ECAP at 250 °C, the average grain size was larger than that after ECAP at 220 °C, the dislocation density was lower, and the texture was not conducive to the activation of the basal plane slip systems. These factors caused the yield strength after ECAP at 250 °C to be significantly lower than that after ECAP at 220 °C. Joungsik et al. [16] studied the ECAP of a AZ31 magnesium alloy sheet. They found that after the AZ31 magnesium alloy was plate-rolled, the base surface formed a typical rolling texture, i.e., the base surface was parallel to the rolling surface, resulting in the mechanical properties of sheet showing strong anisotropy. After ECAP along the route D at 225 °C, the severe shear deformation reduced the grain size of the alloy and developed basal texture with tilted basal planes towards the pressing direction. Ultimately, the anisotropy of the mechanical properties was reduced and the hardening behavior was enhanced.
Currently, the strengthening method of extrusion or plate-rolling combined with ECAP is relatively mature, but research on magnesium alloy bar-rolling combined with ECAP has rarely been reported. In this paper, an as-cast Mg-2Y-0.6Nd-0.6Zr alloy was studied. Bar-rolling was conducted first at 400 °C and then ECAP was carried out at 340 °C. The effect of ECAP on the microstructure and properties of the rolled Mg-2Y-0.6Nd-0.6Zr alloy was investigated by microstructure observation and a mechanical properties test. The aim of this study was to fill the gap of research on magnesium alloy bar-rolling combined with ECAP and provide a theoretical basis and technical support for improving the properties of magnesium alloys.
2. Materials and Methods
A Mg-2Y-0.6Nd-0.6Zr alloy was smelted in a well-type resistance furnace (Shiyan Electric Furnace Works, Shanghai, China) and 99.9% pure magnesium (Yinguang Huasheng Magnesium Company, Shanxi, China) along with Mg-25% Y, Mg-25% Nd, and Mg-30% Zr master alloys (Xinglin Nonferrous Metals Material Co., Ltd., Shanxi, China) were used to prepare it. A quartz crucible containing pure magnesium was placed in a well-type electric resistance furnace and RJ-5 solvent (Hengfeng Chemical Co., Ltd., Henan, China), which was composed of 56% anhydrous carnallite, 30% BaCl2 and 14% CaF2, was used as the covering agent and the refining agent. The furnace was heated to 720 °C with a heating rate of 10 °C/min. After the pure magnesium was completely melted, the Mg-Y, Mg-Nd and Mg-Zr master alloys were sequentially added to the crucible and the temperature of the furnace was raised to 780 °C. The solution was stirred when the master alloys were completely melted and then the power of the furnace was turned off so that the temperature of the solution dropped as the temperature of the furnace dropped. The crucible was taken out of the furnace while the solution was lowered to 720 °C and the solution was cast into a preheated cylindrical metal mold whose size was Φ30 mm × 200 mm and then water-cooled. The cast billets were homogenized at 450 °C for 6 hours and then air-cooled. The homogenized samples were rolled on a F50-150 bar-rolling machine (Hong Feng Ji Xie, Zhejiang, China) for seven passes at 400 °C with a total strain of 0.46. The samples with the dimensions of Φ12 mm × 80 mm were machined from the as-rolled bars, and then the samples were subjected to ECAP via a mold constructed in the laboratory. The mold structure is shown in Figure 1 and the angles of Φ and Ψ were 120° and 30°, respectively. The samples were pressed from one to six passes with a pressing velocity of 0.4 mm/s via route BC, i.e., the samples were rotated by 90° in the same direction between consecutive passes [17]. Prior to each pass, a layer of graphite and engine oil was applied to the inner wall of the mold and the surface of the sample as a lubricant and the samples were preheated together with the mold at 340 °C for 10 min. After each ECAP pass, the samples were quickly placed in water for cooling.
Figure 1.
The schematic diagram of equal-channel angular pressing (ECAP) die (ED: extrusion direction, ND: normal direction, TD: transverse direction).
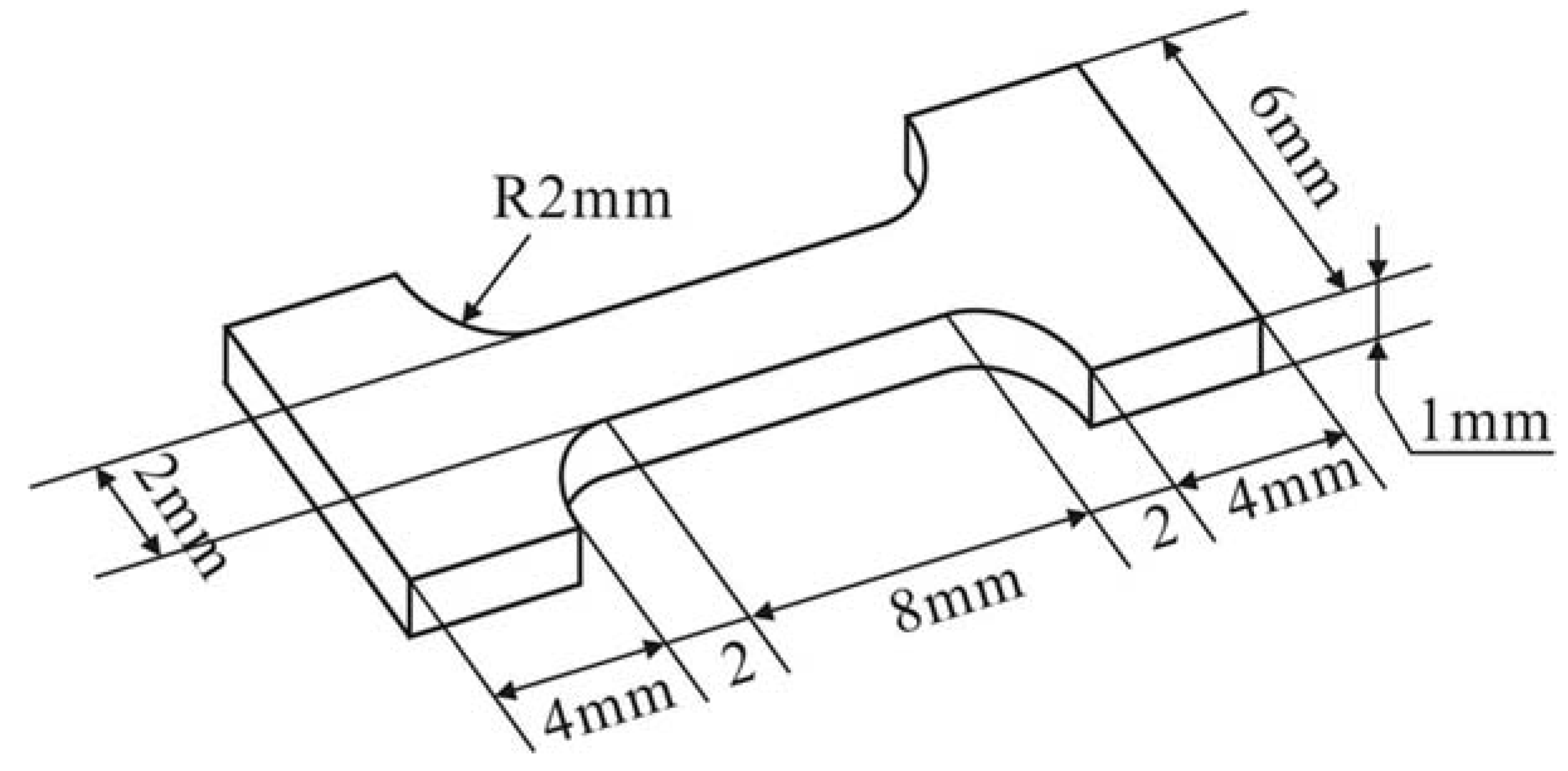
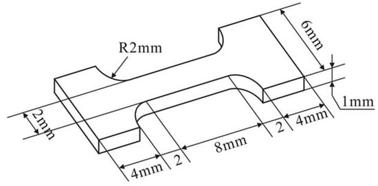
The microstructure of the samples was observed by a BH2 optical microscope (OM) (Olympus, Tokyo, Japan). Electron backscattered diffraction (EBSD) samples were prepared by a EM RES102 multi-function ion thinner (Leica, Wetzlar, Germany) and then observed the plane parallel to the extrusion direction (ED) or rolling direction (RD) on a S-3400N scanning electron microscope (Hitachi, Tokyo, Japan) and a NordlysMax3 electron backscatter diffractometer (Oxford, Abingdon, Britain) at an accelerating voltage of 20 kV and a step size of 0.2 µm. The EBSD data were analyzed by HKL Channel 5 software (Oxford, Abingdon, Britain) and the indexing rate reached 80%. The mechanical properties of the samples at room temperature were tested by an Instron 8501 universal tensile testing machine (Instron, Canton, USA). The dimensions of the tensile sample are shown in Figure 2, and were designed according to the standard of GB/T 228-2002, and the sampling direction was parallel to the ED. The tensile fracture morphology was analyzed on a SUPRA 40 scanning electron microscope (SEM) (Zeiss, Oberkochen, Germany).
Figure 2.
The dimensions of the tensile sample.
3. Results
3.1. Microstructure
Figure 3 and Figure 4 display the microstructure and grain orientation distribution, respectively, of the Mg-2Y-0.6Nd-0.6Zr alloy subjected to rolling and after different numbers of ECAP passes. The grain size statistics and their distribution are shown in Figure 5. It can be seen in Figure 3; Figure 4 that after rolling, the grain size is relatively large, with individual large grains exceeding 30 µm and the average grain size being ~11.2 µm. After one pass of ECAP, the grain size of the alloy was remarkably reduced, some of the grains were elongated, the grain size presented a bimodal distribution, and the average grain size was ~2.43 µm. The fourth pass of ECAP led to fine equiaxed grains and the size distribution was concentrated in the range of 0–3 µm; however, at the same time, grains as large as 10 µm were also present and the average grain size was ~1.87 µm. After six passes of ECAP, the average grain size showed an increasing trend, the size of the coarse grains decreased, the grain size distribution was more homogeneous than that after four passes, and the average grain size was ~2.00 µm.
Figure 3.
Microstructures of the Mg-2Y-0.6Nd-0.6Zr alloy. (a) as-rolled; (b) one pass; (c) four passes; (d) six passes.

Figure 4.
Grain orientation distribution of the Mg-2Y-0.6Nd-0.6Zr alloy. (a) as-rolled; (b) one pass; (c) four passes; (d) six passes.
Figure 5.
Grain size distribution of the Mg-2Y-0.6Nd-0.6Zr alloy. (a) as-rolled; (b) one pass; (c) four passes; (d) six passes.
3.2. Texture
Figure 6 presents the pole figure of the Mg-2Y-0.6Nd-0.6Zr alloy subjected to rolling and a different number of ECAP passes. The as-rolled alloy has a strong (0001) texture with the strongest pole density of 12.30, and the basal plane of most grains is nearly parallel to the rolling direction, as shown in Figure 6a. The pole figure of the alloy after different numbers of ECAP passes (Figure 6b–d), which indicates that the texture in the basal plane was rotated and the strength was continuously weakened with an increasing number of ECAP passes. After one pass of ECAP, the basal plane texture became dispersed, the basal plane of some grains was parallel to the extrusion direction, and the strongest pole density was decreased to 11.34. After four ECAP passes, the basal plane texture was rotated because the specimen rotated 90° along the same direction after each extrusion, the basal plane was ~30° from the extrusion direction, and the strongest pole density further decreased to 7.61. After six ECAP passes, the basal plane formed a typical inclined texture whose basal plane was parallel to the shear plane and was ~45° to the extrusion direction. The strongest pole density was 6.93, which is slightly lower than after four passes.
Figure 6.
The pole diagram of the Mg-2Y-0.6Nd-0.6Zr alloy. (a) as-rolled; (b) one pass; (c) four passes; (d) six passes.
3.3. Mechanical Properties at Room Temperature
The samples after rolling and a different number of ECAP passes were subjected to a tensile test at room temperature. It can be seen in Figure 7 and Table 1 that the as-rolled alloy had the highest ultimate tensile strength and yield strength with values of 246 MPa and 216 MPa, respectively. However, the plasticity of the as-rolled alloy was extremely poor, and elongation was only 3.8%. With an increasing number of ECAP passes, the ultimate tensile strength first increased and then decreased, while the yield strength continuously decreased and the elongation continuously increased. After the first pass of ECAP, the ultimate tensile strength and yield strength were significantly reduced to 213 MPa and 182 MPa, respectively, but the plasticity was improved and the elongation increased to 12.3%. After four passes of ECAP, the ultimate tensile strength was greatly improved compared with the first pass of ECAP, and the yield strength did not change appreciably. The ultimate tensile strength and yield strength were 238 MPa and 180 MPa, respectively, and the elongation increased further to 19.7%. After six passes of ECAP, the alloy had the lowest ultimate tensile strength and yield strength with values of 209 MPa and 148 MPa, respectively, but the elongation reached 27.5%.
Figure 7.
The tensile stress–strain curves of the Mg-2Y-0.6Nd-0.6Zr alloy.
Table 1.
The mechanical properties of the Mg-2Y-0.6Nd-0.6Zr alloy.
Figure 8 presents the tensile fracture morphology of the Mg-2Y-0.6Nd-0.6Zr alloy subjected to rolling and a different number of ECAP passes. The fracture of the as-rolled alloy (Figure 8a), is relatively flat and bright, which is a typical brittle fracture, indicating that the plasticity of the as-rolled alloy is poor. It can be seen in Figure 8b that after four passes of ECAP, a large number of dimples appeared on the fracture surface of the alloy, which indicates a typical ductile fracture, meaning that the plasticity of the alloy after ECAP was greatly improved compared with that of the as-rolled alloy. After six passes of ECAP, the dimples on the fracture surface were more uniform and deeper than those in the fourth pass, as shown in Figure 8c. This indicates that the plasticity of the alloy after six passes of ECAP is further increased compared with that after four passes of ECAP, which is consistent with the room temperature tensile test results.
Figure 8.
The tensile fracture morphology of the Mg-2Y-0.6Nd-0.6Zr alloy. (a) as-rolled; (b) four passes; (c) six passes.
4. Discussion
ECAP can effectively reduce the grain size of an alloy and its refining effect mainly depends on the processing temperature and total strain [18,19]. Magnesium alloys are refined by mechanical shear and dynamic recrystallization during ECAP [20]. The grains are twisted, sheared and broken when the magnesium alloy experiences shearing deformation in the mold so that the original coarse grains are divided into a plurality of fine grains; on the other hand, shear deformation can produce many dislocation tangles and shear bands which could provide nucleation sites and a driving force for dynamic recrystallization, which further reduces the grain size. It is well known that five independent slip systems are necessary for plastic deformation of polycrystalline materials. There are only two independent slip systems in the basal slip systems of magnesium alloys [21] and the non-basal slip systems of magnesium alloys are difficult to activate at low temperatures because the critical resolved shear stress (CRSS) of non-basal slip systems is much larger than that of basal slip systems [22]. Twinning is an important mechanism for low temperature plastic deformation of magnesium alloys because it can change crystal orientation and release the stress concentration caused by dislocation plugging. At high temperatures, the CRSS of the non-basal slip systems of magnesium alloys is greatly reduced and becomes easy to activate [23]. At that point, The plastic deformation of magnesium alloys does not depend on twinning but mainly depends on dislocation slipping [24]. In this study, both the rolling process and ECAP were carried out at relatively high temperatures, so twins would not be generated in the deformed microstructure, which is consistent with the results in Figure 3 and Figure 4. In addition to the deformation temperature, the deformation mechanism of magnesium alloys is closely related to the grain size. The deformation mechanism of coarse grains is a typical slipping and twinning mechanism, while in the case of fine grains, in addition to slipping and twinning, grains can also coordinate deformation through grain boundary sliding and rotation [25]. These mechanisms work together to improve the deformation capacity of the alloys. When the Mg-2Y-0.6Nd-0.6Zr alloy was rolled at 400 °C, the grain size of the alloy was relatively large, the main deformation mechanism of the alloy was dislocation slipping, and the non-basal slip played an important role in order to satisfy the conditions of the five independent slip systems. The seven-pass rolling treatment caused the dislocation to proliferate in the grains, forming a large number of dislocation tangles and storing a lot of energy. In the subsequent ECAP process, these dislocation tangles and the stored energy can provide favorable conditions for dynamic recrystallization. With an increasing number of ECAP passes, the grain size is continuously reduced under the combined action of mechanical shearing and dynamic recrystallization, the deformation mechanism of the alloy is transformed from solely dislocation slipping to a combination of dislocation slipping and grain boundary sliding and rotation, and the plastic deformation capacity of the alloy is continuously enhanced. After four passes of ECAP, the dynamic recrystallization of the alloy was almost complete, the effect of mechanical shearing and dynamic recrystallization was greatly weakened, and the grain size would have increased if the extrusion passes has been further increased. Feng et al. [26,27] also found in the ECAP studies of an AZ31 magnesium alloy and Al-Mg-Si alloy that the grain size has a tendency to grow after the ECAP reaches a certain number of passes.
It can be seen in Table 1 that the as-rolled alloy kept the highest strength and the worst plasticity. This is because the as-rolled alloy accumulated a large amount of strain after seven passes of rolling, which led to the increase in dislocation density and the increase in the plastic deformation resistance of the alloy. In addition, water-cooling produces greater internal stress in the alloy after rolling, which accelerates the crack extension rate. Finally, the as-rolled alloy obtained a high strength and a poor plasticity due to work-hardening. After one pass of ECAP, the average grain size of the alloy decreased from ~11.2 µm to ~2.43 µm. It is well known that the finer the grain size, the better the strength and plasticity of the alloy, but the strength of the alloy decreased after one pass of ECAP. This is due to the fact that the dislocations were annihilated during the process of thermal insulation and subsequent ECAP so that the work-hardening effect was substantially weakened compared with the as-rolled alloy. Finally, the strength of the alloy decreased and the plasticity increased after one pass of ECAP.
With an increasing number of ECAP passes, the grain size of the alloy was gradually reduced, and the elongation increased, but the yield strength gradually decreased. In particular, after the sixth pass of ECAP, the yield strength decreased from a value of 180 MPa for the fourth pass to 148 MPa, which is contrary to the traditional Hall–Petch relationship. Kim et al. [28] concluded that the mechanical properties of magnesium alloys are closely related to texture and grain size after ECAP. When the base plane is 45° from the extrusion direction, the Schmid factor (SF) tends to be 0.5, the alloy is in a soft orientation, and the yield strength decreases. When the base plane is parallel or perpendicular to the extrusion direction, the SF tends to be 0, the alloy is in a hard orientation, and the yield strength increases. Figure 9 presents the SF distribution of the Mg-2Y-0.6Nd-0.6Zr alloy after different number of ECAP passes. Figure 9a shows that the SF of the as-rolled alloy is low with an average value of 0.282. After one pass of ECAP, because the basal plane of some grains was parallel to the extrusion direction (Figure 6a), the ratio of SF approaching 0 was higher, but the average value, 0.285, was close to that of the as-rolled. At that time, the alloy was in a hard orientation so the yield strength was improved. After four passes of ECAP, the average grain size of the alloy decreased from ~2.43 µm to ~1.87 µm, while the strength and plasticity of the alloy increased. However, the average value of the SF increased from 0.285 to 0.317; the softening effect of texture is equivalent to the strengthening effect of grain refinement, so the yield strength did not change significantly. After six passes of ECAP, the alloy formed a typical inclined texture whose basal plane was parallel to the shear plane and was ~45° to the extrusion direction. Here, the ratio of SF factor approaching 0.5 was higher, with an average value of 0.354, and the alloy was in a soft orientation. Moreover, the grain size of the alloy after six passes of ECAP was slightly larger than that after four passes of ECAP, so the yield strength was greatly reduced compared with the fourth pass of ECAP. However, due to the uniform distribution of the grain size, the deformation compatibility of the alloy increased. Therefore, the plasticity of the alloy after six ECAP passes was higher than that after the fourth ECAP pass and the elongation reached 27.5%. Muralidhar et al. [29,30] also obtained similar conclusions in their ECAP studies of AZ31 and AZ80 magnesium alloys.
Figure 9.
The Schmid factor distribution of the Mg-2Y-0.6Nd-0.6Zr alloy. (a) as-rolled; (b) one pass; (c) four passes; (d) six passes.
5. Conclusions
In this paper, the ECAP of a rolled Mg-2Y-0.6Nd-0.6Zr alloy was successfully processed at 340 °C. The microstructure and mechanical properties of the Mg-2Y-0.6Nd-0.6Zr alloy before and after ECAP were investigated. The following are the main conclusions:
(1) After the Mg-2Y-0.6Nd-0.6Zr alloy was rolled for seven passes at 400 °C, a high strength was obtained due to work-hardening. The ultimate tensile strength and yield strength were 216 MPa and 246 MPa, respectively, but the plasticity was extremely poor and the elongation was only 3.8%.
(2) ECAP of the Mg-2Y-0.6Nd-0.6Zr alloy was carried out at 340 °C. With an increasing number of ECAP passes, the grain size of the alloy gradually decreased under the combined action of mechanical shearing and dynamic recrystallization. After four passes of ECAP, the average grain size of the alloy decreased from 11.2 µm to 1.87 µm and the grain size no longer decreased as the number of ECAP passes increased.
(3) With an increasing number of ECAP passes, the plasticity of the Mg-2Y-0.6Nd-0.6Zr alloy increased continuously and the yield strength and tensile strength first increased and then decreased due to a combination of the fine-grain strengthening and texture softening. After four passes of ECAP, good comprehensive mechanical properties were obtained and the strength was slightly decreased compared with the as-rolled alloy, but the plasticity was greatly increased.
Author Contributions
W.L. and L.T. designed the experiment; Y.T. and Z.Z. conducted the experiment; testing, W.H.; X.S., collected data, analyzed and wrote the paper; checking and modifying, W.L.
Acknowledgments
This research was funded by the National Natural Science Foundation of China (51661007), China Postdoctoral Science Foundation (2018M633416), Guizhou Science and Technology Fund (qian ke heJ [2017] 1022), Guizhou Science and Technology Platform Project (qian ke he talent platform [2019]5053).
Conflicts of Interest
The authors declare no conflict of interest.
References
- Aghion, E.; Bronfin, B.; Eliezer, D. The role of the magnesium industry in protecting the environment. J. Mater. Proc. Technol. 2001, 117, 381–385. [Google Scholar] [CrossRef]
- Mordike, B.L.; Ebert, T. Magnesium: Properties—applications—potential. Mater. Sci. Eng. A 2001, 302, 37–45. [Google Scholar] [CrossRef]
- Luo, A.A.; Mishra, R.K.; Powell, B.R.; Sachdev, A.K. Magnesium Alloy Development for Automotive Applications. Mater. Sci. Forum 2012, 706, 69–82. [Google Scholar] [CrossRef]
- Wang, X.; Liu, C.; Xu, L.; Xiao, H.; Zheng, L. Microstructure and mechanical properties of the hot-rolled Mg–Y–Nd–Zr alloy. J. Mater. Res. 2013, 28, 1386–1393. [Google Scholar] [CrossRef]
- Yamashita, A.; Horita, Z.; Langdon, T.G. Improving the mechanical properties of magnesium and a magnesium alloy through severe plastic deformation. Mater. Sci. Eng. A 2001, 300, 142–147. [Google Scholar] [CrossRef]
- Chen, B.; Lin, D.L.; Jin, L.; Zeng, X.Q.; Lu, C. Equal-channel angular pressing of magnesium alloy AZ91 and its effects on microstructure and mechanical properties. Mater. Sci. Eng. A 2008, 483, 113–116. [Google Scholar] [CrossRef]
- Ma, A.; Jiang, J.; Saito, N.; Shigematsu, I.; Yuan, Y.; Yang, D.; Nishida, Y. Improving both strength and ductility of a Mg alloy through a large number of ECAP passes. Mater. Sci. Eng. A 2009, 513, 122–127. [Google Scholar] [CrossRef]
- Figueiredo, R.B.; Langdon, T.G. Grain refinement and mechanical behavior of a magnesium alloy processed by ECAP. J. Mater. Sci. 2010, 45, 4827–4836. [Google Scholar] [CrossRef]
- Biswas, S.; Dhinwal, S.S.; Suwas, S. Room-temperature equal channel angular extrusion of pure magnesium. Acta Mater. 2010, 58, 3247–3261. [Google Scholar] [CrossRef]
- Ding, S.X.; Lee, W.T.; Chang, C.P.; Chang, L.W.; Kao, P.W. Improvement of strength of magnesium alloy processed by equal channel angular extrusion. Scr. Mater. 2008, 59, 1006–1009. [Google Scholar] [CrossRef]
- Xu, C.; Xia, K.; Langdon, T.G. Processing of a magnesium alloy by equal-channel angular pressing using a back-pressure. Mater. Sci. Eng. A 2009, 527, 205–211. [Google Scholar] [CrossRef]
- Zhang, N.X.; Ding, H.; Li, J.Z.; Wu, X.L.; Li, Y.L.; Xia, K. Microstructure and Mechanical Properties of Ultra-Fine Grain AZ80 Alloy Processed by Back Pressure Equal Channel Angular Pressing. Mater. Sci. Forum 2011, 667, 547–552. [Google Scholar] [CrossRef]
- Lei, W.; Wei, L.; Wang, H.; Sun, Y. Effect of annealing on the texture and mechanical properties of pure Mg by ECAP at room temperature. Vacuum 2017, 144, 281–285. [Google Scholar] [CrossRef]
- Miyahara, Y.; Horita, Z.; Langdon, T.G. Exceptional superplasticity in an AZ61 magnesium alloy processed by extrusion and ECAP. Mater. Sci. Eng. A 2006, 420, 240–244. [Google Scholar] [CrossRef]
- Krajňák, T.; Minárik, P.; Stráská, J.; Gubicza, J.; Máthis, K.; Janeček, M. Influence of equal channel angular pressing temperature on texture, microstructure and mechanical properties of extruded AX41 magnesium. J. Alloys Compd. 2017, 705, 273–282. [Google Scholar] [CrossRef]
- Suh, J.; Victoria-Hernández, J.; Letzig, D.; Golle, R.; Volk, W. Enhanced mechanical behavior and reduced mechanical anisotropy of AZ31 Mg alloy sheet processed by ECAP. Mater. Sci. Eng. A 2016, 650, 523–529. [Google Scholar] [CrossRef]
- Furukawa, M.; Iwahashi, Y.; Horita, Z.; Nemoto, M.; Langdon, T.G. The shearing characteristics associated with equal-channel angular pressing. Mater. Sci. Eng. A 1998, 257, 328–332. [Google Scholar] [CrossRef]
- Akihiro, Y.; Daisuke, Y.; Zenji, H.; Terence, G. Langdon Influence of pressing temperature on microstructural development in equal-channel angular pressing. Mater. Sci. Eng. A 2000, 287, 100–106. [Google Scholar]
- Ramin, J.; Mohammad, S.; Hamid, J. ECAP effect on the micro-structure and mechanical properties of AM30 magnesium alloy. Mater. Sci. Eng. A 2014, 593, 178–184. [Google Scholar]
- Su, C.W.; Lu, L.; Lai, M.O. A model for the grain refinement mechanism in equal channel angular pressing of Mg alloy from microstructural studies. Mater. Sci. Eng. A 2006, 434, 227–236. [Google Scholar] [CrossRef]
- Yoo, M.H. Slip, Twinning, and Fracture in Hexagonal Close-Packed Metals. Metall. Trans. A 1981, 12, 409–418. [Google Scholar] [CrossRef]
- Koike, J. Enhanced deformation mechanisms by anisotropic plasticity in polycrystalline Mg alloys at room temperature. Metall. Mater. Trans. A 2005, 36, 1689–1696. [Google Scholar] [CrossRef]
- Xin, R.L.; Wang, B.S.; Zhou, Z.; Huang, G.J.; Liu, Q. Effects of strain rate and temperature on microstructure and texture for AZ31 during uniaxial compression. Trans. Nonferrous Met. Soc. China 2010, 20, s594–s598. [Google Scholar] [CrossRef]
- Chino, Y.; Kimura, K.; Mabuchi, M. Twinning behavior and deformation mechanisms of extruded AZ31 Mg alloy. Mater. Sci. Eng. A 2008, 486, 481–488. [Google Scholar] [CrossRef]
- Partridge, P.G. The crystallography and deformation modes of hexagonal close-packed metals. Metall. Rev. 1967, 12, 169–194. [Google Scholar]
- Feng, X.M.; Tao-Tao, A.I. Microstructure evolution and mechanical behavior of AZ31 Mg alloy processed by equal-channel angular pressing. Trans. Nonferrous Met. Soc. China 2009, 19, 293–298. [Google Scholar] [CrossRef]
- Khelfa, T.; Rekik, M.A.; Khitouni, M.; Cabrera-Marrero, J.M. Structure and microstructure evolution of Al–Mg–Si alloy processed by equal-channel angular pressing. Int. J. Adv. Manuf. Technol. 2017, 92, 1731–1740. [Google Scholar] [CrossRef][Green Version]
- Kim, W.J.; Hong, S.I.; Kim, Y.S.; Min, S.H.; Jeong, H.T.; Lee, J.D. Texture development and its effect on mechanical properties of an AZ61 Mg alloy fabricated by equal channel angular pressing. Acta Mater. 2003, 51, 3293–3307. [Google Scholar] [CrossRef]
- Muralidhar, A.; Narendranath, S.; Nayaka, H.S. Effect of equal channel angular pressing on AZ31 wrought magnesium alloys. J. Magnes. Alloys 2013, 1, 336–340. [Google Scholar] [CrossRef]
- Wang, L.; Mostaed, E.; Cao, X.; Huang, G.; Fabrizi, A.; Bonollo, F.; Chi, C.; Vedani, M. Effects of texture and grain size on mechanical properties of AZ80 magnesium alloys at lower temperatures. Mater. Des. 2016, 89, 1–8. [Google Scholar] [CrossRef]
© 2019 by the authors. Licensee MDPI, Basel, Switzerland. This article is an open access article distributed under the terms and conditions of the Creative Commons Attribution (CC BY) license (http://creativecommons.org/licenses/by/4.0/).









