Optimization of the Process Parameters for Non-Penetration Laser Lap Welding of SUS301L Stainless Steel
Abstract
1. Introduction
2. Material and Methods
2.1. Experimental Materials
2.2. Welding Equipment
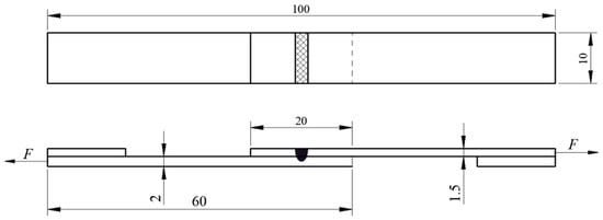
2.3. Welding Method
2.4. Determination of Welding Parameters
2.5. Three-Level Regression Analysis Test of Welding Parameters
2.6. Mechanical Properties Test
2.7. Microstructure Characterization
3. Test Optimization and Result Analysis
3.1. Test Arrangement and Results of Three-Level Regression Analysis
3.2. Choice of Response Model
3.3. Experiment Optimization and Results of Three-Level Regression Analysis
3.4. Verification Test Welding Parameters and Result Analysis
3.5. Interaction of Three Welding Parameters Under the Response Surface Methodology
3.6. Optimization and Prediction Results
3.7. Tensile Shear Load, Macrostructure and Microstructure of the Weld Joints with the Optimized Parameters
3.8. The Distribution of Deformation and Residual Stress After Welding
4. Results
- The RSM not only reduces the number of experiments in the exploration process, but can also carry out mathematical analysis and simulation of the required welding results and accurately obtain the predicted results. The error comparison with the actual welding test further illustrates the reliability of the test results. The shear strength of the laser-welded joint is 429.3 N/mm2, which exceeds the tensile shear strength required by the GB/T37778 standard, and meets the appearance requirements of the lower plate surface without observed weld marks, which improves the welding quality and simplifies the post-welding treatment process.
- Under the calculation of the RSM, the optimal response model of the tensile shear load is a linear model, and the optimal response model of weld penetration is the 2FI model. The error range of the verification test is 6.5%, indicating that the mathematical model has high reliability. The defocusing amount has a crucial influence on the tensile strength and weld penetration of the welded joint. The optimized process parameters are a laser power of 1.44 kW, welding speed of 15 mm/s, and defocusing amount of −4 mm. The penetration depth of the welded joint is 2.2 mm. The tensile fracture shows a brittle fracture mode. The crystal structure of the weld zone is mainly BCC ferrite. The correlation between the BCC crystal structure and brittle fracture further confirms that the weld zone is dominated by ferrite.
- The macroscopic surface of the weld joints exhibited a well-formed structure devoid of defects. Ferrite was formed by the FA mode of solidification. Plate-like ferrite is concentrated in the weld beam. The local orientation differences between the two phases are small-angle grain boundaries. Near the HAZ, plate-like block ferrite and network ferrite are present. Ferrite typically nucleates along the original austenite grain in the HAZ, resulting in an orientation difference due to the presence of ferrite.
- Following welding under optimal parameters, measurements indicate that the overall distance from the weld zone correlates positively with the extent of welding deformation. Thus, the welding deformation caused by non-penetration lap welding is characterized as angular deformation. The distribution of transverse residual stress across the weld cross-section and the base metal is non-uniform, necessitating balance throughout the plate’s interior. In contrast, the distribution of longitudinal residual stress exhibits greater uniformity, resulting in overall angular deformation following the welding process. The residual stress exhibits tensile characteristics near the weld and compressive characteristics further from the weld.
Author Contributions
Funding
Data Availability Statement
Conflicts of Interest
References
- Kumar, N.; Mukherjee, M.; Bandyopadhyay, A. Comparative study of pulsed Nd: YAG laser welding of AISI 304 and AISI 316 stainless steels. Opt. Laser Technol. 2017, 88, 24–39. [Google Scholar] [CrossRef]
- Romero-Resendiz, L.; El-Tahawy, M.; Zhang, T.; Rossi, M.C.; Marulanda-Cardona, D.M.; Yang, T.; Amigó-Borrás, V.; Huang, Y.; Mirzadeh, H.; Beyerlein, I.J.; et al. Heterostructured stainless steel: Properties, current trends, and future perspectives. Mater. Sci. Eng. R Rep. 2022, 150, 100691. [Google Scholar] [CrossRef]
- Morshed-Behbahani, K.; Zakerin, N. A review on the role of surface nano crystallization in corrosion of stainless steel. J. Mater. Res. Technol. 2022, 19, 1120–1147. [Google Scholar] [CrossRef]
- Liu, Z.; Jin, X.; Zhang, J.; Hao, Z.; Li, J. Microstructure evolution and mechanical properties of SUS301L stainless steel sheet welded joint in ultrasonic vibration assisted laser welding. Opt. Laser Technol. 2022, 153, 108193. [Google Scholar] [CrossRef]
- Cui, C.; Cui, X.; Ren, X.; Liu, T.; Hu, J.; Wang, Y. Microstructure and microhardness of fiber laser butt welded joint of stainless steel plates. Mater. Des. 2013, 49, 761–765. [Google Scholar] [CrossRef]
- Ghorbani, S.; Ghasemi, R.; Ebrahimi-Kahrizsangi, R.; HojjatiNajafabadi, A. Effect of post weld heat treatment (PWHT) on the microstructure, mechanical properties and corrosion resistance of dissimilar stainless steels. Mater. Sci. Eng. A 2017, 688, 470–479. [Google Scholar] [CrossRef]
- Gu, X.; Zhu, K.; Wu, S.; Duan, Z.; Zhu, L. Effect of welding parameters on weld formation quality and tensile-shear property of laser welded SUS301L stainless steel lap filet weld. J. Mater. Res. Technol. 2020, 9, 4840–4854. [Google Scholar] [CrossRef]
- Günther, J.; Prowaznik, R.; Krug, D.; Jahn, S.; Niendorf, T.; Wegener, T. Microstructure and mechanical properties of hand-held laser beam welded S700MC high-strength steel. J. Adv. Join. Process. 2025, 12, 100359. [Google Scholar] [CrossRef]
- Gnanasekaran, S.; Kumar, S.S.; Venugopal, N.; Upadhyaya, M.; Manjunath, T.; Chelladurai, S.J.S.; Padmanaban, G. Effect of laser power on microstructure and tensile properties of pulsed Nd: YAG laser beam welded AISI 301 austenitic stainless steel joints. Mater. Today Proc. 2021, 37, 934–939. [Google Scholar] [CrossRef]
- Palanisamy, S.; Rajendran, R.; Shashi Kumar, S. Effect of incident angle on weld microstructure and mechanical properties of laser beam welded nitronic−50 austenitic stainless steel joints. Micron 2023, 169, 103457. [Google Scholar] [CrossRef]
- Kovács, Z.; Molnár, C.; Štangar, U.L.; Cristea, V.-M.; Pap, Z.; Hernadi, K.; Baia, L. Optimization Method of the Solvothermal Parameters Using Box–Behnken Experimental Design—The Case Study of ZnO Structural and Catalytic Tailoring. Nanomaterials 2021, 11, 1334. [Google Scholar] [CrossRef]
- Celik, I.; Şensoy, A.T.; Seven, G.; Cicek, D. Improving Deep Drawing Quality of DD13 Sheet Metal: Optimization of Process Parameters Using Box–Behnken Design. Materials 2025, 18, 1424. [Google Scholar] [CrossRef] [PubMed]
- Qi, S.; Wang, C.; Liu, Y.; Liu, A.; Bai, Z.; Peng, Z.; Liang, Z.; Narayanaswamy, B.; Wang, L.; Wang, D. Process parameter optimization of laser welding for dissimilar aluminum alloys 4047 and 6061 using response surface methodology: Microstructure and mechanical properties. Opt. Laser Technol. 2025, 190, 113198. [Google Scholar] [CrossRef]
- Liu, G.; Gao, X.; Peng, C.; Huang, Y.; Fang, H.; Zhang, Y.; You, D.; Nanfeng, Z. Optimization of laser welding of DP780 to Al5052 joints for weld width and lap-shear force using response surface methodology. Opt. Laser Technol. 2020, 126, 106072. [Google Scholar] [CrossRef]
- Ragavendran, M.; Chandrasekhar, N.; Ravikumar, R.; Saxena, R.; Vasudevan, M.; Bhaduri, A. Optimization of hybrid laser–TIG welding of 316LN steel using response surface methodology (RSM). Opt. Lasers Eng. 2017, 94, 27–36. [Google Scholar] [CrossRef]
- Altay, M.; Aydin, H. Parameter optimization, microstructural and mechanical properties of fiber laser lap welds of DP1200 steel sheets. Measurement 2024, 235, 114822. [Google Scholar] [CrossRef]
- Mosavi, A.; Soleimani, A.; Karimi, A.; Akbaki, M.; Karimipour, A.; Karimipour, A. Investigating the effect of process parameters on the mechanical properties and temperature distribution in fiber laser welding of AISI304 and AISI 420 sheet using response surface methodology. Infrared Phys. Technol. 2020, 111, 103478. [Google Scholar] [CrossRef]
- Chimklin, K.; Phuangkaew, S.; Deeying, J. Multi-objective optimization of laser spot welding parameters for enhancing mechanical properties of hard disk components using response surface methodology. Results Eng. 2025, 25, 104449. [Google Scholar] [CrossRef]
- GB/T37778-2019; Stainless Steel Laser Welding Recommended Process Specification. Standardization Administration of the People’s Republic of China: Beijing, China, 2019.
- Lippold, J.C.; Kotecki, D.J. Welding Metallurgy and Weldability of Stainless Steels; China Machine Press: Ningbo, China, 2016; pp. 129–158. ISBN 978-1-1182-3070-1. [Google Scholar]
- Bonetti, R.; Neate, N.C.; Morris, A.; Shipway, P.H.; Sun, W. Microstructure evolution and deformation mechanisms of service-exposed P91 steel via interrupted uniaxial creep tests at 660 °C. J. Mater. Res. Technol. 2024, 33, 3529–3549. [Google Scholar] [CrossRef]
- Wang, P.; Siddiqui, M.F.; Poletti, M.C.; Enzinger, N. Phase transformation and recrystallization of cold-rolled AISI 304L austenitic stainless steel during annealing. Mater. Des. 2025, 252, 113738. [Google Scholar] [CrossRef]
- Abe, H.; Watanabe, Y. Role of δ-ferrite in stress corrosion cracking retardation near fusion boundary of 316NG welds. J. Nucl. Mater. 2012, 424, 57–61. [Google Scholar] [CrossRef]
- Zhang, Y.; Guo, J.; Li, Y.; Luo, Z.; Zhang, X. A comparative study between the mechanical and microstructural properties of resistance spot welding joints among ferritic AISI 430 and austenitic AISI 304 stainless steel. J. Mater. Res. Technol. 2020, 9, 574–583. [Google Scholar] [CrossRef]
- Monin, V.I.; Lopes, R.T.; Turibus, S.N.; Filho, J.C.P.; de Assis, J.T. X-Ray Diffraction Technique Applied to Study of Residual Stresses after Welding of Duplex Stainless Steel Plates. Mater. Res. 2014, 17, 64–69. [Google Scholar] [CrossRef]





















| C | Si | Mn | P | S | Ni | Cr | N | Fe |
|---|---|---|---|---|---|---|---|---|
| ≤0.15 | ≤1.0 | ≤2.00 | ≤0.045 | ≤0.03 | 6.00~8.00 | 16.00~18.00 | ≤0.10 | Ral |
| Strength/MPa | Yield Strength/MPa | Elongation After Fracture (%) | Contraction of Cross-sectional Area (%) |
|---|---|---|---|
| 520 | 205 | 40 | 60 |
| Test Condition | Level Number | ||
|---|---|---|---|
| −1 | 0 | +1 | |
| Laser power P/kW | 1.2 | 1.4 | 1.6 |
| Welding speed v/(mm·s−1) | 15 | 25 | 35 |
| Defocusing amount f/mm | −4 | −6 | −8 |
| Test Code | Test Sequence | Laser Power P/kW | Welding Speed v/(mm·s−1) | Defocusing Amount f/mm | Tensile Shear Load F/N | Weld Penetration d/mm |
|---|---|---|---|---|---|---|
| 8 | 1 | 1.6 | 25 | −4 | 3408.07 | 2.49 |
| 1 | 2 | 1.2 | 15 | −6 | 2241.4 | 1.7 |
| 9 | 3 | 1.4 | 15 | −8 | 92 | 1.54 |
| 10 | 4 | 1.4 | 35 | −8 | 73.2 | 1.53 |
| 12 | 5 | 1.4 | 35 | −4 | 2079.7 | 1.98 |
| 4 | 6 | 1.6 | 35 | −6 | 2315.2 | 1.76 |
| 15 | 7 | 1.4 | 25 | −6 | 2293.8 | 1.74 |
| 6 | 8 | 1.6 | 25 | −8 | 121 | 1.58 |
| 11 | 9 | 1.4 | 15 | −4 | 4427.7 | 2.11 |
| 2 | 10 | 1.8 | 15 | −6 | 4442.9 | 2.01 |
| 5 | 11 | 1.2 | 25 | −8 | 70.2 | 1.58 |
| 14 | 12 | 1.4 | 25 | −6 | 2298.6 | 1.74 |
| 3 | 13 | 1.2 | 35 | −6 | 119.8 | 1.58 |
| 7 | 14 | 1.2 | 25 | −4 | 2022 | 1.71 |
| 13 | 15 | 1.4 | 25 | −6 | 2301.2 | 1.71 |
| Source | Sequential p | R2 Adjusted | R2 Predicted | Results |
|---|---|---|---|---|
| Linear | 0.0002 | 0.7735 | 0.6344 | Suggested |
| 2FI | 0.3841 | 0.7864 | 0.4156 | |
| Quadratic | 0.2143 | 0.8531 | 0.1608 | |
| Cubic | 0 | 0 | Aliased |
| Source | Sequential p | R2 Adjusted | R2 Predicted | Results |
|---|---|---|---|---|
| Linear | 0.0002 | 0.7663 | 0.6151 | |
| 2FI | 0.0055 | 0.9284 | 0.8173 | Suggested |
| Quadratic | 0.03561 | 0.9369 | 0.6477 | |
| Cubic | 0.0401 | 0.9958 | Aliased |
| Source | Sum of Squares | df | Mean Squares | F-Value | p-Value |
|---|---|---|---|---|---|
| Model | 2.649 × 107 | 3 | 8.830 × 106 | 16.93 | 0.0002 |
| A-Laser power | 4.254 × 106 | 1 | 4.254 × 106 | 8.16 | 0.0156 |
| B-Welding speed | 5.472 × 106 | 1 | 5.472 × 106 | 10.49 | 0.0079 |
| C-Defocusing amount | 1.677 × 107 | 1 | 1.677 × 107 | 32.15 | 0.0001 |
| Residual | 5.736 × 106 | 11 | 5.214 × 105 |
| Source | Sum of Squares | df | Mean Squares | F-Value | p-Value |
|---|---|---|---|---|---|
| Model | 0.95 | 7 | 0.14 | 25.79 | 0.0002 |
| A-Laser power | 0.21 | 1 | 0.21 | 41.32 | 0.0004 |
| B-Welding speed | 0.034 | 1 | 0.034 | 6.17 | 0.0413 |
| C-Defocusing amount | 0.56 | 1 | 0.56 | 105.58 | <0.0001 |
| AB | 4.225 × 10−3 | 1 | 4.225 × 10−3 | 0.80 | 0.3738 |
| AC | 0.13 | 1 | 0.13 | 25.28 | 0.0016 |
| BC | 3.522 × 10−3 | 1 | 3.522 × 10−3 | 0.68 | 0.4423 |
| A2 | 8.614 × 10−3 | 1 | 8.614 × 10−3 | 0.67 | 0.4862 |
| Residual | 0.037 | 7 | 5.217 × 10−3 |
| Test Code | Test Sequence | Laser Power P/kW | Welding Speed v/(mm·s−1) | Defocusing Amount f/mm | Tensile Shear Load F/N | Weld Penetration d/mm |
|---|---|---|---|---|---|---|
| 1 | 1.4 | 35 | −6 | Predicted value | 1060.11 | 1.70 |
| Actual value | 1128.6 | 1.65 | ||||
| Error | 6.46% | 3.5% | ||||
| 2 | 1.44 | 25 | −5 | Predicted value | 2756.8 | 1.95 |
| Actual value | 2928.9 | 1.83 | ||||
| Error | 6.2% | 6.2% | ||||
| 3 | 1.52 | 15 | −4 | Predicted value | 4599.3 | 2.363 |
| Actual value | 4686.6 | 2.25 | ||||
| Error | 1.8% | 4.7% |
| Optimization Requirement | |||
|---|---|---|---|
| Tensile shear load F/N | Maximize | ||
| Weld penetration d/mm | ≤2.2 mm | ||
| Welding parameters | Numerical range | Optimization Condition | |
| Minimum | Maximum | ||
| Laser power P/kW | 1.2 | 1.6 | Within range |
| Welding speed v/(mm·s−1) | 15 | 35 | Within range |
| Defocusing amount f/mm | −8 | −4 | Within range |
| Serial Number | Laser Power P/kW | Welding Speed v/(mm·s−1) | Defocusing Amount f/mm | Tensile Shear Load F/N | Weld Penetration d/mm |
|---|---|---|---|---|---|
| 1 | 1.44 | 15 | −4 | 4309.44 | 2.2 |
| 2 | 1.44 | 15 | −4 | 4303.54 | 2.2 |
| Stainless Steel | Sheet Sizes mm | Laser Power P/kW | Welding Speed v/(mm·s−1) | Defocusing Amount f/mm | Tensile Shear Load F/N | Weld Penetration d/mm |
|---|---|---|---|---|---|---|
| SUS301L | 185 × 105 | 1.44 | 15 | −4 | 4267.44 | 2.2 |
Disclaimer/Publisher’s Note: The statements, opinions and data contained in all publications are solely those of the individual author(s) and contributor(s) and not of MDPI and/or the editor(s). MDPI and/or the editor(s) disclaim responsibility for any injury to people or property resulting from any ideas, methods, instructions or products referred to in the content. |
© 2025 by the authors. Licensee MDPI, Basel, Switzerland. This article is an open access article distributed under the terms and conditions of the Creative Commons Attribution (CC BY) license.
Share and Cite
He, H.; Liu, Y.; Huang, S.; Zhu, P.; Zhang, P.; Yan, W.; Zhang, Z.; Xu, Z.; Jiang, Y.; Cheng, Z.; et al. Optimization of the Process Parameters for Non-Penetration Laser Lap Welding of SUS301L Stainless Steel. Crystals 2026, 16, 9. https://doi.org/10.3390/cryst16010009
He H, Liu Y, Huang S, Zhu P, Zhang P, Yan W, Zhang Z, Xu Z, Jiang Y, Cheng Z, et al. Optimization of the Process Parameters for Non-Penetration Laser Lap Welding of SUS301L Stainless Steel. Crystals. 2026; 16(1):9. https://doi.org/10.3390/cryst16010009
Chicago/Turabian StyleHe, Haiyuan, Yuhuan Liu, Shiming Huang, Ping Zhu, Peng Zhang, Weiguo Yan, Zhichao Zhang, Zhihui Xu, Yuncheng Jiang, Zhi Cheng, and et al. 2026. "Optimization of the Process Parameters for Non-Penetration Laser Lap Welding of SUS301L Stainless Steel" Crystals 16, no. 1: 9. https://doi.org/10.3390/cryst16010009
APA StyleHe, H., Liu, Y., Huang, S., Zhu, P., Zhang, P., Yan, W., Zhang, Z., Xu, Z., Jiang, Y., Cheng, Z., Shi, B., & Lin, J. (2026). Optimization of the Process Parameters for Non-Penetration Laser Lap Welding of SUS301L Stainless Steel. Crystals, 16(1), 9. https://doi.org/10.3390/cryst16010009

