Abstract
Additive manufacturing of metallic components often results in the formation of columnar grain structures aligned along the build direction. These elongated grains can introduce anisotropy, negatively impacting the mechanical properties of the components. This study aimed to achieve controlled solidification with a fine-grained microstructure to enhance the mechanical performance of printed parts. Stainless steel 316L was used as the test material. High-intensity ultrasound was applied during the direct energy deposition (DED) process to inhibit the formation of columnar grains. The investigation emphasized the importance of amplitude changes of the ultrasound wave as the system’s geometry continuously evolves with the addition of multiple layers and assessed how these changes influence the grain size and distribution. Initial tests revealed significant amplitude fluctuations during layer deposition, highlighting the impact of layer deposition on process uniformity. The mechanical results demonstrated that the application of ultrasound effectively refined the grain structure, leading to a 15% increase in tensile strength compared to conventionally additively manufactured samples.
1. Introduction
Additive manufacturing (AM) has changed modern manufacturing by enabling the creation of highly complex geometries and customized components through a layer-by-layer deposition process. AM techniques, particularly for metals, offer new opportunities for producing components with optimized performance characteristics. Among the various methods in AM, directed energy deposition (DED) stands out due to its ability to control the material deposition and melting process with high precision, allowing for the repair, modification, or creation of large-scale parts. DED uses focused thermal energy to fuse materials as they are being deposited, which makes it an important process in industries like aerospace and automotive [,].
A critical aspect of producing high-quality components via AM is the control over the microstructure of the material, as it directly influences the mechanical properties such as strength, toughness, and durability []. Several studies have demonstrated that the application of ultrasonic vibrations (US) during additive manufacturing with DED significantly enhances grain refinement in metals. For instance, the introduction of high-intensity ultrasound in the AM process of metals like Ti-6Al-4V resulted in the transformation of columnar grains into fine equiaxed grains. This structural change led to improved mechanical properties, including increased tensile strength and yield stress by up to 12% compared to conventional methods [,,]. The work of Chen et al. showed that tensile strength in Inconel 625 alloys increased by up to 23.8% when processed with ultrasonic assistance. This improvement is attributed to grain refinement, which results in a more uniform microstructure and helps to prevent the formation of defects such as microcracks, leading to enhanced mechanical performance []. US-assisted laser processing was also shown to significantly reduce common defects like pores, cracks, and chemical inhomogeneity. In Ni-based coatings, for example, ultrasonic vibrations were effective in minimizing pore area and refining the grain structure without altering the phase composition [,]. Research by Zhu et al. revealed that ultrasonic vibrations create cavitation effects in the molten pool, which increases fluidity and allows trapped gas to escape, effectively reducing porosity in materials like Inconel 718 to minimal levels []. Similar findings were reported in studies involving Fe-Cr stainless steel, where porosity was notably reduced []. Moreover, ultrasonic-assisted processes can improve surface properties such as wear resistance and microhardness. The fine-grained structure resulting from ultrasonic treatment also contributed to better load cycling resistance and lower friction coefficients [,]. Studies by Gorunov et al. demonstrated a marked increase in microhardness—about 1.12 times higher—when ultrasonic vibrations were applied, due to the finer grain structure and reduction in defect propagation []. Further research on NiTi components by Zhang et al. showed that ultrasonic assistance created more homogeneous microstructures with significantly fewer defects such as lack of fusion and microporosity []. Investigations on nickel–titanium (NiTi) alloys and stainless steel suggest that ultrasonic-assisted manufacturing techniques can address challenges such as heterogeneous microstructures and the formation of secondary phases during fabrication. Ultrasonic vibrations during in situ synthesis of NiTi alloys help homogenize the material distribution, reduce defects, and enhance mechanical properties like pseudoelasticity and Young’s modulus [,].
Looking ahead, there are key areas for further development in US-DED, particularly in optimizing the parameters of ultrasonic frequency and amplitude to fully exploit its benefits. While the process has proven effective, scaling it for broader industrial applications presents challenges, especially in ensuring consistent quality across different materials and complex geometries [].
In this study, the effect of ultrasonic excitation on the weld pool of 316L stainless steel (316L) produced via DED is investigated. The hypothesis of this research is that ultrasonic excitation introduces mechanical vibrations that promote grain refinement, which in turn enhances the mechanical properties of the manufactured component. The grain refinement mechanism is driven primarily by the transverse oscillation of the melt pool, which disrupts the columnar growth of grains and fosters the nucleation of fine equiaxed grains []. Unlike previous studies, which have largely focused on the application of ultrasound without addressing precise deflection control, this work systematically examines the role of ultrasonic amplitude as a key parameter, given that the system’s geometry evolves continuously with each added layer. Simply tracking the frequency and maintaining constant current or power amplitudes is insufficient to precisely adjust the vibration velocity in the molten metal, which is crucial for controlling the cavitation. This study represents a unique foundational approach by closely evaluating amplitude adjustments, which are essential for achieving consistent vibration velocity and cavitation control. Therefore, in this study, the change in amplitude is closely examined since the systems geometry continuously changes with the addition of multiple layers. It is important to explore how ultrasonic-assisted DED influences the solidification dynamics, grain size, and distribution, providing insight into how ultrasonic treatment can be used to produce components with superior mechanical properties and more homogeneous microstructures.
2. Materials and Methods
2.1. Direct Energy Deposition (DED)
The DED process is characterized by the simultaneous delivery of powder and laser onto a substrate. As shown in Figure 1 metal powder in the form of particles is carried within an inert gas flow through the channels of a coaxial nozzle. A laser heat source, directed through the inner opening of the nozzle, creates a locally allocated melt pool on a chosen substrate. The fine metal powder particles are then melted within the melt pool and fused to the substrate. By placing welds next to each other and stacking the created layers, a 3D object is created. In addition to creating whole 3D parts, the process can also be used to repair high-value parts by, e.g., filling in worn-out regions of a die-cast tool. By facilitating special powder delivery systems, it is also possible to change or mix different powders during the process to create graded materials. The particle size of typically used powder in the DED process ranges between 50 and 150 μm []. It should be noted that there is a variety of different names for the DED process in the literature [,].

Figure 1.
Schematics of the DED process [].
2.2. Ultrasonic Irradiation of the Process
Ultrasound in metal melts causes an increased number of crystallization nuclei to occur as a result of flow and cavitation, resulting in smaller grains and more homogeneous structures in general. As described by Eskin et al. [], this has already been used in various industrial processes, such as degassing, filtration, and grain refinement of aluminum and magnesium alloys. In each case, the challenge is to develop suitable ultrasonic systems that cover the entire melt as homogeneously as possible.
An ultrasound system typically consists of a generator, a piezoelectric transducer, an amplifying booster, and a sonotrode that delivers the ultrasound to the process. The task of the generator is to operate the system close to a mechanical natural frequency of the system, which is usually above 20 kHz, and is used to achieve a defined vibration behavior. The natural frequency of the system is strongly influenced by the load during the process and also the temperature, so that frequency tracking and amplitude control are necessary to maintain constant process conditions.
Molten metals usually have a fairly low viscosity and represent a load for ultrasonic transducers comparable to immersion in water. As a result, the resonant frequency is hardly affected, but the impedance of the piezoelectric transducer increases. This means that the generator must provide a higher electrical voltage to achieve equal vibration velocities that are proportional to the feed current in resonance. The DED process produces only a relatively small volume of molten metal, so that the oscillation system is hardly loaded. Rather, the challenge here is that the geometry of the oscillation system changes continuously with the structure of several layers and that a temperature gradient also arises in the component (>1500 °C in the melt, approx. 200 °C on the sonotrode surface), which in turn has an influence on the wave velocity of the material and thus the vibration shape. It is therefore not sufficient to track the frequency and keep the current amplitude or power amplitude of the oscillator constant in order to be able to precisely adjust the vibration velocity in the molten metal, which is considered the guide variable for cavitation. The statements in [,,,,,] regarding optimal ultrasonic frequency and power should therefore be critically evaluated.
2.3. Experimental Setup
An experimental set-up was developed to carry out the ultrasonic-assisted test specimen production (see Figure 2). This consists of a holder inside the DED system, which is clamped in a vice. The manufacturing system utilized is the DMG MORI LASERTEC 65 3D, which merges generative laser deposition welding with a fully functional 5-axis milling table. By integrating these technologies, the machine offers flexible laser deposition welding along with the precision of a machining process [].

Figure 2.
Experimental setup inside the DMG MORI LASERTEC 65 3D.
A generator (ATHENA Ultrasound Generator, frequency range 10–250 kHz, max. power output 1 kW) is used that keeps the system (converter: titan, WEBER Ultrasonics, WUC 1200/30 S IP54 VA LEM-1S, 30 kHz, 1200 W [] + sonotrode) in resonance over a wide frequency range by means of phase control and at the same time regulates the current amplitude in resonance. To prevent overheating of the ultrasonic transducer and the associated damage, a cooling ring was constructed to provide permanent air cooling. The vibration velocity of the sonotrode is recorded using laser vibrometry in order to derive the vibration velocity of the melt. The vibration velocity of the sonotrode is also recorded using laser vibrometry to be able to draw conclusions about the vibration velocity of the melt. The vibration velocity could not be measured during the process using the laser vibrometer, as the safety regulations required the door to remain closed. Therefore, the build process was interrupted after each layer, and the Z-axis was rotated by 45° (see Figure 2), allowing the door to be opened. Measurements were then taken on the substrate while the ultrasonic excitation was active. The measurements were conducted on the substrate because the surface of the deposited material exhibited poor reflectivity. During the entire process, relevant measurement data such as voltage, current, and power were recorded. This makes it possible to determine the limits of the ultrasonic system and to carry out further optimization steps [].
The steel sonotrode (316L, ∅ 45 mm) serves as a substrate. The length of the sonotrode was adjusted to meet resonance condition of the full system (half the wavelength, 29,547 Hz). A sonotrode length of 86.7 mm was used for the experiments, which was calculated as follows:
2.4. 316L as Additive Manufacturing Material
The material 316L or 1.4404 is an austenitic alloy. Stainless steel is commonly used in additive manufacturing due to its excellent properties. The material’s chemical composition, including its chromium, molybdenum, and nickel contents, enhances its corrosion resistance, particularly against intergranular corrosion, due to its low carbon content. This composition is presented in Table 1, which highlights the chemical ranges of its elements, such as chromium, molybdenum, and nickel. One of the key features of 316L is its mechanical properties. In an annealed condition, it offers a tensile strength ranging from 500 to 700 N/mm² and a density of 8.0 kg/dm³, making it suitable for various high-temperature applications up to 550 °C. Additionally, the material shows good cold formability and weldability, which are crucial attributes for its application in processes like DED [].

Table 1.
Chemical composition of 316L (wt.%).
2.5. Experimental Procedure
Single tracks and volume bodies have been produced for the examination of the ultrasonic influence on the microstructure. Based on empirical values and preliminary tests without an integrated ultrasonic system, the following parameters (see Table 2) were used:

Table 2.
Parameterset DMG MORI LASERTEC 65 3D.
First, individual tracks with different amplitudes were produced to examine the direct influence of ultrasonics on the welding result. Figure 3 shows the process strategy and the positions of the individual tracks on the substrate. The length of the individual tracks is 23 mm and was applied with different amplitudes in (given in μm) along the x-axis.

Figure 3.
Schematic representation of the process strategy for the individual tracks with different ultrasonic amplitudes (given in µm).
Subsequently, the volumes with rectangular base (35 mm × 15 mm) and height up to 10 mm were produced with and without ultrasonics. The individual tracks had a height of 0.9 mm. Figure 4 shows the individual process strategies between the individual layers, as well as the dimensions and position on the substrate of the printed solids.

Figure 4.
(A) Schematic representation of the process strategy of the volumes; (B) Dimension and position of the volumes on the substrate.
The samples produced were prepared for metallurgical examination. For this, the individual samples were vertically cut out (Cuto-20, Jean Wirtz, Düsseldorf, Germany) and then embedded in a cold embedding agent for fixing. Grinding and polishing of the specimen were performed using an automated polishing machine (Saphir 250, ATM Qness, Golling, Austria). The samples were then etched for about 3 min using V2A etching solution (200 mL distilled water, 200 mL 32% hydrochloric acid, 20 mL 65% nitric acid, and 0.6 mL Vogel’s inhibitor []).
The microscopic images were taken using a digital microscope (Keyence VHX5000, Itasca, IL, USA), and the EBSD was performed using a scanning electron microscope (Zeis Ultra Plus, Carl Zeiss AG, Jena, Germany) equipped with an electron backscatter diffraction detector (DIGIVIEW 5, Ultimo, Australia). Microscopic pictures (200× magnification) of the etched samples are used for the subsequent grain size determination. An image processing software (ImageJ 2.14.0) was used for the grain size determination after etching.
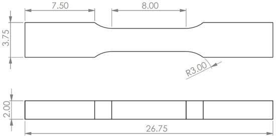
Mechanical validations of the manufactured samples were carried out using tensile tests (MTS 858 Table Top System). The set test speed during the test was 1.5 mm/min. Tensile tests were carried out on samples that were manufactured with and without ultrasound. The build-up height during the tests with ultrasound was limited due to the change in natural frequency caused by the change in geometry. For this reason, miniature tensile test specimens (with factor 4) were vertically eroded from the volume bodies for the tensile tests. Figure 5 shows the geometry of the tensile test specimens based on DIN 50125.

Figure 5.
Dimensions of the tensile test specimen.
A total of 19 tensile specimens were produced from the test specimens. These samples are divided into three different categories. A and B represent the samples printed with ultrasound, and C represents the samples printed without ultrasound (7 × A, 7 × B, 5 × C).
3. Results and Discussion
3.1. System Validation
To further explore the effect of ultrasound, preliminary tests were conducted to assess the effects of ultrasound during the layered construction of metallic 316L samples. The experimental process began by setting the current value to 1 Ampere, as it ensured stable operation without overheating, providing optimal conditions for the ultrasonic system. However, this setting caused surface irregularities and splattering after only a few layers. Consequently, it was determined that oscillation velocity was a key factor, as it influences melt pressure and cavitation, the latter being crucial for cavitation seed formation. The ultrasonic parameters were then set to achieve a deflection amplitude of 2.5 µm (1350 mA, 31045 Hz, and 489 mm/s).
Metallographic analysis was conducted with etched samples and simplified grain analysis as described in Section 2.4 []. The purpose here is to get a general overview of the effect of grain refinement happening across different layers. Images from Figure 6(C1) depict reference samples produced without ultrasound, showing relatively large grain sizes and more elongated columnar structures. This can be attributed to the reduced thermal gradients during solidification []. In contrast, samples produced with ultrasound demonstrated more refined and equiaxed grains, as observed in the comparative images from Figure 6(C2).

Figure 6.
(A) Minimum Feret diameter of the reference samples without (black) and with (red) ultrasound with standard deviations; (B) Maximum Feret diameter of the reference samples without (black) and with (red) ultrasound with deviations; and (C) Microscopic view of reference sample without ultrasound (C1) and with ultrasound (C2).
The variations in grain structure are crucial for understanding the mechanical improvements attributed to ultrasound. Without ultrasound, grain growth is more pronounced, leading to larger columnar grains, while with ultrasound, grain refinement was achieved, resulting in a more homogeneous structure, which is a phenomenon prominently described by several studies [,,,,,]. This refinement was further verified through measurements of the Feret diameter, as shown in Figure 6A,B, where ultrasound-treated samples exhibited significantly smaller grain sizes with less variance between layers. Without ultrasound, an irregular grain size is observed, indicated by fluctuations in the graph. In contrast, ultrasound leads to a more consistent grain diameter. Based on Figure 6A,B, it can be concluded that without ultrasound, the grains tend to have more elongated, columnar structures. The larger difference between the Feret diameter and the minimum Feret diameter suggests the formation of columnar grains. In comparison, ultrasound produces finer, more equiaxed grains due to the relatively lower variation in grain diameters.
At constant current control, the vibration velocity of the sonotrode tip remains constant, when the system remains geometrically unchanged. With buildup of the layers, the length of the vibration system increases, and the stiffness decreases due to heating. Thus, the resonance frequency drops, and the proportionality of vibration velocity and transducer current changes. Thus, the vibration amplitude could not remain constant within this first test. As shown in Table 3, the amplitude at the sonotrode tip varied significantly, from 0.25 µm to 3.5 µm. This fluctuation indicates that layer deposition causes considerable shifts in amplitude, affecting the uniformity of the process, if the ultrasonic system is driven with standard control algorithms.

Table 3.
Change of amplitude at constant current control due to addition of layers.
3.2. Influences of Different Deflection Amplitudes on Surface Roughness and Microstructure
To further verify and demonstrate the impact of varying ultrasound amplitudes on the formation of single tracks, these have been manufactured using the DED process limited to only a single experimental series to identify a trend in grain size and surface roughness. Therefore, the grain size and roughness values were examined on three different spots on the single tracks (beginning, middle, or end of track). More in-depth experiments were conducted in Section 3.3 to further explore these findings. Amplitudes ranging from 0 µm to 5.735 µm were employed in the tests, with corresponding operational parameters detailed in Table 4. A greater amplitude than 5.735 µm could not be obtained due to the setup of the experiment. The surface characteristics of the tracks were significantly influenced by the ultrasound amplitude, with observable changes beginning at 3 µm. While the initial tracks (with amplitudes of 0 to 2 µm) exhibited similar surface characteristics, the tracks produced with amplitudes exceeding 3 µm demonstrated more evident modifications in the surface structure.

Table 4.
Amplitude test settings.
Surface roughness measurements further corroborate these findings. The roughness was quantified using arithmetical mean roughness (Ra) and maximum profile peak height (Rp). These values show a clear deterioration in surface quality with increasing ultrasound amplitude, suggesting that the ultrasound energy above a certain threshold adversely affects the surface’s smoothness. This conclusion is supported by Figure 7B, which visually represents the relationship between ultrasound amplitude and surface roughness. As Yang et al. demonstrated, US can lead to an increase in surface roughness due to the cavitation and streaming effects generated in the molten pool. These effects create intense agitation in the liquid metal, causing irregular solidification patterns and the formation of surface ripples. The rapid cooling and continuous bursting of cavitation bubbles lead to localized turbulence, which increases surface unevenness, resulting in higher roughness compared to non-ultrasonic methods. Furthermore, the increased undercooling caused by US promotes rapid nucleation, but the irregular movement within the melt pool disrupts smooth layer deposition, further contributing to a rougher surface finish []. These investigations can thus be confirmed with the above findings.

Figure 7.
Single tracks with different amplitudes (A) and corresponding surface roughness (B).
Figure 8A shows EBSD images comparing the microstructures of the single-track samples. Without ultrasound, the grains are elongated and exhibit a clear directional alignment, indicating a strong anisotropy. However, after introducing ultrasound, the grains become much finer and more equiaxed, effectively reducing the anisotropy in the material.

Figure 8.
Microstructure (EBSD) images with and without ultrasound (A); Grain sizes at different deflection amplitudes (B).
This grain refinement effect is further illustrated in Figure 8B, which plots grain size as a function of ultrasound amplitude with the respective standard deviations. The data points reveal a steep decrease in grain size starting at just 0.5 µm. The average grain size drops from 108 µm at 0 µm deflection to approximately 35 µm at 5 µm amplitude, with a notable reduction occurring between 0.5 µm and 2 µm, after which the curve begins to flatten out.
The pronounced decrease in grain size with increasing amplitude can be attributed to the acoustic cavitation and the mechanical effects induced by ultrasound in the melt pool. Ultrasound generates rapid pressure fluctuations, leading to the formation and collapse of cavitation bubbles, which in turn disrupt the growing dendrites. This disruption breaks up the long, columnar grains and increases the number of nucleation sites, resulting in finer, equiaxed grains [,,]. As the amplitude increases beyond 0.5 µm, the intensity of cavitation becomes sufficient to continuously fragment the dendrites, leading to a rapid refinement of the grain structure. The flattening of the grain size reduction beyond 2 µm suggests that a saturation point is reached where further increases in amplitude produce diminishing effects on grain refinement. This could be due to a stabilization of the cavitation intensity or the achievement of an optimal nucleation density in the melt pool, beyond which the additional energy input has limited influence on further reducing the grain size [].
3.3. Influences of Ultrasonic Vibrations on Mechanical Properties
To validate the hypothesis of an improvement in the mechanical properties, specimens were produced with and without ultrasound, focusing on tensile strength and elongation at break. A total of 19 samples were tested, categorized into three groups: A and B (with ultrasound) and C (without ultrasound). Sample A demonstrates the findings without the adaption of the current, and sample B demonstrates the findings with an improved current control to guarantee unified amplitudes over the height of the sample. The oscillation speed at the sonotrode tip varies with load, frequency, and temperature, but remains proportional to the current, making current a suitable control parameter. Due to the ongoing geometric changes of the system during layer buildup, and despite resonance regulation ensuring a constant oscillation form, the oscillation maximum remains at the top layer. Maintaining constant surface speed at the sonotrode surface would cause the oscillation speed in the top layer to increase continuously. Therefore, the sonotrode surface speed must be reduced per layer to keep the oscillation speed in the melt constant. This forms the basis for calculating the set current for each layer. One of the pre-tests showed that the oscillation speed at a current of 1375 mA was 500 mm/s at the sonotrode tip and 1000 mm/s at the part surface (17 layers). Assuming a linear change in oscillation speed results in a reduction of current per layer, the following is obtained:
The process for an amplitude of 2.5 µm proved to be well-regulated, though visual evaluation of the single-track tests indicated that a surface roughness above 3 µm had a detrimental effect on the build process. In a preliminary test with a large oscillation amplitude, likely around 4 µm, the part height lagged behind during the deposition process. While 1 mm per layer was intended, excessive amplitudes led to splattering, resulting in a broader track and only about 0.7 mm of material being deposited. After several layers, the gap between the nozzle and the part surface became too large, necessitating the termination of the experiment. To avoid adjusting the nozzle height between layers in addition to tuning the ultrasonic amplitude, the amplitude was selected to be 2.5 µm given that it already promoted grain refinement while keeping the effort manageable.
Tensile strength results, depicted in Figure 9, indicate a 2% variation between the samples produced with ultrasound, showcasing consistency across the samples. In contrast, samples produced without ultrasound (C) exhibited tensile strengths approximately 15% and 13% lower than samples A and B, respectively. Comparable studies discovered similar findings using 316L stainless steel [], but also using different materials like titanium [,]. This difference suggests that the use of ultrasound during the DED process enhances the mechanical performance of the printed components.

Figure 9.
Comparison of the tensile strength (A) and elongation at break (B) of the samples produced with and without ultrasound.
The results of elongation at break, as illustrated in Figure 9B, show a similar trend. The elongation values for the samples produced with ultrasound differed by around 5%, while the samples without ultrasound exhibited a reduction in elongation by 17% and 22% compared to samples A and B, respectively. These findings highlight the mechanical benefits of ultrasound in achieving higher ductility in printed parts.
These findings can be underlined by the analysis of grain sizes in samples A and B using EBSD, which reveals a clear variation in grain size with the height of the component for both samples (see Figure 10). Specifically, as the height increases, the grain size also increases, confirming the influence of component height on the change in deflection. The grain size increased by approximately 206% in the non-regulated sample A over 17 layers. In contrast, this increase is limited to around 115% in samples where the amplitude is regulated for sample B. Thus, controlling the ultrasonic current effectively doubles the stability of the system compared to the unregulated condition. However, there is still a measurable increase in the grain size of the regulated samples, necessitating further evaluation and adjustments of the regulation of the US system. Beyond the grain size growth, the component height influences the grain orientation within the deposited material. Notably, grains in the upper region of the sample tend to align in the build direction. This grain orientation shift, which becomes more pronounced with height, suggests a directional solidification effect influenced by the decrease in the US effect.

Figure 10.
Grain sizes for the top and bottom area of samples A and B (A) and the respective EBSD for sample B (B).
Regarding elongation at break, the porosity of the samples plays a significant role. It is evident that the relative density in sample B is higher than in sample A, which may be due to the amplitude adjustment. Moreover, sample B shows smaller lack-of-fusion pores at the end of the weld tracks compared to sample A, as seen in Figure 11. The higher relative density in sample B further explains its higher elongation at break at 14%, compared to 13% for sample A. A low relative density is directly correlated with reduced mechanical properties, particularly in terms of elongation at break. This reduction in performance is primarily due to the increased presence of internal defects such as pores and lack-of-fusion regions, which are common in parts with lower density. Porosity acts as stress concentrators within the material. When a tensile load is applied, these voids disrupt the uniform distribution of stress, leading to localized deformation and the initiation of microcracks. As a result, the material’s ability to undergo plastic deformation before fracture is significantly reduced, leading to lower elongation at break values. In contrast, materials with higher relative density have fewer defects, allowing for more uniform stress distribution and greater ductility [,,]. Additionally, lack-of-fusion defects create weak interfaces between layers or within the microstructure. These weak points are prone to crack initiation and propagation under mechanical loading, further reducing the material’s overall ductility and capacity for elongation [,].

Figure 11.
Metallurgical evaluation of the microscopic images from samples without current control (A) and with current control (B) showing the relative density.
4. Conclusions
The results of this study underscore the effectiveness of ultrasonic vibrations during the direct energy deposition (DED) process in significantly enhancing both the microstructural and mechanical properties of 316L stainless steel components. Ultrasonic excitation led to a marked refinement of the grain structure, facilitating the transformation from elongated, columnar grains to finer, equiaxed grains. Quantitative grain size analysis confirmed this effect, revealing a reduction in average grain size from 108 µm in samples produced without ultrasound to approximately 35 µm in ultrasound-treated samples. This grain refinement correlates directly with mechanical property enhancements, including an approximate 15% increase in tensile strength and a 20% improvement in elongation at break compared to components manufactured without ultrasound.
These improvements are attributed to both the reduction in grain size and the decrease in porosity, creating a more homogeneous and resilient material structure. Without ultrasonic assistance, grain coarsening was linked to a diminished thermal gradient during the DED process, which lengthened solidification times and promoted columnar grain growth. Conversely, the application of ultrasound interrupts the formation of elongated grains, promoting a more equiaxed grain structure with finer grains. Surface roughness analyses further indicate that while ultrasound substantially benefits bulk material properties, excessive ultrasonic energy may compromise surface quality, requiring a balanced approach. When improving mechanical properties, grain refinement is not the sole factor; reduced porosity also plays a critical role by simultaneously increasing strength and fracture elongation. The reduced porosity plays a significant role, as it leads to simultaneous increases in both strength and fracture elongation, a phenomenon also well-documented in selective laser melting (L-PBF). These factors collectively contribute to the mechanical performance improvements observed with ultrasonic assistance.
Experimental results identified optimal vibration amplitudes for achieving desirable grain refinement, specifically between 0.5 and 2.5 µm, while amplitudes above 3 µm negatively impacted surface roughness and destabilized the deposition process. Tests at 4 µm amplitude revealed excessive splattering and reduced material deposition, highlighting the need for further parameter optimization to ensure consistent layer deposition. However, there were too many variables for the initial investigations.
The findings of this study reinforce that ultrasonic-assisted DED is a viable pathway for enhancing the mechanical performance of additively manufactured components. However, to fully harness the potential of this technology, further research is required to refine parameter control, particularly at higher amplitudes, where factors like powder feed rate and nozzle-to-part distance may need to be adjusted to sustain deposition stability. Additionally, implementing continuous deflection amplitude adjustments throughout the build could allow for consistent deflection amplitude in the melt pool, optimizing grain refinement and mechanical property enhancement over extended builds and complex geometries. This study thus provides foundational insights for advancing the application of ultrasonic DED in industrial manufacturing.
Author Contributions
Conceptualization, S.G. and D.L.; methodology, S.G., T.H. and C.S.; validation, S.G., D.L., P.P. and C.B.; investigation, S.G. and D.K.; resources, T.T.; data curation, S.G. and D.K.; writing—original draft preparation, D.L., C.B., P.P., D.K., T.H. and C.S.; writing—review and editing, D.L., C.B., P.P., C.S., T.H. and T.T.; visualization, D.L. and C.B.; supervision, T.T.; funding acquisition, T.T. All authors have read and agreed to the published version of the manuscript.
Funding
This research received no external funding. The article publishing charges were paid for by the University of Paderborn. The DED machine (LT65) used for this research was funded by the Deutsche Forschungsgemeinschaft DFG (No. 428364048).
Institutional Review Board Statement
Not applicable.
Informed Consent Statement
Not applicable.
Data Availability Statement
Data are contained within the article.
Acknowledgments
Special thanks to the Chair of Material Science (LWK) for their support in conducting and evaluating the EBSD images. This paper was written with the help of ChatGPT.
Conflicts of Interest
The authors declare no conflicts of interest.
References
- Ahn, D.-G. Directed Energy Deposition (DED) Process: State of the Art. Int. J. Precis. Eng. Manuf.-Green Technol. 2021, 8, 703–742. [Google Scholar] [CrossRef]
- Dass, A.; Moridi, A. State of the Art in Directed Energy Deposition: From Additive Manufacturing to Materials Design. Coatings 2019, 9, 418. [Google Scholar] [CrossRef]
- Zhang, W.; Xu, C.; Li, C.; Wu, S. Advances in Ultrasonic-Assisted Directed Energy Deposition (DED) for Metal Additive Manufacturing. Crystals 2024, 14, 114. [Google Scholar] [CrossRef]
- Todaro, C.J.; Easton, M.A.; Qiu, D.; Brandt, M.; StJohn, D.H.; Qian, M. Grain refinement of stainless steel in ultrasound-assisted additive manufacturing. Addit. Manuf. 2021, 37, 101632. [Google Scholar] [CrossRef]
- Todaro, C.J.; Easton, M.A.; Qiu, D.; Zhang, D.; Bermingham, M.J.; Lui, E.W.; Brandt, M.; StJohn, D.H.; Qian, M. Grain structure control during metal 3D printing by high-intensity ultrasound. Nat. Commun. 2020, 11, 142. [Google Scholar] [CrossRef]
- Zhang, D.; Li, Y.; Wang, H.; Cong, W. Ultrasonic vibration-assisted laser directed energy deposition in-situ synthesis of NiTi alloys: Effects on microstructure and mechanical properties. J. Manuf. Process. 2020, 60, 328–339. [Google Scholar] [CrossRef]
- Alavi, S.H.; Harimkar, S.P. Melt expulsion during ultrasonic vibration-assisted laser surface processing of austenitic stainless steel. Ultrasonics 2015, 59, 21–30. [Google Scholar] [CrossRef]
- Lian, G.; Yue, K.; Zeng, J.; Feng, M.; Lan, R.; Kong, L. Microstructures and Properties of NbC-Reinforced Ni-Based Coatings Synthesized In Situ by Ultrasonic Vibration-Assisted Laser Cladding. Materials 2023, 16, 1704. [Google Scholar] [CrossRef]
- Zhu, L.; Yang, Z.; Xin, B.; Wang, S.; Meng, G.; Ning, J.; Xue, P. Microstructure and mechanical properties of parts formed by ultrasonic vibration-assisted laser cladding of Inconel 718. Surf. Coat. Technol. 2021, 410, 126964. [Google Scholar] [CrossRef]
- Ning, F.; Cong, W. Microstructures and mechanical properties of Fe-Cr stainless steel parts fabricated by ultrasonic vibration-assisted laser engineered net shaping process. Mater. Lett. 2016, 179, 61–64. [Google Scholar] [CrossRef]
- Gorunov, A.I. Additive manufacturing of Ti6Al4V parts using ultrasonic assisted direct energy deposition. J. Manuf. Process. 2020, 59, 545–556. [Google Scholar] [CrossRef]
- Yang, Z.; Zhu, L.; Ning, J.; Wang, S.; Xue, P.; Xu, P.; Dun, Y.; Xin, B.; Zhang, G. Revealing the influence of ultrasound/heat treatment on microstructure evolution and tensile failure behavior in 3D-printing of Inconel 718. J. Mater. Process. Technol. 2022, 305, 117574. [Google Scholar] [CrossRef]
- Jambor, T. Funktionalisierung von Bauteiloberflächen durch Mikro-Laserauftragsschweißen. Ph.D. Thesis, RWTH Aachen, Aachen, Germany, 2012. [Google Scholar]
- Mazzucato, F.; Tusacciu, S.; Lai, M.; Biamino, S.; Lombardi, M.; Valente, A. Monitoring Approach to Evaluate the Performances of a New Deposition Nozzle Solution for DED Systems. Technologies 2017, 5, 29. [Google Scholar] [CrossRef]
- Saboori, A.; Aversa, A.; Marchese, G.; Biamino, S.; Lombardi, M.; Fino, P. Microstructure and Mechanical Properties of AISI 316L Produced by Directed Energy Deposition-Based Additive Manufacturing: A Review. Appl. Sci. 2020, 10, 3310. [Google Scholar] [CrossRef]
- Eskin, D.G.; Tzanakis, I.; Wang, F.; Lebon, G.; Subroto, T.; Pericleous, K.; Mi, J. Fundamental studies of ultrasonic melt processing. Ultrason. Sonochem. 2019, 52, 455–467. [Google Scholar] [CrossRef]
- DMG Mori. DMG Mori Lastertec 65 DED—Website. Available online: https://de.dmgmori.com/produkte/maschinen/additive-manufacturing/pulverdueseverfahren/lasertec-65-ded (accessed on 17 October 2024).
- Weber-Ultrasonics. Steckbrief_Konverter. Available online: https://www.weber-ultrasonics.com/app/uploads/2017/09/Weber_Ultrasonics_Steckbrief_Konverter.pdf (accessed on 17 October 2024).
- Bornmann, P. ATHENA-Generator: Universeller Ultraschallgenerator, FPGA-Basiert, Resonanzregelung 20–250 kHz, Leistung 250 W. Available online: https://www.myathena.de/wp-content/uploads/2024/06/ATHENA_Generator.pdf (accessed on 17 October 2024).
- m4p Material Solutions GmbH. m4p_Datenblatt_316L_DE. Available online: https://www.metals4printing.com/?qs_servlet=downloadIxServlet&rq_RecId=38343841304139344544344634323038433438393646334631303242393134313431453439343642&qs_fileId=EB3AFB00D9A91228A7F8AC19975F6DEE023E6DFC&qs_lastModified=1655969226622&qs_fileControl=C90D3C4167C882B6970C8EEC4D2F3AF98521856D (accessed on 17 October 2024).
- Petzow, G. Metallographisches, Keramographisches, Plastographisches Ätzen; 7. leicht korrigierte Auflage; Gebrüder Borntraeger: Stuttgart, Germany, 2015; ISBN 3443230199. [Google Scholar]
- Wang, B.; Fang, X.; Zhang, M.; Li, X.; Tang, K.; Jiao, G.; Chai, Y.; Shen, X.; Zhang, H.; Huang, K. Ultrasonic vibration assisted directed energy deposition of titanium alloy: Microstructure control, strengthening mechanisms and fatigue crack behavior. Mater. Sci. Eng. A 2024, 914, 147168. [Google Scholar] [CrossRef]
- El-Azab, S.A.; Zhang, C.; Jiang, S.; Vyatskikh, A.L.; Valdevit, L.; Lavernia, E.J.; Schoenung, J.M. In situ observation of melt pool evolution in ultrasonic vibration-assisted directed energy deposition. Sci. Rep. 2023, 13, 17705. [Google Scholar] [CrossRef]
- Chen, Y.; Xu, M.; Zhang, T.; Xie, J.; Wei, K.; Wang, S.; Yin, L.; He, P. Grain refinement and mechanical properties improvement of Inconel 625 alloy fabricated by ultrasonic-assisted wire and arc additive manufacturing. J. Alloys Compd. 2022, 910, 164957. [Google Scholar] [CrossRef]
- Legay, M.; Gondrexon, N.; Le Person, S.; Boldo, P.; Bontemps, A. Enhancement of Heat Transfer by Ultrasound: Review and Recent Advances. Int. J. Chem. Eng. 2011, 2011, 670108. [Google Scholar] [CrossRef]
- Wang, G.; Liu, Q.; Rao, H.; Liu, H.; Qiu, C. Influence of porosity and microstructure on mechanical and corrosion properties of a selectively laser melted stainless steel. J. Alloys Compd. 2020, 831, 154815. [Google Scholar] [CrossRef]
- Mathe, N.R.; Tshabalala, L.C.; Hoosain, S.; Motibane, L.; Du Plessis, A. The effect of porosity on the mechanical properties of Ti-6Al-4V components manufactured by high-power selective laser melting. Int. J. Adv. Manuf. Technol. 2021, 115, 3589–3597. [Google Scholar] [CrossRef]
- Kan, W.H.; Chiu, L.N.S.; Lim, C.V.S.; Zhu, Y.; Tian, Y.; Jiang, D.; Huang, A. A critical review on the effects of process-induced porosity on the mechanical properties of alloys fabricated by laser powder bed fusion. J. Mater. Sci. 2022, 57, 9818–9865. [Google Scholar] [CrossRef]
Disclaimer/Publisher’s Note: The statements, opinions and data contained in all publications are solely those of the individual author(s) and contributor(s) and not of MDPI and/or the editor(s). MDPI and/or the editor(s) disclaim responsibility for any injury to people or property resulting from any ideas, methods, instructions or products referred to in the content. |
© 2024 by the authors. Licensee MDPI, Basel, Switzerland. This article is an open access article distributed under the terms and conditions of the Creative Commons Attribution (CC BY) license (https://creativecommons.org/licenses/by/4.0/).