New Bioprecursor Prodrugs of Sulfadiazine: Synthesis, X-ray Structure and Hirshfeld Analysis
Abstract
:1. Introduction
2. Materials and Instrumentations
2.1. Materials and Equipments
2.2. Synthesis of (E)-4-(2-(3-Methyl-5-oxo-1-(pyridin-2-yl)-1H-pyrazol-4(5H)-ylidene) hydrazinyl)-N-(pyrimidin-2-yl)benzenesulfonamide (5)
2.3. X-ray Structure Analyses
2.4. Computational Methods
3. Results and Discussion
3.1. Chemistry
3.2. The Description of X-ray Structure of 5
3.3. Hirshfeld Surface Analysis
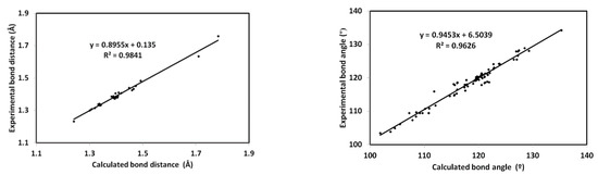
3.4. DFT Studies
3.5. NBO Analysis
4. Conclusions
Supplementary Materials
Author Contributions
Funding
Institutional Review Board Statement
Informed Consent Statement
Data Availability Statement
Acknowledgments
Conflicts of Interest
References
- Villa, D.F.; Aguilar, M.R.; Rojo, L. Folic Acid Antagonists: Antimicrobial and Immunomodulating Mechanisms and Applications. Int. J. Mol. Sci. 2019, 20, 4996. [Google Scholar] [CrossRef] [PubMed] [Green Version]
- Koshti, S.; Patil, P.A.; Patil, C.B.; Patil, A.S. Synthesis and Characterization of Prodrugs of Sulfonamides as an Azo Derivatives of Carvacrol. Der. Pharma. Chem. 2018, 10, 1–15. [Google Scholar]
- Pradere, U.; Garnier-Amblard, E.C.; Coats, S.J.; Amblard, F.; Schinazi, R.F. Synthesis of Nucleoside Phosphate and Phosphonate Prodrugs. Chem. Rev. 2014, 114, 9154–9218. [Google Scholar] [CrossRef] [PubMed] [Green Version]
- Cheng, A.V.; Wuest, W.M. Signed, Sealed, Delivered: Conjugate and Prodrug Strategies as Targeted Delivery Vectors for Antibiotics. ACS Infect Dis. 2019, 14, 816–828. [Google Scholar] [CrossRef] [PubMed]
- Gingell, R.; Bridges, J.W.; Williams, R.T. The Role of the Gut Flora in the Metabolism of Prontosil and Neoprontosil in the Rat. Xenobiotica 1971, 1, 143–156. [Google Scholar] [CrossRef]
- Ryan, A. Azoreductases in drug metabolism. Br. J. Pharmacol. 2017, 174, 2161–2173. [Google Scholar] [CrossRef] [Green Version]
- Gaffer, H.E. Antimicrobial sulphonamide azo dyes. Coloration Technol. 2019, 135, 484–500. [Google Scholar] [CrossRef]
- Gündüz, M.G.; Tahir, M.N.; Armakovic, S.; Koçak, C.O.; Armakovic, S.J. Design, synthesis and computational analysis of novel acridine-(sulfadiazine/sulfathiazole) hybrids as antibacterial agents. J. Mol. Struct. 2019, 1186, 39–49. [Google Scholar] [CrossRef]
- Ayoup, M.S.; Soliman, S.M.; Haukka, M.; Harras, M.F.; Menofy, N.G.E.; Ismail, M.M.F. Prodrugs of sulfacetamide: Synthesis, X-ray structure, Hirshfeld analysis, antibacterial assessment, and docking studies. J. Mol. Struct. 2022, 1251, 132017. [Google Scholar] [CrossRef]
- Ismail, M.M.F.; Ghorab, M.M.; Noaman, E.; Ammar, Y.A.; Heiba, H.I.; Sayed, M.Y. Novel synthesis of pyrrolo[2,3-d]pyrimidines bearing sulfonamide moieties as potential antitumor and radioprotective agents. Arzneim.-Forsch./Drug Res. 2006, 56, 301–308. [Google Scholar] [CrossRef]
- Ghorab, M.M.; Noaman, E.; Ismail, M.M.F.; Heiba, H.I.; Ammar, Y.A.; Sayed, M.Y. Novel Antitumor And Radioprotective Sulfonamides Containing Pyrrolo[2,3-D]Pyrimidines. Arzneimittelforschung 2006, 56, 405–413. [Google Scholar]
- El-Sayed, H.A.; Moustafa, A.H.; Fadda, A.A.; Abd El-Rahman, K.E. Pyrazole and Nicotinonitrile Derivatives Synthesized from Sulfa Drugs, and Their Antibacterial Activity. Russ. J. Gen. Chem. 2019, 89, 339–347. [Google Scholar] [CrossRef]
- Rikagu Oxford Diffraction. CrysAlisPro; Agilent Technologies Inc.: Oxfordshire, UK, 2018. [Google Scholar]
- Sheldrick, G.M. SHELXT-Integrated Space-Group and Crystal-Structure Determination. Acta Crystallogr. Sect. A Found. Adv. 2015, 71, 3–8. [Google Scholar] [CrossRef] [PubMed] [Green Version]
- Sheldrick, G.M. Crystal Structure Refinement with SHELXL. Acta Crystallogr. Sect. C Struct. Chem. 2015, 71, 3–8. [Google Scholar] [CrossRef] [PubMed]
- Hübschle, C.B.; Sheldrick, G.M.; Dittrich, B. ShelXle: A Qt graphical user interface for SHELXL. J. Appl. Crystallogr. 2011, 44, 1281–1284. [Google Scholar] [CrossRef] [PubMed] [Green Version]
- Turner, M.J.; McKinnon, J.J.; Wolff, S.K.; Grimwood, D.J.; Spackman, P.R.; Jayatilaka, D.; Spackman, M.A. Crystal Explorer17; University of Western Australia: Crawley, WA, Australia, 2017; Available online: http://hirshfeldsurface.net (accessed on 20 May 2017).
- Frisch, M.J.; Trucks, G.W.; Schlegel, H.B.; Scuseria, G.E.; Robb, M.A.; Cheeseman, J.R.; Scalmani, G.; Barone, V.; Mennucci, B.; Petersson, G.A.; et al. GAUSSIAN 09; Revision A02; Gaussian Inc.: Wallingford, CT, USA, 2009. [Google Scholar]
- GaussView; Version 4.1; Dennington, R., II; Keith, T.; Millam, J. (Eds.) Semichem Inc.: Shawnee Mission, KS, USA, 2007. [Google Scholar]
- Reed, A.E.; Curtiss, L.A.; Weinhold, F. Intermolecular interactions from a natural bond orbital, donor-acceptor viewpoint. Chem. Rev. 1988, 88, 899–926. [Google Scholar] [CrossRef]
- Foresman, J.B.; Frisch, Æ. Exploring Chemistry with Electronic Structure Methods, 2nd ed.; Gaussian: Pittsburgh, PA, USA, 1996. [Google Scholar]
- Chang, R. Chemistry, 7th ed.; McGraw-Hill: New York, NY, USA, 2001. [Google Scholar]
- Kosar, B.; Albayrak, C. Spectroscopic investigations and quantum chemical computational study of (E)-4-methoxy-2-[(p-tolylimino) methyl] phenol. Spectrochim. Acta 2011, 78, 160–167. [Google Scholar] [CrossRef]
- Koopmans, T.A. Ordering of wave functions and eigenenergies to the individual electrons of an atom. Physica 1933, 1, 104–113. [Google Scholar]
- Parr, R.G.; Yang, W. Density-Functional Theory of Atoms and Molecules; Oxford University Press: New York, NY, USA, 1989. [Google Scholar]
- Parr, R.G.; Szentpaly, L.V.; Liu, S. Electrophilicity index. J. Am. Chem. Soc. 1999, 121, 1922–1924. [Google Scholar] [CrossRef]
- Singh, R.N.; Kumar, A.; Tiwari, R.K.; Rawat, P.; Gupta, V.P. A combined experimental and quantum chemical (DFT and AIM) study on molecular structure, spectroscopic properties, NBO and multiple interaction analysis in a novel ethyl 4-[2-(carbamoyl) hydrazinylidene]-3, 5-dimethyl-1H-pyrrole-2-carboxylate and its dimer. J. Mol. Strut. 2013, 1035, 427–440. [Google Scholar] [CrossRef]
- Joe, I.H.; Kostova, I.; Ravikumar, C.; Amalanathan, M.; Cîntǎ Pînzaru, S. Theoretical and vibrational spectral investigation of sodium salt of acenocoumarol. J. Raman Spectrosc. 2009, 40, 1033–1038. [Google Scholar] [CrossRef]
- Sebastian, S.; Sundaraganesan, N. The spectroscopic (FT-IR, FT-IR gas phase, FT-Raman and UV) and NBO analysis of 4-Hydroxypiperidine by density functional method. Spectrochim. Acta Part A Mol. Biomol. Spectrosc. 2010, 75, 941–952. [Google Scholar] [CrossRef] [PubMed]
- Amer, A.; Ayoup, M.S.; Khattab, S.N.; Yassen, S.H.; Langer, V.; Senior, S.; El Massry, A. A regio- and stereo-controlled approach to triazoloquinoxalinyl C-nucleosides. Carbohydr. Res. 2010, 345, 2474–2484. [Google Scholar]










| 5 | |
|---|---|
| CCDC | 2179179 |
| empirical formula | C19H16N8O3S |
| fw | 436.46 |
| temp (K) | 120(2) K |
| λ (Å) | 1.54184 Å |
| cryst syst | Monoclinic |
| space group | C2/c |
| a (Å) | 21.8909(2) Å |
| b (Å) | 11.45860(10) Å |
| c (Å) | 15.77880(10) Å |
| β (deg) | 99.0430(10)° |
| V (Å3) | 3908.74(6) Å3 |
| Z | 8 |
| ρcalc (Mg/m3) | 1.483 Mg/m3 |
| μ (Mo Kα) (mm−1) | 1.839 mm−1 |
| No. reflections. | 33705 |
| Unique reflns. | 4133 |
| Completeness to θ = 67.684° | 99.9% |
| GOOF (F2) | 1.054 |
| Rint | 0.0241 |
| R1a (I ≥ 2σ) | 0.0368 |
| wR2b (I ≥ 2σ) | 0.1045 |
| Atoms | Distance | Atoms | Distance |
|---|---|---|---|
| S(1)-O(3) | 1.4264(11) | N(1)-C(1) | 1.341(2) |
| S(1)-O(2) | 1.4330(11) | N(2)-C(6) | 1.3857(18) |
| S(1)-N(6) | 1.6338(13) | N(2)-C(5) | 1.407(2) |
| S(1)-C(13) | 1.7600(15) | N(2)-N(3) | 1.4113(18) |
| O(1)-C(6) | 1.232(2) | N(3)-C(8) | 1.302(2) |
| N(1)-C(5) | 1.3377(19) | N(4)-C(7) | 1.309(2) |
| Atoms | Angle | Atoms | Angle |
| O(3)-S(1)-O(2) | 118.70(7) | C(5)-N(1)-C(1) | 116.22(15) |
| O(3)-S(1)-N(6) | 110.78(7) | C(6)-N(2)-C(5) | 128.94(14) |
| O(2)-S(1)-N(6) | 103.46(7) | C(6)-N(2)-N(3) | 111.73(13) |
| O(3)-S(1)-C(13) | 108.38(7) | C(5)-N(2)-N(3) | 119.17(12) |
| O(2)-S(1)-C(13) | 109.69(7) | C(8)-N(3)-N(2) | 107.33(12) |
| N(6)-S(1)-C(13) | 104.95(7) | C(7)-N(4)-N(5) | 118.00(16) |
| D–H···A | d(D–H) | d(H···A) | d(D···A) | <(DHA) |
|---|---|---|---|---|
| N(5)-H(5)···O(1) | 0.816(17) | 2.162(17) | 2.793(2) | 134.3(15) |
| N(6)-H(6)···N(3)#1 | 0.89(2) | 2.15(2) | 2.932(2) | 146.6(19) |
| Contact | Distance | Contact | Distance |
|---|---|---|---|
| O(3)…H3A | 2.354 | O(2)…H(12) | 2.396 |
| O(3)…H18 | 2.530 | N(7)…H(15) | 2.397 |
| O(2)…H19 | 2.360 | N(1)…H(6) | 2.430 |
| O(1)…H17 | 2.218 | N(3)…H(6) | 2.048 |
| O(3)…H9B | 2.473 | C(1)…C(15) | 3.211 |
| O(2)…H19 | 2.360 |
| (NBO)i b | (NBO)j c | E(2) | (NBO)i b | (NBO)j c | E(2) |
|---|---|---|---|---|---|
| BD(1) N 5-C13 | BD*(1) N 6-C21 | 4.69 | LP(2) O 2 | BD*(1) N 6-C22 | 26.42 |
| BD(1) N11-C40 | BD*(1) N10-C39 | 4.54 | LP(2) O 2 | BD*(1) C22-C23 | 15.47 |
| BD(1) N12-C44 | BD*(1) N10-C39 | 4.65 | LP(2) O 3 | BD*(1) S 1-N10 | 11.45 |
| BD(1) C23-C24 | BD*(1) O 2-C22 | 4.25 | LP(2) O 3 | BD*(1) S 1-C34 | 16.98 |
| BD(2) N 5-C21 | BD*(2) C13-C15 | 26.23 | LP(3) O 3 | BD*(1) S 1-O 4 | 19.91 |
| BD(2) N 5-C21 | BD*(2) C17-C19 | 12.15 | LP(3) O 3 | BD*(1) S 1-N10 | 13.36 |
| BD(2) N 7-C24 | BD*(2) N 8-C23 | 13.42 | LP(2) O 4 | BD*(1) S 1-O 3 | 5.62 |
| BD(2) N 8-C23 | BD*(2) N 7-C24 | 14.46 | LP(2) O 4 | BD*(1) S 1-N10 | 8.73 |
| BD(2) N 8-C23 | BD*(2) N 8-C23 | 6.18 | LP(2) O 4 | BD*(1) S 1-C34 | 18.62 |
| BD(2) N11-C40 | BD*(2) N12-C39 | 35.16 | LP(3) O 4 | BD*(1) S 1-O 3 | 16.79 |
| BD(2) N11-C40 | BD*(2) C42-C44 | 10.11 | LP(3) O 4 | BD*(1) S 1-N10 | 22.05 |
| BD(2) N12-C39 | BD*(2) N11-C40 | 9.19 | LP(1) N 5 | BD*(1) C13-C15 | 9.60 |
| BD(2) N12-C39 | BD*(2) C42-C44 | 30.90 | LP(1) N 5 | BD*(1) C19-C21 | 10.67 |
| BD(2) C13-C15 | BD*(2) N 5-C21 | 16.36 | LP(1) N 7 | BD*(1) N 6-C22 | 6.08 |
| BD(2) C13-C15 | BD*(2) C17-C19 | 23.01 | LP(1) N 7 | BD*(1) C23-C24 | 7.07 |
| BD(2) C17-C19 | BD*(2) N 5-C21 | 28.00 | LP(1) N 8 | BD*(1) C22-C23 | 12.04 |
| BD(2) C17-C19 | BD*(2) C13-C15 | 16.62 | LP(1) N10 | BD*(1) S 1-O 4 | 6.66 |
| BD(2) C29-C37 | BD*(2) C30-C32 | 15.87 | LP(1) N10 | BD*(1) S 1-C34 | 4.66 |
| BD(2) C29-C37 | BD*(2) C34-C35 | 25.53 | LP(1) N11 | BD*(1) N12-C39 | 13.62 |
| BD(2) C30-C32 | BD*(2) C29-C37 | 23.08 | LP(1) N11 | BD*(1) C40-C42 | 9.04 |
| BD(2) C30-C32 | BD*(2) C34-C35 | 16.50 | LP(1) N12 | BD*(1) N11-C39 | 13.60 |
| BD(2) C34-C35 | BD*(2) C29-C37 | 15.90 | LP(1) N12 | BD*(1) C42-C44 | 8.91 |
| BD(2) C34-C35 | BD*(2) C30-C32 | 22.37 | LP(1) N 6 | BD*(2) N 5-C21 | 38.97 |
| BD(2) C42-C44 | BD*(2) N11-C40 | 34.43 | LP(1) N 6 | BD*(2) N 7-C24 | 19.69 |
| BD(2) C42-C44 | BD*(2) N12-C39 | 12.76 | LP(1) N 9 | BD*(2) N 8-C23 | 46.68 |
| LP(1) N 9 | BD*(2) C29-C37 | 35.67 | |||
| LP(1) N10 | BD*(2) N12-C39 | 37.38 |
Publisher’s Note: MDPI stays neutral with regard to jurisdictional claims in published maps and institutional affiliations. |
© 2022 by the authors. Licensee MDPI, Basel, Switzerland. This article is an open access article distributed under the terms and conditions of the Creative Commons Attribution (CC BY) license (https://creativecommons.org/licenses/by/4.0/).
Share and Cite
Altowyan, M.S.; Soliman, S.M.; Ismail, M.M.F.; Haukka, M.; Barakat, A.; Ayoup, M.S. New Bioprecursor Prodrugs of Sulfadiazine: Synthesis, X-ray Structure and Hirshfeld Analysis. Crystals 2022, 12, 1016. https://doi.org/10.3390/cryst12081016
Altowyan MS, Soliman SM, Ismail MMF, Haukka M, Barakat A, Ayoup MS. New Bioprecursor Prodrugs of Sulfadiazine: Synthesis, X-ray Structure and Hirshfeld Analysis. Crystals. 2022; 12(8):1016. https://doi.org/10.3390/cryst12081016
Chicago/Turabian StyleAltowyan, Mezna Saleh, Saied M. Soliman, Magda M. F. Ismail, Matti Haukka, Assem Barakat, and Mohammed Salah Ayoup. 2022. "New Bioprecursor Prodrugs of Sulfadiazine: Synthesis, X-ray Structure and Hirshfeld Analysis" Crystals 12, no. 8: 1016. https://doi.org/10.3390/cryst12081016
APA StyleAltowyan, M. S., Soliman, S. M., Ismail, M. M. F., Haukka, M., Barakat, A., & Ayoup, M. S. (2022). New Bioprecursor Prodrugs of Sulfadiazine: Synthesis, X-ray Structure and Hirshfeld Analysis. Crystals, 12(8), 1016. https://doi.org/10.3390/cryst12081016

