Optimized Pore Structures of Hierarchical HY Zeolites for Highly Selective Production of Methyl Methoxyacetate
Abstract
1. Introduction
2. Results and Discussion
2.1. XRD Analysis
2.2. NH3-TPD Analysis
2.3. N2 Adsorption-Desorption Analysis
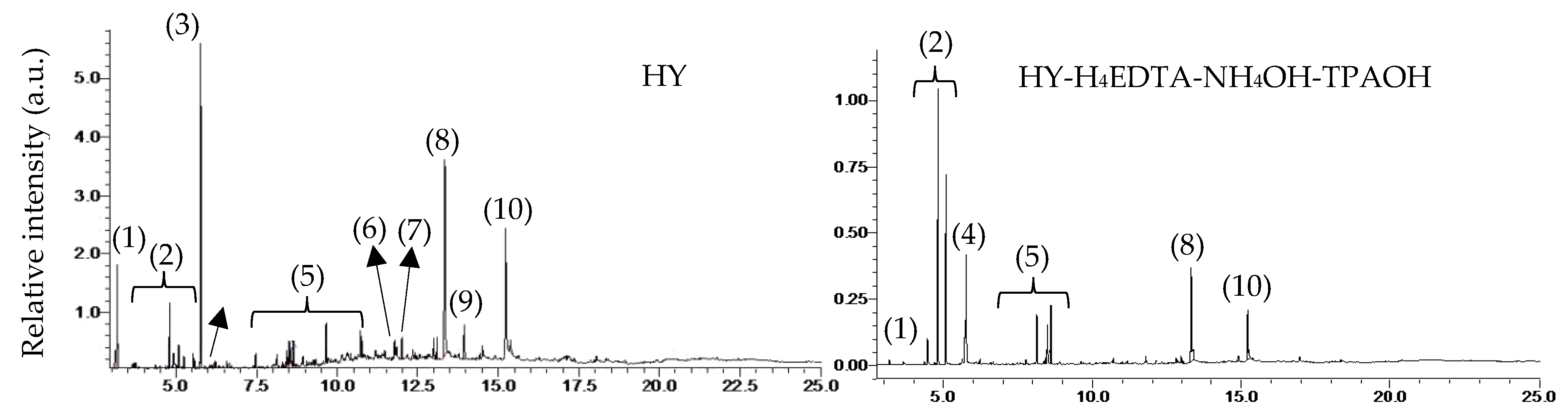
2.4. TG-DTA and GC-MS Analysis
2.5. Catalytic Performances of Different Samples for the Carbonylation of DMM
2.6. Catalytic Stability of HY, HY-H4EDTA-NH4OH, and HY-H4EDTA-NH4OH-TPAOH
3. Materials and Methods
3.1. Materials
3.2. Catalyst Preparation
3.3. Catalyst Characterization
3.4. Catalyst Test
4. Conclusions
Author Contributions
Funding
Acknowledgments
Conflicts of Interest
References
- Ivanova, I.I.; Kuznetsov, A.S.; Yuschenko, V.V.; Knyazeva, E.E. Design of composite micro/mesoporous molecular sieve catalysts. Pure Appl. Chem. 2004, 76, 1647–1657. [Google Scholar] [CrossRef]
- Xing, C.; Sun, J.; Yang, G.H.; Shen, W.Z.; Tan, L.; Zhu, P.F.; Wei, Q.H.; Li, J.; Kyodo, M.; Yang, R.Q.; et al. Tunable isoparaffin and olefin synthesis in Fischer–Tropsch synthesis achieved by composite catalyst. Fuel Process. Technol. 2015, 136, 68–72. [Google Scholar] [CrossRef]
- Gueudré, L.; Milina, M.; Mitchell, S.; Pérez-Ramírez, J. Superior mass transfer properties of technical zeolite bodies with hierarchical porosity. Adv. Funct. Mater. 2014, 24, 209–219. [Google Scholar] [CrossRef]
- Lei, Q.; Zhao, T.B.; Li, F.Y.; Zhang, L.L.; Wang, Y. Catalytic cracking of large molecules over hierarchical zeolites. Chem. Commun. 2006, 16, 1769–1771. [Google Scholar] [CrossRef] [PubMed]
- Sun, Y.Y.; Prins, R. Friedel-Crafts alkylations over hierarchical zeolite catalysts. Appl. Catal. A Gen. 2008, 336, 11–16. [Google Scholar] [CrossRef]
- Li, Y.X.; Huang, Y.H.; Guo, J.H.; Zhang, M.Y.; Wang, D.Z.; Wei, F.; Wang, Y. Hierarchical SAPO-34/18 zeolite with low acid site density for converting methanol to olefins. Catal. Today 2014, 233, 2–7. [Google Scholar] [CrossRef]
- Kim, S.H.; Chun, D.B.; Yoon, S.D.; Byun, H.S. Phase Behavior for the CO2 + Methyl Methoxyacetate and CO2 + Methyl trans-3-Methoxyacrylate Systems at Pressures from (5 to 20) MPa and Various Temperatures. J. Chem. Eng. Data 2016, 61, 1101–1108. [Google Scholar] [CrossRef]
- Balkenhohl, F.; Ditrich, K.; Hauer, B.; Ladner, W. Optisch aktive amine durch lipase-katalysierte methoxyacetylierung. J. Prakt. Chem. 1997, 339, 381–384. [Google Scholar] [CrossRef]
- Celik, F.E.; Kim, T.J.; Bell, A.T. Effect of zeolite framework type and Si/Al ratio on dimethoxymethane carbonylation. J. Catal. 2010, 270, 185–195. [Google Scholar] [CrossRef]
- Yue, H.R.; Zhao, Y.J.; Ma, X.B.; Gong, J.L. Ethylene glycol: Properties, synthesis, and applications. Chem. Soc. Rev. 2012, 41, 4218–4244. [Google Scholar] [CrossRef]
- Zhang, D.X.; Shi, L.; Wang, Y.; Chen, F.; Yao, J.; Li, X.Y.; Ni, Y.M.; Zhu, W.L.; Liu, Z.M. Effect of mass-transfer control on HY zeolites for dimethoxymethane carbonylation to methyl methoxyacetate. Catal. Today 2018, 316, 114–121. [Google Scholar] [CrossRef]
- Verboekend, D.; Vilé, G.; Pérez-Ramírez, J. Hierarchical Y and USY zeolites designed by post-synthetic strategies. Adv. Funct. Mater. 2012, 22, 916–928. [Google Scholar] [CrossRef]
- Groen, J.C.; Abelló, S.; Villaescusa, L.A.; Pérez-Ramírez, J. Mesoporous beta zeolite obtained by desilication. Microporous Mesoporous Mater. 2008, 114, 93–102. [Google Scholar] [CrossRef]
- Čižmek, A.; Subotić, B.; Aiello, R.; Crea, F.; Nastro, A.; Tuoto, C. Dissolution of high-silica zeolites in alkaline solutions I. Dissolution of silicalite-1 and ZSM-5 with different aluminum content. Microporous Mater. 1995, 4, 159–168. [Google Scholar]
- Verboekend, D.; Pérez-Ramírez, J. Desilication mechanism revisited: Highly mesoporous all-silica zeolites enabled through pore-directing agents. Chem. Eur. J. 2011, 17, 1137–1147. [Google Scholar] [CrossRef] [PubMed]
- Verboekend, D.; Milina, M.; Mitchell, S.; Pérez-Ramírez, J. Hierarchical zeolites by desilication: Occurrence and catalytic impact of recrystallization and restructuring. Cryst. Growth Des. 2013, 13, 5025–5035. [Google Scholar] [CrossRef]
- Verboekend, D.; Nuttens, N.; Locus, R.; Van Aelst, J.; Verolme, P.; Groen, J.C.; Pérez-Ramírez, J.; Sels, B.F. Synthesis, characterisation, and catalytic evaluation of hierarchical faujasite zeolites: Milestones, challenges, and future directions. Chem. Soc. Rev. 2016, 45, 3331–3352. [Google Scholar] [CrossRef]
- Liu, H.; Xie, S.J.; Xin, W.J.; Liu, S.L.; Xu, L.Y. Hierarchical ZSM-11 zeolite prepared by alkaline treatment with mixed solution of NaOH and CTAB: Characterization and application for alkylation of benzene with dimethyl Ether. Catal. Sci. Technol. 2016, 6, 1328–1342. [Google Scholar] [CrossRef]
- Verboekend, D.; Vilè, G.; Pérez-Ramírez, J. Mesopore formation in USY and beta zeolites by base leaching: Selection criteria and optimization of pore-directing agents. Cryst. Growth Des. 2012, 12, 3123–3132. [Google Scholar] [CrossRef]
- Van laak, A.N.C.; Zhang, L.; Parvulescu, A.N.; Bruijnincx, P.C.A.; Weckhuysen, B.M.; de Jong, K.P.; de Jongh, P.E. Alkaline treatment of template containing zeolites: Introducing mesoporosity while preserving acidity. Catal. Today 2011, 168, 48–56. [Google Scholar] [CrossRef]
- De Jong, K.P.; Zečević, J.; Friedrich, H.; de Jongh, P.E.; Bulut, M.; van Donk, S.; Kenmogne, R.; Finiels, A.; Hulea, V.; Fajula, F. Zeolite Y crystals with trimodal porosity as ideal hydrocracking catalysts. Angew. Chem. Int. Ed. 2010, 49, 10074–10078. [Google Scholar] [CrossRef] [PubMed]
- García-Martínez, J. Introduction of Mesoporosity into Inorganic Materials in The Presence of a Non-ionic Surfactant. US 20130183229A1, 18 July 2013. [Google Scholar]
- Ghosh, M.; Lohrasbi, M.; Chuang, S.S.C.; Jana, S.C. Mesoporous titanium dioxide nanofibers with a significantly enhanced photocatalytic activity. ChemCatChem 2016, 8, 2525–2535. [Google Scholar] [CrossRef]
- Liu, Z.H.; Hua, Y.J.; Wang, J.J.; Dong, X.L.; Tian, Q.W.; Han, Y. Recent progress in the direct synthesis of hierarchical zeolites: Synthetic strategies and characterization methods. Mater. Chem. Front. 2017, 1, 2195–2212. [Google Scholar] [CrossRef]
- Bai, R.S.; Song, Y.; Li, Y.; Yu, J.H. Creating Hierarchical Pores in Zeolite Catalysts. Trends Chem. 2019, 1, 601–611. [Google Scholar] [CrossRef]
- Sing, K.S.W.; Everett, D.H.; Haul, R.A.W.; Moscou, L.; Pierotti, R.A.; Rouquerol, J.; Siemieniewska, T. Reporting physisorption data for gas/solid systems-with special reference to the determination of surface area and porosity. Pure Appl. Chem. 1985, 57, 603–619. [Google Scholar] [CrossRef]
- Perez-Ramirez, J.; Abello, S.; Villaescusa, L.A.; Bonilla, A. Toward Functional Clathrasils: Size-and Composition-Controlled Octadecasil Nanocrystals by Desilication. Angew. Chem. Int. Ed. 2008, 47, 7913–7917. [Google Scholar] [CrossRef] [PubMed]
- Suzuki, T.; Okuhara, T. Change in pore structure of MFI zeolite by treatment with NaOH aqueous solution. Microporous Mesoporous Mater. 2001, 43, 83–89. [Google Scholar] [CrossRef]
- Li, X.; Shantz, D.F. PFG NMR Investigations of Tetraalkylammonium—Silica Mixtures. J. Phys. Chem. C 2010, 114, 8449–8458. [Google Scholar] [CrossRef]
- Zheng, J.J.; Yi, Y.M.; Wang, W.L.; Guo, K.; Ma, J.H.; Li, R.F. Synthesis of bi-phases composite zeolites MFZ and its hierarchical effects in isopropylbenzene catalytic cracking. Microporous Mesoporous Mater. 2013, 171, 44–52. [Google Scholar] [CrossRef]
- Yang, G.H.; Tsubaki, N.; Shamoto, J.; Yoneyama, Y.; Zhang, Y. Confinement Effect and Synergistic Function of H-ZSM-5/Cu-ZnO-Al2O3 Capsule Catalyst for One-Step Controlled Synthesis. J. Am. Chem. Soc. 2010, 132, 8129–8136. [Google Scholar] [CrossRef]
- Jin, D.F.; Zhu, B.; Hou, Z.Y.; Fei, J.H.; Lou, H.; Zheng, X.M. Dimethyl ether synthesis via methanol and syngas over rare earth metals modified zeolite Y and dual Cu–Mn–Zn catalysts. Fuel 2007, 86, 2707–2713. [Google Scholar] [CrossRef]
- Yaripour, F.; Baghaei, F.; Schmidt, I.; Perregaard, J. Catalytic dehydration of methanol to dimethyl ether (DME) over solid-acid catalysts. Catal. Commun. 2005, 6, 147–152. [Google Scholar] [CrossRef]
- Arena, F.; Dario, R.; Parmaliana, A. A characterization study of the surface acidity of solid catalysts by temperature programmed methods. Appl. Catal. A Gen. 1998, 170, 127–137. [Google Scholar] [CrossRef]
- Taufiqurrahmi, N.; Mohamed, A.R.; Bhatia, S. Nanocrystalline zeolite beta and zeolite Y as catalysts in used palm oil cracking for the production of biofuel. J. Nanoparticle Res. 2011, 13, 3177–3189. [Google Scholar] [CrossRef]
- Wang, L.; Wang, Y.; Wang, A.; Li, X.; Zhou, F.; Hu, Y. Highly acidic mesoporous aluminosilicates assembled from zeolitic subunits generated by controllable desilication of ZSM-5 in Na2SiO3 solution. Microporous Mesoporous Mater. 2013, 180, 242–249. [Google Scholar] [CrossRef]
- Cranston, R.W.; Inkley, F.A. The determination of pore structures from nitrogen adsorption isotherms. Adv. Catal. 1957, 9, 143–154. [Google Scholar]
- Verboekend, D.; Pérez-Ramírez, J. Design of hierarchical zeolite catalysts by desilication. Catal. Sci. Technol. 2011, 1, 879–890. [Google Scholar] [CrossRef]
- Pérez-Ramírez, J.; Verboekend, D.; Bonilla, A.; Abelló, S. Zeolite catalysts with tunable hierarchy factor by pore-growth moderators. Adv. Funct. Mater. 2009, 19, 3972–3979. [Google Scholar] [CrossRef]
- Shi, L.; Yao, J.; Zhu, W.L.; Liu, Z.M. Efficient sulfonic acid resin catalysts for carbonylation ofdimethoxymethane to value-added methyl methoxyacetate. J. CIESC 2017, 68, 3739–3746. [Google Scholar]
- Shapovalov, V.; Bell, A.T. Theoretical study of zeolite-catalyzed dimethoxymethane carbonylation to methyl methoxyacetate. J. Phys. Chem. C 2010, 114, 17753–17760. [Google Scholar] [CrossRef]
- Camblor, M.A.; Corma, A.; Valencia, S. Characterization of nanocrystalline zeolite Beta. Microporous Mesoporous Mater. 1998, 25, 59–74. [Google Scholar] [CrossRef]
- Guisnet, M.; Magnoux, P. Organic chemistry of coke formation. Appl. Catal. A Gen. 2001, 212, 83–96. [Google Scholar] [CrossRef]
- Palumbo, L.; Bonino, F.; Beato, P.; Bjørgen, M.; Zecchina, A.; Bordiga, S. Conversion of methanol to hydrocarbons: Spectroscopic characterization of carbonaceous species formed over H-ZSM-5. J. Phys. Chem. C 2008, 112, 9710–9716. [Google Scholar] [CrossRef]
- Guisnet, M.; Costa, L.; Ribeiro, F.R. Prevention of zeolite deactivation by coking. J. Mol. Catal. A Chem. 2009, 305, 69–83. [Google Scholar] [CrossRef]
- Chen, F.; Shi, L.; Yao, J.; Wang, Y.; Zhang, D.X.; Zhu, W.L.; Liu, Z.M. A highly efficient sulfonic acid resin for liquid-phase carbonylation of dimethoxymethane. Catal. Sci. Technol. 2018, 8, 580–590. [Google Scholar] [CrossRef]








| Catalysts | Crystallinity/% | Weak Acid Amount/mmol·g−1 | Medium-Strong Acid Amount/mmol·g−1 | Total Acid Amount/mmol·g−1 |
|---|---|---|---|---|
| T1 /370–550 K | T2 /550–850K | |||
| HY | 100 | 1.68 | 0.53 | 2.21 |
| HY-H4EDTA | 58.39 | 0.72 | 0.21 | 0.93 |
| HY-H4EDTA-TPABr | 61.80 | 0.59 | 0.32 | 0.91 |
| HY-H4EDTA-NH4OH | 53.50 | 0.63 | 0.20 | 0.83 |
| HY-H4EDTA-NH4OH-0.05TPAOH | − | 0.61 | 0.25 | 0.86 |
| HY-H4EDTA-NH4OH-TPAOH | 79.82 | 0.60 | 0.31 | 0.91 |
| HY-H4EDTA-NH4OH-TPABr | 79.39 | − | − | − |
| HY-H4EDTA-NH4OH-0.20TPAOH | − | 0.59 | 0.32 | 0.91 |
| HY-H4EDTA-0.20NH4OH-TPAOH | − | 0.62 | 0.26 | 0.88 |
| HY-H4EDTA-NaOH | 40.98 | 0.69 | 0.07 | 0.76 |
| HY-H4EDTA-NaOH-TPAOH | 60.08 | 0.63 | 0.23 | 0.86 |
| HY-H4EDTA-NaOH-TMAOH | 48.47 | − | − | − |
| Catalysts | Surface Area (m2/g) | Pore Volume (cm3/g) | ||||
|---|---|---|---|---|---|---|
| Total a | Micro b | External Area c | Total d | Micro e | Meso f | |
| HY | 682 | 556 | 126 | 0.40 | 0.27 | 0.13 |
| HY-H4EDTA | 816 | 552 | 264 | 0.46 | 0.22 | 0.24 |
| HY-H4EDTA-TPABr | 852 | 714 | 138 | 0.46 | 0.26 | 0.20 |
| HY-H4EDTA-NH4OH | 699 | 462 | 237 | 0.45 | 0.19 | 0.26 |
| HY-H4EDTA-NH4OH-TPAOH | 722 | 564 | 158 | 0.45 | 0.23 | 0.22 |
© 2019 by the authors. Licensee MDPI, Basel, Switzerland. This article is an open access article distributed under the terms and conditions of the Creative Commons Attribution (CC BY) license (http://creativecommons.org/licenses/by/4.0/).
Share and Cite
Chen, F.; Zhang, D.; Shi, L.; Wang, Y.; Xu, G. Optimized Pore Structures of Hierarchical HY Zeolites for Highly Selective Production of Methyl Methoxyacetate. Catalysts 2019, 9, 865. https://doi.org/10.3390/catal9100865
Chen F, Zhang D, Shi L, Wang Y, Xu G. Optimized Pore Structures of Hierarchical HY Zeolites for Highly Selective Production of Methyl Methoxyacetate. Catalysts. 2019; 9(10):865. https://doi.org/10.3390/catal9100865
Chicago/Turabian StyleChen, Fei, Dongxi Zhang, Lei Shi, Yan Wang, and Guangwen Xu. 2019. "Optimized Pore Structures of Hierarchical HY Zeolites for Highly Selective Production of Methyl Methoxyacetate" Catalysts 9, no. 10: 865. https://doi.org/10.3390/catal9100865
APA StyleChen, F., Zhang, D., Shi, L., Wang, Y., & Xu, G. (2019). Optimized Pore Structures of Hierarchical HY Zeolites for Highly Selective Production of Methyl Methoxyacetate. Catalysts, 9(10), 865. https://doi.org/10.3390/catal9100865

