Switching Regulator Based on a Non-Inverting Step-Down/Up DC–DC Converter for Lithium-Ion Battery Applications
Abstract
1. Introduction
- Step-down/up voltage with the non-cascade interconnection of stages, that increase power processing efficiency;
- Low number of active and passive switches as well as electrical components;
- Non-pulsating input current;
- Non-inverting output voltage;
- The input and output share a common ground.
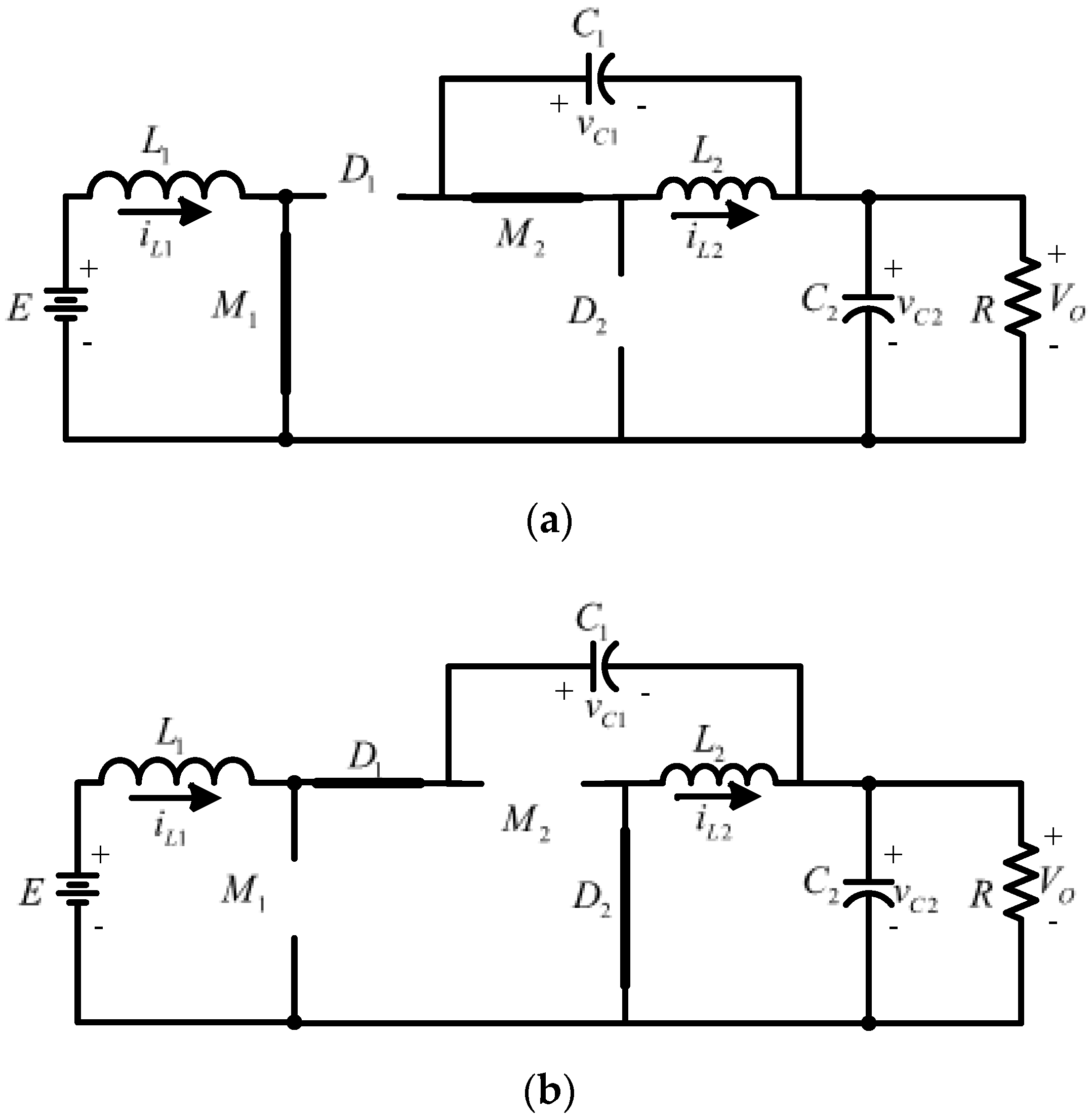
2. Analysis and Design of the Step-Down/Up Converter
2.1. Steady State Response
2.2. Component Selection
3. Modeling and Dynamical Analysis of Step-Down/Up Converter
4. Efficiency Analysis
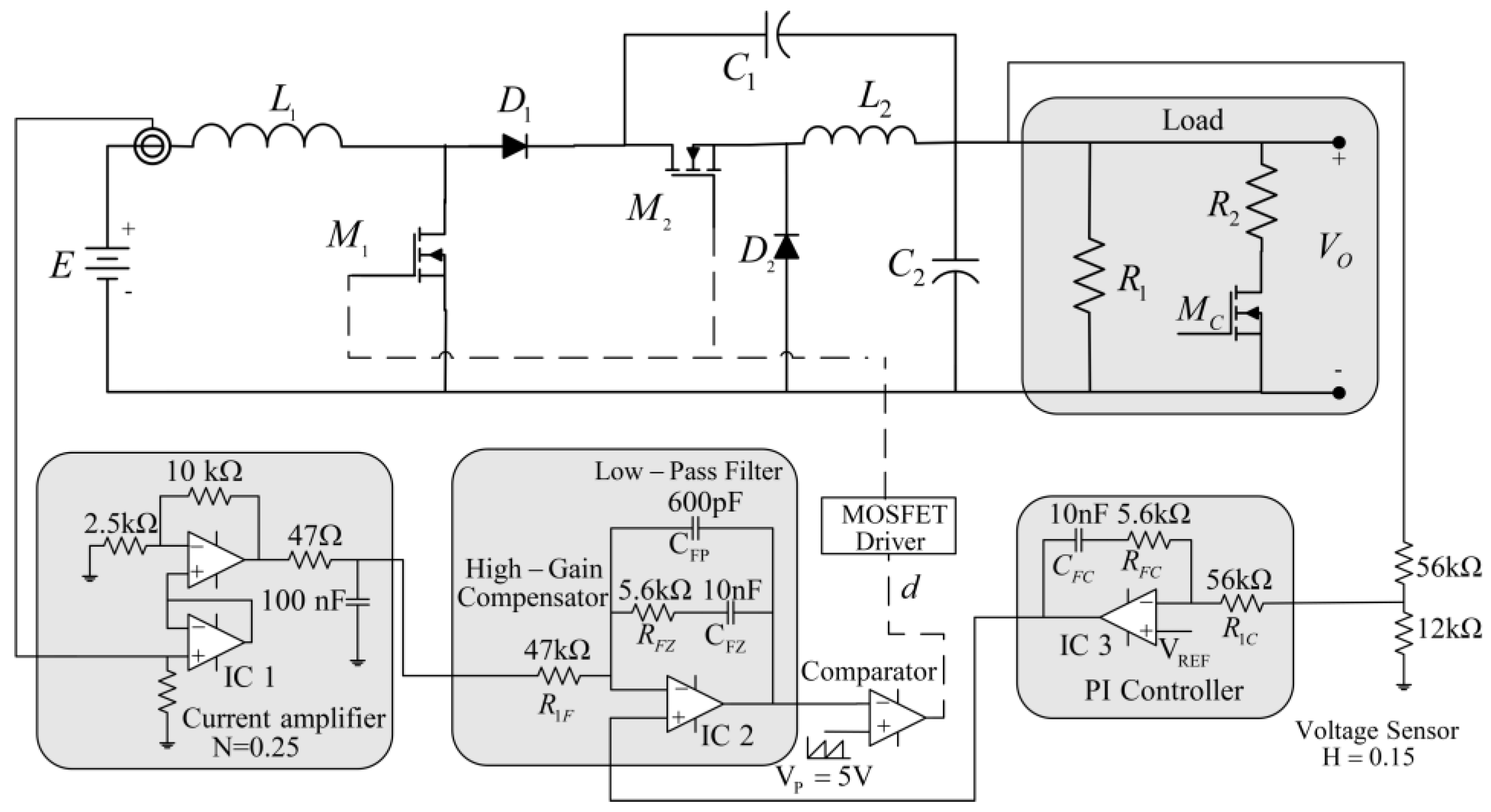
5. Control Design
5.1. Inner Loop
5.2. Outer Loop
6. Experimental Results
6.1. Open Loop Test
6.2. Closed-Loop Test
7. Concluding Remarks
Author Contributions
Funding
Data Availability Statement
Conflicts of Interest
References
- Beltrán, C.A.; Diaz-Saldierna, L.H.; Langarica-Cordoba, D.; Martinez-Rodriguez, P.R. Passivity-Based Control for Output Voltage Regulation in a Fuel Cell/Boost Converter System. Micromachines 2023, 14, 187. [Google Scholar] [CrossRef] [PubMed]
- Qin, Y.; Li, S.; Hui, S.Y. Topology-Transition Control For Wide-Input-Voltage-Range Efficiency Improvement and Fast Current Regulation in Automotive LED Applications. IEEE Trans. Ind. Electron. 2017, 64, 5883–5893. [Google Scholar] [CrossRef]
- Cavallo, A.; Russo, A.; Canciello, G. Hierarchical control for generator and battery in the more electric aircraft. Sci. China Inf. Sci. 2019, 62, 192–207. [Google Scholar] [CrossRef]
- Canciello, G.; Cavallo, A.; Lo Schiavo, A.; Russo, A. Multi-objective adaptive sliding manifold control for More Electric Aircraft. ISA Trans. 2020, 107, 316–328. [Google Scholar] [CrossRef] [PubMed]
- Kim, K.D.; Lee, H.M.; Hong, S.W.; Cho, G.H. A noninverting buck–boost converter with state-based current control for Li-ion battery management in mobile applications. IEEE Trans. Ind. Electron. 2019, 66, 9623–9627. [Google Scholar] [CrossRef]
- Geng, Z.; Hong, T.; Qi, K.; Ambrosio, J.; Gu, D. Modular regenerative emulation system for DC–DC converters in hybrid fuel cell vehicle applications. IEEE Trans. Veh. Technol. 2018, 67, 9233–9240. [Google Scholar] [CrossRef]
- Ren, X.; Tang, Z.; Ruan, X.; Wei, J.; Hua, G. Four Switch Buck-Boost Converter for Telecom DC-DC Power Supply Applications. In Proceedings of the 2008 Twenty-Third Annual IEEE Applied Power Electronics Conference and Exposition, Austin, TX, USA, 24–28 February 2008. [Google Scholar]
- Tsai, C.; Tsai, Y.; Liu, H. A stable mode-transition technique for a digitally controlled non-inverting buck–boost DC–DC converter. IEEE Trans. Ind. Electron. 2015, 62, 475–483. [Google Scholar] [CrossRef]
- Tsai, Y.-Y.; Tsai, Y.-S.; Tsai, C.-W.; Tsai, C.-H. Digital noninverting-buck–boost converter with enhanced duty-cycle-overlap control. IEEE Trans. Circuits Syst. II Express Briefs 2017, 64, 41–45. [Google Scholar] [CrossRef]
- Mishra, A.; De Smedt, V. A Novel Hybrid Buck-Boost Converter Topology for Li-ion Batteries with Increased Efficiency. In Proceedings of the 27th IEEE International Conference on Electronics, Circuits and Systems (ICECS), Glasgow, UK, 23–25 November 2020. [Google Scholar] [CrossRef]
- Wei, C.-L.; Wu, C.-H.; Wu, L.-Y.; Shih, M.-H. An Integrated Step-Up/Step-Down DC–DC Converter Implemented With Switched-Capacitor Circuits. IEEE Trans. Circuits Syst. II Express Briefs 2010, 57, 813–817. [Google Scholar] [CrossRef]
- Villanueva-Loredo, J.A.; Ortiz-Lopez, M.G.; Leyva-Ramos, J.; Diaz-Saldierna, L.H. Switching regulator based on switched-inductor SEPIC DC-DC converter with a continuous input current for lithium-ion batteries. IET Power Electron. 2021, 14, 982–991. [Google Scholar] [CrossRef]
- Houache, M.S.E.; Yim, C.-H.; Karkar, Z.; Abu-Lebdeh, Y. On the Current and Future Outlook of Battery Chemistries for Electric Vehicles—Mini Review. Batteries 2022, 8, 70. [Google Scholar] [CrossRef]
- Wu, Y. Lithium-Ion Batteries: Fundamentals and Applications; CRC Press: Boca Raton, FL, USA, 2015. [Google Scholar]
- Ahmed, M.H.; Lee, F.C.; Li, Q. Two-stage 48-V VRM with intermediate bus voltage optimization for data centers. IEEE J. Emerg. Sel. Top. Power Electron. 2021, 9, 702–715. [Google Scholar] [CrossRef]
- Hao, L.; Namuduri, C.S.; Gopalakrishnan, S.; Lee, C.J.; Shidore, N.S.; Pandi, M.; Vandermeir, T. Brushless fast starter for automotive engine start/stop application. IEEE Trans. Ind. Appl. 2020, 56, 6041–6052. [Google Scholar] [CrossRef]
- Selvanathan, K.; Govindarajan, U. A novel tri-capacity battery charger topology for low-voltage DC residential nanogrid. IET Renew. Power Gener. 2021, 15, 1648–61661. [Google Scholar] [CrossRef]
- Duan, C.; Wang, C.; Li, Z.; Chen, J.; Wang, S.; Snyder, A.; Jiang, C. A solar power-assisted battery balancing system for electric vehicles. IEEE Trans. Transp. Electrif. 2018, 4, 432–443. [Google Scholar] [CrossRef]
- Wildfeuer, L.; Gieler, P.; Karger, A. Combining the Distribution of Relaxation Times from EIS and Time-Domain Data for Parameterizing Equivalent Circuit Models of Lithium-Ion Batteries. Batteries 2021, 7, 52. [Google Scholar] [CrossRef]
- Brand, M.J.; Hofmann, M.H.; Schuster, S.S.; Keil, P.; Jossen, A. The influence of current ripples on the lifetime of lithium-ion batteries. IEEE Trans. Veh. Technol. 2018, 67, 10438–10455. [Google Scholar] [CrossRef]
- Savoye, F.; Venet, P.; Millet, M.; Groot, J. Impact of periodic current pulses on Li-Ion battery performance. IEEE Trans. Ind. Electron. 2012, 59, 3482–3488. [Google Scholar] [CrossRef]
- Krein, P. Elements of Power Electronics; Oxford University Press: Oxford, UK, 2014. [Google Scholar]
- Wei, A.; Lehman, B.; Bowhers, W.; Amirabadi, M. A soft-switching non-inverting buck-boost converter. In Proceedings of the 2021 IEEE Applied Power Electronics Conference and Exposition (APEC), Phoenix, AZ, USA, 14–17 June 2021. [Google Scholar]
- Cheng, X.-F.; Zhang, Y.; Yin, C. A Zero Voltage Switching Topology for Non-Inverting Buck–Boost Converter. IEEE Trans. Circuits Syst. II Express Briefs 2019, 66, 1557–1561. [Google Scholar] [CrossRef]
- Xue, J.; Lee, H. A 2-MHz 60-W Zero-Voltage-Switching Synchronous Noninverting Buck–Boost Converter With Reduced Component Values. IEEE Trans. Circuits Syst. II Express Briefs 2015, 62, 716–720. [Google Scholar] [CrossRef]
- Wu, K.-C.; Wu, H.-H.; Wei, C.-L. Analysis and Design of Mixed-Mode Operation for Noninverting Buck–Boost DC–DC Converter. IEEE Trans. Circuits Syst. II Express Briefs 2015, 62, 1194–1198. [Google Scholar] [CrossRef]
- Zarkov, Z.; Lazarov, V.; Bachev, I.; Stoyanov, L. Theoretical and Experimental Study of Interleaved Non-Inverting Buck-Boost Converter for RES. In Proceedings of the 2018 International Conference on High Technology for Sustainable Development (HiTech), Sofia, Bulgaria, 11–14 June 2018. [Google Scholar]
- Alajmi, B.N.; Marei, M.I.; Abdelsalam, I.; Ahmed, N.A. Multiphase Interleaved Converter Based on Cascaded Non-Inverting Buck-Boost Converter. IEEE Access 2022, 10, 42497–42506. [Google Scholar] [CrossRef]
- Chen, J.; Maksimović, D.; Erickson, R.W. Analysis and design of a low-stress buck-boost converter in universal-input PFC applications. IEEE Trans. Power Electron. 2006, 21, 320–329. [Google Scholar] [CrossRef]
- Gholizadeh, H.; Gorji, S.A.; Sera, D.A. Quadratic Buck-Boost Converter With Continuous Input and Output Currents. IEEE Access 2023, 11, 22376–22393. [Google Scholar] [CrossRef]
- Mayo-Maldonado, J.C.; Valdez-Resendiz, J.E.; Garcia-Vite, P.M.; Rosas-Caro, J.C.; del Rosario Rivera-Espinosa, M.; Valderrabano-Gonzalez, A. Quadratic Buck–Boost Converter with Zero Output Voltage Ripple at a Selectable Operating Point. IEEE Trans. Ind. Appl. 2019, 55, 2813–2822. [Google Scholar] [CrossRef]
- Tse, C.K.; Chow, M.H.L. Theoretical study of switching power converters with power factor correction and output regulation. IEEE Trans. Circuits Syst. I 2000, 47, 1047–1055. [Google Scholar] [CrossRef]
- Loera-Palomo, R.; Morales-Saldaña, J.A.; Palacios-Hernández, E. Quadratic step-down dc–dc converters based on reduced redundant power processing approach. IET Power Electron. 2013, 6, 136–145. [Google Scholar] [CrossRef]
- Zogogianni, C.G.; Tatakis, E.C.; Vekic, M.S. Non-Isolated Reduced Redundant Power Processing DC/DC Converters: A Systematic Study of Topologies With Wide Voltage Ratio for High-Power Applications. IEEE Trans. Power Electron. 2019, 34, 8491–8502. [Google Scholar] [CrossRef]
- Leyva-Ramos, J.; Villanueva-Loredo, J.A.; Ortiz-Lopez, M.G.; Diaz-Saldierna, L.H. A Non-Cascading Step-up/down DC-DC Converter with Non-Pulsating input Current for Lithium-ion Battery Applications: Analysis and Design. In Proceedings of the 2022 IEEE Applied Power Electronics Conference and Exposition (APEC), Houston, TX, USA, 20–24 March 2022. [Google Scholar]
- Kassakian, J.G.; Schlecht, M.F.; Verghese, G.C. Principles of Power Electronics; Pearson Education: London, England, 2010. [Google Scholar]
- Astrom, K.J.; Murray, R.M. Feedback Systems: An Introduction for Scientist and Engineers; Princeton University Press: Princeton, NJ, USA, 2008. [Google Scholar]
- López-Santos, O.; Martínez-Salamero, L.; García, G.; Valderrama-Blavi, H.; Mercuri, D.O. Efficiency analysis of a sliding-mode controlled quadratic boost converter. IET Power Electron. 2013, 6, 364–373. [Google Scholar] [CrossRef]
- Ridley, R.; Nace, A. Modeling Ferrite Core Losses. Available online: https://www.ridleyengineering.com (accessed on 15 May 2023).
- Górecki, K.; Detka, K. Analysis of influence of losses in the core of the inductor on parameters of the buck converter. In Proceedings of the 2018 Baltic URSI Symposium (URSI), Poznan, Poland, 14–17 May 2018. [Google Scholar] [CrossRef]
- Iqbal, J.; Ullah, M.; Khan, S.G.; Khelifa, B.; Ćuković, S. Nonlinear control systems—A brief overview of historical and recent advances. Nonlinear Eng. 2017, 6, 301–312. [Google Scholar] [CrossRef]
- Leyva-Ramos, J.; Ortiz-Lopez, M.G.; Diaz-Saldierna, L.H.; Martinez-Cruz, M. Average current controlled switching regulators with cascade boost converters. IET Power Electron. 2011, 4, 1–10. [Google Scholar] [CrossRef]




















| Component | Relationship |
|---|---|
| Component | Power Loss Equation |
|---|---|
| Reference | Voltage Gain | Number of Components | Efficiency | Continuous Input Current |
|---|---|---|---|---|
| [9] | D/(1 − D) | Switches 4 Diodes 2 Inductors 1 Capacitors 1 | η = 85.5 E = 2.5–4.5 V VO = 3.3 V P = 1 W | No |
| [10] | D/(1.5 − D) | Switches 6 Diodes 0 Inductors 3 Capacitors 1 | η = 95.7 E = 2.7–4.2 V VO = 3.3 V P = 1 W | Yes |
| [12] | D/2(1 − D) | Switches 1 Diodes 2 Inductors 2 Capacitors 3 | η = 90% E = 17.5–24 V VO = 21 V P = 120 W | Yes |
| [23] | D/(1 − D) | Switches 4 Diodes 1 Inductors 1 Capacitors 1 | η = 95.7 E = 48 V VO = 5–75 V P = 35 W | Yes |
| [24] | D/(1 − D) | Switches 4 Diodes 1 Inductors 5 Capacitors 5 | η = 88/94 E = 90 V VO = 90 V P = 100/350 W | No |
| [25] | D/(1 − D) | Switches 4 Diodes 0 Inductors 3 Capacitors 3 | η = 88.7/90.4 E = 44–60 V VO = 48 V P = 60 W | No |
| [30] | D/(1 − D)2 | Switches 2 Diodes 2 Inductors 3 Capacitors 3 | η = 92% E = 25 V VO = 100 V P = 100 W | Yes |
| [31] | D/(1 − D)2 | Switches 2 Diodes 2 Inductors 2 Capacitors 2 | η = 91.4% E = 36 V VO = 215 V P = 250 W | Yes |
| Proposed | D/(1 − D) | Switches 2 Diodes 2 Inductors 2 Capacitors 2 | η = 90.5% E = 40–56 V VO = 48 V P = 500 W | Yes |
| Parameter | Value |
|---|---|
| E | 40–56 V |
| VO | 48 V |
| fS | 100 kHz |
| 500 W | |
| R | 4.6 Ω |
| 0.5 | |
| (20% peak to peak ripple) | |
| (30% peak to peak ripple) | |
| (2% peak to peak ripple) | |
| (2% peak to peak ripple) |
| Component | Value | Serial Number |
|---|---|---|
| L1 | 120 µH | 1140121KRC |
| L2 | 82 µH | 1140820KRC |
| C1 | 56 µF | RNU1J560MDN1PH |
| C2 | 56 µF | RNU1J560MDN1PH |
| D1 | DSSK30018A | |
| D2 | DSSK30018A | |
| M1 | IRFP4668 | |
| M2 | IRFP4668 |
| Transfer Function | Poles | Zeros |
|---|---|---|
| Parasitic Element | Value | Power Loss |
|---|---|---|
| 28 mΩ | = 3 W | |
| W | ||
| 23 mΩ | = 2.5 W | |
| W | ||
| 25 mΩ | = 2.7 W | |
| 25 mΩ | = 2.7 W | |
| 0.88 V | = 4.58 W | |
| 0.88 V | = 4.58 W | |
| 9.7 mΩ | = 14.7 W | |
| 146 ns | ||
| 138 ns | ||
| 9.7 mΩ | = 14.7 W | |
| 146 ns | ||
| 138 ns | ||
| Total Power loss | ||
| Power | 100 W | 200 W | 300 W | 400 W | 500 |
|---|---|---|---|---|---|
| Power loss | 8.55 W | 16.95 W | 26.9 | 37.81 | 49.56 |
| Efficiency (%) | 92.1 | 92.2 | 91.7 | 91.3 | 90.9 |
Disclaimer/Publisher’s Note: The statements, opinions and data contained in all publications are solely those of the individual author(s) and contributor(s) and not of MDPI and/or the editor(s). MDPI and/or the editor(s) disclaim responsibility for any injury to people or property resulting from any ideas, methods, instructions or products referred to in the content. |
© 2023 by the authors. Licensee MDPI, Basel, Switzerland. This article is an open access article distributed under the terms and conditions of the Creative Commons Attribution (CC BY) license (https://creativecommons.org/licenses/by/4.0/).
Share and Cite
Villanueva-Loredo, J.A.; Ortiz-Lopez, M.G.; Leyva-Ramos, J.; Diaz-Saldierna, L.H. Switching Regulator Based on a Non-Inverting Step-Down/Up DC–DC Converter for Lithium-Ion Battery Applications. Micromachines 2023, 14, 1144. https://doi.org/10.3390/mi14061144
Villanueva-Loredo JA, Ortiz-Lopez MG, Leyva-Ramos J, Diaz-Saldierna LH. Switching Regulator Based on a Non-Inverting Step-Down/Up DC–DC Converter for Lithium-Ion Battery Applications. Micromachines. 2023; 14(6):1144. https://doi.org/10.3390/mi14061144
Chicago/Turabian StyleVillanueva-Loredo, Juan Antonio, Ma Guadalupe Ortiz-Lopez, Jesus Leyva-Ramos, and Luis Humberto Diaz-Saldierna. 2023. "Switching Regulator Based on a Non-Inverting Step-Down/Up DC–DC Converter for Lithium-Ion Battery Applications" Micromachines 14, no. 6: 1144. https://doi.org/10.3390/mi14061144
APA StyleVillanueva-Loredo, J. A., Ortiz-Lopez, M. G., Leyva-Ramos, J., & Diaz-Saldierna, L. H. (2023). Switching Regulator Based on a Non-Inverting Step-Down/Up DC–DC Converter for Lithium-Ion Battery Applications. Micromachines, 14(6), 1144. https://doi.org/10.3390/mi14061144

