Simulation of a Miniature Linear Ion Trap with Half-Round Rod Electrodes
Abstract
1. Introduction
2. Simulation Methods
2.1. Calculation of Electric Fields
2.2. Modeling and Simulation
3. Results and Discussion
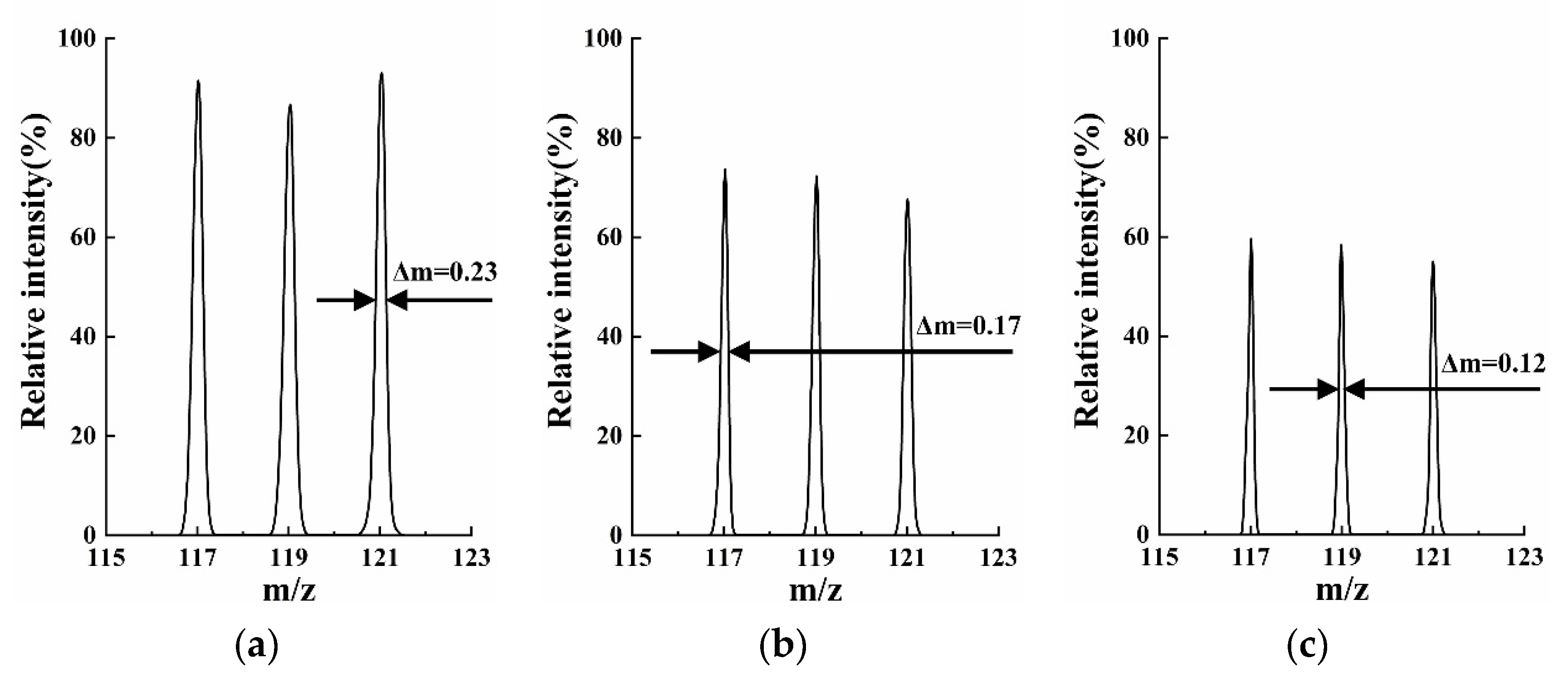
3.1. The Impact of r/rx
3.2. The Impact of “Stretch” Distance
3.3. Further Investigation of MS Capability
4. Conclusions
Author Contributions
Funding
Data Availability Statement
Acknowledgments
Conflicts of Interest
References
- Shen, J.; Chen, Y.; Sun, Y.; Liu, L.; Pan, Y.; Lin, W. Detection of biosignatures in terrestrial Mars analogs: Strategical and technical assessments. Earth Planet. Phys. 2022, 6, 431–450. [Google Scholar] [CrossRef]
- Sun, J.; Niu, H.; Tan, G.; Guo, M.; Ren, Z.; Li, G.; Zhang, J.; Huang, Z.; Zhou, Z. Miniaturized time-of-flight mass spectrometer for lunar water detection. Vacuum 2022, 204, 111312. [Google Scholar] [CrossRef]
- Zhong, X.; Nayak, S.; Guo, L.; Raidas, S.; Zhao, Y.; Weiss, R.; Andisik, M.; Elango, C.; Sumner, G.; Irvin, S.C.; et al. Liquid Chromatography-Multiple Reaction Monitoring-Mass Spectrometry Assay for Quantitative Measurement of Therapeutic Antibody Cocktail REGEN-COV Concentrations in COVID-19 Patient Serum. Anal. Chem. 2021, 93, 12889–12898. [Google Scholar] [CrossRef] [PubMed]
- Paul, W.; Steinwedel, H. Notizen: Ein neues Massenspektrometer ohne Magnetfeld. Z. Für Nat. A 1953, 8, 448–450. [Google Scholar] [CrossRef]
- Schwartz, J.C.; Senko, M.W.; Syka, J.E.P. A two-dimensional quadrupole ion trap mass spectrometer. J. Am. Soc. Mass Spectrom. 2002, 13, 659–669. [Google Scholar] [CrossRef]
- Church, D.A. Storage-Ring Ion Trap Derived from the Linear Quadrupole Radio-Frequency Mass Filter. J. Appl. Phys. 1969, 40, 3127–3134. [Google Scholar] [CrossRef]
- Wells, J.M.; Badman, E.R.; Cooks, R.G. A Quadrupole Ion Trap with Cylindrical Geometry Operated in the Mass-Selective Instability Mode. Anal. Chem. 1998, 70, 438–444. [Google Scholar] [CrossRef]
- Ouyang, Z.; Wu, G.; Song, Y.; Li, H.; Plass, W.R.; Cooks, R.G. Rectilinear Ion Trap: Concepts, Calculations, and Analytical Performance of a New Mass Analyzer. Anal. Chem. 2004, 76, 4595–4605. [Google Scholar] [CrossRef]
- Xiao, Y.; Ding, Z.; Xu, C.; Dai, X.; Fang, X.; Ding, C.-F. Novel Linear Ion Trap Mass Analyzer Built with Triangular Electrodes. Anal. Chem. 2014, 86, 5733–5739. [Google Scholar] [CrossRef]
- Li, X.; Zhang, X.; Yao, R.; He, Y.; Zhu, Y.; Qian, J. Design and Performance Evaluation of a Linear Ion Trap Mass Analyzer Featuring Half Round Rod Electrodes. J. Am. Soc. Mass Spectrom. 2015, 26, 734–740. [Google Scholar] [CrossRef]
- Yang, M.; Kim, T.-Y.; Hwang, H.-C.; Yi, S.-K.; Kim, D.-H. Development of a palm portable mass spectrometer. J. Am. Soc. Mass Spectrom. 2008, 19, 1442–1448. [Google Scholar] [CrossRef]
- Ladd, D. Actionable Information from High Pressure Mass Spectrometry. 908 Devices 2017. Available online: https://908devices.com/products/mx908/ (accessed on 15 August 2022).
- Austin, D.E.; Wang, M.; Tolley, S.E.; Maas, J.D.; Hawkins, A.R.; Rockwood, A.L.; Tolley, H.D.; Lee, E.D.; Lee, M.L. Halo Ion Trap Mass Spectrometer. Anal. Chem. 2007, 79, 2927–2932. [Google Scholar] [CrossRef]
- Yu, M.; Fico, M.; Kothari, S.; Ouyang, Z.; Chappell, W.J. Polymer-Based Ion Trap Chemical Sensor. IEEE Sens. J. 2006, 6, 1429–1434. [Google Scholar] [CrossRef]
- Gang, H.; Yi, C.; Fei, T.; Li-Tao, L.; Xiaohao, W. Optimization and simulation of MEMS rectilinear ion trap. AIP Adv. 2015, 5, 041303. [Google Scholar] [CrossRef]
- Szyszka, P.; Jendryka, J.; Białas, M.; Grzebyk, T. Towards 3D Printed Compact Quadrupole Mass Spectrometer with MEMS Components. In Proceedings of the 2021 IEEE 20th International Conference on Micro and Nanotechnology for Power Generation and Energy Conversion Applications (PowerMEMS), Exeter, UK, 6–8 December 2021; pp. 144–147. Available online: https://ieeexplore.ieee.org/document/9658391 (accessed on 15 August 2022).
- Zhang, Q.; Lu, X.; Chen, T.; Xiao, Y.; Yao, R.; Yao, J. A Miniature Four-Channel Ion Trap Array Based on Non-silicon MEMS Technology. Micromachines 2021, 12, 831. [Google Scholar] [CrossRef]
- Douglas, D.; Konenkov, N. Mass resolution of linear quadrupole ion traps with round rods. Rapid Commun. Mass Spectrom. 2014, 28, 2252–2258. [Google Scholar] [CrossRef]
- Wu, H.; Zhang, L.; Zhang, Z.; Qian, J.; Zhang, S.; Zhang, Y.; Ge, S.; Li, X. Simulation of Unidirectional Ion Ejection in an Asymmetric Half-Round Rod Electrode Linear Ion Trap Mass Analyzer. J. Am. Soc. Mass Spectrom. 2018, 29, 2096–2104. [Google Scholar] [CrossRef]
- Zhang, Y.; Wu, H.; Rujiao, Y.; Qian, J.; Ge, S.; Ma, Q.; Bai, H.; Xiao, Y.; Li, X. Simulation of unidirectional ion ejection in linear ion traps with asymmetric radiofrequency voltage. Rapid Commun. Mass Spectrom. 2020, 34, e8731. [Google Scholar] [CrossRef]
- Sudakov, M.Y.; Apatskaya, M.V.; Vitukhin, V.V.; Trubitsyn, A.A. A new linear ion trap with simple electrodes. J. Anal. Chem. 2012, 67, 1057–1065. [Google Scholar] [CrossRef]
- Li, X.; Jiang, G.; Luo, C.; Xu, F.; Wang, Y.; Ding, L.; Ding, C.-F. Ion Trap Array Mass Analyzer: Structure and Performance. Anal. Chem. 2009, 81, 4840–4846. [Google Scholar] [CrossRef]
- Rajanbabu, N.; Chatterjee, A.; Menon, A.G. Motional coherence during resonance ejection of ions from Paul traps. Int. J. Mass Spectrom. 2007, 261, 159–169. [Google Scholar] [CrossRef]







| Radius (mm) | Δry (mm) | |||||||
|---|---|---|---|---|---|---|---|---|
| 0.3 | 0.5 | 0.7 | 0.9 | 1.1 | 1.3 | 1.5 | 1.7 | |
| rx | 1.4 | 1.4 | 1.4 | 1.4 | 1.4 | 1.4 | 1.4 | 1.4 |
| ry | 1.7 | 1.9 | 2.1 | 2.3 | 2.5 | 2.7 | 2.9 | 3.1 |
Publisher’s Note: MDPI stays neutral with regard to jurisdictional claims in published maps and institutional affiliations. |
© 2022 by the authors. Licensee MDPI, Basel, Switzerland. This article is an open access article distributed under the terms and conditions of the Creative Commons Attribution (CC BY) license (https://creativecommons.org/licenses/by/4.0/).
Share and Cite
Lu, X.; Yeow, J.T.W.; Jiang, G.; Xiao, Y.; Yao, R.; Zhang, Q.; Song, J.; Yao, J. Simulation of a Miniature Linear Ion Trap with Half-Round Rod Electrodes. Micromachines 2022, 13, 1572. https://doi.org/10.3390/mi13101572
Lu X, Yeow JTW, Jiang G, Xiao Y, Yao R, Zhang Q, Song J, Yao J. Simulation of a Miniature Linear Ion Trap with Half-Round Rod Electrodes. Micromachines. 2022; 13(10):1572. https://doi.org/10.3390/mi13101572
Chicago/Turabian StyleLu, Xichi, John T. W. Yeow, Gongyu Jiang, Yu Xiao, Rujiao Yao, Qi Zhang, Jiacheng Song, and Jinyuan Yao. 2022. "Simulation of a Miniature Linear Ion Trap with Half-Round Rod Electrodes" Micromachines 13, no. 10: 1572. https://doi.org/10.3390/mi13101572
APA StyleLu, X., Yeow, J. T. W., Jiang, G., Xiao, Y., Yao, R., Zhang, Q., Song, J., & Yao, J. (2022). Simulation of a Miniature Linear Ion Trap with Half-Round Rod Electrodes. Micromachines, 13(10), 1572. https://doi.org/10.3390/mi13101572

