Next Article in Journal
Hierarchical Design of CuO/Nickel–Cobalt–Sulfide Electrode by a Facile Two-Step Potentiostatic Deposition
Next Article in Special Issue
4H-SiC LDMOS Integrating a Trench MOS Channel Diode for Improved Reverse Recovery Performance
Previous Article in Journal
An In-Situ Tester for Extracting Piezoresistive Coefficients
Previous Article in Special Issue
Low Switching Loss Built-In Diode of High-Voltage RC-IGBT with Shortened P+ Emitter
 
 
Font Type:
Arial Georgia Verdana
Font Size:
Aa Aa Aa
Line Spacing:
Column Width:
Background:
Article

Numerical Investigation of Transient Breakdown Voltage Enhancement in SOI LDMOS by Using a Step P-Type Doping Buried Layer

1
School of Electrical Engineering and Electronic Information, Xihua University, Chengdu 610039, China
2
Department of Intelligent Systems, Hiroshima Institute of Technology, Hiroshima 7315193, Japan
3
School of Mechanical Engineering, Sichuan University, Chengdu 610065, China
*
Author to whom correspondence should be addressed.
Micromachines 2023, 14(4), 887; https://doi.org/10.3390/mi14040887
Submission received: 28 February 2023 / Revised: 15 April 2023 / Accepted: 17 April 2023 / Published: 20 April 2023
(This article belongs to the Special Issue Power Semiconductor Devices and Applications)

Abstract

In this paper, the transient breakdown voltage (TrBV) of a silicon-on-insulator (SOI) laterally diffused metal-oxide-semiconductor (LDMOS) device was increased by introducing a step P-type doping buried layer (SPBL) below the buried oxide (BOX). Device simulation software MEDICI 0.13.2 was used to investigate the electrical characteristics of the new devices. When the device was turned off, the SPBL could enhance the reduced surface field (RESURF) effect and modulate the lateral electric field in the drift region to ensure that the surface electric field was evenly distributed, thus increasing the lateral breakdown voltage (BVlat). The enhancement of the RESURF effect while maintaining a high doping concentration in the drift region (Nd) in the SPBL SOI LDMOS resulted in a reduction in the substrate doping concentration (Psub) and an expansion of the substrate depletion layer. Therefore, the SPBL both improved the vertical breakdown voltage (BVver) and suppressed an increase in the specific on-resistance (Ron,sp). The results of simulations showed a 14.46% higher TrBV and a 46.25% lower Ron,sp for the SPBL SOI LDMOS compared to those of the SOI LDMOS. As the SPBL optimized the vertical electric field at the drain, the turn-off non-breakdown time (Tnonbv) of the SPBL SOI LDMOS was 65.64% longer than that of the SOI LDMOS. The SPBL SOI LDMOS also demonstrated that TrBV was 10% higher, Ron,sp was 37.74% lower, and Tnonbv was 10% longer than those of the double RESURF SOI LDMOS.

1. Introduction

In the passing years, as the number of electric vehicles, charging piles, and intelligent electronic equipment is on the rise, there is a sustained and strong demand for power MOSFET. Despite those wide bandgap semiconductor power devices such as SiC and GaN developing in leaps and bounds, silicon devices still occupy the largest market share due to their low cost and mature technology. A silicon-on-insulator (SOI) laterally diffused metal-oxide-semiconductor (LDMOS) devices offer the advantages of high speed, low loss, and easy integration and are widely used in power integrated circuits [1,2,3,4,5]. Breakdown voltage (BV) is an important performance indicator of the SOI LDMOS and comprises the static BV (StBV) and the transient BV (TrBV). An electron inversion layer is formed under the buried oxide (BOX) of the SOI LDMOS in static conditions, such that there is no deep depletion (DD) effect in the substrate, which sustains very little StBV [6,7]. Thus, the device has low StBV. Scholars have obtained many results after long-term research on StBV. Some of these results have been obtained using an analytical model of StBV [8,9,10,11,12,13,14], and others are related to new structures [15,16,17,18,19,20,21,22,23,24,25,26,27], in some of which StBV can reach more than 1000 V [25,26,27]. However, when a device is turned off rapidly, there is insufficient time for an electron inversion layer to form under the BOX, which can induce a DD effect in the substrate. The depletion layer in the substrate can sustain a portion of TrBV [6]. E. Napoli proposed a one-dimensional TrBV analytical model [7] and performed simulations and experiments [6,28,29] that verified that an appropriate reduction in the substrate doping concentration (Psub) of the SOI LDMOS can increase TrBV. In [30], a new device structure is proposed that achieves a good trade-off between TrBV and specific on-resistance (Ron,sp). Like StBV, TrBV is determined by the smaller of the lateral breakdown voltage (BVlat) and the vertical breakdown voltage (BVver). Studies have shown that although reducing the Psub can promote expansion of the depletion layer and increase BVver, the surface field (RESURF) effect is reduced [31]. An extremely low Psub can lead to an increase in the surface electric field at the source and premature breakdown, thus reducing BVlat and resulting in a substantial decrease in TrBV [31]. Therefore, the doping concentration in the drift region (Nd) needs to be reduced simultaneously to obtain high TrBV [31], whereby Ron,sp is also considerably increased. Double RESURF, step doping in the drift region, and linear variable doping in the drift region techniques are commonly applied to improve BVlat of SOI LDMOS devices [32,33,34,35]. If BVlat limits TrBV, these three techniques can also enhance TrBV. SOI LDMOS with a P-top layer is called a double RESURF SOI LDMOS (D-RESURF SOI LDMOS), whose P-top layer can improve BVlat and lower Ron,sp [33,34]. The lateral electric field distribution in the drift region of devices with step doping and a linear variable doping profile is more uniform than that of conventional devices. Therefore, they can achieve higher TrBV at the same drift region length. However, they have high Ron,sp due to the too-low doping concentration in the drift region near the source optimizing for TrBV, and these two techniques are often suitable for ultra-thin SOI devices.
TrBV is an important performance indicator for high-speed SOI LDMOS switching devices. To improve TrBV and suppress the increase in Ron,sp, a SPBL was introduced below the BOX of the SOI LDMOS. The SPBL could optimize the lateral and vertical electric fields of the device and improve the TrBV of the device without increasing the Ron,sp. The simulation results showed that the TrBV of SPBL SOI LDMOS was higher than that of SOI LDMOS and D-RESURF SOI LDMOS, and the Ron,sp was lower. As the vertical electric field was optimized, the turn-off non-breakdown time (Tnonbv) of the SPBL SOI LDMOS was longer than that of the SOI LDMOS and D-RESURF SOI LDMOS.

2. Device Structure and Simulation Settings

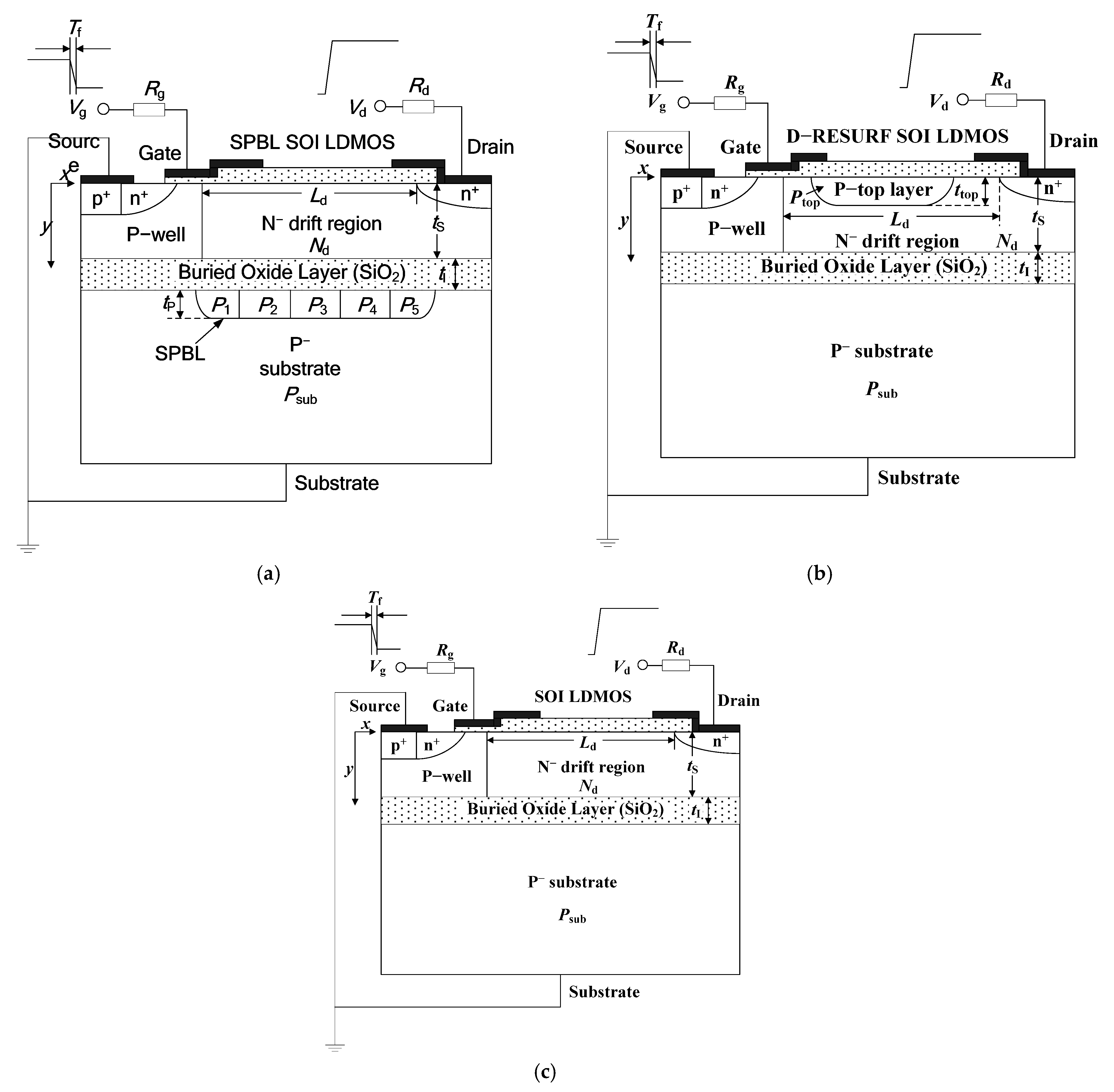
Figure 1a shows the SPBL SOI LDMOS device structure and simulation circuit, which differ from those of the conventional SOI LDMOS device shown in Figure 1c in that there was an SPBL below the BOX. The SPBL was divided into five-step P-type doping regions, and the doping concentration decreased from P1 to P5 by the same difference. x and y represent lateral distance from the left edge of the device and vertical distance from the top silicon surface, respectively. When the device is turned off, the high-concentration doping region of the SPBL near the source can enhance the RESURF effect and reduce the surface electric field at the source, whereas the low-concentration doping region near the drain promotes the downward expansion of the substrate depletion layer. After the SPBL is depleted, the negative charges in the SPBL exhibit a stepped distribution. This charge distribution has a significant modulation effect on the lateral electric field in the drift region, which causes the surface electric field in the middle to rise. The enhancement of the RESURF effect by the SPBL can decrease Psub. Therefore, the SPBL enables the device to maintain a small Ron,sp and increases BVlat and BVver. Figure 1b shows the D-RESURF SOI LDMOS. A P-type doping layer, namely the P-top layer, is on the top of the drift region. Ptop and ttop are the doping concentration and depth of the P-top layer, respectively. At high Nd, the source surface electric field of SOI LDMOS increases rapidly with the increase of drain voltage. However, the P-top layer in D-RESURF SOI LDMOS can effectively reduce the increasing speed of the surface electric field at the source and obtain higher StBV. If optimized for StBV, the Nd of the D-RESURF SOI LDMOS is twice that of SOI LDMOS. In other words, the Ron,sp of the D-RESURF SOI LDMOS is smaller than that of SOI LDMOS at the same StBV. For TrBV, the P-top layer can also enhance the RESURF effect, maintain high BV, and obtain lower Ron,sp. As mentioned in the introduction, most step doping SOI LDMOS and linear variable doping SOI LDMOS are usually ultra-thin SOI devices, and their Ron,sp is high. Therefore, they were not added to the paper as a reference.
Step doping profile can be achieved by adjusting the implantation window width and multiple ion implantations [34]. The main manufacturing process of the SPBL SOI LDMOS is shown in Figure 2. First, a P-type substrate was lithographically aligned, followed by boron-ion implantation from the window to form the first doping region. Next, the window width was doubled to the right, and another boron-ion implantation was performed to form the second doped region. After five consecutive ion implantations, a SPBL was formed, as in Figure 2c. Then, SiO2 was deposited on the P-type substrate to form a BOX; the BOX and substrate were treated with double-sided lithography for alignment marks, and the SiO2 was planarized. Finally, the n-type SOI layer was bonded to the BOX, the SOI layer was thinned, and the lithography was aligned with the marks. The rest of the SPBL SOI LDMOS manufacturing steps are compatible with the standard manufacturing process of the SOI LDMOS. Device fabrication steps and costs increase with the number of doping regions. Therefore, the number was two or three, and the cost could be effectively controlled.
The device parameters of the SOI LDMOS and the D-RESURF SOI LDMOS are listed in Table 1, while those of the D-RESURF SOI LDMOS are described later. To make a fair comparison of the TrBVs of the three devices, their Psub was set to 2 × 1014 cm−3, and the Nd of the SOI LDMOS was optimized to 2.4 × 1015 cm−3 based on the TrBV. To obtain a small Ron,sp in the SPBL SOI LDMOS and the D-RESURF SOI LDMOS, Nd was set to 5 × 1015 cm−3. Optimized for TrBV and Ron,sp, Ptop and ttop in the D-RESURF SOI LDMOS were 1.1 × 1016 cm−3 and 1 μm, respectively. The other parameters of this device were the same as in SOI LDMOS. Figure 1 shows the circuit used to simulate the TrBV of the device [31]. The source and substrate electrodes of the test device were grounded, gate voltage Vg was applied to the gate through the gate resistor Rg, and a fixed drain voltage Vd was applied to the drain through the drain resistor Rd. Rg was set to a small value to ensure that the test device could be quickly turned off. The function of Rd was to limit the drain current to prevent damage to the device from an excessive current. MEDICI 0.13.2 software of Synopsys was used to perform a two-dimensional simulation of TrBV in the device. Several models, such as recombination, impact ionization, band-gap narrowing, mobility, and lifetime, were used in the simulation [30] The temperature (T) of the simulated device was 300 K by default. The breakdown condition of the device was that the drain current Id exceeded 1 × 10−7 A/μm in the off-state. To simulate TrBV, Vd was a low positive voltage at which the test device did not break down, and Vg was decreased from 15 V to 0 V within 0.1 μs to turn the test device off. As a device is quickly turned off, there is insufficient time for an electron inversion layer to form under the BOX, the DD effect is induced in the substrate, which sustains a portion of Vd [6,7,28,29]. Then, Vd is increased until the test device breaks down. The Vd at breakdown is the TrBV of the test device. Every time Vd was changed, a simulation was carried out. This work was done by executing a batch file. If Vd was greater than or equal to StBV, the device could be broken down after being in the off-state for a period of time. The time between turning the device off and breakdown is Tnonbv. To simulate the Tnonbv, Vd was a voltage greater than StBV, and Vg was decreased from 15 V to 0 V within 0.1 μs to turn the test device off. After a period of time, Id increased rapidly and exceeded 1 × 10−7 A/μm in the off-state. Data of Id with time was stored in a log file by MEDICI. Tnonbv could be obtained by subtracting the turn-off time from the breakdown time.

3. Results and Discussion

Figure 3 shows the distribution of the charge under the BOX and lateral electric field and the potential of the three devices. The doping concentration of SPBL was reduced from P1 = 1.5 × 1016 cm−3 to P5 = 1 × 1015 cm−3 in five steps of 3.5 × 1015 cm−3 each. TrBV of the SPBL SOI LDMOS was 768 V, which corresponded to a 14.46% increase from that of the SOI LDMOS (671 V) and a 10% increase from that of the D-RESURF SOI LDMOS (698 V). Note that using an Nd of 5 × 1015 cm−3 for the SOI LDMOS and optimizing Psub to 1.7 × 1015 cm−3 with respect to TrBV resulted in a TrBV of only 337 V. Figure 3a shows that compared to those of the SOI LDMOS and the D-RESURF SOI LDMOS, the distribution of equipotential lines in the drift region was more uniform and the substrate depletion layer was deeper in the SPBL SOI LDMOS, that is, the lateral electric field in the drift region was more uniform and both BVlat and BVver were larger. The surface potential of SPBL SOI LDMOS in the drift region decreased from 768 V to 0 V with a relatively constant value, and the potential distribution line was relatively straight, as in Figure 3a. The decrease rate of the surface potential of the other two devices varied greatly, and the two potential distribution lines fluctuated obviously. Figure 3b shows the distribution of the charge concentration under the BOX for the three devices. There were five steps in the charge distribution below the BOX of the SPBL SOI LDMOS. The charge concentration iwas 1.5 × 1016 cm−3 in the first region near the source and decreased to 1 × 1015 cm−3 in the fifth region near the drain in fixed step sizes. These four sudden changes in the charge concentration in the SPBL could introduce spikes into the lateral electric field. The charge concentration of 2 × 1014 cm−3 under the conventional SOI LDMOS and the D-RESURF SOI LDMOS was evenly distributed, and it did not contribute to the improvement of the electric field in the middle of the drift region. Figure 3c shows the lateral electric field distribution of the three devices. Unlike with the SOI LDMOS, there were four clear electric field spikes in the lateral electric field inside the BOX (y = 4.49 μm) and the bottom of the drift region (y = 3.99 μm) of the SPBL SOI LDMOS, where the lateral electric field in the middle was higher. The surface electric field (y = 0.001 μm) of the new device was far from the SPBL and was weakly modulated. Although there was no electric field spike on the surface of the drift region of the SPBL SOI LDMOS, the electric field in the middle was uniform and higher than that of the conventional SOI LDMOS and the D-RESURF SOI LDMOS, indicating that the depleted SPBL modulated the lateral electric field in the drift region, which increased the BVlat of the new device. The P-top layer of the D-RESURF SOI LDMOS could also modulate the surface electric field, but the surface electric field of the D-RESURF SOI LDMOS was not as uniform as that of the SPBL SOI LDMOS. Figure 4 shows the current distribution in the drift region of the three devices at Vg = 15 V and Vd = 0.1 V. The Nd and the current distribution area determine the drain current in the drift region. The Nd of the SPBL SOI LDMOS was 5 × 1015 cm−3, and the current distributed throughout the drift region, as in Figure 4a. Therefore, its Id was the largest among those of the three devices. The Nd of the D-RESURF SOI LDMOS was the same as that of the SPBL SOI LDMOS, and there was no current in the P-top layer, as seen in Figure 4b. Its Id was the second largest among those of the three devices. Although the current of the SOI LDMOS distributed throughout the drift region, the Nd was less than half that of the other two devices. Its current was the smallest among those of the three devices. According to the Id of these three devices, their Ron,sp could be calculated. The Ron,sp was 7.82 Ω·mm2 for the SPBL SOI LDMOS, which was 46.25% lower than that of the SOI LDMOS (14.55 Ω·mm2) and 37.74% lower than that of the D-RESURF SOI LDMOS (12.56 Ω·mm2).
Figure 5 shows the effect of the SPBL doping concentration on TrBV. The TrBV of the SOI LDMOS device depended on the smaller of BVlat and BVver, both of which were affected by the SPBL doping concentration. Increasing the SPBL doping concentration weakened the surface electric field at the source, which was conducive to increasing BVlat and hindered the downward expansion of the substrate depletion layer to reduce BVver. To obtain the maximum TrBV, P1 and P5 needed to be optimized. At a fixed P5 and a low P1, the SPBL did not sufficiently weaken the surface electric field at the source, resulting in premature breakdown of the device at the source surface, and BVlat was lower than BVver. The TrBV was limited by BVlat. Therefore, increasing P1 could reduce the surface electric field at the source and increase BVlat, thereby increasing the TrBV of the device. At a P5 of 1 × 1015 cm−3, TrBV initially increased with P1 to a maximum value of 768 V at P1 = 1.5 × 1016 cm−3. BVlat was equal to BVver. As P1 increased, the doping concentration of the other regions (except for the fifth region) also increased accordingly, which enhanced the blocking effect of the SPBL on the downward expansion of the substrate depletion layer, resulting in BVver being lower than BVlat. The TrBV was limited by BVver. Therefore, as P1 increased from 1.5 × 1016 cm−3 to 1.8 × 1016 cm−3, TrBV was affected by the decrease in BVver and continued to decrease. In short, when P5 was constant, P1 increased from low to high, BVlat increased from low to high, and BVver decreased from high to low. When BVlat was lower than BVver, TrBV was determined by BVlat, and TrBV increased with P1. When BVlat equaled BVver, TrBV reached the maximum. When BVver was less than BVlat, TrBV was determined by BVver, and TrBV decreased with the increase of P1. Similarly, increasing P5 promoted the weakening of the surface electric field at the source and increased BVlat but hindered the downward expansion of the depletion layer and reduced BVver. It can be seen from Figure 5 that for different P5 values, the trend of TrBV with increasing P1 was consistent. The larger P5, the earlier TrBV reached a maximum in P1. However, the increase in P5 reduced BVver and thereby the maximum TrBV.
Figure 6 shows the influence of the number of doping regions (N) of SPBL on TrBV and surface electric field. The TrBV of the SPBL SOI LDMOS listed in Figure 6a was the maximum value that could be gained by optimizing the doping concentration of SPBL at different N. The TrBV of the device increased with the N and then tended to be saturated. In Figure 6b, the surface electric fields of the SPBL SOI LDMOS were compared at different N. When N = 2, there was a comparatively high peak in the middle of the surface electric field, but the electric field near the drain was too low. TrBV was 614 V. When N = 3, there were two peaks in the middle of the surface electric field, which made the surface electric field more uniform and the electric field near the drain higher. TrBV increased to 696 V. When N = 4, the surface electric field in the middle of the drift region and near the drain was more uniform, and TrBV was further increased to 761 V. When N = 5, the surface electric field distribution was almost the same as that of N = 4, and TrBV was 768 V and only increases by 7 V. Therefore, with an increase of N, the SPBL modulated the surface electric field more uniformly, and a higher TrBV could be obtained. For the SOI LDMOS, the surface electric field at the source was too high at Nd = 5 × 1015 cm−3. The device was prematurely broken down, and its TrBV was 337 V. When Nd = 2.4 × 1015 cm−3, the surface electric field peaks were at the source and drain, and the electric field at the middle of the drift region was low. TrBV was increased to 671 V. Compared to that of the SOI LDMOS, the surface electric field of the D-RESURF SOI LDMOS in the drift region was more uniform and higher, and its TrBV was also 27 V higher. The Ron,sp of the SPBL SOI LDMOS was the lowest among those of the three devices. At N = 3, the TrBV of the SPBL SOI LDMOS was as high as that of the D-RESURF SOI LDMOS and higher than that of the SOI LDMOS. At N > 3, the TrBV of the SPBL SOI LDMOS was higher than that of the other two devices.
Turning the device off generates electron-positron pairs in the substrate depletion layer. Under an electric field, the electrons move into and continuously accumulate at the bottom of the BOX, and the holes move to the edge of the depletion layer and recombine with the electrons, thereby continuously thinning the depletion layer [30]. Therefore, with increasing time, the voltage sustained by the device substrate continuously decreases, and the voltage sustained by the drift region and the BOX continuously increases. The maximum voltage that the drift region and BOX can sustain is approximately equal to StBV. If Vd is greater than or equal to StBV, the device can be broken down after being in the off-state for a period of time. Tnonbv serves as a reference for the lowest operating frequency of the device [31]. Figure 7 shows the effect of different Ts and Vds on Tnonbv. The higher the Vd, the more rapid the rate of increase in the voltage sustained by the drift region and BOX, and the smaller the Tnonbv. The effect of T on Tnonbv was more significant. The generation rate of electrons and holes in the substrate depletion layer increased rapidly with T, resulting in a rapid thinning of the depletion layer and a significant decrease in Tnonbv. Figure 7 shows that for a constant T, the Tnonbv of the three devices decreased rapidly with increasing Vd. The Tnonbv of the three devices decreased sharply with increasing T. However, for fixed T and Vd, the SPBL SOI LDMOS always had a larger Tnonbv than the SOI LDMOS and the D-RESURF SOI LDMOS did. For a T of 400 K and Vd above 500 V, the substrate depletion layer of the SOI LDMOS thinned sufficiently rapidly that the device could no longer be turned off. The D-RESURF SOI LDMOS also could not be turned off when Vd was higher than 550 V. Figure 8 shows the distribution of the vertical electric field and potential at the drain of the three devices at different times for T = 373 K and Vd = 500 V. They were turned off at t = 3.7 μs: the SOI LDMOS device was broken down first at t = 9.55 μs, the D-RESURF SOI LDMOS device was broken down at t = 12.51 μs, and the SPBL SOI LDMOS was broken down at t = 13.39 μs. The Tnonbv of the SPBL SOI LDMOS of 9.69 μs was 65.64% longer than that of the SOI LDMOS (5.85 μs), indicating that the operating frequency had a lower minimum and a wider range for the SPBL SOI LDMOS than the SOI LDMOS. The Tnonbv of the D-RESURF SOI LDMOS was 8.81 μs, and it was slightly shorter than that of the SPBL SOI LDMOS. The vertical electric field in and the voltage sustained by the drift region and the BOX of the three devices were set to E1 and V1, respectively, and the voltage sustained by the substrate depletion layer was set to V2. Figure 8a shows that for a fixed time, the electric field at the vertical n+/n- junction at the drain of the SPBL SOI LDMOS was much lower than that of the SOI LDMOS because the Nd of the SPBL SOI LDMOS was more than twice that of the SOI LDMOS. Solving the Poisson equation with boundary conditions shows that E1 was lower for the SPBL SOI LDMOS than the SOI LDMOS. Therefore, for the same time and Vd, the SPBL SOI LDMOS had a smaller V1, a larger V2, and a deeper substrate depletion layer than those of the SOI LDMOS. During device breakdown of the SPBL SOI LDMOS and SOI LDMOS, the maximum voltage sustained by the depletion layer and BOX and the substrate depletion layer depth were almost the same. Thus, the depletion layer of the SPBL SOI LDMOS was deeper than that of the SOI LDMOS during turn-off, and the depletion layer depth of both devices was equal during breakdown, such that the Tnonbv of the SPBL SOI LDMOS was longer than that of the SOI LDMOS. Figure 8b shows that at t = 3.7 μs and Vd = 500 V, the depth of the substrate depletion layer and V1 were 52 μm and 74 V, respectively, for the SPBL SOI LDMOS. The depth of the substrate depletion layer and V1 were 50 μm and 109 V, respectively, for the SOI LDMOS. At t = 9.55 μs, the depth of the substrate depletion layer of the SPBL SOI LDMOS decreased to 49.5 μm, V1 increased to 128 V, and the device was not broken down, whereas for the SOI LDMOS, the depth of the substrate depletion layer was 47.5 μm and V1 increased to 170 V, which exceeded StBV, resulting in device breakdown. Note that the StBV of the device was higher at T = 373 K than that at T = 300 K. At t = 13.39 μs, the depth of the substrate depletion layer of the SPBL SOI LDMOS decreased further to 48 μm, V1 increased to 162 V, and the device was broken down. Because the Nd of the D-RESURF SOI LDMOS was the same as that of the SPBL SOI LDMOS, their electric field and potential distribution were almost the same during turn-off and breakdown. The P-top layer in the D-RESURF SOI LDMOS not only weakened the electric field of the source but also enhanced the electric field of the drain. When the substrate depletion layer decreased, the E1 of the D-RESURF SOI LDMOS increased faster than that of the SPBL SOI LDMOS. The D-RESURF SOI LDMOS was broken down earlier than the SPBL SOI LDMOS. The Tnonbv of the D-RESURF SOI LDMOS was slightly shorter than that of the SPBL SOI LDMOS but longer than that of SOI LDMOS.

4. Conclusions

The introduction of an SPBL into an SOI LDMOS improved the TrBV and suppressed the increase in Ron,sp by optimizing the lateral and vertical electric fields of the device. At tS = 4 μm, tI = 0.5 μm, Ld = 50 μm, and Nd = 5 × 1015 cm−3, the TrBV of the SPBL SOI LDMOS was 768 V, which was 127.89% higher than that of the SOI LDMOS for the same Nd. For a fixed Psub = 2 × 1014 cm−3, the TrBV and Ron,sp were 14.46% higher and 46.25% lower, respectively, in the SPBL SOI LDMOS than in the SOI LDMOS. At T = 373 K and Vd = 500 V, the Tnonbv of the SPBL SOI LDMOS was 65.64% longer than that of the SOI LDMOS. The SPBL SOI LDMOS also demonstrated that TrBV was 10% higher, Ron,sp was 37.74% lower, and Tnonbv was 10% longer than in the D-RESURF SOI LDMOS.
Subsequent research will focus on the manufacturing process of the new device and its application in the switching power supply circuit. The process of forming a SPBL with only one ion implantation to reduce the cost will be studied. If Vg is constant at 0 V and Vd is higher than StBV due to a circuit fault, the device will be broken down. A protection circuit needs to be designed to avoid device breakdown.

Author Contributions

Conceptualization, X.Y., T.C., X.Z. and T.L.; methodology, software, and validation, X.Y., H.L. and T.L.; formal analysis, investigation, data curation, and writing—original draft preparation, X.Y.; writing—review and editing, X.Y., T.C. and X.Z. All authors have read and agreed to the published version of the manuscript.

Funding

The work is supported in part by the Ministry of Education “Chunhui Plan” Foundation of China under Grant Z2016147 and Z2017073, the Science and Technology Foundation of Chengdu, China, under Grant 2021-JB00-00025-GX, the Sichuan Science and Technology Program under Grant 2023YFG0350 and the Xihua University Key Fundation under Grant Z1320926.

Data Availability Statement

Not applicable.

Conflicts of Interest

The authors declare no conflict of interest.

References

  1. Cristoloveanu, S. Far-future trends in SOI technology: A guess. Int. J. High Speed Electron. Syst. 2002, 12, 343–351. [Google Scholar] [CrossRef]
  2. Cristoloveanu, S. Silicon on insulator technologies and devices: From present to future. Solid State Electron. 2001, 45, 1403–1411. [Google Scholar] [CrossRef]
  3. Nakagawa, A. Impact of dielectric isolation technology on power ICs. In Proceedings of the 3rd International Symposium on Power Semiconductor Devices and ICs, Baltimore, MD, USA, 22–24 April 1991. [Google Scholar] [CrossRef]
  4. Shimamoto, S.; Yanagida, Y.; Shirakawa, S.; Miyakoshi, K.; Oshima, T.; Sakano, J.; Wada, S.; Noguchi, J. High-Performance p-Channel LDMOS Transistors and Wide-Range Voltage Platform Technology Using Novel p-Channel Structure. IEEE Trans. Electron. Devices 2013, 60, 360–365. [Google Scholar] [CrossRef]
  5. Zhang, W.; Qiao, M.; Wu, L.; Ye, K.; Wang, Z.; Wang, Z.; Luo, X.; Zhang, S.; Su, W.; Zhang, B.; et al. Ultra-low specific on-resistance SOI high voltage trench LDMOS with dielectric field enhancement based on ENBULF concept. In Proceedings of the 25th International Symposium on Power Semiconductor Devices, Kanazawa, Japan, 26–30 May 2013. [Google Scholar] [CrossRef]
  6. Napoli, E.; Udrea, F. Substrate deep depletion: An innovative design concept to improve the voltage rating of SOI power devices. In Proceedings of the 2006 IEEE International Symposium on Power Semiconductor Devices and IC’s, Naples, Italy, 4–8 June 2006. [Google Scholar] [CrossRef]
  7. Napoli, E. One Dimensional Model for the Duration of the High Breakdown Phase in Deep Depletion Power Devices. In Proceedings of the 2007 International Semiconductor Conference, Sinaia, Romania, 15 October–17 September 2007. [Google Scholar] [CrossRef]
  8. Kim, I.; Matsumoto, S.; Sakai, T.; Yachi, T. Analytical approach to breakdown voltages in thin-film SOI power MOSFETs. Solid State Electron. 1996, 39, 95–100. [Google Scholar] [CrossRef]
  9. Chung, S.; Han, S.; Shin, J.; Choi, Y.; Kim, S. An analytical model for minimum drift region length of SOI RESURF diodes. IEEE Electron. Device Lett. 1996, 17, 22–24. [Google Scholar] [CrossRef]
  10. Chung, S.; Han, S. Analytical model for the surface field distribution of SOI RESURF devices. IEEE Trans. Electron. Devices 1998, 45, 1374–1376. [Google Scholar] [CrossRef]
  11. Popescu, A.; Ng, R.; Milne, W.I.; Udrea, F. Analytical modelling for the RESURF effect in JI and SOI power devices. IEE Proc. Circuits Devices Syst. 2002, 149, 273–284. [Google Scholar] [CrossRef]
  12. Hu, X.; Wang, W.; Ji, Y.; Hua, Q. The influence of the N+ floating layer on the drift doping of RESURF LDMOS and its analytical model. IEICE Electron. Express 2016, 13, 20160852. [Google Scholar] [CrossRef]
  13. Xing, J.; Duan, B.; Dong, Z.; Wang, X.; Yang, Y. Analytical model of buried air partial SOI LDMOS. Superlattices Microstruct. 2019, 132, 106162. [Google Scholar] [CrossRef]
  14. Yang, K.; Guo, Y.; Zhang, J.; Yao, J.; Li, M.; Du, L.; Huang, X. An Analytical Breakdown Model for the SOI LDMOS With Arbitrary Drift Doping Profile by Using Effective Substrate Voltage Method. IEEE J. Electron. Devices Soc. 2020, 8, 49–56. [Google Scholar] [CrossRef]
  15. Cheng, J.; Lin, J.; Chen, W.; Wu, S.; Huang, H.; Yi, B. Lateral Power Fin MOSFET With a High-k Passivation for Ultra-Low On-Resistance. IEEE Access 2020, 8, 48991–48999. [Google Scholar] [CrossRef]
  16. Zhang, W.; Li, L.; Qiao, M.; Zhan, Z.; Cheng, S.; Zhang, S.; He, B.; Luo, X.; Li, Z.; Zhang, B. A Novel High Voltage Ultra-Thin SOI-LDMOS With Sectional Linearly Doped Drift Region. IEEE Electron. Device Lett. 2019, 40, 1151–1154. [Google Scholar] [CrossRef]
  17. Guo, J.; Hu, S.; Huang, Y.; Yuan, Q.; Yang, D.; Yang, L.; You, L.; Yu, J. Improved SOI LDMOS performance by using a partial stepped polysilicon layer as the buried layer. Mate. Sci. Semicond. Process. 2019, 90, 7–12. [Google Scholar] [CrossRef]
  18. Wang, B.; Wang, Z.; Kuo, J.B. A Substrate-Dissipating (SD) Mechanism for a Ruggedness-Improved SOI LDMOS Device. IEEE J. Electron. Devices Soc. 2018, 6, 739–746. [Google Scholar] [CrossRef]
  19. Lei, J.; Hu, S.; Yang, D.; Huang, Y.; Chen, L.; Guo, J.; Liu, C.; Liu, T.; Wang, Y. Performance analysis of a novel trench SOI LDMOS with centrosymmetric double vertical field plates. Results Phys. 2019, 12, 810–815. [Google Scholar] [CrossRef]
  20. Wu, L.; Wu, Y.; Zhang, Y.; Lei, B.; Zhu, L.; Huang, Y. High-Voltage Lateral Double-Diffused Metal-Oxide Semiconductor with Double Superjunction. J. Electron. Mater. 2019, 48, 2456–2462. [Google Scholar] [CrossRef]
  21. Wu, L.; Huang, Y.; Wu, Y.; Zhu, L.; Lei, B. Investigation of the stepped split protection gate L-Trench SOI LDMOS with ultra-low specific on-resistance by simulation. Mater. Sci. Semicond. Process. 2019, 101, 272–278. [Google Scholar] [CrossRef]
  22. Luo, X.; Udrea, F.; Wang, Y.; Yao, G.; Liu, Y. Partial SOI Power LDMOS With a Variable Low-k Dielectric Buried Layer and a Buried P Layer. IEEE Electron. Device Lett. 2010, 31, 594–596. [Google Scholar] [CrossRef]
  23. Wang, Z.; Zhang, B.; Fu, Q.; Xie, G.; Li, Z. An L-Shaped Trench SOI-LDMOS With Vertical and Lateral Dielectric Field Enhancement. IEEE Electron. Dev. Lett. 2012, 33, 703–705. [Google Scholar] [CrossRef]
  24. Wang, Y.; Wang, Z.; Bai, T.; Kuo, J.B. Modeling of Breakdown Voltage for SOI Trench LDMOS Device Based on Conformal Mapping. IEEE Trans. Electron. Devices 2018, 65, 1056–1062. [Google Scholar] [CrossRef]
  25. Luo, X.; Zhang, B.; Li, Z. New High-Voltage (>1200 V) MOSFET With the Charge Trenches on Partial SOI. IEEE Trans. Electron. Devices 2008, 55, 1756–1761. [Google Scholar] [CrossRef]
  26. Yang, X.; Li, T.; Cai, Y.; Wang, J.; Chen, C. High voltage (>1100 V) SOI LDMOS with an accumulated charges layer for double enhanced dielectric electric field. IEICE Electron. Express 2013, 10, 20130057. [Google Scholar] [CrossRef]
  27. Qiao, M.; Wang, Y.; Li, Y.; Zhang, B.; Li, Z. Design of a 1200-V ultra-thin partial SOI LDMOS with n-type buried layer. Superlattices Microstruct. 2014, 75, 796–805. [Google Scholar] [CrossRef]
  28. Napoli, E. Duration of the High Breakdown Voltage Phase in Deep Depletion SOI LDMOS. IEEE Electron. Device Lett. 2007, 28, 753–775. [Google Scholar] [CrossRef]
  29. Napoli, E. Deep Depletion SOI Power Devices. In Proceedings of the 2006 International Semiconductor Conference, Sinaia, Romania, 27–29 September 2006. [Google Scholar] [CrossRef]
  30. Napoli, E.; Udrea, F. Substrate engineering for improved transient breakdown voltage in SOI lateral power MOS. IEEE Electron. Device Lett. 2006, 27, 678–680. [Google Scholar] [CrossRef]
  31. Yang, X.; Li, T.; Cao, T.; Li, J. Analysis of the Influence of Silicon-on-Insulator Lateral Double-Diffused MOS Device Substrate Deep Depletion on the Transient Breakdown Voltage. IEEE Access 2020, 8, 151383–151391. [Google Scholar] [CrossRef]
  32. Zingg, R.; Weijland, I.; Zwol, H.; Boos, P.; Lavrijsen, T.; Schoenmakers, T. 850V DMOS-switch in silicon-on insulator with specific Ron 13 Ω·mm2. In Proceedings of the 2000 IEEE International SOI Conference, Wakefield, MA, USA, 2–5 October 2000. [Google Scholar] [CrossRef]
  33. Sunkavalli, R.; Tamba, A.; Baliga, B. Step drift doping profile for high voltage DI lateral power devices. In Proceedings of the 1995 IEEE International SOI Conference, Tucson, AZ, USA, 3–5 October 1995. [Google Scholar] [CrossRef]
  34. Luo, J.; Cao, G.; Ekkanath Madathil, S.; De Souza, M. A high performance RF LDMOSFET in thin film SOI technology with step drift profile. Solid State Electron. 2003, 47, 1937–1941. [Google Scholar] [CrossRef]
  35. Zhang, S.; Sin, J.K.; Lai, T.M.; Ko, P.K. Numerical model of linear doping profiles for high-voltage thin-film SOI devices. IEEE Trans. Electron. Devices 1999, 46, 1036–1041. [Google Scholar] [CrossRef]
Figure 1. Device structure and simulation circuit of (a) SPBL SOI LDMOS, (b) D−RESURF SOI LDMOS, and (c) SOI LDMOS.
Figure 1. Device structure and simulation circuit of (a) SPBL SOI LDMOS, (b) D−RESURF SOI LDMOS, and (c) SOI LDMOS.
Micromachines 14 00887 g001
Figure 2. The main manufacturing process of an SPBL SOI LDMOS: (a) lithography alignment with marks, boron−ion implantation from the window to form the first doping region; (b) double the width of the window to the right, another boron−ion implantation to form the second doping region; (c) after five consecutive ion implantations, the formation of a SPBL; (d) deposition and planarization of SiO2 and creation of alignment marks for double−sided lithography; and (e) bonding of SiO2 and Si, thinning of the SOI layer and lithography alignment with marks. (f) The other manufacturing steps for the device are compatible with the standard manufacturing process for an SOI LDMOS.
Figure 2. The main manufacturing process of an SPBL SOI LDMOS: (a) lithography alignment with marks, boron−ion implantation from the window to form the first doping region; (b) double the width of the window to the right, another boron−ion implantation to form the second doping region; (c) after five consecutive ion implantations, the formation of a SPBL; (d) deposition and planarization of SiO2 and creation of alignment marks for double−sided lithography; and (e) bonding of SiO2 and Si, thinning of the SOI layer and lithography alignment with marks. (f) The other manufacturing steps for the device are compatible with the standard manufacturing process for an SOI LDMOS.
Micromachines 14 00887 g002
Figure 3. Distributions of SPBL SOI LDMOS, D−RESURF SOI LDMOS, and SOI LDMOS devices’ (a) potential (20 V/contour), (b) charge under the BOX, and (c) lateral electric field.
Figure 3. Distributions of SPBL SOI LDMOS, D−RESURF SOI LDMOS, and SOI LDMOS devices’ (a) potential (20 V/contour), (b) charge under the BOX, and (c) lateral electric field.
Micromachines 14 00887 g003
Figure 4. Current distributions in the drift region of (a) SPBL SOI LDMOS, (b) D−RESURF SOI LDMOS, and (c) SOI LDMOS at Vg = 15 V and Vd = 0.1 V.
Figure 4. Current distributions in the drift region of (a) SPBL SOI LDMOS, (b) D−RESURF SOI LDMOS, and (c) SOI LDMOS at Vg = 15 V and Vd = 0.1 V.
Micromachines 14 00887 g004
Figure 5. Effect of the SPBL doping concentration on the TrBV of the SPBL SOI LDMOS.
Figure 5. Effect of the SPBL doping concentration on the TrBV of the SPBL SOI LDMOS.
Micromachines 14 00887 g005
Figure 6. Influence of N on TrBV and surface electric field of SPBL SOI LDMOS: (a) the influence of N on TrBV, (b) influence of N on surface electric field distribution (PN = 1 × 1015 cm−3).
Figure 6. Influence of N on TrBV and surface electric field of SPBL SOI LDMOS: (a) the influence of N on TrBV, (b) influence of N on surface electric field distribution (PN = 1 × 1015 cm−3).
Micromachines 14 00887 g006
Figure 7. Relationship between Tnonbv and Vd at different device temperatures.
Figure 7. Relationship between Tnonbv and Vd at different device temperatures.
Micromachines 14 00887 g007
Figure 8. Distribution of vertical electric field and potential at the drain of the SPBL SOI LDMOS, D−RESURF SOI LDMOS and SOI LDMOS at different time points (T = 373 K, Vd = 500 V): (a) vertical electric field distribution and (b) vertical potential distribution.
Figure 8. Distribution of vertical electric field and potential at the drain of the SPBL SOI LDMOS, D−RESURF SOI LDMOS and SOI LDMOS at different time points (T = 373 K, Vd = 500 V): (a) vertical electric field distribution and (b) vertical potential distribution.
Micromachines 14 00887 g008
Table 1. Device parameters.
Table 1. Device parameters.
SymbolDevice ParametersSPBL SOI LDMOSSOI LDMOS
LdLength of drift region50 μm50 μm
LchanChannel length5 μm5 μm
tgGate oxide thickness50 nm50 nm
tSDrift region thickness4 μm4 μm
tIBuried oxide thickness0.5 μm0.5 μm
tPSPBL thickness1 μm-
PwellDoping concentration in P-well2 × 1017 cm−32 × 1017 cm−3
NdDoping concentration in N drift region5 × 1015 cm−32.4 × 1015 cm−3
PsubDoping concentration of P substrate2 × 1014 cm−32 × 1014 cm−3
P1Doping concentration in first region1.1 × 1016 cm−3 → 1.8 × 1016 cm−3-
P5Doping concentration in fifth region1 × 1015 cm−3 → 7 × 1015 cm−3-
Disclaimer/Publisher’s Note: The statements, opinions and data contained in all publications are solely those of the individual author(s) and contributor(s) and not of MDPI and/or the editor(s). MDPI and/or the editor(s) disclaim responsibility for any injury to people or property resulting from any ideas, methods, instructions or products referred to in the content.

Share and Cite

MDPI and ACS Style

Yang, X.; Cao, T.; Zhang, X.; Li, T.; Luo, H. Numerical Investigation of Transient Breakdown Voltage Enhancement in SOI LDMOS by Using a Step P-Type Doping Buried Layer. Micromachines 2023, 14, 887. https://doi.org/10.3390/mi14040887

AMA Style

Yang X, Cao T, Zhang X, Li T, Luo H. Numerical Investigation of Transient Breakdown Voltage Enhancement in SOI LDMOS by Using a Step P-Type Doping Buried Layer. Micromachines. 2023; 14(4):887. https://doi.org/10.3390/mi14040887

Chicago/Turabian Style

Yang, Xiaoming, Taiqiang Cao, Xiaohua Zhang, Tianqian Li, and Hang Luo. 2023. "Numerical Investigation of Transient Breakdown Voltage Enhancement in SOI LDMOS by Using a Step P-Type Doping Buried Layer" Micromachines 14, no. 4: 887. https://doi.org/10.3390/mi14040887

APA Style

Yang, X., Cao, T., Zhang, X., Li, T., & Luo, H. (2023). Numerical Investigation of Transient Breakdown Voltage Enhancement in SOI LDMOS by Using a Step P-Type Doping Buried Layer. Micromachines, 14(4), 887. https://doi.org/10.3390/mi14040887

Note that from the first issue of 2016, this journal uses article numbers instead of page numbers. See further details here.

Article Metrics

Back to TopTop