Flow Regulation Performance Analysis of Microfluidic Passive Valve for High Throughput Liquid Delivery
Abstract
:1. Introduction
2. Valve Design and Numerical Methods
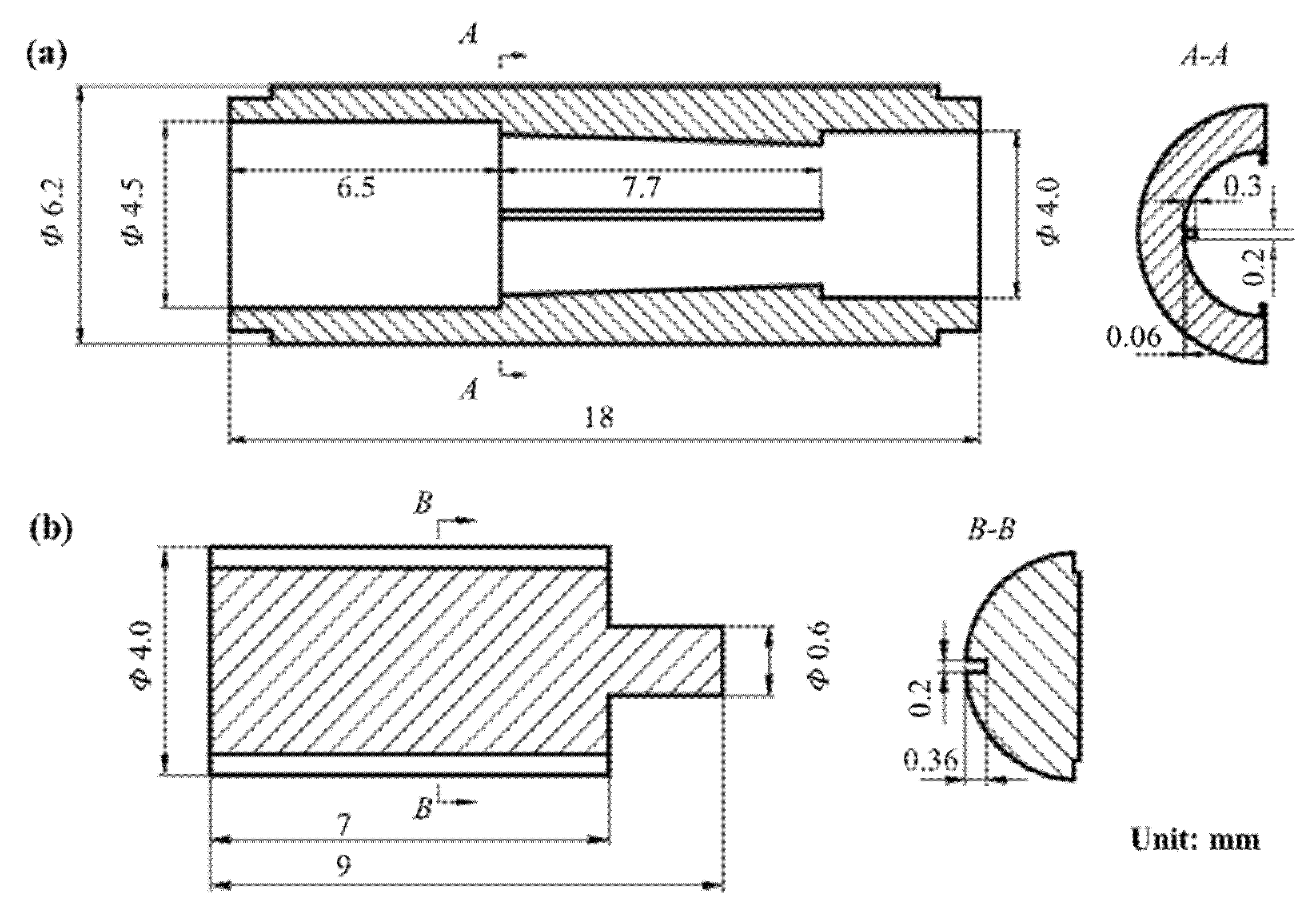
2.1. Valve Design
2.2. Numerical Methods
3. Results and Discussion
3.1. Flow Rate of MPV
3.2. Flow Field Inside MPV
4. Conclusions
Author Contributions
Funding
Conflicts of Interest
References
- Whitesides, G.M. The origins and the future of microfluidics. Nature 2006, 442, 368–373. [Google Scholar] [CrossRef] [PubMed]
- Mosadegh, B.; Kuo, C.H.; Tung, Y.C.; Torisawa, Y.S.; Bersano-Begey, T.; Tavana, H.; Takayama, S. Integrated Elastomeric Components for Autonomous Regulation of Sequential and Oscillatory Flow Switching in Microfluidic Devices. Nat. Phys. 2010, 6, 433–437. [Google Scholar] [CrossRef] [PubMed] [Green Version]
- Wang, Y.C.; Xu, C.Y.; Mei, D.Q.; Liu, J.W. Tunable patterning of microscale particles using a surface acoustic wave device with slanted-finger interdigital transducers. J. Zhejiang Univ.-Sci. A 2021, 22, 331–343. [Google Scholar] [CrossRef]
- Mehta, V.; Rath, S.N. 3D printed microfluidic devices: A review focused on four fundamental manufacturing approaches and implications on the field of healthcare. Bio-Des. Manuf. 2021, 4, 311–343. [Google Scholar] [CrossRef]
- Zhang, B.C.; Li, Q.L.; Wang, Y.; Zhang, J.Q.; Song, J.; Zhuang, F.C. Experimental investigation of nitrogen flow boiling heat transfer in a single mini-channel. J. Zhejiang Univ.-Sci. A 2020, 21, 147–166. [Google Scholar] [CrossRef]
- Ramezani, H.; Zhou, L.Y.; Shao, L.; He, Y. Coaxial 3D bioprinting of organ prototyps from nutrients delivery to vascularization. J. Zhejiang Univ.-Sci. A 2020, 21, 859–875. [Google Scholar] [CrossRef]
- Sun, C.; You, H.; Xie, Y.; Xu, R.X. Performance Optimization of Microvalves Based on a Microhole Array for Microfluidic Chips. J. Anal. Methods Chem. 2020, 2020, 8842890. [Google Scholar] [CrossRef]
- Qian, J.Y.; Chen, M.R.; Liu, X.L.; Jin, Z.J. A numerical investigation of the flow of nanofluids through a micro Tesla valve. J. Zhejiang Univ.-Sci. A 2019, 20, 50–60. [Google Scholar] [CrossRef]
- Qian, J.Y.; Wu, J.Y.; Gao, Z.X.; Wu, A.J.; Jin, Z.J. Hydrogen decompression analysis by multi-stage Tesla valves for hydrogen fuel cell. Int. J. Hydrog. Energy 2019, 44, 13666–13674. [Google Scholar] [CrossRef]
- Nguyen, Q.M.; Abouezzi, J.; Ristroph, L. Early turbulence and pulsatile flows enhance diodicity of Tesla’s macrofluidic valve. Nat. Commun. 2021, 12, 2884. [Google Scholar] [CrossRef]
- Shi, H.H.; Cao, Y.; Zeng, Y.N.; Zhou, Y.N.; Wen, W.H.; Zhang, C.X.; Zhao, Y.L.; Chen, Z. Wearable tesla valve-based sweat collection device for sweat colorimetric analysis. Talanta 2022, 240, 123208. [Google Scholar] [CrossRef] [PubMed]
- Zhang, H.L.; Yao, Y.; Hui, Y.; Zhang, L.; Zhou, N.J.; Ju, F. A 3D-printed microfluidic gradient concentration chip for rapid antibiotic-susceptibility testing. Bio-Des. Manuf. 2022, 5, 210–219. [Google Scholar] [CrossRef]
- Qian, J.Y.; Hou, C.W.; Li, X.J.; Jin, Z.J. Actuation Mechanism of Microvalves: A Review. Micromachines 2020, 11, 172. [Google Scholar] [CrossRef] [PubMed] [Green Version]
- Kaminaga, M.; Ishida, T.; Omata, T. Microvalve with Trapezoid-Shaped Cross-Section for Deep Microchannels. Micromachines 2021, 12, 1403. [Google Scholar] [CrossRef]
- Amnache, A.; Laguna, G.; Leveille, E.; Pandiyan, R.; Collin, L.-M.; Villarrubi, M.; Hamel, S.; Barrau, J.; Frechette, L.G. Fabrication and Demonstration of a Self-Adaptive Microvalve Array for Distributed Liquid Cooling in Microelectronic Interposers. J. Microelectromech. Syst. 2020, 29, 769–775. [Google Scholar] [CrossRef]
- Goldowsky, J.; Knapp, H.F. Gas penetration through pneumatically driven PDMS micro valves. RSC Adv. 2013, 3, 17968–17976. [Google Scholar] [CrossRef]
- Chen, X.; Lian, H.; Mo, D.; Ma, X.; Gong, M.; Sun, D. Self-supporting 3D printed flexible liquid metal electrodes for electrostatically microfluidic valves. J. Micromech. Microeng. 2021, 31, 11. [Google Scholar] [CrossRef]
- Sudhawiyangkul, T.; Yoshida, K.; Eom, S.I.; Kim, J.-W. A study on a hybrid structure flexible electro-rheological microvalve for soft microactuators. Microsyst. Technol. 2019, 26, 309–321. [Google Scholar] [CrossRef]
- Li, M.; Li, D. Microvalve using electrokinetic motion of electrically induced Janus droplet. Anal. Chim. Acta 2018, 1021, 85–94. [Google Scholar] [CrossRef]
- Bußmann, A.B.; Durasiewicz, C.P.; Kibler, S.H.A.; Wald, C.K. Piezoelectric titanium based microfluidic pump and valves for implantable medical applications. Sens. Actuators A Phys. 2021, 323, 112649. [Google Scholar] [CrossRef]
- Gunda, A.; Ozkayar, G.; Tichem, M.; Ghatkesar, A.M.K. Proportional Microvalve Using a Unimorph Piezoelectric Microactuator. Micromachines 2020, 11, 130. [Google Scholar] [CrossRef] [Green Version]
- Chen, S.; Lu, S.; Liu, Y.; Wang, J.T.; Tian, X.C.; Liu, G.J.; Yang, Z.G. A normally-closed piezoelectric micro-valve with flexible stopper. AIP Adv. 2016, 6, 045112. [Google Scholar] [CrossRef] [Green Version]
- Viard, R.; Talbi, A.; Ghouila-Houri, C.; Kourta, A.; Merlen, A.; Pernod, P. Magneto-mechanical micro-valve for active flow control. Sens. Actuators A Phys. 2020, 316, 112387. [Google Scholar] [CrossRef]
- Pradeep, A.; Raj, S.V.; Stanley, J.; Nair, B.G.; Babu, T.G.S. Automated and programmable electromagnetically actuated valves for microfluidic applications. Sens. Actuators A Phys. 2018, 283, 79–86. [Google Scholar] [CrossRef]
- Gholizadeh, A.; Javanmard, M. Magnetically Actuated Microfluidic Transistors: Miniaturized Micro-Valves Using Magnetorheological Fluids Integrated With Elastomeric Membranes. J. Microelectromech. Syst. 2016, 25, 922–928. [Google Scholar] [CrossRef]
- Chappel, E. A Review of Passive Constant Flow Regulators for Microfluidic Applications. Appl. Sci. 2020, 10, 8858. [Google Scholar] [CrossRef]
- Megnin, C.; Moradi, B.; Zuern, J.; Ossmer, H.; Gueltig, M.; Kohl, M. Shape memory alloy based controllable multi-port microvalve. Microsyst. Technol. 2019, 26, 793–800. [Google Scholar] [CrossRef]
- Cheng, C.J.; Nair, A.R.; Thakur, R.; Fridman, G. Normally closed plunger-membrane microvalve self-actuated electrically using a shape memory alloy wire. Microfluid. Nanofluidics 2018, 22, 29. [Google Scholar] [CrossRef]
- Wang, X.M.; Agasid, M.T.; Baker, C.A.; Aspinwall, C.A. Surface Modification of Glass/PDMS Microfluidic Valve Assemblies Enhances Valve Electrical Resistance. ACS Appl. Mater. Interfaces 2019, 11, 34463–34470. [Google Scholar] [CrossRef]
- Yalikun, Y.; Tanaka, Y. Large-Scale Integration of All-Glass Valves on a Microfluidic Device. Micromachines 2016, 7, 83. [Google Scholar] [CrossRef] [Green Version]
- Le, T.N.; Nguyen, V.-A.; Bach, G.L.; Tran, L.D.; Cao, H.H. Design and Fabrication of a PDMS-Based Manual Micro-Valve System for Microfluidic Applications. Adv. Polym. Technol. 2020, 2020, 2460212. [Google Scholar] [CrossRef]
- Natarajan, G.P.; Kim, S.J.; Kim, C.W. Analysis of Membrane Behavior of a Normally Closed Microvalve Using a Fluid-Structure Interaction Model. Micromachines 2017, 8, 355. [Google Scholar] [CrossRef] [Green Version]
- Chappel, E. Design and characterization of a passive flow control valve dedicated to the hydrocephalus treatment. Cogent Eng. 2016, 3, 1247612. [Google Scholar] [CrossRef]
- Mao, Z.; Yoshida, K.; Kim, J.-W. A micro vertically-allocated SU-8 check valve and its characteristics. Microsyst. Technol. 2018, 25, 245–255. [Google Scholar] [CrossRef]
- Mao, Z.; Yoshida, K.; Kim, J.-W. Study on the fabrication of a SU-8 cantilever vertically-allocated in a closed fluidic microchannel. Microsyst. Technol. 2017, 24, 2473–2483. [Google Scholar] [CrossRef]
- Zhang, Q.; Peng, X.; Weng, S.; Zhang, R.; Fang, D.; Zhao, R.; Qi, H.J. Self-adaptive flexible valve as passive flow regulator. Extrem. Mech. Lett. 2020, 39, 100824. [Google Scholar] [CrossRef]
- Li, W.-Q.; Gao, Z.-X.; Jin, Z.-J.; Qian, J.-Y. Transient Study of Flow and Cavitation Inside a Bileaflet Mechanical Heart Valve. Appl. Sci. 2020, 10, 2548. [Google Scholar] [CrossRef] [Green Version]
- Qian, J.Y.; Gao, Z.X.; Li, W.Q.; Jin, Z.J. Cavitation Suppression of Bileaflet Mechanical Heart Valves. Cardiovasc. Eng. Technol. 2020, 11, 783–794. [Google Scholar] [CrossRef]
- Kartalov, E.P.; Walker, C.; Taylor, C.R.; Anderson, W.F.; Scherer, A. Microfluidic vias enable nested bioarrays and autoregulatory devices in Newtonian fluids. Proc. Natl. Acad. Sci. USA 2006, 103, 12280–12284. [Google Scholar] [CrossRef] [Green Version]
- Yang, B.; Lin, Q. A Planar Compliance-Based Self-Adaptive MicrofluidVariable Resistor. J. Microelectromech. Syst. 2007, 16, 411–419. [Google Scholar] [CrossRef]
- Doh, I.; Cho, Y.H. Passive flow-rate regulators using pressure-dependent autonomous deflection of parallel membrane valves. Lab Chip 2009, 9, 2070–2075. [Google Scholar] [CrossRef] [PubMed]
- Zhang, X.; Oseyemi, A.E. Microfluidic Passive Valve with Ultra-Low Threshold Pressure for High-Throughput Liquid Delivery. Micromachines 2019, 10, 798. [Google Scholar] [CrossRef] [PubMed] [Green Version]
- Lin, Z.H.; Li, X.J.; Jin, Z.J.; Qian, J.Y. Fluid-Structure Interaction Analysis on Membrane Behavior of a Microfluidic Passive Valve. Membranes 2020, 10, 300. [Google Scholar] [CrossRef]










| Type | Constant Flow Rate (mL/min) | Threshold Pressure (kPa) |
| Push-up valve [39] | 0.033 | 103 |
| Check microfluidic valve [40] | 1.20 | 100 |
| Parallel membrane valve [41] | 0.87 | 15 |
| Passive flow control valve [33] | 0.33 | 1 |
| Low threshold pressure valve [42] | 4.03 | 6 |
| Microfluidic passive valve [43] | 5.75 | 4 |
Publisher’s Note: MDPI stays neutral with regard to jurisdictional claims in published maps and institutional affiliations. |
© 2022 by the authors. Licensee MDPI, Basel, Switzerland. This article is an open access article distributed under the terms and conditions of the Creative Commons Attribution (CC BY) license (https://creativecommons.org/licenses/by/4.0/).
Share and Cite
Su, Q.; Chen, W.; Chen, W.; Jin, Z.; Lin, Z. Flow Regulation Performance Analysis of Microfluidic Passive Valve for High Throughput Liquid Delivery. Micromachines 2022, 13, 687. https://doi.org/10.3390/mi13050687
Su Q, Chen W, Chen W, Jin Z, Lin Z. Flow Regulation Performance Analysis of Microfluidic Passive Valve for High Throughput Liquid Delivery. Micromachines. 2022; 13(5):687. https://doi.org/10.3390/mi13050687
Chicago/Turabian StyleSu, Qi, Weiran Chen, Weiping Chen, Zhijiang Jin, and Zhenhao Lin. 2022. "Flow Regulation Performance Analysis of Microfluidic Passive Valve for High Throughput Liquid Delivery" Micromachines 13, no. 5: 687. https://doi.org/10.3390/mi13050687
APA StyleSu, Q., Chen, W., Chen, W., Jin, Z., & Lin, Z. (2022). Flow Regulation Performance Analysis of Microfluidic Passive Valve for High Throughput Liquid Delivery. Micromachines, 13(5), 687. https://doi.org/10.3390/mi13050687

