A Software-Defined GNSS Reflectometry Recording Receiver with Wide-Bandwidth, Multi-Band Capability and Digital Beam-Forming
Abstract
:1. Introduction and State of the Art
2. Instrument Description
2.1. Architecture
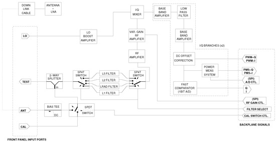
2.2. RF Receivers
2.2.1. DC Offset Compensation
2.2.2. Power Measurement System
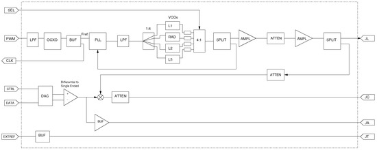
2.3. Clock Synthesizer
2.4. Time-Tagging
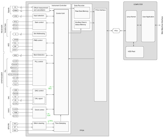
2.5. Control and Recording System
2.5.1. Instrument Controller
- Read and save the data to the ancillary data and status memory in the following order:
- (a)
- Offset measurements, offset PWM programming values and DC compensation steering mode.
- (b)
- Gain control status data.
- (c)
- PMS measurements.
- (d)
- Band selection status.
- (e)
- PLL status data.
- (f)
- DAC (Digital to Analogue Converter) control and calibration signal status.
- (g)
- Reference clock frequency measurement data.
- (h)
- NMEA navigation data message.
- Read the programming values for the next second from the PCIe interface and configure the sub-blocks.
- Wait for the next 1PPS mark.
2.5.2. Recorder
Raw-Data Transmission
Clock-Ticks Counter
2.6. Offline Signal Processor
- We only consider here the case of an up-looking antenna tracking a given GNSS satellite and a down-looking antenna tracking the corresponding specular point of reflection over the Earth’s surface. However, other options could be also envisaged with SPIR, such as the observation of areas far from the specular one with the down-looking antenna.
- The description on how to obtain waveforms from the beamformed signals is based on the interferometric approach or iGNSS-R (i.e., direct cross-correlation between direct and reflected signals) [2,3], but other processing approaches, such as the GNSS-R clean-replica e.g., [6], partial interferometry [13] or semi-codeless [14], can be also attempted with the SPIR raw dataset.
2.6.1. Beamformer
Theoretical Method
GNSS-Tracking Method
- Selection of a visible PRN (Pseudo-Random Noise) transmitter to point towards.
- Obtain the Doppler frequency of the selected PRN by computing the cross-correlation using the FFT of the reference antenna signal and the clean-replica code modulated with a carrier tone over a given frequency range. The Doppler frequency of the signal corresponds to the one that maximizes the amplitude of the correlation function.
- FFT-based cross-correlation of the data from each antenna element with the clean-replica code modulated with the Doppler obtained to generate a complex waveform for each case.
- Computation of the beamformer phases as the differences between the phases of the complex waveform’s peaks for each antenna element against the same term at the reference element.
Selected Approach
2.6.2. Interferometric Correlator
2.7. Implemented Instrument
3. Instrument Validation
3.1. Reference Clock Steering
3.2. DC Offset Compensation
3.3. Power Measurement System
4. Data Set Examples
5. Conclusions
Acknowledgments
Author Contributions
Conflicts of Interest
References
- Hall, C.D.; Cordey, R.A. Multistatic Scatterometry. In Proceedings of the International Geoscience and Remote Sensing Symposium, IGARSS ’88. Remote Sensing: Moving Toward the 21st Century, Edinburgh, UK, 12–16 September 1988. [Google Scholar]
- Martín-Neira, M. A Passive Reflectometry and Interferometry System (PARIS)—Application to ocean altimetry. ESA J. 1993, 17, 331–355. [Google Scholar]
- Martín-Neira, M.; D’Addio, S.; Buck, C.; Floury, N.; Prieto-Cerdeira, R. The PARIS Ocean Altimeter In-Orbit Demonstrator. IEEE Trans. Geosci. Remote Sens. 2011, 49, 2209–2237. [Google Scholar] [CrossRef]
- Wickert, J.; Cardellach, E.; Martín-Neira, M.; Bandeiras, J.; Bertino, L.; Andersen, O.B.; Camps, A.; Catarino, N.; Chapron, B.; Fabra, F.; et al. GEROS-ISS: GNSS REflectometry, Radio Occultation, and Scatterometry Onboard the International Space Station. IEEE J. Sel. Top. Appl. Earth Obs. Remote Sens. 2016, 9, 4552–4581. [Google Scholar] [CrossRef]
- Rius, A.; Cardellach, E.; Martín-Neira, M. Altimetric Analysis of the Sea-Surface GPS-Reflected Signals. IEEE Trans. Geosci. Remote Sens. 2010, 48, 2119–2127. [Google Scholar] [CrossRef]
- Nogués-Correig, O.; Cardellach Galí, E.; Sanz Campderròs, J.; Rius, A. A GPS-Reflections Receiver That Computes Doppler/Delay Maps in Real Time. IEEE Trans. Geosci. Remote Sens. 2007, 45, 156–174. [Google Scholar] [CrossRef]
- Rius, A.; Fabra, F.; Ribó, S.; Arco, J.C.; Oliveras, S.; Cardellach, E.; Camps, A.; Nogués-Correig, O.; Kainulainen, J.; Rohue, E.; et al. PARIS Interferometric Technique proof of concept: Sea surface altimetry measurements. In Proceedings of the 2012 IEEE International Geoscience and Remote Sensing Symposium, Munich, Germany, 22–27 July 2012; pp. 7067–7070. [Google Scholar]
- Cardellach, E.; Rius, A.; Martín-Neira, M.; Fabra, F.; Nogues-Correig, O.; Ribó, S.; Kainulainen, J.; Camps, A.; D’Addio, S. Consolidating the Precision of Interferometric GNSS-R Ocean Altimetry Using Airborne Experimental Data. IEEE Trans. Geosci. Remote Sens. 2014, 52, 4992–5004. [Google Scholar] [CrossRef]
- Meehan, T.K.; Esterhuizen, S.; Franklin, G.W.; Lowe, S.; Munson, T.N.; Robison, D.; Spitzmesser, D.J.; Tien, J.Y.; Young, L.E. TOGA, a prototype for an optimal orbiting GNSS-R instrument. In Proceedings of the 2007 IEEE International Geoscience and Remote Sensing Symposium, Barcelona, Spain, 23–27 July 2007; pp. 5109–5112. [Google Scholar]
- Esterhuizen, S.; Meehan, T.K.; Robinson, D. TOGA—A GNSS Reflections Instrument for Remote Sensing Using Beamforming. In Proceedings of the 2009 IEEE Aerospace Conference, Big Sky, MT, USA, 7–14 March 2009. [Google Scholar]
- Ribó, S.; Arco, J.C.; Oliveras, S.; Cardellach, E.; Rius, A.; Buck, C. Experimental Results of an X-Band PARIS Receiver Using Digital Satellite TV Opportunity Signals Scattered on the Sea Surface. IEEE Trans. Geosci. Remote Sens. 2014, 52, 5704–5711. [Google Scholar] [CrossRef]
- Thompson, A.; Moran, J.; Swenson, G.W., Jr. Interferometry and Synthesis in Radio Astronomy, 2nd ed.; WILEY-VHC: Weinheim, Germany, 2004. [Google Scholar]
- Li, W.; Yang, D.; D’Addio, S.; Martín-Neira, M. Partial Interferometric Processing of Reflected GNSS Signals for Ocean Altimetry. IEEE Geosci. Remote Sens. Lett. 2014, 11, 1509–1513. [Google Scholar]
- Lowe, S.T.; Meehan, T.; Young, L. Direct Signal Enhanced Semicodeless Processing of GNSS Surface-Reflected Signals. IEEE J. Sel. Top. Appl. Earth Obs. Remote Sens. 2014, 7, 1469–1472. [Google Scholar] [CrossRef]
- Oppenheim, A.V.; Willsky, A.S.; Young, I.T. Signals and Systems; Prentice Hall International: Upper Saddle River, NJ, USA, 1983. [Google Scholar]














| Sub-Block | Function |
|---|---|
| Offset measurement and cancellation | Measures the DC component of all raw signals and generates the corresponding PWM signals to cancel the offsets at all receivers. |
| Input selection | Selects either the antenna or the calibration port of the receivers. |
| Gain control | Programs the adjustable gain of the receivers, works coordinately with the slot addressing block. |
| Slot addressing | Selects the slot address in which the 16 receivers are connected to the backplane in order to be able to program them individually. |
| PMS control | Reads out the PMS measurement and physical temperature of the receivers. Works coordinately with the slot addressing block. |
| Band select | Selects the corresponding RF filter from the filter bank of the receivers and the appropriate VCO (Voltage-Controlled Oscillator) at the synthesizer board. |
| PLL control | Programs the synthesizer board PLL parameters. |
| DAC control | Generates the calibration signal and sends it to the synthesizer board which converts it to the analogue domain and shifts it to RF. |
| Clock control | Measures the actual reference clock frequency respect to the PPS marks and adjust its frequency towards its nominal value by generating a PWM that is delivered to the OXCO. |
| Glitch cleaning | Acquires the 1PPS signal provided by the standard GPS receiver, cleans it from possible glitches and distributes it to the different blocks for general synchronization. |
| Time stamping | Parses the NMEA message provided by GPS receiver and provides this information to the control unit. |
© 2017 by the authors. Licensee MDPI, Basel, Switzerland. This article is an open access article distributed under the terms and conditions of the Creative Commons Attribution (CC BY) license (http://creativecommons.org/licenses/by/4.0/).
Share and Cite
Ribó, S.; Arco-Fernández, J.C.; Cardellach, E.; Fabra, F.; Li, W.; Nogués-Correig, O.; Rius, A.; Martín-Neira, M. A Software-Defined GNSS Reflectometry Recording Receiver with Wide-Bandwidth, Multi-Band Capability and Digital Beam-Forming. Remote Sens. 2017, 9, 450. https://doi.org/10.3390/rs9050450
Ribó S, Arco-Fernández JC, Cardellach E, Fabra F, Li W, Nogués-Correig O, Rius A, Martín-Neira M. A Software-Defined GNSS Reflectometry Recording Receiver with Wide-Bandwidth, Multi-Band Capability and Digital Beam-Forming. Remote Sensing. 2017; 9(5):450. https://doi.org/10.3390/rs9050450
Chicago/Turabian StyleRibó, Serni, Juan Carlos Arco-Fernández, Estel Cardellach, Fran Fabra, Weiqiang Li, Oleguer Nogués-Correig, Antonio Rius, and Manuel Martín-Neira. 2017. "A Software-Defined GNSS Reflectometry Recording Receiver with Wide-Bandwidth, Multi-Band Capability and Digital Beam-Forming" Remote Sensing 9, no. 5: 450. https://doi.org/10.3390/rs9050450
APA StyleRibó, S., Arco-Fernández, J. C., Cardellach, E., Fabra, F., Li, W., Nogués-Correig, O., Rius, A., & Martín-Neira, M. (2017). A Software-Defined GNSS Reflectometry Recording Receiver with Wide-Bandwidth, Multi-Band Capability and Digital Beam-Forming. Remote Sensing, 9(5), 450. https://doi.org/10.3390/rs9050450

