Next Article in Journal
MBGPIN: Multi-Branch Generative Prior Integration Network for Super-Resolution Satellite Imagery
Previous Article in Journal
Spatiotemporal Responses and Vulnerability of Vegetation to Drought in the Ili River Transboundary Basin: A Comprehensive Analysis Based on Copula Theory, SPEI, and NDVI
 
 
Font Type:
Arial Georgia Verdana
Font Size:
Aa Aa Aa
Line Spacing:
Column Width:
Background:
Article

Application of Improved Fault Detection and Robust Adaptive Algorithm in GNSS/INS Integrated Navigation

1
GNSS Research Center, Wuhan University, Wuhan 430072, China
2
School of Electronic Information, Wuhan University, Wuhan 430072, China
3
Hubei Luojia Laboratory, Wuhan 430072, China
4
School of Electronics and Information Engineering, Hubei University of Science and Technology, Xianning 437100, China
5
School of Microelectronics, Wuhan University, Wuhan 430072, China
*
Author to whom correspondence should be addressed.
Remote Sens. 2025, 17(5), 804; https://doi.org/10.3390/rs17050804
Submission received: 22 January 2025 / Revised: 13 February 2025 / Accepted: 21 February 2025 / Published: 25 February 2025

Abstract

In vehicle GNSS/INS integrated navigation, robust and adaptive algorithms have become one of the key technologies for achieving a comprehensive PNT due to their ability to control the gross errors of the observation model and dynamic model. The Sage–Husa algorithm is widely used in optimizing the Kalman filter due to its ability to estimate the observation or state covariance without prior information. However, the quality of observations in complex environments is prone to large fluctuations, so the averaging method is not suitable for dynamic navigation. To solve this problem, this article designs a double window structure and introduces a time-dependent fading weighted factor. At the same time, a logarithmic form factor constructor is proposed in order to avoid anomalies in the robust and adaptive factor. The traditional innovation adaptive filter is improved and turned into a multi-factor adaptive filter. In this paper, an improved fault detection algorithm is used to combine a robust algorithm with an adaptive algorithm to adapt to different gross errors in different scenarios. The experimental results of complex scenarios show that the position RMSE of the improved algorithm in the east, north, and height directions is 0.68 m, 0.71 m, and 1.05 m, respectively, which are reduced by 39.3%, 39.3%, and 70.3% compared to the EKF.

1. Introduction

With the rapid development of science and technology, the navigation and positioning technology represented by GNSS/INS integrated navigation plays an increasingly important role in human society [1,2,3]. At the same time, it also needs to adapt to various application scenarios, such as GNSS occlusion or GNSS spoofing [4] and jamming [5]. However, due to the complex urban environment, the accuracy of GNSS fluctuates greatly and it even fails to locate [6]. Limited by the inherent defects of low-cost MEMS IMU, the SINS error accumulates rapidly without external observation constraints [7].
In the complex urban environment, GNSS signals are blocked in boulevards, tunnels, urban canyons, and other environments, resulting in GNSS observation gross errors. At the same time, INS state gross errors occur because the errors cannot be effectively compensated in the process of INS mechanization. The gross error of the INS state means that the prior position information of INS does not match its variance covariance matrix, and the integrated navigation error caused by its false high position accuracy is called the dynamic model fault. The gross error of GNSS observation refers to the mismatch between the accuracy of the GNSS positioning solution and its covariance matrix. The integrated navigation error caused by GNSS signal occlusion is called the observation model fault. For the observation model fault and dynamic model fault in integrated navigation, the robust algorithm and adaptive algorithm are applied to fault suppression because of their ability to suppress gross errors. The robust algorithm is applicable to the gross error of the observation model. Crespillo et al. [8] considered robust M estimation on the basis of being tightly coupled, and distinguished different fault scenarios. Guo et al. [9] designed the dynamic adjustment of abnormal observations based on the Chi square test and multiple attenuation factors, but this method did not distinguish between the different solution states. The adaptive algorithm is used for the gross error of the dynamic model. Vouch et al. [10] implemented the signal processing module based on INS and improved the method of state estimation. Yang et al. [11] designed the adaptive filter according to the discrepancy between the prediction of the dynamic model and the actual carrier motion. However, in the research of the adaptive algorithm, the difference of the internal information reliability is less considered. The Sage–Husa filter [12] is often used to optimize the robust adaptive filter. The Sage–Husa filter is derived from one of the random model error compensation methods. The basic principle is to estimate the observation covariance matrix or model covariance matrix of the current epoch by using the moving window method. Its limitation is that the vectors in the window are required to meet the conditions of the same dimension and the same distribution.
The robust adaptive algorithm is often applied to the error suppression of data fusion in complex scenes because of its excellent anti-gross-error ability and adaptive ability. The research and development of this kind of algorithm happened earlier and is more comprehensive. Many scholars have proposed different robust adaptive algorithm models to reduce the impact of the integrated navigation error. There are three main ideas for the robust adaptive algorithm in the current research. The first is to perform robust filtering only for the observation model [13]. Robust filtering is generally used when the observation value is contrary to the normal distribution or the observation value is polluted. The robust algorithm used in Kalman filtering is derived from the robust estimation principle. Scholars have conducted a series of systematic research on robust estimation, including M-estimation filtering based on the robust loss function [14], covariance adjustment method [15,16], H∞ filtering [17], variable Bayesian estimation method [18], and adaptive multiple model filtering [19,20]. The second is to perform adaptive filtering only for the dynamic model [21]. Adaptive filtering means that, when the dynamic model has abnormal errors, the dynamic model information is regarded as a whole, and the covariance matrix of the dynamic model is dynamically adjusted by using adaptive factors to adjust the weight of the contribution of the dynamic model to the combined information. Scholars have conducted systematic research on adaptive filtering, including the statistics-based adaptive factor [22], multi-factor classification adjustment method [23], covariance matching method [24], and machine-learning method [25]. The third is the combination of robust filtering and adaptive filtering [26,27], which is used to suppress the anomaly of the observation model and dynamic model of integrated navigation. For example, Gao et al. [28] designed a new adaptive filter based on the Mahalanobis distance principle, which has the ability to control the dynamic model and observation model, and can suppress the influence of the abnormal noise of the dynamic model and observation model. However, this method does not classify the types of faults or anomalies; that is, it does not make a reasonable choice between robust filtering and adaptive filtering.
In recent research, the fault detection algorithm is introduced into the robust adaptive algorithm to detect whether there is a fault and identify the type of fault, and then select the corresponding filter method. In the research of fault detection, there are mainly three types. The first is to use signal processing for integrated navigation fault detection [29]. Based on the principle of signal processing, this type of fault detection algorithm extracts the special signals in the signal system of integrated navigation, extracts their eigenvalues or other state information, and transmits the extracted information to the fault detection system. The signal processing methods commonly used in the system include wavelet transform [30,31] and the correlation function. This method extracts the special signals in the integrated navigation signal system to detect faults. But this method requires additional signal processing units. The second is a fault detection method based on neural networks and machine learning [32]. This method uses the neural network model to learn the eigenvalues of fault sample data, so as to detect and judge the fault. For example, Chen et al. [33] used wavelet transform to extract fault information features, and used the genetic algorithm to optimize the BP neural network model for fault detection. The disadvantage of this method is that it needs a lot of data and a huge amount of calculation. The third is the fault detection algorithm based on the filter model [34]. The representative algorithm is the chi-square fault detection algorithm. The state-based chi-square fault detection algorithm needs to add a state recursor in addition to the integrated navigation filter, so the calculation is repeated. However, most chi-square fault detection algorithms are only limited to fault detection, and there is little research on fault type identification.
In this paper, GNSS/INS loosely coupled is improved to semi-tightly coupled [35,36]. In the Sage–Husa algorithm, the traditional single-window structure is improved to a double-window structure, and the time-dependent fading weighted factor is introduced to adapt to the volatility of dynamic navigation and positioning in complex scenes. In this paper, the robust and adaptive factor constructor is designed in logarithmic form to avoid the problem of abnormal factors. Aiming at the problem that the single adaptive factor cannot distinguish between the reliability difference between state components, the adaptive algorithm is improved to a multi-factor adaptive algorithm. The chi-square fault detection algorithm is combined with the abnormal innovation fault detection algorithm to improve the efficiency and success rate of the fault detection algorithm. Finally, the fault detection algorithm is combined with the robust adaptive algorithm, and the corresponding robust and adaptive filter is adopted for specific fault types to adapt to the changing environment.

2. GNSS/INS Semi-Tightly Coupled Model

2.1. Structure of Semi-Tightly Coupled

Semi-tightly coupled is a form between loosely coupled and tightly coupled. Different from loosely coupled, the initial position of the user station in the real-time kinematic (RTK) algorithm is provided by the INS prior position. From the perspective of the structure, semi-tightly coupled is an improved form of loosely coupled. From the perspective of combination form, semi-tightly coupled is a simplified form of tightly coupled, which realizes the information fusion between INS and GNSS in the position domain. Figure 1 is the structure of semi-tightly coupled.

2.2. Integrated Navigation Mathematical Model

The mathematical model of semi-tightly coupled is similar to that of loosely coupled. The discrete-state Kalman filter is selected as the optimal estimation algorithm of integrated navigation. The system state vector selects the 15-dimensional error state related to INS as follows:
δ X = δ r e δ v e ψ b g b a T .
where δ X is the error state vector, δ r e is the position error vector, δ v e is the velocity error vector, ψ is the attitude error vector, b g is the gyro bias, and b a is the accelerometer bias.
The difference between the one-step prediction position obtained by INS and the observation position obtained by GNSS is taken as the measurement of the Kalman filter. At the same time, the lever arm effect of the split system is considered. The measurement of the Kalman filter can be obtained by the difference between the estimator and the observation as follows:
δ Z r = r ^ G N S S e r ˜ G N S S e = δ r e + ( C b e l b × ) ψ ε G N S S e .
where r G N S S e represents the projection of the GNSS antenna phase center position in the e-frame, superscript · ^ indicates that it is predicted by the INS, superscript · ˜ indicates that it is observed by the GNSS, C b e is the attitude rotation matrix from the b-frame to e-frame, l b is the projection of the lever arm vector from the IMU center to GNSS antenna phase center in the b-frame, and ε G N S S e is the observed error vector.
The time update equation and measurement update equation of the integrated navigation Kalman filter can be referred to in the literature [37].

3. Improved Robust and Adaptive Filter

3.1. Double-Window Fading Weighted Sage–Husa Robust Algorithm

The essence of robust algorithm is to reflect the deviation between the actual error of the observation and its theoretical covariance through error statistics. Then, the robust factor is constructed to amplify the covariance matrix of the observation. This paper uses innovation covariance error statistics as error statistics. The Sage–Husa robust algorithm estimates the observation covariance matrix of the current epoch by windowing and averaging. Traditional algorithms have three potential problems. First, the innovations in the window should meet the same dimension and distribution. However, it is difficult to guarantee the same distribution between different solution states. Second, with the average method, it is easy to make the error of the previous epoch affect the current epoch. Third, in the actual test, the traditional robust factor constructor will cause the problem wherein the robust factor is too large, thus resulting in an abnormal filter. This paper makes improvements on these three issues.

3.1.1. Structure of Double-Window Robust Filter

In order to solve the problem wherein the innovation vector does not meet the same distribution in the state of different positioning solutions, this paper distinguishes the fixed solution and float solution for the innovation vector in the GNSS solution data. The fluctuation of the innovation covariance estimate over time is drawn, and the float solution and fixed solution are distinguished. As shown in Figure 2, the innovation covariance of the fixed solution and float solution is quite different. In order to adapt to the differences between the different solution states and meet the same dimension and distribution of the innovation vectors in the same window as much as possible, this paper designs a double-window structure of classified preservation, as shown in Figure 3.
This method selects the corresponding fixed or float window to save the innovation covariance according to the current positioning solution state; that is, the window switching standard is whether the GNSS solution state is a fixed solution. The standard Kalman filter or robust filter is selected according to the result of the innovation covariance matching. If the filter method is the robust filter, we select the corresponding window to calculate the robust factor according to the current solution state, and then perform robust filtering.

3.1.2. Fading Weighted Factor

It can be found from Figure 2 that the innovation covariance not only has great differences between the different solution states, but also fluctuates greatly with time. Especially when the time interval is long, it is difficult to ensure the consistency between the current epoch and the historical epoch. In this paper, the time-dependent fading weighting factor is introduced to increase the combination weight of the more recent epoch and reduce the weight of the more distant epoch in the window. This paper uses the reciprocal of the time interval between each epoch in the window and the current epoch as the weighted weight. If the time interval between each epoch in the window and the current epoch is closer, the combined weight of the epoch in the window will be greater. Therefore, the weighted innovation covariance matrix of each epoch in the window can be expressed as follows:
Σ ^ V ¯ i = 1 t k t k i + 1 V ¯ k i V ¯ k i T .
where Σ ^ V ¯ i represents the weighted innovation covariance matrix of the i epoch in the window, t k represents the current epoch time, t i represents the time corresponding to the i innovation in the window, V ¯ k i means innovation vector, and the denominator plus 1 in the formula is to prevent the occurrence of 0 weight.
Therefore, the influence of the past epoch on the current epoch should be weakened while preserving the window to increase stability. This paper abandons the traditional method of taking the mean value and designs a time-dependent fading weighted algorithm.
Σ ^ V ¯ k = i = 0 N Σ ^ V ¯ i j = 1 N 1 t k t k j + 1
where Σ ^ V ¯ k represents the estimated value of the innovation covariance matrix calculated by the weighted Sage–Husa algorithm, and N is the size of the window. In the GNSS/INS integrated navigation system, the sliding window generally needs to cover at least three GNSS sampling periods. This paper suggests that the window size should be set to 3–5 times the observation frequency of the system. The theoretical calculation value of the innovation covariance matrix Σ V ¯ k can be obtained in the measurement update of the Kalman filter as follows:
Σ V ¯ k = R k + H k P k , k 1 H k T .
where R k is the observation covariance matrix, H k is the design matrix, and P k , k 1 is the one-step prediction state covariance matrix. The covariance estimate of the observation vector can be calculated through the innovation covariance estimate as follows:
R ^ k = Σ ^ V ¯ k H k P k , k 1 H k T .
The error statistic Δ V can be calculated by the observation covariance estimate and the observation covariance prior value as follows:
Δ V = tr ( R ^ k ) tr ( R k ) = tr ( Σ ^ V ¯ k H k P k , k 1 H k T ) tr ( R k ) .

3.1.3. Logarithmic Robust Factor Constructor

The constructors of the robust factor usually have a linear form, exponential form, etc.
λ = 1 , Δ V < c Δ V c , Δ V c
λ = 1 , Δ V < c e ( Δ V c ) 2 , Δ V c
where λ is the robust factor, and c is the constant, generally 1. Although these constructors can reflect the changes in error statistics in real time to enlarge the observation covariance, the instability of dynamic navigation and positioning often leads to a factor that is too large. It is easy to cause the divergence of the filter. The general practice is to set a threshold for the factor. Such practice will lead to the fact that the robust factor cannot fully reflect the changes in error information. And the setting of the threshold often has a great impact on the performance, so it is difficult to determine the optimal threshold.
In practical navigation applications, the magnitude of the error statistics is often large, and the magnitude of the robust factor constructed by the linear and exponential form in this case will also be too large, resulting in the divergence of the overall Kalman filter. Therefore, this paper designs a logarithmic three-stage constructor.
λ = 1 , Δ V < 1 Δ V , 1 Δ V < e e ln Δ V , Δ V e
In Equation (10), the first segment function uses a constant factor “1”, which means that the preset measurement noise covariance matrix is not mismatched and will not be expanded. The second segment function uses a linear factor. When the error statistics are small, the linear factor performs better than the logarithmic factor in highlighting outliers, while the magnitude of the exponential factor is larger. The third segment function uses the logarithmic factor. When the error statistics are large, the linear factor and exponential factor will have a large order of magnitude, which is not conducive to the filtering process. The natural constant e is selected as the threshold of the error statistics. The robust factors constructed by the linear, exponential, and logarithmic forms are shown in Figure 4.
From a theoretical point of view, the logarithmic form can compress a large range of data to a smaller range, thereby reducing the impact of extreme values; on the contrary, the exponential form will magnify the difference in data, and will be especially more sensitive to larger values. From the perspective of mathematical properties, the derivative of the natural logarithm function decreases with the increase in input, which means that, for larger input values, the adjustment range is small, thus inhibiting the influence of abnormal values; the derivative of the exponential function increases with the increase in input, which will magnify the effect of outliers. Therefore, the exponential form may cause the filter to diverge under abnormal conditions due to the amplification effect, while the logarithmic form enhances the robustness and interpretability of the data through the natural logarithmic transformation, which can adaptively suppress abnormal values, and is more suitable for building a robust factor model.
The logarithmic robust factor constructed in this paper is a convex function. Compared with the two-stage function of the linear function and the exponential function of the concave function, it can control the robust factor in a reasonable range when the error statistics are too large. At the same time, it can also ensure that the robust factor changes with the change in error statistics. Here, we draw the curve of the tolerance factor in the actual test on the tree-lined roads. They are a two-stage function without a threshold mode, a two-stage function with a threshold mode, and a logarithmic function without a threshold mode.
It can be seen from Figure 5 that the robust factor without a threshold will be particularly large. After setting the threshold, most robust factors are set to the threshold size. The logarithmic form can make the factor fluctuate with the statistical information while ensuring that there is no super-large factor, so as to better reflect the error. The position error statistics of the three modes are shown in Table 1.
It can be found from the RMSE that the performance of the logarithmic robust factor is better than the traditional method of setting the threshold. The biggest advantage of the logarithmic function is its adaptive performance, without setting different thresholds for different data.

3.2. Multi-Factor Adaptive Filter

The essence of the adaptive filter is to construct an adaptive factor to adjust the state covariance matrix for the anomalies of the dynamic model. The traditional innovation adaptive filter often uses a single adaptive factor, which has the advantage of a simple calculation, but it will ignore the differences within the state vector. However, the reliability of various parameters of the dynamic model is often inconsistent in the actual test, and the utilization of reliable parameters will be lost when the unified adaptive factor is used to adjust it. It also affects the effective adjustment of parameters with a large error. This paper uses a multi-factor algorithm. We find the corresponding adaptive factor for each observable state component in the state vector.
Δ V i =   Σ ^ V ¯ k , i Σ V ¯ k , i 1 2
where Δ V i is the i component of the calculated error statistics, and the subscript i of   Σ ^ V ¯ k , i and Σ V ¯ k , i represents the i element on the diagonal of the innovation covariance matrix. The logarithmic function proposed in this paper is also introduced to construct the adaptive factor. And it is necessary that we consider the correlation of the same type of state components, so the two-factor equivalent covariance principle is introduced to maintain the correlation of the original matrix.
α k , i i = 1 Δ V i < 1 1 Δ V i 1 Δ V i < e 1 e ln Δ V i Δ V i e α k , j j = 1 Δ V j < 1 1 Δ V j 1 Δ V j < e 1 e ln Δ V j Δ V j e
α k , i j = α k , j i = α k , i i · α k , j j
where α k , i i is the adaptive factor of the i component in the observable state vector, which is used to amplify the i element in the diagonal elements of the covariance matrix of the state vector, α k , i j is the adaptive factor of row i and column j of the state vector covariance matrix, and α k , j i is the adaptive factor of row j and column i of the state vector covariance matrix. The covariance matrix of the state prediction after the multi-factor adaptive adjustment can be obtained as follows:
P ¯ k , k 1 = 1 α 11 P ¯ 11 1 α 12 P ¯ 12 1 α 13 P ¯ 13 1 α 21 P ¯ 21 1 α 22 P ¯ 22 1 α 23 P ¯ 23 1 α 31 P ¯ 31 1 α 32 P ¯ 32 1 α 33 P ¯ 33 .
Taking the actual test in the tree-lined roads as an example, the reciprocal curves of the three adaptive factors on the position component in the filter are drawn.
It can be seen from Figure 6 that the change trend of the adaptive factors of different components is basically the same, but there will be cases of inconsistent sizes. It can reflect the differences between the reliability of different components, reflecting the necessity of using multiple factors.

3.3. Fault Detection Algorithm Based on Double Chi-Square Combined with Abnormal Innovation Ratio

3.3.1. Abnormal Innovation Ratio Fault Detection and Chi-Square Fault Detection Algorithm

In semi-tightly coupled, INS prior position information is used to assist in the calculation of GNSS RTK, and the remaining steps are similar to loosely coupled. Therefore, the proportion of RTK abnormal innovation components to the total amount can be used to determine the type of integrated navigation fault. The innovation of the RTK solution assisted by the INS prior position is as follows:
V ¯ = y h ( x ) = Φ u r 12 r u r 12 + λ ( B u r 1 B u r 2 ) Φ u r 1 m r u r 1 m + λ ( B u r 1 B u r m ) P u r 12 r u r 12 P u r 1 m r u r 1 m .
where V ¯ is the innovation of RTK—under normal circumstances, each component of innovation should be close to 0. y represents RTK measurement information, h ( x ) is the predicted value of the measurement information obtained from the status information through the functional relationship, Φ u r 1 m is the carrier phase double difference observation value, P u r 12 is the pseudo range double difference observation value, r u r 12 is the double differential distance between receivers and satellites, λ is the carrier frequency, and B u r m is the single difference ambiguity. It can be seen from the innovation components that each component contains a double differential satellite ground distance, which contains ins prior positions. Therefore, if INS fails, abnormal innovation accounts for a high proportion. On the contrary, GNSS satellites generally do not have problems in a large area, and the abnormal innovation rate is relatively low at this time. Therefore, the failure of the dynamic model can be judged by the proportion of abnormal innovation. However, it cannot distinguish between no fault and the observation model fault.
The chi-square test is to reflect the deviation between the theoretical value and the actual observation value through statistics. When the system runs normally, the innovation of the integrated navigation measurement update meets the Gaussian distribution, with a mean value of 0 and a variance of R k + H k P k , k 1 H k T . When the system fails, the innovation does not meet the assumption of 0-means, so the innovation chi-square fault detection function can be constructed as follows:
Λ k = V ¯ k T Σ V ¯ k 1 V ¯ k .
According to the statistical characteristics of innovation V ¯ k , it can be deduced that Λ k obeys the chi-square distribution with n degrees of freedom, and n is the dimension of the innovation vector. When the integrated navigation system fails, the statistic Λ k will rapidly increase with the abnormal increase in V ¯ k . Therefore, whether the system fails can be determined by judging whether the statistic Λ k is greater than the threshold as follows:
H 0 : Λ k < T D n o r m a l H 1 : Λ k T D f a l u t .
When Λ k < T D , the system is normal. On the contrary, when Λ k T D , the system fails. Chi-square fault detection is generally used to detect whether a fault occurs, but cannot detect the type of fault.

3.3.2. Improved Fault Detection Algorithm

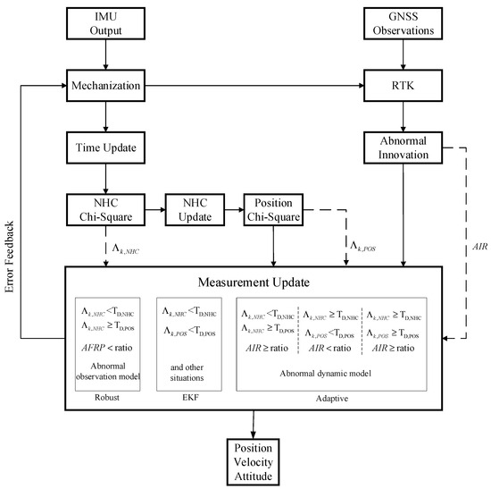
Combined with the respective characteristics of the abnormal innovation ratio (AIR) fault detection algorithm and chi-square fault detection algorithm, and combined with the non-holonomic constraints, a dual chi-square combined abnormal innovation ratio fault detection algorithm is formed. This method can take into account the detection and identification of faults, as well as the detection of prior position faults and prior velocity faults of the dynamic model. The flow chart of the improved fault detection algorithm is shown in Figure 7.
The solid line in the connecting line indicates the normal solution process of integrated navigation, and the dotted line indicates that the fault detection statistics are transferred to the integrated navigation measurement update for fault detection. As shown in the flow chart, after the inertial mechanization, the prior position predicted by INS is transmitted to the RTK branch line for the calculation of AIR. NHC chi-square detection is performed before the NHC update, and the statistical value of NHC chi-square detection is transferred to the fault detector. If the NHC chi-square value is greater than the threshold, the NHC update will not run, and the gross error will be adjusted uniformly in the subsequent robust adaptive algorithm; otherwise, the NHC update will run normally. Before the GNSS measurement update, the position chi-square detection statistics are calculated. Finally, the NHC chi-square detection statistics, position chi-square detection statistics, and the ratio of abnormal innovation are combined to determine whether the fault occurs. If a fault occurs, the type of fault is identified, which provides a basis for the subsequent robust, adaptive, or standard Kalman filter. The basic logic of judgment is as follows.
When both NHC chi-square and position chi-square are less than the threshold, the system has no fault, and the standard Kalman filter is directly applied. When the NHC chi-square is less than the threshold and the position chi-square is greater than the threshold, it belongs to the position error mutation, which needs to be judged together with AIR. If AIR is less than the threshold, it is judged to be the fault of the observation model, and robust filtering is carried out. Otherwise, adaptive filtering is carried out. When the NHC chi-square is greater than the threshold and the position chi-square is less than the threshold, it reflects the prior velocity gross error, which is not reflected in the position chi-square in time. At this time, if the AIR is lower than the threshold, adaptive filtering is performed. When the NHC chi-square and the position chi-square are both greater than the threshold, the theoretical analysis is that the INS dynamic model is faulty, and the AIR should be higher than the threshold. Therefore, if the AIR is higher than the threshold, the adaptive filter is carried out. On the contrary, if the AIR is lower than the threshold, such cases are not in the preset range, and the possibility is low. The standard Kalman filtering is carried out.

4. Experimental Analysis

In order to evaluate the performance of the improved fault detection algorithm and robust adaptive algorithm, a group of vehicle GNSS+INS measured data were processed and analyzed in this paper. The data were collected in 2021 in the complex environment of Wuhan. The data to be tested are collected by M39, and the reference true value is collected by SPAN-CPT6 of NovAtel. The IMU’s parameters of the two devices are shown in Table 2.
The experimental scenarios include tunnels, boulevards, urban canyons, and other complex urban environments (as shown in Figure 8). In such scenarios, the observation quality of GNSS is poor, the number of observable satellites fluctuates frequently, the fixed rate is low, and the observation gross error often occurs. The gross error of the observed values also easily leads to the abnormality of the dynamic model. Therefore, this kind of scenario is suitable for testing the performance of the fault detection algorithm and robust adaptive algorithm constructed in this paper.

4.1. Experimental Analysis of Double-Window Fading Weighted Sage–Husa Robust Algorithm

In order to analyze the performance of the improved Sage–Husa robust algorithm, this paper selects the experimental scenes of the boulevard and urban canyon sections. The robust performance is analyzed by comparing the positioning error of the extended Kalman filter and the traditional single-window Sage–Husa algorithm.
Figure 9 shows the position error of different algorithms under the boulevard and urban canyon sections. (In the legend, EKF represents the extended Kalman filter, SW represents the single-window Sage–Husa algorithm, and DWFW represents the double-window fading weighted Sage–Husa robust algorithm.)
The area circled by the red dotted line in the Figure 9 is the area where the performance of the improved robust algorithm is significantly improved compared with the EKF and the traditional Sage–Husa algorithm. In these regions, the improved robust algorithm has a greater accuracy than the EKF due to its classification window structure and reasonable robust factor design. The traditional single-window Sage–Husa has deteriorated in some areas. In the error curve, it can be found that the robust algorithm deteriorates in a few areas outside the frame line, because only the robust filter is carried out, and the dynamic model fault is not adjusted. The boxplot of the position error of the three algorithms are shown in Figure 10.
The boxplot can reflect the concentration of error and the stability of the system. From the boxplot of position error, it can be concluded that the error distribution of the EKF is the least concentrated in the east error, and there are more outliers that deviate from the upper and lower boundaries, while the errors of the traditional Sage–Husa algorithm and the improved robust algorithm are more concentrated near 0 m, and the improved robust algorithm has less outliers. In the north error, the traditional Sage–Husa algorithm has more outliers. In the height error, the improved robust algorithm also has more obvious improvement compared with the EKF and the traditional Sage–Husa algorithm. The robustness of the improved robust algorithm is better.
The statistical information of the RMSE and maximum error of each algorithm position is shown in Table 3.
From the position RMSE, it can be seen that, compared with the EKF, the improved robust algorithm is reduced by 30.4%, 26.5%, and 47.3% in the three directions of the east, north, and height, respectively. Compared with the traditional Sage–Husa algorithm, it is reduced by 33.9%, 39.0%, and 10.6% in the three directions of the east, north, and height, respectively; from the maximum value of position error, it can be seen that, compared with the EKF, the position maximum error of the improved robust algorithm is reduced by 8.8%, 26.5%, and 47.5% in the three directions of the east, north, and height, respectively. Compared with the traditional Sage–Husa algorithm, the position maximum error is reduced by 1.2%, 47.0%, and 23.5% in the three directions of the east, north, and height, respectively.

4.2. Experimental Analysis of Multi-Factor Adaptive Algorithm

In order to verify the performance improvement of the multi-factor adaptive algorithm in this paper, the boulevard and urban canyon were selected as experimental sections. The multi-factor adaptive filter is compared with the EKF and single-factor adaptive filter, and the position error curves of the three algorithms are drawn in Figure 11. (In the legend, EKF represents the extended Kalman filter, SF represents the single-factor adaptive filter, and MF represents the multi-factor adaptive filter.)
The area circled by the red dotted line in Figure 11 is the area where the improvement of the multi-factor adaptive filter is more obvious. In these regions, the multi-factor adaptive filter calculates the corresponding adaptive factors for different components of the state vector, making full use of the state components with high reliability. For the state components with low reliability, the combination weight is reduced. Therefore, the effect of the multi-factor adaptive filter to suppress the gross error of the dynamic model is more obvious. The boxplot of the position errors of the three algorithms are shown in Figure 12.
From the boxplot, it can be seen that the position error of the EKF and the single-factor adaptive filter are more dispersed and have more outliers in the three directions. The multi-factor adaptive filter has a higher concentration of position errors and fewer outliers, and the system is more stable. The statistical information of the RMSE and maximum error of each algorithm is shown in Table 4.
From the position RMSE, it can be seen that, compared with the EKF, the multi-factor adaptive filter has decreased by 34.8%, 38.5%, and 59.2% in the three directions of the east, north, and height, respectively. Compared with the single-factor adaptive filter, it decreased by 8.8%, 33.9%, and 15.3% in the three directions of the east, north, and height, respectively. From the maximum position error, compared with the EKF, the multi-factor adaptive filter has decreased by 13.6%, 40.1%, and 55.4% in the three directions of the east, north, and height, respectively. Compared with the single-factor adaptive filter, it has decreased by 1.3%, 50.8%, and 51.8% in the three directions of the east, north, and height, respectively. The overall performance and the ability to suppress large gross errors of the multi-factor adaptive filter are better than the other two algorithms.

4.3. Experimental Analysis of Fault Detection Combined with Robust Adaptive Algorithm

In order to verify the performance of the improved fault detection method combined with the robust adaptive algorithm for gross error suppression, this paper selects three sections of data in complex scenes for analysis. The position errors of different fault detection methods combined with robust adaptive algorithms are compared. The improved algorithm proposed in this paper is compared with the EKF, NHC fault detection method combined with robust adaptive algorithm, and abnormal innovation ratio fault detection method combined with robust adaptive algorithm. The first complex scene is the lakeside boulevard, and its position error curve is shown in Figure 13. (In the legend, EKF repre-sents the extended Kalman filter, NHC C-S represents the NHC chi-square fault detection method combined with robust adaptive algorithm, AIR represents the abnormal innovation ratio fault detection method combined with the robust adaptive algorithm, and improved algorithm represents the improved fault detection method combined with the robust adaptive algorithm proposed in this paper.)
In Figure 13, there are only pure inertial navigation calculations in area 1 circled in the figure, and error divergence occurs in each algorithm. In area 2, GNSS is seriously occluded and interfered by the multi-path reflection from the lake. The observation quality of the GNSS is poor. The EKF has a serious error divergence due to the frequent gross errors of GNSS. The improved algorithm can reduce the error to the greatest extent. In area 3, the observation quality of GNSS is poor, and the accuracy of NHC C-S and AIR deteriorates due to the wrong fault detection, while the improved algorithm does not appear abnormal. Area 4 is the urban canyon section, and the improved algorithm still maintains high stability and accuracy. The statistical information of the position RMSE and maximum position error of each algorithm is shown in Table 5.
From the statistical information, it can be concluded that the accuracy of the improved algorithm is significantly improved. Compared with the EKF algorithm, the position RMSE of the improved algorithm is reduced by 37.5%, 10.7%, and 63.2% in the three directions of the east, north, and height, respectively. Compared with the EKF algorithm, the position maximum error is reduced by 53.3%, 44.1%, and 89.8% in the three directions of the east, north, and height, respectively. The accuracy of the improved algorithm is higher than that of other robust adaptive algorithms. The improved fault detection and robust adaptive algorithm has a more obvious effect on fault detection and suppression. The second complex scene is the urban canyon and dense boulevard, and the position error curve is shown in Figure 14.
The experimental scene can be divided into three sections, corresponding to the three areas divided in the figure. The first section is the section of the bridge on the lake, the second section is the section of the urban canyon, and the third section is the dense boulevard. The observation quality of GNSS is very poor, and GNSS is almost covered all the way in the third section. From the position error curve of this section, it can be seen that each algorithm performs well in the first open scene. In the second urban canyon section, the curves of several robust adaptive algorithms are smoother and more accurate than the EKF. In the third section, the EKF often has large error fluctuations. The curve of NHC C-S fluctuated greatly in some periods. AIR is relatively stable in most of the time, but error divergence still occurs in a few areas. Overall, the improved algorithm has higher accuracy and stability. The statistical information of the position RMSE and maximum position error of each algorithm is shown in Table 6.
From the statistical information, it can be concluded that the improved algorithm is the most obvious in improving the position accuracy. Compared with the EKF algorithm, the position RMSE of the improved algorithm is reduced by 39.3%, 39.3%, and 70.3% in the three directions of the east, north, and height, respectively; compared with the EKF, the position maximum error of the improved algorithm is reduced by 22.7%, 39.2%, and 69.1% in the three directions of the east, north, and height, respectively. In the overall performance and the ability to suppress large gross errors, the improved algorithm is the best. The third complex scene is the tunnel, and the position error curve is shown in Figure 15.
The GPS week internal seconds of the two tunnel sections are 207,677–207,692 s and 207,800–207,815 s, respectively, corresponding to area 1 and area 2 marked by the green circle in Figure 15. After entering the first section of the tunnel, the errors of the four algorithms increase in the tunnel. This is because there is no external observation information to measure and update the INS. They are all pure inertial navigation calculations. The error divergence of the NHC chi-square fault detection method of the joint robust adaptive algorithm and the AIR fault detection method of the joint robust adaptive algorithm is more serious in the tunnel; when leaving the first tunnel, the improved algorithm detects the gross errors of the INS dynamic model accumulated in the tunnel, and carries out adaptive filtering to suppress the influence of gross errors, so as to suppress the error divergence at the first time. The curve also reflects that the error of the improved algorithm decreases the fastest at the exit of the first tunnel. In the second section of the tunnel, the NHC chi-square fault detection method of the joint robust adaptive algorithm and the AIR fault detection method of the joint robust adaptive algorithm also have a large divergence, while the EKF and the improved algorithm perform well. Throughout the whole curve, the improved algorithm has a certain accuracy improvement compared with the other three methods on the premise of ensuring the stability of the system, and has a better effect on the accumulation of error and the suppression of gross error. The statistical information of the position RMSE and maximum position error of each algorithm is shown in Table 7.
From the statistical information, it can be found that the accuracy of the improved algorithm in the tunnel scene is significantly improved. Compared with the EKF algorithm, the position RMSE of the improved algorithm is reduced by 28.6%, 28.0%, and 11.1% in the three directions of the east, north, and height, respectively; compared with the EKF algorithm, the position maximum error of the improved algorithm is reduced by 19.9%, 24.6%, and 31.2% in the three directions of the east, north, and height, respectively. The improved algorithm is the best in overall accuracy, and has a better inhibition effect for large gross errors.

5. Discussion

The vehicle GNSS/INS integrated navigation in complex scenes often results in the failure of the observation model and dynamic model due to the poor observation quality or the accumulation of sensor errors. Fault detection and identification is the first step to suppress the impact of faults. Effective fault detection and identification can provide accurate filtering strategies for the robust adaptive algorithm. The adaptability and stability of the robust adaptive algorithm in a complex dynamic environment are also critical. Reasonable robust filtering and adaptive filtering can effectively suppress the impact of faults.
In the robust algorithm, the structure is improved to a double-window structure, and the time-dependent fading weighting factor and the logarithmic form of the factor constructor are introduced. In the experiments of the boulevard and urban canyon, the improved robust algorithm has a higher accuracy than the EKF and the traditional Sage–Husa robust algorithm; in the adaptive algorithm, the traditional single-factor adaptive filtering is improved to the multi-factor adaptive filtering combined with the Sage–Husa algorithm. In the experiments of the boulevard and urban canyon, the multi-factor adaptive filtering has improved the accuracy compared with the EKF and single-factor adaptive filtering; finally, the fault detection algorithm and robust adaptive algorithm are combined to form a complete improved algorithm. The performance analysis is carried out in the boulevard, urban canyon, and tunnel sections. Compared with other fault detection robust adaptive algorithms, the accuracy and stability of the fault detection robust adaptive system constructed in this paper are the best. Compared with the fault detection methods of the neural network and machine learning, the algorithm proposed in this paper does not need a large number of data for training, and will not increase the burden of computing resources.
The improved fault detection algorithm in this paper takes into account the fault detection and identification, and improves the efficiency and success rate of fault detection. Combined with the improved robust adaptive algorithm, it can effectively reduce the impact of faults and gross errors, and improve the stability and reliability of the GNSS/INS integrated navigation system in complex scenes. It has a certain practical application value, but there are still some aspects that need to be further analyzed and improved in the future. For example, when the observation model and the dynamic model have faults at the same time, the fault detection algorithm in this paper will directly execute the EKF, because, when the two models are not reliable, either the robust or adaptive filter cannot suppress the gross error, and may even lead to the deterioration of accuracy. Therefore, in such cases, gross errors cannot be effectively suppressed. In subsequent research, additional measurement information can be added to assist, such as by using an odometer.

6. Conclusions

The algorithm studied in this paper is aimed at the dynamic model fault and observation model fault which easily occur in integrated navigation. Based on the idea of the robust adaptive algorithm combined with fault detection, this paper studies the integrated navigation fault detection algorithm and robust adaptive algorithm, respectively. The algorithm is optimized and improved to make it more adaptive to complex scenes. Firstly, aiming at the problem where it is difficult to apply the traditional Sage–Husa algorithm to dynamic navigation and positioning, this paper designs a double-window structure. A time-dependent fading weighted factor is proposed to weaken the influence of the past epoch’s anomalies on the current epoch, while retaining the original characteristics of the windowing method. At the same time, a logarithmic form of the factor constructor is proposed, which solves the problem of divergence without setting the threshold and the fluctuation cannot be reflected by setting the threshold. This paper also proposes a multi-factor adaptive filter based on the Sage–Husa algorithm, which avoids the problem whereby the single-factor version may ignore the internal information of the state. In order to adapt to different types of faults that may occur in complex scenes, this paper designs a fault detection algorithm based on the double chi-square and abnormal innovation ratio. It can improve the efficiency and accuracy of fault detection. This paper combines the fault detection algorithm with the robust adaptive algorithm, which can adopt different filter methods for different fault types. The experimental analysis shows that the fault detection algorithm and robust adaptive algorithm constructed in this paper have a higher accuracy and stability than other algorithms.

Author Contributions

Conceptualization, Q.W. and J.J.; methodology, Q.W. and J.J.; software, Q.W. and X.P.; resources, Q.W. and J.J.; data curation, J.L.; writing—original draft preparation, Q.W. and J.J.; writing—review and editing, Q.W., X.P. and Z.G.; supervision, J.J.; project administration, Q.W. and J.J.; funding acquisition, Q.W. and J.J. All authors have read and agreed to the published version of the manuscript.

Funding

This research was funded by the National Key Research and Development Program of China under Grant 2018YFB0505200, Adaptive Navigation Algorithm Project of Hubei Luojia Laboratory.

Data Availability Statement

The data and code will be available upon request. The data are not publicly available due to privacy reasons.

Acknowledgments

We would like to express their gratitude to Jiaji Wu for their guidance and funding support.

Conflicts of Interest

The authors declare no conflicts of interest.

References

  1. Falco, G.; Pini, M.; Marucco, G. Loose and tight GNSS/INS integrations: Comparison of performance assessed in real urban scenarios. Sensors 2017, 17, 255. [Google Scholar] [CrossRef] [PubMed]
  2. Chen, K.; Chang, G.; Chen, C. GINav: A MATLAB-based software for the data processing and analysis of a GNSS/INS integrated navigation system. Gps Solut. 2021, 25, 108. [Google Scholar] [CrossRef]
  3. Boguspayev, N.; Akhmedov, D.; Raskaliyev, A.; Kim, A.; Sukhenko, A. A comprehensive review of GNSS/INS integration techniques for land and air vehicle applications. Appl. Sci. 2023, 13, 4819. [Google Scholar] [CrossRef]
  4. Shang, X.; Sun, F.; Liu, B.; Zhang, L.; Cui, J. GNSS Spoofing Mitigation with a Multicorrelator Estimator in the Tightly Coupled INS/GNSS Integration. IEEE Trans. Instrum. Meas. 2023, 72, 8500112. [Google Scholar] [CrossRef]
  5. Hu, Y.; Bian, S.; Li, B.; Zhou, L. A Novel Array-Based Spoofing and Jamming Suppression Method for GNSS Receiver. IEEE Sens. J. 2018, 18, 2952–2958. [Google Scholar] [CrossRef]
  6. Shi, B.; Wang, M.; Wang, Y.; Bai, Y.; Lin, K.; Yang, F. Effect analysis of GNSS/INS processing strategy for sufficient utilization of urban environment observations. Sensors 2021, 21, 620. [Google Scholar] [CrossRef]
  7. Adrian, K.; Witold, R.; Lasse, K.; Janusz, T.O.R. Experimental 2D extended Kalman filter sensor fusion for low-cost GNSS/IMU/Odometers precise positioning system. Measurement 2022, 193, 110963. [Google Scholar]
  8. Crespillo, O.G.; Medina, D.; Skaloud, J.; Meurer, M. Tightly coupled GNSS/INS integration based on robust M-estimators. In Proceedings of the 2018 IEEE/ION Position, Location and Navigation Symposium (PLANS), Monterey, CA, USA, 23–26 April 2018; pp. 1554–1561. [Google Scholar]
  9. Guo, S.; Sun, Y.; Chang, L.; Li, Y. Robust cubature Kalman filter method for the nonlinear alignment of SINS. Def. Technol. 2021, 17, 593–598. [Google Scholar] [CrossRef]
  10. Vouch, O.; Minetto, A.; Falco, G.; Dovis, F. Enhanced Bayesian state space estimation for a GNSS/INS tightly-coupled integration in harsh environment: An experimental study. In Proceedings of the 34th International Technical Meeting of the Satellite Division of The Institute of Navigation, St. Louis, MO, USA, 20–24 September 2021; pp. 3368–3381. [Google Scholar]
  11. Yang, Y.; He, H.; Xu, G. Adaptively robust filtering for kinematic geodetic positioning. J. Geod. 2001, 75, 109–116. [Google Scholar] [CrossRef]
  12. Sage, A.P.; Husa, G.W. Adaptive filtering with unknown prior statistics. In Proceedings of the Joint Automatic Control Conference, Boulder, CO, USA, 5–7 August 1969; pp. 760–769. [Google Scholar]
  13. Gaglione, S.; Angrisano, A.; Crocetto, N. Robust Kalman Filter applied to GNSS positioning in harsh environment. In Proceedings of the 2019 European Navigation Conference (ENC), Warsaw, Poland, 9–12 April 2019; pp. 1–6. [Google Scholar]
  14. Zhao, G.; Jiang, Z.; Wang, J.; Gao, S. A robust SVD-UKF algorithm and its application in integrated navigation systems. Adv. Space Res. 2025, 75, 1902–1912. [Google Scholar] [CrossRef]
  15. Zhang, S.; Zhang, T.; Zhong, L.; Hu, B. A SINS/DVL Integrated Navigation Method Based on EIMM-ARCKF Algorithm. IEEE Sens. J. 2024, 24, 22733–22744. [Google Scholar] [CrossRef]
  16. Chen, X.; Cheng, X. RBCKF-Based Vehicle State Estimation by Adaptive Weighted Fusion Strategy Considering Composite-State Tire Model. World Electr. Veh. J. 2024, 15, 517. [Google Scholar] [CrossRef]
  17. Choukroun, D.; Cooper, L.; Berman, N. Stochastic H∞ Filtering of the Attitude Quaternion. Sensors 2024, 24, 7971. [Google Scholar] [CrossRef]
  18. Fu, Q.; Wang, L.; Xie, Q.; Zhou, Y. An Improved Adaptive Iterative Extended Kalman Filter Based on Variational Bayesian. Appl. Sci. 2024, 14, 1393. [Google Scholar] [CrossRef]
  19. Dou, G.; Li, Z.; Xu, X.; Chen, T. Multiple-model-based adaptive state fusion estimation of IWMD-EV using SSUKF. Phys. Scr. 2025, 100, 25249. [Google Scholar] [CrossRef]
  20. Jo, K.; Kim, J.; Sunwoo, M. Real-Time Road-Slope Estimation Based on Integration of Onboard Sensors with GPS Using an IMMPDA Filter. IEEE Trans. Intell. Transp. Syst. 2013, 14, 1718–1732. [Google Scholar] [CrossRef]
  21. Zeng, Q.H.; Zhao, T.Y.; Zhao, B.; Liu, J.; Zhu, X. Adaptive Kalman filter algorithm based on exponential attenuating factor for integrated navigation system. J. Chin. Inert. Technol. 2021, 29, 307–313. [Google Scholar]
  22. Vana, S.; Bisnath, S. A modified adaptive factor-based Kalman filter for continuous urban navigation with low-cost sensors. Gps Solut. 2024, 28, 84. [Google Scholar] [CrossRef]
  23. Yang, Y.; Cui, X. Adaptively robust filter with multi adaptive factors. Surv. Rev. 2008, 40, 260–270. [Google Scholar] [CrossRef]
  24. Song, C.; Huang, Z.; Wu, Y.; Li, S.; Chen, Q. An Innovation-Based Adaptive Cubature Kalman Filtering for GPS/SINS Integrated Navigation. IEEE Sens. J. 2025, 25, 845–857. [Google Scholar] [CrossRef]
  25. Zhang, G.; Hsu, L. Intelligent GNSS/INS integrated navigation system for a commercial UAV flight control system. Aerosp. Sci. Technol. 2018, 80, 368–380. [Google Scholar] [CrossRef]
  26. Elzoghby, M.; Arif, U.; Li, F.U.; Yu, X.Z. Investigation of adaptive robust Kalman filtering algorithms for GPS/DR navigation system filters. IOP Conf. Ser. Mater. Sci. Eng. 2017, 187, 12019. [Google Scholar] [CrossRef]
  27. Wu, Y.; Chen, S.; Yin, T. GNSS/INS tightly coupled navigation with robust adaptive extended Kalman filter. Int. J. Automot. Technol. 2022, 23, 1639–1649. [Google Scholar] [CrossRef]
  28. Gao, B.; Hu, G.; Zhong, Y.; Zhu, X. Cubature Kalman Filter with Both Adaptability and Robustness for Tightly-Coupled GNSS/INS Integration. IEEE Sens. J. 2021, 21, 14997–15011. [Google Scholar] [CrossRef]
  29. Zhao, L.; Quan, H. Application of an Improved Lifting Wavelet Method in the GNSS/INS Integrated Navigation Receiver. In Proceedings of the 2018 10th International Conference on Communications, Circuits and Systems (ICCCAS), Chengdu, China, 22–24 December 2018; pp. 246–250. [Google Scholar]
  30. Lupea, I.; Lupea, M. Continuous Wavelet Transform and CNN for Fault Detection in a Helical Gearbox. Appl. Sci. 2025, 15, 950. [Google Scholar] [CrossRef]
  31. Afandi, O.; Najafi, A. Distribution Transformer Winding Fault Detection Based on Hybrid Wavelet-CNN. Int. Trans. Electr. Energy Syst. 2025, 2025, 9936120. [Google Scholar] [CrossRef]
  32. Xu, H.; Lian, B. Fault detection for multi-source integrated navigation system using fully convolutional neural network. IET Radar, Sonar Navig. 2018, 12, 774–782. [Google Scholar] [CrossRef]
  33. Chen, Y.; Zhang, C.; Zhang, Q.; Hu, X.B.I. UAV Fault Detection based on GA-BP neural network. In Proceedings of the 2017 32nd Youth Academic Annual Conference of Chinese Association of Automation (YAC), Hefei, China, 19–21 May 2017; pp. 806–811. [Google Scholar]
  34. Xing, X.; Gui, H.; Ma, Z.; Chen, X.; Cai, Y. Multi-source Fault Tolerant Integrated Navigation for a Certain UAV Based on INS/BD/RP/TAN. In Proceedings of the 2019 IEEE 15th International Conference on Control and Automation (ICCA), Edinburgh, UK, 16–19 July 2019; pp. 313–318. [Google Scholar]
  35. Li, X.; Wang, X.; Liao, J.; Li, X.; Li, S.; Lyu, H. Semi-tightly coupled integration of multi-GNSS PPP and S-VINS for precise positioning in GNSS-challenged environments. Satell. Navig. 2021, 2, 1. [Google Scholar] [CrossRef]
  36. Chiang, K.; Tsai, G.; Chang, H.W.; Joly, C.; Ei-Sheimy, N. Seamless navigation and mapping using an INS/GNSS/grid-based SLAM semi-tightly coupled integration scheme. Inf. Fusion 2019, 50, 181–196. [Google Scholar] [CrossRef]
  37. Bishop, G.; Welch, G. An introduction to the kalman filter. Proc. Siggrap Course 2001, 8, 41. [Google Scholar]
Figure 1. Structure of semi-tightly coupled.
Figure 1. Structure of semi-tightly coupled.
Remotesensing 17 00804 g001
Figure 2. Innovation covariance estimate for fixed and float solutions.
Figure 2. Innovation covariance estimate for fixed and float solutions.
Remotesensing 17 00804 g002
Figure 3. Flow chart of double-window Sage–Husa robust algorithm.
Figure 3. Flow chart of double-window Sage–Husa robust algorithm.
Remotesensing 17 00804 g003
Figure 4. Different robust factor constructors.
Figure 4. Different robust factor constructors.
Remotesensing 17 00804 g004
Figure 5. Robust factor curve of different modes.
Figure 5. Robust factor curve of different modes.
Remotesensing 17 00804 g005
Figure 6. Reciprocal curve of adaptive factor for different components.
Figure 6. Reciprocal curve of adaptive factor for different components.
Remotesensing 17 00804 g006
Figure 7. Flow chart of the improved fault detection algorithm.
Figure 7. Flow chart of the improved fault detection algorithm.
Remotesensing 17 00804 g007
Figure 8. The route and scene of experiment.
Figure 8. The route and scene of experiment.
Remotesensing 17 00804 g008
Figure 9. Position error of robust algorithms for boulevard and urban canyon sections.
Figure 9. Position error of robust algorithms for boulevard and urban canyon sections.
Remotesensing 17 00804 g009
Figure 10. Boxplot of position error of robust algorithms for boulevard and urban canyon sections.
Figure 10. Boxplot of position error of robust algorithms for boulevard and urban canyon sections.
Remotesensing 17 00804 g010
Figure 11. Position error of adaptive algorithms for boulevard and urban canyon sections.
Figure 11. Position error of adaptive algorithms for boulevard and urban canyon sections.
Remotesensing 17 00804 g011
Figure 12. Boxplot of position error of adaptive algorithms for boulevard and urban canyon sections.
Figure 12. Boxplot of position error of adaptive algorithms for boulevard and urban canyon sections.
Remotesensing 17 00804 g012
Figure 13. Position error curve of each algorithm in the section of lakeside boulevard.
Figure 13. Position error curve of each algorithm in the section of lakeside boulevard.
Remotesensing 17 00804 g013
Figure 14. Position error curve of each algorithm in the section of urban canyon and dense boulevard.
Figure 14. Position error curve of each algorithm in the section of urban canyon and dense boulevard.
Remotesensing 17 00804 g014
Figure 15. Position error curve of each algorithm in the section of tunnel.
Figure 15. Position error curve of each algorithm in the section of tunnel.
Remotesensing 17 00804 g015
Table 1. Position error in different modes.
Table 1. Position error in different modes.
Position Error (RMSE)EastNorthUp
two-stage function without thresholddivergentdivergentdivergent
two-stage function with threshold1.02 m1.05 m2.23 m
logarithmic function0.86 m0.85 m1.81 m
Table 2. IMU’s parameters of integrated navigation equipment.
Table 2. IMU’s parameters of integrated navigation equipment.
Performance ParameterM39SPAN-CPT
GyroscopeRange (deg/s)±100±375
Bias stability (deg/h)80.027
Angle random walk (deg/h0.5)0.120.0667
AccelerometerRange (g)±5±10
Bias stability (mGal)196050
Velocity random walk (m/s/h0.5)0.040.03
Table 3. Robust algorithm position RMSE and maximum error.
Table 3. Robust algorithm position RMSE and maximum error.
East
RMSE
East
Max Error
North
RMSE
North
Max Error
Height
RMSE
Height
Max Error
EKF1.12 m4.41 m1.17 m5.43 m3.53 m12.00 m
SW1.18 m4.07 m1.41 m7.53 m2.08 m8.24 m
DWFW0.78 m4.02 m0.86 m3.99 m1.86 m6.30 m
Table 4. Adaptive algorithm position RMSE and maximum error.
Table 4. Adaptive algorithm position RMSE and maximum error.
East
RMSE
East
Max Error
North
RMSE
North
Max Error
Height
RMSE
Height
Max Error
EKF1.12 m4.41 m1.17 m5.43 m3.53 m12.00 m
SF0.80 m3.86 m1.09 m6.61 m1.70 m11.11 m
MF0.73 m3.81 m0.72 m3.25 m1.44 m5.35 m
Table 5. Position RMSE and maximum error of robust adaptive algorithm combined with fault detection on the lakeside boulevard.
Table 5. Position RMSE and maximum error of robust adaptive algorithm combined with fault detection on the lakeside boulevard.
East
RMSE
East
Max Error
North
RMSE
North
Max Error
Height
RMSE
Height
Max Error
EKF0.72 m9.12 m0.28 m3.06 m0.57 m7.44 m
NHC C-S0.51 m4.50 m0.32 m1.98 m0.22 m0.78 m
AIR0.52 m4.50 m0.38 m2.46 m0.22 m0.94 m
Improved Algorithm0.45 m4.26 m0.25 m1.71 m0.21 m0.76 m
Table 6. Position RMSE and maximum error of robust adaptive algorithm combined with fault detection on the urban canyon and dense boulevard.
Table 6. Position RMSE and maximum error of robust adaptive algorithm combined with fault detection on the urban canyon and dense boulevard.
East
RMSE
East
Max Error
North
RMSE
North
Max Error
Height
RMSE
Height
Max Error
EKF1.12 m4.41 m1.17 m5.43 m3.53 m12.00 m
NHC C-S1.14 m3.85 m1.58 m12.31 m2.09 m8.37 m
AIR0.84 m4.04 m0.86 m4.46 m1.85 m6.25 m
Improved Algorithm0.68 m3.41 m0.71 m3.30 m1.05 m3.71 m
Table 7. Position RMSE and maximum error of robust adaptive algorithm combined with fault detection on the tunnel.
Table 7. Position RMSE and maximum error of robust adaptive algorithm combined with fault detection on the tunnel.
East
RMSE
East
Max Error
North
RMSE
North
Max Error
Height
RMSE
Height
Max Error
EKF0.28 m2.06 m0.25 m1.14 m0.18 m0.77 m
NHC C-S0.70 m4.59 m0.45 m2.78 m0.20 m0.83 m
AIR0.45 m2.55 m0.30 m1.81 m0.24 m1.35 m
Improved Algorithm0.20 m1.65 m0.18 m0.86 m0.16 m0.53 m
Disclaimer/Publisher’s Note: The statements, opinions and data contained in all publications are solely those of the individual author(s) and contributor(s) and not of MDPI and/or the editor(s). MDPI and/or the editor(s) disclaim responsibility for any injury to people or property resulting from any ideas, methods, instructions or products referred to in the content.

Share and Cite

MDPI and ACS Style

Wang, Q.; Liu, J.; Jiang, J.; Pang, X.; Ge, Z. Application of Improved Fault Detection and Robust Adaptive Algorithm in GNSS/INS Integrated Navigation. Remote Sens. 2025, 17, 804. https://doi.org/10.3390/rs17050804

AMA Style

Wang Q, Liu J, Jiang J, Pang X, Ge Z. Application of Improved Fault Detection and Robust Adaptive Algorithm in GNSS/INS Integrated Navigation. Remote Sensing. 2025; 17(5):804. https://doi.org/10.3390/rs17050804

Chicago/Turabian Style

Wang, Qinghai, Jianghua Liu, Jinguang Jiang, Xianrui Pang, and Zhimin Ge. 2025. "Application of Improved Fault Detection and Robust Adaptive Algorithm in GNSS/INS Integrated Navigation" Remote Sensing 17, no. 5: 804. https://doi.org/10.3390/rs17050804

APA Style

Wang, Q., Liu, J., Jiang, J., Pang, X., & Ge, Z. (2025). Application of Improved Fault Detection and Robust Adaptive Algorithm in GNSS/INS Integrated Navigation. Remote Sensing, 17(5), 804. https://doi.org/10.3390/rs17050804

Note that from the first issue of 2016, this journal uses article numbers instead of page numbers. See further details here.

Article Metrics

Back to TopTop