Remote Sensing Inversion of Typical Offshore Water Quality Parameter Concentration Based on Improved SVR Algorithm
Abstract
1. Introduction
2. Research Methodology
2.1. Support Vector Regression Models
2.2. Grey Wolf Optimizer Algorithm
2.2.1. Grey Wolf Social Hierarchy
2.2.2. Collective Hunting Behavior of Grey Wolves
- (1)
- Surround the prey
- (2)
- Hunt
- (3)
- Attacking prey
2.3. Differential Evolutionary Algorithms
- (1)
- Randomly generate N initial population individuals throughout the search space
- (2)
- Variant operations
- (3)
- Crossover operations
- (4)
- Select operation
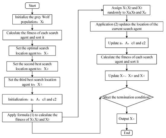
2.4. A Hybrid Optimization Model of the Differential Evolution-Grey Wolf Algorithm for SVR Parameter Search
2.4.1. Nonlinear Adjustment Strategy of Time Parameter
2.4.2. Improved Location Update Rules
3. Experiment
3.1. Experimental Data
3.1.1. Measured Spectral Data
3.1.2. Remote Sensing Image Data
3.2. Typical Water Quality Parameters Concentration Remote Sensing Inversion Model Construction
- (1)
- Correlation analysis between spectral data and concentrations of chlorophyll a and suspended matter.
- (2)
- Model construction and testing
3.3. Typical Water Quality Parameters Concentration Remote Sensing Inversion Model Application
4. Discussion
5. Conclusions
- (1)
- To address the shortcomings of the Grey Wolf Optimizer algorithm, such as local optima stagnation, low solution accuracy, and slow convergence rate, we introduce a nonlinear adjustment strategy for the time parameter and improve the position update rule. Based on these improvements, we design a hybrid optimization algorithm called the DE-GWO algorithm.
- (2)
- We introduce the DE-GWO algorithm to optimize the parameters of the SVR model and compare and analyze it with various prediction methods such as multiple linear regression, SVR, and GWO-SVR methods. The results demonstrate that the inversion accuracy of the DE-GWO algorithm is significantly better than that of other models, and the prediction results are relatively stable. When the model is applied to the satellite remote sensing data of Sentinel-2, it still demonstrates good predictive performance. This indicates that the water quality parameter inversion method based on measured spectra and satellite images has good application prospects and promotion value.
- (1)
- In order to improve the predictive accuracy of our model, we will continue to conduct water experiments to expand our sample library.
- (2)
- We may use chaotic mapping to initialize the population, increase population diversity, and improve the convergence speed and optimization performance of the DE-GWO algorithm.
- (3)
- We will use other satellite remote sensing data (such as MODIS, GOCI, etc.) to conduct experiments in multiple water bodies to improve the applicability of the model.
Author Contributions
Funding
Data Availability Statement
Conflicts of Interest
References
- Ding, H.; Wang, D. Eutrophication degree evaluation method based on cloud model. Acta Sci. Circumstantiae 2013, 33, 251–257. [Google Scholar]
- Gordon, H.R.; André, Y.M. Remote Assessment of Ocean Color for Interpretation of Satellite Visible Imagery; Springer: Berlin/Heidelberg, Germany, 1983. [Google Scholar]
- Cheng, C.M.; Li, Y.; Ding, Y.; Tu, Q.G.; Peng, Q. Remote sensing estimation of chlorophyll a and total suspended solids concentration in Qiantang River based on GF-1/WFV. J. Yangtze River Sci. Res. Inst. 2019, 36, 21–28. [Google Scholar]
- Cole, B.E.; Cloern, J.E. An empirical model for estimating phytoplankton productivity in estuaries. Mar. Ecol. Prog. 1987, 36, 299–305. [Google Scholar] [CrossRef]
- Dennison, W.C.; Orth, R.J.; Moore, K.A.; Stevenson, J.C.; Carter, V.; Kollar, S.; Bergstrom, P.W.; Batiuk, R.A. Assessing Water Quality with Submersed Aquatic Vegetation. Bioscience 1993, 43, 86–94. [Google Scholar] [CrossRef]
- Miller, R.L.; McKee, B.A. Using MODIS Terra 250 m imagery to map concentrations of total suspended matter in coastal waters. Remote Sens. Environ. 2002, 93, 259–266. [Google Scholar] [CrossRef]
- Chen, Z.; Hu, C.; Muller-Karger, F. Monitoring turbidity in Tampa Bay using MODIS/Aqua 250-m imagery. Remote Sens. Environ. 2007, 109, 207–220. [Google Scholar] [CrossRef]
- Zhang, Y.; Zhang, B.; Ma, R.; Feng, S.; Le, C. Optically active substances and their contributions to the underwater light climate in Lake Taihu, a large shallow lake in China. Fundam. Appl. Limnol. 2012, 170, 11. [Google Scholar] [CrossRef]
- Duan, H.; Ma, R.; Zhang, Y.; Zhang, B. Remote-sensing assessment of regional inland lake water clarity in northeast China. Limnology 2009, 10, 135. [Google Scholar] [CrossRef]
- Dihkan, M.; Karsli, F.; Guneroglu, A. Mapping total suspended matter concentrations in the black sea using landsat TM multispectral satellite imagery. Fresen Environ. Bull. 2011, 20, 262–269. [Google Scholar]
- Liu, S.Y.; Tai, H.J. A hybrid approach of support vector regression with genetic algorithm optimization for aquaculture water quality. Math. Comput. Model. 2013, 58, 458–465. [Google Scholar] [CrossRef]
- Xue, T.L.; Zhao, D.F.; Han, F. Research on water quality prediction model of SVR based on GA optimization. Environ. Eng. 2020, 38, 123–127. [Google Scholar]
- Cui, H.; Yu, X.L.; Pang, J.W.; Yang, S.H.; Ren, N.Q.; Ding, J. A soft measurement model for influent BOD using BP-ANN and improved SVR. J. Harbin Inst. Technol. 2022, 54, 59–66. [Google Scholar]
- Mahmoudi, N.; Orouji, H. Integration of Shuffled Frog Leaping Algorithm and Support Vector Regression for Prediction of Water Quality Parameters. Water Resour. Manag. 2016, 30, 2195–2211. [Google Scholar] [CrossRef]
- Sheng, H.; Chi, H.X.; Xu, M.M.; Liu, S.W.; Wan, J.H.; Wang, J.J. Improved SVR for hyperspectral remote sensing inversion of COD in inland water bodies. Spectrosc. Spect. Anal. 2021, 41, 3565–3571. [Google Scholar]
- He, Z.X.; Bao, X.Y. Comprehensive evaluation of groundwater quality based on improved PSO optimized SVR. J. Occup. Health 2021, 41, 26–32. [Google Scholar]
- He, Z.L.; Guo, Z.J.; Yang, J.G. Study on the prediction of residual chlorine in water supply system based on PSO-SVR model. J. Yangtze River Sci. Res. Inst. 2015, 32, 6–10. [Google Scholar]
- He, T.D.; Li, M.W.; Huang, H. A water quality evaluation method for SVR with PSO preferred parameters. Comput. Eng. Appl. 2010, 46, 11–14. [Google Scholar]
- Guo, L.J.; Li, B.L. Study on soft measurement of total nitrogen in effluent based on GNFA-SVR. Ind. Water Treat. 2022, 42, 111–117. [Google Scholar]
- Zhang, Y.J.; Kang, C.L.; Liu, Y.Q.; Fu, X.G.; Zhang, J.X.; Wang, M.X.; Yang, L.Z. Rapid detection of total nitrogen and total phosphorus in water based on surface-enhanced Raman spectroscopy and GWO-SVR algorithm. Spectrosc. Spect. Anal. 2021, 41, 3147–3152. [Google Scholar]
- Zheng, W.; Li, Z.; Jia, H.; Gao, C. Research on steelmaking end point prediction model based on improved whale optimization algorithm and least square support vector machine. Camb. J. Econ. 2019, 47, 700–706. [Google Scholar]
- Ehteram, M.; Sharafati, A.; Asadollah, S.B.H.S. Estimating the transient storage parameters for pollution modeling in small streams: A comparison of newly developed hybrid optimization algorithms. Environ. Monit. Assess. 2021, 193, 475. [Google Scholar] [CrossRef]
- Mirjalili, S.; Mirjalili, S.M.; Lewis, A. Grey Wolf Optimizer. Adv. Eng. Softw. 2014, 69, 46–61. [Google Scholar] [CrossRef]
- Kang, C.L. Research on the Detection of Pollutants in Water Based on SERS Technology and GWO-SVR Algorithm. Ph.D. Thesis, Yanshan University, Hebei, China, 2021. [Google Scholar]
- Zhou, P.J. Construction and Application of Water Quality Prediction Model Based on PLS-GWO-SVR. Ph.D. Thesis, Yanshan University, Hebei, China, 2020. [Google Scholar]
- Ge, T.; He, K.; Ke, Q.; Sun, J. Optimized product quantization for approximate nearest neighbor search. In Proceedings of the 2013 IEEE Conference on Computer Vision and Pattern Recognition, Portland, OR, USA, 23–28 June 2013. [Google Scholar]
- Tan, F.M.; Zhao, J.J.; Wang, Q. A study on a gray wolf optimization algorithm with an improved nonlinear convergence method. Microelectron. Comput. 2019, 36, 89–95. [Google Scholar]
- Yang, X.S.; Deb, S. Cuckoo search via levy flights. In Proceedings of the 2009 World Congress on Nature Biologically Inspired Computing NaBIC, Coimbatore, India, 9–11 December 2009; pp. 210–214. [Google Scholar]
- Zhou, H.L.; Zhu, J.H.; Han, B.; Chen, J. Research on the key technology for measuring suspended matter concentration by weight method. Ocean. Technol. 2004, 23, 6. [Google Scholar]
- Aguilera, M.A.Z. Classification of land-cover through machine learning algorithms for fusion of sentinel-2a and planetscope imagery. In Proceedings of the 2020 IEEE Latin American GRSS & ISPRS Remote Sensing Conference (LAGIRS), Santiago, Chile, 22–26 March 2020. [Google Scholar]
- Wang, J.; Ding, J.; Yu, D.; Ma, X.; Zhang, Z.; Ge, X.; Teng, D.; Li, X.; Liang, J.; Lizaga, I.; et al. Capability of Sentinel-2 MSI data for monitoring and mapping of soil salinity in dry and wet seasons in the Ebinur Lake region, Xinjiang, China. Geoderma 2019, 353, 172–187. [Google Scholar] [CrossRef]
- Parida, B.R.; Kumari, A. Mapping and modeling mangrove biophysical and biochemical parameters using Sentinel-2A satellite data in Bhitarkanika National Park, Odisha. Model Earth Syst. Eny. 2021, 7, 2463–2474. [Google Scholar] [CrossRef]
- El-Rawy, M.; Fathi, H.; Abdalla, F. Integration of remote sensing data and in situ measurements to monitor the water quality of the Ismailia Canal, Nile Delta, Egypt. Environ. Geochem. Health 2019, 42, 2101–2120. [Google Scholar] [CrossRef]
- Gao, C.; Xu, J.; Gao, D.; Wang, L.L.; Wang, Y.Q. Inversion of total suspended solids concentration in Poyang Lake based on GF-1 and measured spectral data during the abundant water period. Remote Sens. Land Resour. 2019, 31, 101–109. [Google Scholar]
- Liu, X.; Lee, Z.; Zhang, Y.; Lin, J.; Shi, K.; Zhou, Y.; Qin, B.; Sun, Z. Remote Sensing of Secchi Depth in Highly Turbid Lake Waters and Its Application with MERIS Data. Remote Sens. 2019, 11, 2226. [Google Scholar] [CrossRef]
- Lu, S.; Deng, R.; Liang, Y.; Xiong, L.; Ai, X.; Qin, Y. Remote Sensing Retrieval of Total Phosphorus in the Pearl River Channels Based on the GF-1 Remote Sensing Data. Remote Sens. 2020, 12, 1420. [Google Scholar] [CrossRef]
- Li, Z.; Rehman, K.U.; Wenhui, L.; Atique, F. Soft Sensor Modeling Method Based on SPA-GWO-SVR for Marine Protease Fermentation Process. J. Control. Sci. Eng. 2021, 2021, 6653503. [Google Scholar] [CrossRef]
- Malik, A.; Tikhamarine, Y.; Souag-Gamane, D. Support vector regression integrated with novel meta-heuristic algorithms for meteorological drought prediction. Meteorol. Atmos. Phys. 2021, 133, 891–909. [Google Scholar] [CrossRef]
- Xu, C.H.; Nait Amar, M.; Ghriga, M.A.; Ouaer, H.; Zhang, X.; Hasanipanah, M. Evolving support vector regression using Grey Wolf optimization; forecasting the geomechanical properties of rock. Eng. Comput. 2020, 38, 1819–1833. [Google Scholar] [CrossRef]
- Sun, L.; Li, J.; Xiao, X.; Zhang, L.; Li, J. Improved Differential Gray Wolf Algorithm Optimized Support Vector Regression Strip Thickness Prediction Method. Eng. Lett. 2021, 29, 1462–1469. [Google Scholar]
- Zhang, X.Y.; Wan, J.H.; Liu, S.W.; Song, D.M. Construction of chlorophyll a extraction index and concentration inversion of high suspended matter concentration in the Yellow River Estuary based on GOCI data. Ocean. Technol. 2022, 41, 19–20. [Google Scholar]










| Water Quality Parameters | Models | Training Set | Test Set | ||
|---|---|---|---|---|---|
| R2 | MRE/% | R2 | MRE/% | ||
| Chlorophyll a | Linear regression | 0.55 | 43.2 | 0.42 | 48.6 |
| SVR | 0.75 | 35.1 | 0.68 | 39.0 | |
| GWO-SVR | 0.81 | 27.2 | 0.71 | 29.1 | |
| DE-GWO-SVR | 0.84 | 25.1 | 0.76 | 27.9 | |
| SPM | Linear regression | 0.46 | 48.1 | 0.45 | 51.6 |
| SVR | 0.74 | 32.4 | 0.7 | 35.5 | |
| GWO-SVR | 0.75 | 30.6 | 0.69 | 37.1 | |
| DE-GWO-SVR | 0.8 | 28.1 | 0.75 | 32.2 | |
Disclaimer/Publisher’s Note: The statements, opinions and data contained in all publications are solely those of the individual author(s) and contributor(s) and not of MDPI and/or the editor(s). MDPI and/or the editor(s) disclaim responsibility for any injury to people or property resulting from any ideas, methods, instructions or products referred to in the content. |
© 2023 by the authors. Licensee MDPI, Basel, Switzerland. This article is an open access article distributed under the terms and conditions of the Creative Commons Attribution (CC BY) license (https://creativecommons.org/licenses/by/4.0/).
Share and Cite
Ren, J.; Cui, J.; Dong, W.; Xiao, Y.; Xu, M.; Liu, S.; Wan, J.; Li, Z.; Zhang, J. Remote Sensing Inversion of Typical Offshore Water Quality Parameter Concentration Based on Improved SVR Algorithm. Remote Sens. 2023, 15, 2104. https://doi.org/10.3390/rs15082104
Ren J, Cui J, Dong W, Xiao Y, Xu M, Liu S, Wan J, Li Z, Zhang J. Remote Sensing Inversion of Typical Offshore Water Quality Parameter Concentration Based on Improved SVR Algorithm. Remote Sensing. 2023; 15(8):2104. https://doi.org/10.3390/rs15082104
Chicago/Turabian StyleRen, Jianghua, Jianyong Cui, Wen Dong, Yanfang Xiao, Mingming Xu, Shanwei Liu, Jianhua Wan, Zhongwei Li, and Jie Zhang. 2023. "Remote Sensing Inversion of Typical Offshore Water Quality Parameter Concentration Based on Improved SVR Algorithm" Remote Sensing 15, no. 8: 2104. https://doi.org/10.3390/rs15082104
APA StyleRen, J., Cui, J., Dong, W., Xiao, Y., Xu, M., Liu, S., Wan, J., Li, Z., & Zhang, J. (2023). Remote Sensing Inversion of Typical Offshore Water Quality Parameter Concentration Based on Improved SVR Algorithm. Remote Sensing, 15(8), 2104. https://doi.org/10.3390/rs15082104

