Monitoring Geological Risk Areas in the City of São Paulo Based on Multi-Temporal High-Resolution 3D Models
Abstract
1. Introduction
2. Case Study
2.1. Landslide Risk Mapping in São Paulo
2.2. Study Areas
Areas characterized by slums, irregular allotments, social interest housing, and popular settlements mainly inhabited by low-income populations. The public interest is in maintaining inhabitants and promoting land and urban regularization, environmental recovery, and construction of Social Interest Housing.


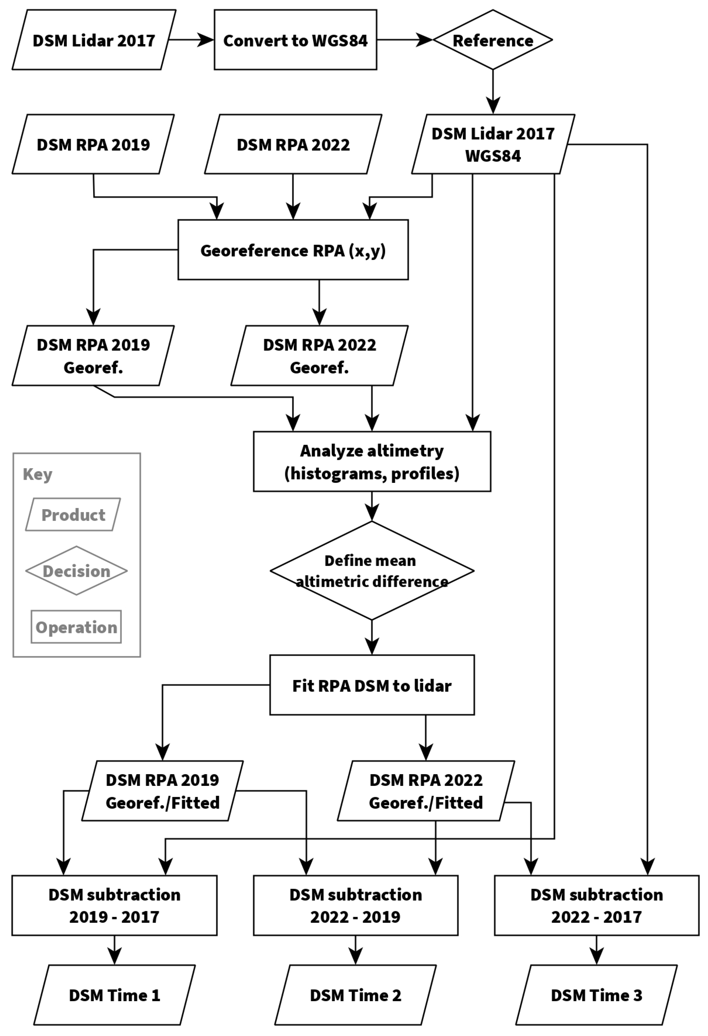
3. Data Collection and Methods
4. Results
4.1. Digital Surface Models
4.2. Orthomosaics
4.3. Digital Surface Models of Difference—DoDs
4.3.1. CEU Paz
4.3.2. Parque Santa Madalena
5. Discussion
5.1. Technical Challenges
5.2. Institutional Challenges
6. Conclusions
- It is fast, easily replicable, and uses images collected recurrently via RPA. The municipal body can define the flight frequency according to its planning criteria.
- It greatly supports monitoring, allowing for greater detail and ease of detecting large-scale land use and land cover changes. This is essential information for risk mapping and disaster prevention.
- It can be adapted by other municipalities, using their reference data instead of lidar data.
Author Contributions
Funding
Data Availability Statement
Acknowledgments
Conflicts of Interest
References
- Oliver-Smith, A. “What is a Disaster?”: Anthropological Perspectives on a Persistent Question. In The Angry Earth: Disaster in Anthropological Perspective; Routledge: New York, NY, USA, 1999; pp. 18–34. [Google Scholar]
- Kabisch, N.; Korn, H.; Stadler, J.; Bonn, A. (Eds.) Nature-Based Solutions to Climate Change Adaptation in Urban Areas; Theory and Practice of Urban Sustainability Transitions; Springer: Cham, Switzerland, 2017; p. 342. [Google Scholar] [CrossRef]
- Karagianni, A.; Lazos, I.; Chatzipetros, A. Remote Sensing Techniques in Disaster Management: Amynteon Mine Landslides, Greece. In Lecture Notes in Geoinformation and Cartography; Springer: Cham, Switzerland, 2019; pp. 209–235. [Google Scholar] [CrossRef]
- Kalantar, B.; Ueda, N.; Saeidi, V.; Ahmadi, K.; Halin, A.A.; Shabani, F. Landslide Susceptibility Mapping: Machine and Ensemble Learning Based on Remote Sensing Big Data. Remote Sens. 2020, 12, 1737. [Google Scholar] [CrossRef]
- United Nations General Assembly (UNGA). Report of the Open-Ended Intergovernmental Expert Working Group on Indicators and Terminology Relating to Disaster Risk Reduction; Technical Report; UNGA: New York, NY, USA, 2016. [Google Scholar]
- United Nations General Assembly (UNGA). Resolution Adopted by the General Assembly on 2 February 2017. 71/276. Report of the Open-Ended Intergovernmental Expert Working Group on Indicators and Terminology Relating To Disaster Risk Reduction; Technical Report; UNGA: New York, NY, USA, 2017. [Google Scholar]
- United Nations Office for Disaster Risk Reduction (UNDRR). Hazard Definition and Classification Review: Technical Report; UNGA: New York, NY, USA, 2020. [Google Scholar]
- Tominaga, L.; Santoro, J.; Amaral, R. Desastres Naturais: Conhecer Para Prevenir, 1st ed.; Instituto Geológico: São Paulo, Brazil, 2009. [Google Scholar]
- Bezerra, L.; Neto, O.d.F.; Santos, O.; Mickovski, S. Landslide risk mapping in an urban area of the city of Natal, Brazil. Sustainability 2020, 12, 9601. [Google Scholar] [CrossRef]
- Varnes, D. Slope Movement Types and Processes. In Landslides, Analysis and Control; Schuster, R., Krizek, R., Eds.; Number 176 in Special Report; Transportation Research Board, National Academy of Sciences: Washingtonm, DC, USA, 1978; pp. 11–33. [Google Scholar]
- Aglomerados Subnormais 2019: Classificação Preliminar e Informações de Saúde Para o Enfrentamento à COVID-19. 2019. Available online: https://biblioteca.ibge.gov.br/visualizacao/livros/liv101717_notas_tecnicas.pdf (accessed on 11 May 2023).
- Dai, F.; Lee, C.; Ngai, Y. Landslide risk assessment and management: An overview. Eng. Geol. 2002, 64, 65–87. [Google Scholar] [CrossRef]
- Ministério do Desenvolvimento Regional. GIRD+10: Caderno Técnico de gestão Integrada de Riscos e Desastres; Ministério do Desenvolvimento Regional, Secretaria Nacional de Proteção e Defesa Civil: Distrito Federal, Brazil, 2021; pp. 1–151.
- Goto, E.A.; Clarke, K. Using expert knowledge to map the level of risk of shallow landslides in Brazil. Nat. Hazards 2021, 108, 1701–1729. [Google Scholar] [CrossRef]
- Westoby, M.; Brasington, J.; Glasser, N.; Hambrey, M.; Reynolds, J. ‘Structure-from-Motion’ photogrammetry: A low-cost, effective tool for geoscience applications. Geomorphology 2012, 179, 300–314. [Google Scholar] [CrossRef]
- Ratner, J.; Sury, J.; James, M.; Mather, T.; Pyle, D. Crowd-sourcing structure-from- motion data for terrain modelling in a real-world disaster scenario: A proof of concept. Prog. Phys. Geogr. Earth Environ. 2019, 43, 236–259. [Google Scholar] [CrossRef]
- Godone, D.; Allasia, P.; Borrelli, L.; Gullà, G. UAV and Structure from Motion Approach to Monitor the Maierato Landslide Evolution. Remote Sens. 2020, 12, 1039. [Google Scholar] [CrossRef]
- de Magalhães, D.M.; Moura, A.C.M. Use of Remotely Piloted Aircraft to Update Spatial Data in Areas of Social Fragility. In Innovation in Urban and Regional Planning—Lecture Notes in Civil Engineering 146; La Rosa, D., Privitera, R., Eds.; Springer: Cham, Switzerland, 2021; pp. 213–220. [Google Scholar] [CrossRef]
- Khawte, S.S.; Koeva, M.N.; Gevaert, C.M.; Oude Elberink, S.; Pedro, A.A. Digital Twin Creation for Slums in Brazil Based on Uav Data. Int. Arch. Photogramm. Remote Sens. Spat. Inf. Sci.—ISPRS Arch. 2022, 48, 75–81. [Google Scholar] [CrossRef]
- Lucieer, A.; de Jong, S.M.; Turner, D. Mapping landslide displacements using Structure from Motion (SfM) and image correlation of multi-temporal UAV photography. Prog. Phys. Geogr. Earth Environ. 2013, 38, 97–116. [Google Scholar] [CrossRef]
- Jaukovic, I.C.; Hunter, A.J. Unmanned Aerial Vehicles: A new tool for landslide risk assessment. In Proceedings of the 11th ANZ Young Geotechnical Professionals Conference—11YGPC, Queenstown, New Zealand, 25–28 October 2016; pp. 299–304. [Google Scholar]
- Dugonjić Jovančević, S.; Peranić, J.; Ružić, I.; Arbanas, Ž.; Kalajžić, D.; Benac, Č. Use of Remotely Piloted Aircraft System (RPAS) in the analysis of historical landslide occurred in 1885 in the Rječina River Valley, Croatia. In Proceedings of the EGU General Assembly Conference Abstracts, 2016, EGU General Assembly Conference Abstracts, Vienna, Austria, 17–22 April 2016; p. EPSC2016-16165. [Google Scholar]
- Mozas-Calvache, A.T.; Pérez-García, J.L.; del Castillo, T.F. Monitoring of landslide displacements using UAS and control methods based on lines. Landslides 2017, 14, 2115–2128. [Google Scholar] [CrossRef]
- Eker, R.; Aydın, A.; Hübl, J. Unmanned aerial vehicle (UAV)-based monitoring of a landslide: Gallenzerkogel landslide (Ybbs-Lower Austria) case study. Environ. Monit. Assess. 2017, 190, 28. [Google Scholar] [CrossRef]
- Salvini, R.; Mastrorocco, G.; Esposito, G.; Bartolo, S.D.; Coggan, J.; Vanneschi, C. Use of a remotely piloted aircraft system for hazard assessment in a rocky mining area (Lucca, Italy). Nat. Hazards Earth Syst. Sci. 2018, 18, 287–302. [Google Scholar] [CrossRef]
- Giordan, D.; Hayakawa, Y.; Nex, F.; Remondino, F.; Tarolli, P. Review article: The use of remotely piloted aircraft systems (RPASs) for natural hazards monitoring and management. Nat. Hazards Earth Syst. Sci. 2018, 18, 1079–1096. [Google Scholar] [CrossRef]
- Rossi, G.; Tanteri, L.; Tofani, V.; Vannocci, P.; Moretti, S.; Casagli, N. Multitemporal UAV surveys for landslide mapping and characterization. Landslides 2018, 15, 1045–1052. [Google Scholar] [CrossRef]
- Valkaniotis, S.; Papathanassiou, G.; Ganas, A. Mapping an earthquake-induced landslide based on UAV imagery; case study of the 2015 Okeanos landslide, Lefkada, Greece. Eng. Geol. 2018, 245, 141–152. [Google Scholar] [CrossRef]
- Mitsova, D. Supporting Natural Hazards Management with Geospatial Technologies. In Oxford Research Encyclopedia of Natural Hazard Science; Oxford Press: Oxford, UK, 2019. [Google Scholar] [CrossRef]
- Santangelo, M.; Alvioli, M.; Baldo, M.; Cardinali, M.; Giordan, D.; Guzzetti, F.; Marchesini, I.; Reichenbach, P. Brief communication: Remotely piloted aircraft systems for rapid emergency response: Road exposure to rockfall in Villanova di Accumoli (Central Italy). Nat. Hazards Earth Syst. Sci. 2019, 19, 325–335. [Google Scholar] [CrossRef]
- Cignetti, M.; Godone, D.; Wrzesniak, A.; Giordan, D. Structure from Motion Multisource Application for Landslide Characterization and Monitoring: The Champlas du Col Case Study, Sestriere, North-Western Italy. Sensors 2019, 19, 2364. [Google Scholar] [CrossRef]
- Schaefer, M.; Teeuw, R.; Day, S.; Zekkos, D.; Weber, P.; Meredith, T.; van Westen, C.J. Low-cost UAV surveys of hurricane damage in Dominica: Automated processing with co-registration of pre-hurricane imagery for change analysis. Nat. Hazards 2020, 101, 755–784. [Google Scholar] [CrossRef]
- Bonali, F.L.; Corti, N.; Russo, E.; Marchese, F.; Fallati, L.; Mariotto, F.P.; Tibaldi, A. Commercial-UAV-Based Structure from Motion for Geological and Geohazard Studies. In Building Knowledge for Geohazard Assessment and Management in the Caucasus and other Orogenic Regions; Springer: Amsterdam, The Netherlands, 2021; pp. 389–427. [Google Scholar] [CrossRef]
- Garnica-Peña, R.J.; Alcántara-Ayala, I. The use of UAVs for landslide disaster risk research and disaster risk management: A literature review. J. Mt. Sci. 2021, 18, 482–498. [Google Scholar] [CrossRef]
- United Nations Office for Disaster Risk Reduction (UNDRR). Hazard Information Profiles—Supplement to: UNDRR-ISC Hazard Definition & Classification Review—Technical Report; UNDRR: Geneva, Switzerland, 2021. [Google Scholar]
- IBGE. Available online: https://cidades.ibge.gov.br/brasil/panorama (accessed on 25 February 2023).
- BRASIL. Política Nacional de Proteção e Defesa Civil—PNPDEC. Available online: http://www.planalto.gov.br/ccivil_03/_Ato2011-2014/2012/Lei/L12608.htm (accessed on 25 February 2023).
- Monte, B.E.O.; Goldenfum, J.A.; Michel, G.P.; Cavalcanti, J.R.d.A. Terminology of natural hazards and disasters: A review and the case of Brazil. Int. J. Disaster Risk Reduct. 2021, 52, 101970. [Google Scholar] [CrossRef]
- Twigg, J. Disaster Risk Reduction- Good Practice Review 9; Humanitarian Policy Network: London, UK, 2015; pp. 1–382. [Google Scholar]
- Brasil; Ministério das Cidades; Instituto de Pesquisas Tecnológicas—IPT. Mapeamento de Riscos em Encostas e Margens de Rios; Ministério das Cidades: Brasília, Brazil, 2007; p. 176.
- Pascarelli, L.; Lançone, R.; Costa, R.; Pires, L.; Macedo, E.; Mirandola, F.; Checchinato, F.; Canil, K. Mapping Geological at-Risk Areas in the City of São Paulo: Issues and Results from the Largest Risk Survey in Brazil; Springer: Berlin/Heidelberg, Germany, 2013; Volume 6, pp. 349–355. [Google Scholar] [CrossRef]
- de Macedo, E.S.; Canil, K.; Silva, F.C.; Mirandola, F.A.; Gramani, M.F.; Ogura, A.T.; Corsi, A.C.; Santos, L.P. Methodological Procedures to Landslide Risk Mapping in Brazilian Slums. In Landslide Science and Practice; Springer: Berlin/Heidelberg, Germany, 2013; Volume 6, pp. 399–403. [Google Scholar] [CrossRef]
- São Paulo (Município); SEMPLA/SAR/SEHAB/SVP; IPT. Carta Geotécnica do Município de São Paulo; São Paulo (Município): Sao Paolo, Brazil, 1992.
- Ross, J.L.S.; Moroz, I.C. Mapa Geomorfológico do Estado de São Paulo. Rev. Do Dep. De Geogr. 2011, 10, 41–58. [Google Scholar] [CrossRef]
- Ross, J.L.S. Relevo Brasileiro: Uma nova proposta de classificação. Rev. Do Dep. De Geogr. 2011, 40, 25–39. [Google Scholar] [CrossRef]
- Índice Paulista de Vulnerabilidade Social. Available online: http://ipvs.seade.gov.br/view/index.php (accessed on 25 February 2023).
- Da Cidade de São Paulo, M.D. Available online: https://geosampa.prefeitura.sp.gov.br/ (accessed on 25 February 2023).
- Tate, E. Social vulnerability indices: A comparative assessment using uncertainty and sensitivity analysis. Nat. Hazards 2012, 63, 325–347. [Google Scholar] [CrossRef]
- Almeida, V.V.; Loreti Jr., R. Projeto Materiais de Construção na Região Metropolitana de São Paulo: Estado de São Paulo; CPRM: Belo Horizonte, Brazil, 2019. [Google Scholar]
- Guth, P.L.; Van Niekerk, A.; Grohmann, C.H.; Muller, J.P.; Hawker, L.; Florinsky, I.V.; Gesch, D.; Reuter, H.I.; Herrera-Cruz, V.; Riazanoff, S.; et al. Digital elevation models: Terminology and definitions. Remote Sens. 2021, 13, 3581. [Google Scholar] [CrossRef]
- GIS, G. Available online: https://grass.osgeo.org (accessed on 25 February 2023).
- Brovelli, M.A.; Cannata, M.; Longoni, U.M. LIDAR Data Filtering and DTM Interpolation within GRASS. Trans. GIS 2004, 8, 155–174. [Google Scholar] [CrossRef]
- Metashape, A. Available online: https://www.agisoft.com/ (accessed on 25 February 2023).
- Barbosa, C.C.F. Álgebra de Mapas e Suas Aplicações em Sensoriamento Remoto e Geoprocessamento. Master’s Thesis, Instituto Nacional de Investigación Espacial del Brasil, São José dos Campos, Brazil, 1996. [Google Scholar]
- Viana, C.D.; de Morais, N.L. Mapeamento de Risco de Escorregamento e Solapamento em Assentamentos precáRios: Relatório FO-22—21/07/2022. 2022. Available online: https://geosampa.prefeitura.sp.gov.br/PaginasPublicas/_SBC.aspx (accessed on 11 April 2023).
- ICA 100-40/2020: Aeronaves Não Tripuladas e o Acesso ao Espaço aéReo Brasileiro. 2020. Available online: https://publicacoes.decea.mil.br/publicacao/ica-100-40 (accessed on 26 February 2023).
- Programa DRONEPOL. Available online: https://www.prefeitura.sp.gov.br/cidade/secretarias/seguranca_urbana/noticias/?p=238299 (accessed on 25 February 2023).
- Santos, L.F. Utilização de Dados 3D de Alta Resolução para Detecção de mudançAs em Movimentos de Massa em Perus, São Paulo (SP). Master’s Thesis, Instituto de Geociências, São Paulo, Brazil, 2020. [Google Scholar]











| CP 2019 | CP 2022 | PSM 2019 | PSM 2022 | |
|---|---|---|---|---|
| Number of images | 145 | 150 | 71 | 78 |
| Flying altitude | 186 m | 168 m | 104 m | 112 m |
| Ground resolution | 4.66 cm/pix | 4.15 cm/pix | 2.63 cm/pix | 2.77 cm/pix |
| Coverage area | 0.348 km2 | 0.328 km2 | 0.167 km2 | 0.173 km2 |
| CP 2019 | CP 2022 | PSM 2019 | PSM 2022 | |
|---|---|---|---|---|
| Number of points | 65,233,187 | 73,239,679 | 73,386,998 | 71,916,148 |
| Point density (pts/m2) | 115 | 145 | 362 | 327 |
| Spatial resolution (cm/pixel) | 9.33 | 8.31 | 5.25 | 5.53 |
| CP 2019 | CP 2022 | PSM 2019 | PSM 2022 | |
|---|---|---|---|---|
| Reprojection error (pixel) | 0.824 | 0.929 | 0.717 | 0.709 |
| Covered area (km2) | 0.348 | 0.328 | 0.167 | 0.173 |
| Spatial resolution (cm/pixel) | 4.66 | 4.15 | 2.63 | 2.77 |
Disclaimer/Publisher’s Note: The statements, opinions and data contained in all publications are solely those of the individual author(s) and contributor(s) and not of MDPI and/or the editor(s). MDPI and/or the editor(s) disclaim responsibility for any injury to people or property resulting from any ideas, methods, instructions or products referred to in the content. |
© 2023 by the authors. Licensee MDPI, Basel, Switzerland. This article is an open access article distributed under the terms and conditions of the Creative Commons Attribution (CC BY) license (https://creativecommons.org/licenses/by/4.0/).
Share and Cite
de Sousa, A.M.; Viana, C.D.; Garcia, G.P.B.; Grohmann, C.H. Monitoring Geological Risk Areas in the City of São Paulo Based on Multi-Temporal High-Resolution 3D Models. Remote Sens. 2023, 15, 3028. https://doi.org/10.3390/rs15123028
de Sousa AM, Viana CD, Garcia GPB, Grohmann CH. Monitoring Geological Risk Areas in the City of São Paulo Based on Multi-Temporal High-Resolution 3D Models. Remote Sensing. 2023; 15(12):3028. https://doi.org/10.3390/rs15123028
Chicago/Turabian Stylede Sousa, Amanda Mendes, Camila Duelis Viana, Guilherme Pereira Bento Garcia, and Carlos Henrique Grohmann. 2023. "Monitoring Geological Risk Areas in the City of São Paulo Based on Multi-Temporal High-Resolution 3D Models" Remote Sensing 15, no. 12: 3028. https://doi.org/10.3390/rs15123028
APA Stylede Sousa, A. M., Viana, C. D., Garcia, G. P. B., & Grohmann, C. H. (2023). Monitoring Geological Risk Areas in the City of São Paulo Based on Multi-Temporal High-Resolution 3D Models. Remote Sensing, 15(12), 3028. https://doi.org/10.3390/rs15123028

