Improving the Sustainability of Reinforced Concrete Structures Through the Adoption of Eco-Friendly Flooring Systems
Abstract
1. Introduction
2. Significance of Research
3. Life Cycle Assessment
- Modules A1–A3 (Product Stage): Emissions from material extraction, processing and manufacturing.
- Module A4 (Transport): Emissions from transporting materials to the site.
- Module A5 (Construction): Emissions during assembly and on-site activities.
- Modules B1–B7 (Use Stage): Emissions from maintenance, repair and replacement during the building’s operational life.
- Modules C1–C4 (End of Life): Emissions from demolition, transportation and disposal.
- Module D (Beyond Life Cycle): Potential benefits from material reuse or recycling.

3.1. Life Cycle Assessment Methodology
3.1.1. Goal and Scope Definition
3.1.2. Inventory Analysis (LCI)
3.1.3. Impact Assessment (LCIA)
3.1.4. Interpretation
3.2. Embodied Carbon Assessment
3.3. Embodied Carbon Calculations
| Materials | Embodied Carbon [kgCO2e/kg] | Materials | Embodied Carbon [kgCO2e/kg] |
|---|---|---|---|
| Concrete constituents | Concrete example mixes (CEM I) | ||
| Portland cement * | 0.912 | C20/25 * | 0.121 |
| Fly ash * | 0.008 | C32/40 * | 0.149 |
| GGBS * | 0.083 | C40/50 * | 0.172 |
| Aggregate * | 0.00747 | Metals | |
| Water * | 0.0008 | Steel reinforcement * | 1.99 |
| Superplasticiser ‡ | 1.88 | Hot-rolled steel section * | 1.55 |
| Galvanised steel sheet * | 2.76 | ||
| Fibre materials | Aluminum extrusions * | 6.83 | |
| Carbon fibre † | 20.3 | Fibre composite matrix materials | |
| Aramid fibre † | 17.3 | Epoxy † | 6.60 |
| Glass fibre † | 3.00 | Vinyl ester † | 4.31 |
| Basalt fibre † | 0.057 | Polyester † | 2.54 |
3.4. Uncertainty in Estimation of Embodied Carbon
4. Embodied Carbon Mitigation Strategies in RC Structures
4.1. Material
| Concrete Mix With/Without Cement Substitute a | Emission Factor for Each Strength Class (kgCO2e/m3) | |||||
|---|---|---|---|---|---|---|
| C30 | C40 | C50 | C60 b | C70 | C80 | |
| 100% Cement | 295 ± 30 c | 335 ± 30 | 365 ± 20 | 402 ± 27 | 437 ± 27 | 471 ± 27 |
| 65% Cement + 35% FA | 200 ± 19 | 227 ± 19 | 265 ± 13 | 271 ± 17 | 293 ± 17 | 316 ± 17 |
| 25% Cement + 75% GGBS | 108 ± 9 | 120 ± 9 | 130 ± 6 | 141 ± 8 | 152 ± 8 | 163 ± 8 |
4.2. Structural Optimization
4.3. Deflection Management
4.4. Voided Floor Systems
4.5. Use of Recycled Aggregate or Waste
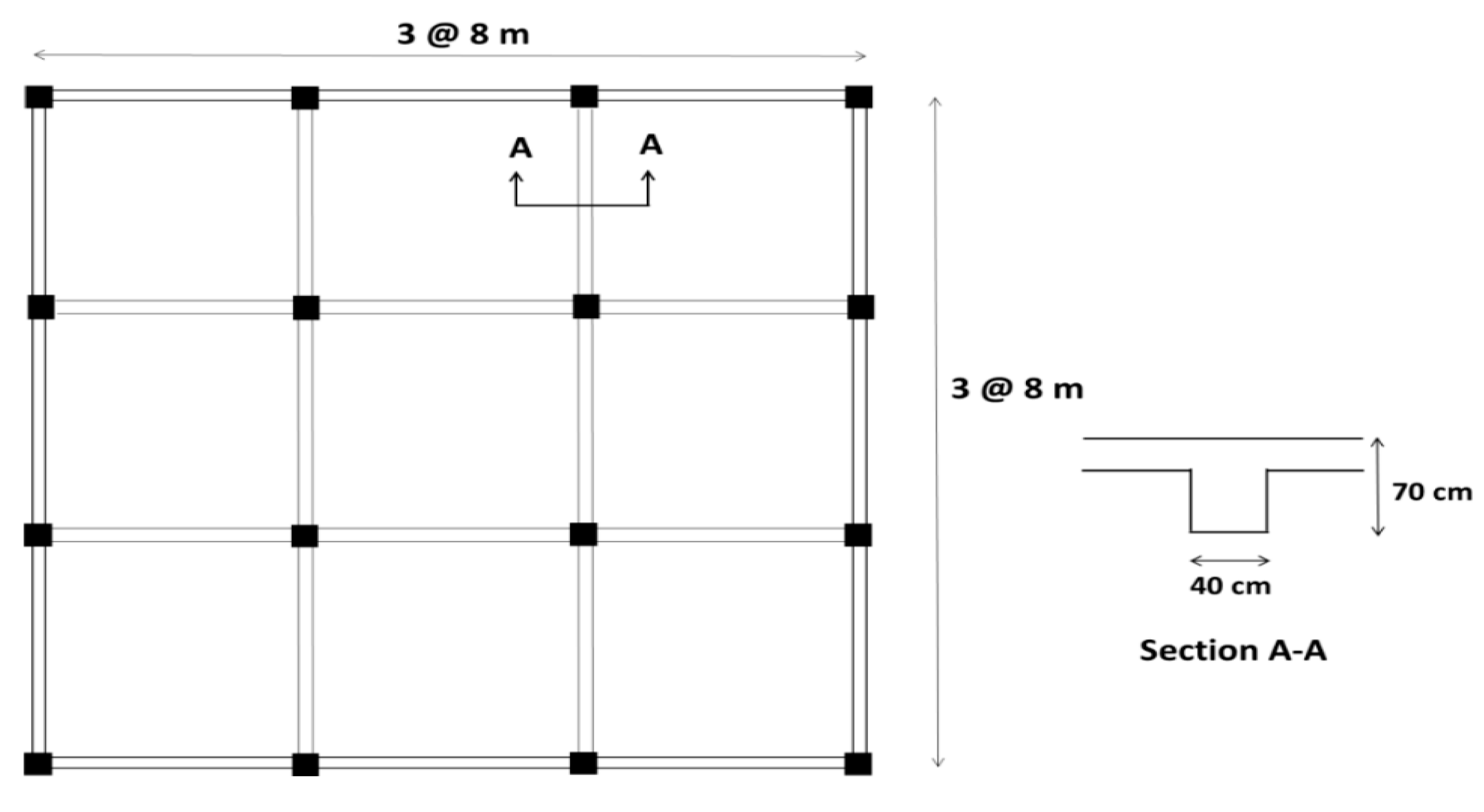
5. Analysis of the Embodied Carbon in Various Floor Systems
5.1. Flat Slab
5.2. Beam and Slab
5.3. Ribbed
5.4. Waffle
5.5. Post-Tensioned Concrete Floor

5.6. Hollow Core

5.7. Nervi-Style Slab
5.8. Arched Slab
6. Discussion
- Post-tensioned concrete floor (247 ± 32 kgCO2e/m2);
- Hollow-core slab (250 ± 47 kgCO2e/m2);
- Waffle slab (263 ± 61 kgCO2e/m2);
- Arched slab (270 ± 58 kgCO2e/m2);
- Nervi-style slab (274 ± 47 kgCO2e/m2);
- Flat slab (286 ± 84 kgCO2e/m2);
- Ribbed slab (308 ± 59 kgCO2e/m2);
- Beam and slab (338 ± 77 kgCO2e/m2).
6.1. Span-Based Performance Analysis
6.1.1. Short-Span Systems (0–6 m)
6.1.2. Medium-Span Systems (6–10 m)
6.1.3. Long-Span Systems (10–15 m)
6.2. Mechanisms of Carbon Reduction
- I.
- Post-Tensioned Concrete Floor
- Achieves efficiency through active force distribution via tensioned cables;
- Reduces concrete volume through controlled deflection;
- Enables thinner sections due to pre-compression;
- Minimizes reinforcement through pre-stressing forces.
- II.
- Hollow-Core Slab
- Removes non-structural concrete through void formation;
- Optimizes material placement through standardized production;
- Reduces self-weight while maintaining depth for structural efficiency;
- Benefits from factory-controlled production quality.
- III.
- Waffle Slab
- Creates efficient two-way spanning action;
- Removes concrete from low-stress zones;
- Maintains structural depth with minimal material;
- Provides inherent ceiling esthetics, reducing finishing materials.
- IV.
- Arched Slab
- Utilizes natural compressive force paths;
- Minimizes tensile stresses through geometric optimization;
- Reduces material in non-critical areas;
- Benefits from structural form efficiency.
- V.
- Nervi-Style Slab
- Optimizes material placement along force paths;
- Creates efficient ribbed patterns following stress lines;
- Combines esthetic and structural efficiency;
- Reduces material through biomimetic design principles.
- VI.
- Flat Slab
- Simplifies formwork, reducing material waste;
- Provides direct force transfer to columns;
- Eliminates beam material volume;
- Allows for reduced floor-to-floor height.
- VII.
- Ribbed Slab
- Concentrates material in primary stress zones;
- Provides efficient one-way spanning action;
- Reduces self-weight through regular void patterns;
- Maintains structural depth with less material.
- VIII.
- Beam and Slab
- Traditional force distribution through distinct elements;
- Higher material use due to separate structural components;
- Provides clear load paths;
- Requires additional depth for beam elements.
7. Conclusions
7.1. Summary of Key Findings
- I.
- System Selection Impact: The choice of the floor system has a substantial impact on the embodied carbon, with variations of up to 40% between the best- and worst-performing systems. Post-tensioned concrete floor systems consistently demonstrated superior environmental performance across all span ranges (247 ± 32 kgCO2e/m2), followed closely by hollow-core slab systems (250 ± 47 kgCO2e/m2).
- II.
- Span-Dependent Performance: Span length emerged as a critical factor in environmental impact, with all systems showing increased embodied carbon as spans increased. However, the rate of increase varied significantly between systems:
- Short spans (0–6 m): Waffle slab systems showed the lowest embodied carbon, followed by flat slabs. Their relatively thin profiles and material-efficient designs contributed to reduced carbon footprint.
- Medium spans (6–10 m): Post-tensioned and hollow-core slabs led the category, demonstrating the importance of high-strength materials and optimized structural forms in this range.
- Long spans (10–15 m): Although absolute embodied carbon values were highest in this range for all systems, post-tensioned and waffle slab systems still led in efficiency, highlighting their superior structural performance under extended spans.
- III.
- Traditional vs. Specialized Systems: Conventional beam and slab systems consistently showed the highest environmental impact across all span ranges (338 ± 77 kgCO2e/m2 overall), with this disadvantage becoming increasingly pronounced at longer spans (442 ± 57 kgCO2e/m2 for 10–15 m spans).
- IV.
- Material Efficiency Mechanisms: The superior performance of certain systems can be attributed to specific structural characteristics:
- Post-tensioned systems achieve efficiency through active force distribution and reduced concrete volumes;
- Hollow-core and waffle systems benefit from the strategic removal of non-structural concrete;
- Form-optimized systems (arched, Nervi-style) leverage geometric principles to minimize material use.
7.2. Comparative Analysis and Implications
- Tier 1 (High Efficiency): Post-tensioned concrete floor (247 ± 32 kgCO2e/m2) and hollow-core slab (250 ± 47 kgCO2e/m2);
- Tier 2 (Moderate Efficiency): Waffle slab (263 ± 61 kgCO2e/m2), arched slab (270 ± 58 kgCO2e/m2) and Nervi-style slab (274 ± 47 kgCO2e/m2);
- Tier 3 (Lower Efficiency): Flat slab (286 ± 84 kgCO2e/m2), ribbed slab (308 ± 59 kgCO2e/m2) and beam and slab (338 ± 77 kgCO2e/m2).
8. Future Research
8.1. Comprehensive Cost–Carbon Correlation
8.2. Long-Term Durability and End-of-Life Considerations
8.3. Innovative Materials and Fabrication Techniques
8.4. Parametric and Computational Optimization
Author Contributions
Funding
Conflicts of Interest
References
- Adesina, A. Recent advances in the concrete industry to reduce its carbon dioxide emissions. Environ. Chall. 2020, 1, 100004. [Google Scholar] [CrossRef]
- Khan, Q.U.Z.; Ali, M.; Ahmad, A.; Raza, A.; Iqbal, M. Experimental and finite element analysis of hybrid fiber reinforced concrete two-way slabs at ultimate limit state. SN Appl. Sci. 2021, 3, 73–85. [Google Scholar] [CrossRef]
- Global Cement and Concrete Association. Cement and Concrete Around the World; Global Cement and Concrete Association: London, UK, 2020; Available online: https://gccassociation.org/concretefuture/cement-concrete-around-the-world/ (accessed on 24 January 2025).
- European Ready-Mix Concrete Organization. Ready-Mixed Concrete Statistics; ERMCO: Brussels, Belgium, 2018. [Google Scholar]
- European Commission. European Green Deal: Commission Proposes to Boost Renovation and Decarbonisation of Buildings; European Commission: Brussels, Belgium, 2021; Available online: https://ec.europa.eu/commission/presscorner/detail/en/ip_21_6683 (accessed on 24 January 2025).
- Păunescu, C.; Comănescu, L.; Robert, D.; Săvulescu, I. Polynomial Regression Model for River Erosion Prediction in Transport Infrastructure Development. Int. J. Res. Publ. Rev. 2023, 4, 1731–1737. [Google Scholar] [CrossRef]
- Marceau, M.L.; VanGeem, M.G. Life Cycle Assessment of an Insulating Concrete Form House Compared to a Wood Frame House; Portland Cement Association: Washington, DC, USA, 1992. [Google Scholar]
- Adesina, A. Circular Economy in the Concrete Industry. In Handbook of Solid Waste Management; Springer: Singapore, 2021. [Google Scholar] [CrossRef]
- Dixit, M.K. Life cycle embodied energy analysis of residential buildings: A review of literature to investigate embodied energy parameters. Renew. Sustain. Energy Rev. 2017, 79, 390–413. [Google Scholar] [CrossRef]
- Pomponi, F.; Moncaster, A. Scrutinising embodied carbon in buildings: The next performance gap made manifest. Renew. Sustain. Energy Rev. 2018, 81, 2431–2442. [Google Scholar] [CrossRef]
- Zhang, Y.; Yang, Z.; Yu, X. Urban metabolism: A review of current knowledge and directions for future study. Environ. Sci. Technol. 2015, 49, 11247–11263. [Google Scholar] [CrossRef]
- Rama Jyosyula, A.; Sanjayan, J.G.; Wang, C.M. Pathways to Net-Zero Emissions for the Concrete Industry: A Literature Review. Buildings 2020, 10, 233. [Google Scholar]
- BS EN 1992-1-1:2004+A1:2014; Eurocode 2—Design of Concrete Structures: Part 1-1: General Rules and Rules for Buildings. BSI: London, UK, 2015.
- Brooker, O. Concrete Buildings Scheme Design Manual; The Concrete Centre: London, UK, 2009. [Google Scholar]
- Bond, A.J.; Harris, A.J.; Moss, R.M.; Brooker, O.; Harrison, T.; Narayanan, R.S.; Webster, R. How to Design Concrete Structures using Eurocode 2, 2nd ed.; The Concrete Centre: London, UK, 2018. [Google Scholar]
- The Concrete Centre. Cost and Carbon: Concept V4; The Concrete Centre: London, UK, 2020; Available online: https://www.concretecentre.com/News/2020/Concept-v4-Cost-and-Carbon.aspx (accessed on 24 January 2025).
- Goodchild, C.H.; Webster, R.M.; Elliott, K.S. Economic Concrete Frame Elements to Eurocode 2; The Concrete Centre: London, UK, 2009. [Google Scholar]
- World Bank. World Bank Open Data; World Bank: Washington, DC, USA, 2019; Available online: https://data.worldbank.org/ (accessed on 24 January 2025).
- NASA. Global Climate Change, Vital Signs of the Planet; NASA: Washington, DC, USA, 2023. Available online: https://climate.nasa.gov/ (accessed on 24 January 2025).
- ACI 318-19; Building Code Requirements for Structural Concrete. American Concrete Institute: Farmington Hills, MI, USA, 2019. Available online: https://www.concrete.org/store/productdetail.aspx?ItemID=318U19&Language=English&Units=US_Units (accessed on 24 January 2025).
- United Nations. Paris Agreement; Technical Report; United Nations: New York, NY, USA, 2015; Available online: https://unfccc.int/process-and-meetings/the-paris-agreement/the-paris-agreement (accessed on 24 January 2025).
- Department for Business Energy and Industrial Strategy. Net Zero Strategy: Build Back Greener; Technical Report; Gov.UK: London, UK, 2021. Available online: https://www.gov.uk/government/publications/net-zero-strategy (accessed on 24 January 2025).
- Barbosa, F.; Woetzel, J.; Mischke, J. Reinventing Construction: A Route To Higher Productivity; Technical Report; McKinsey Global Institute: New York, NY, USA, 2017; Available online: https://www.mckinsey.com/business-functions/operations/our-insights/reinventing-construction-through-a-productivity-revolution (accessed on 24 January 2025).
- Akbarnezhad, A.; Xiao, J. Estimation and Minimization of Embodied Carbon of Buildings: A Review. Buildings 2017, 7, 5. [Google Scholar] [CrossRef]
- Botzen, W.J.W.; Gowdy, J.M.; Bergh, J.C.J.M.V.D. Cumulative CO2 emissions: Shifting international responsibilities for climate debt. Clim. Policy. 2008, 8, 569–576. [Google Scholar] [CrossRef]
- Gan, V.J.L.; Cheng, J.C.P.; Lo, I.M.C. A comprehensive approach to mitigation of embodied carbon in reinforced concrete buildings. J. Clean. Prod. 2019, 229, 582–597. [Google Scholar] [CrossRef]
- Yeo, D.; Gabbai, R.D. Sustainable design of reinforced concrete structures through embodied energy optimization. Energy Build. 2011, 43, 2028–2033. [Google Scholar] [CrossRef]
- Hart, J.; D’Amico, B.; Pomponi, F. Whole-life embodied carbon in multistory buildings: Steel, concrete, and timber structures. J. Ind. Ecol. 2021, 25, 403–418. [Google Scholar] [CrossRef]
- Sheng, K.; Woods, J.E.; Bentz, E.; Hoult, N.A. Assessing embodied carbon for reinforced concrete structures in Canada. Can. J. Civ. Eng. 2024, 51, 829–840. [Google Scholar] [CrossRef]
- Dimoudi, A.; Tompa, C. Energy and environmental indicators related to construction of office buildings. Resour. Conserv. Recycl. 2008, 53, 86–95. [Google Scholar] [CrossRef]
- Sansom, M.; Pope, R.J. A comparative embodied carbon assessment of commercial buildings. Struct. Eng. 2012, 90, 38–49. [Google Scholar]
- Röck, M.; Allacker, K.; Auinger, M.; Balouktsi, M.; Birgisdóttir, H.; Fields, M.; Frischknecht, R.; Habert, G.; Sørensen, L.H.H.; Kuittinen, M.; et al. Towards indicative baseline and decarbonization pathways for embodied life cycle GHG emissions of buildings across Europe. IOP Conf. Ser. Earth Environ. Sci. 2022, 1078, 012055. [Google Scholar] [CrossRef]
- BS EN ISO 14040:2006+A1:2020; Environmental Management—Life Cycle Assessment—Principles and Framework. BSI Standards Publication: London, UK, 2020.
- Puettmann, M.; Pierobon, F.; Ganguly, I.; Gu, H.; Chen, C.; Liang, S.; Jones, S.; Maples, I.; Wishnie, M. Comparative LCAs of Conventional and Mass Timber Buildings in Regions with Potential for Mass Timber Penetration. Sustainability 2021, 13, 13987. [Google Scholar] [CrossRef]
- de Paula Filho, J.H.; D’Antimo, M.; Charlier, M.; Vassart, O. Life-Cycle Assessment of an Office Building: Influence of the Structural Design on the Embodied Carbon Emissions. Modelling 2023, 5, 4. [Google Scholar] [CrossRef]
- Crawford, R.H. Greenhouse Gas Emissions of Global Construction Industries. IOP Conf. Ser. Mater. Sci. Eng. 2022, 1218, 012047. [Google Scholar] [CrossRef]
- BS EN 1990:2002+A1:2005; Eurocode—Basis of Structural Design. BSI: London, UK, 2010.
- Eleftheriadis, S.; Duffour, P.; Mumovic, D. BIM-embedded life cycle carbon assessment of RC buildings using optimised structural design alternatives. Energy Build. 2018, 173, 587–600. [Google Scholar] [CrossRef]
- Trinh, H.T.M.K.; Chowdhury, S.; Doh, J.H.; Liu, T. Environmental considerations for structural design of flat plate buildings—Significance of and interrelation between different design variables. J. Clean. Prod. 2021, 315, 128123. [Google Scholar] [CrossRef]
- Drewniok, M.P. Relationships Between Building Structural Parameters and Embodied Carbon Part 1: Early-Stage Design Decisions; Technical Report; University of Cambridge: Cambridge, UK, 2021. [Google Scholar] [CrossRef]
- Hawkins, W.; Orr, J.; Shepherd, P.; Ibell, T. Design, Construction and Testing of a Low Carbon Thin-Shell Concrete Flooring System. Structures 2019, 18, 60–71. [Google Scholar] [CrossRef]
- Lee, C.; Ahn, J. Flexural Design of Reinforced Concrete Frames by Genetic Algorithm. J. Struct. Eng. 2003, 129, 762–774. [Google Scholar] [CrossRef]
- Leps, M.; Sejnoha, M. New approach to optimization of reinforced concrete beams. Comput. Struct. 2003, 81, 1957–1966. [Google Scholar] [CrossRef]
- Orr, J.; Darby, A.; Ibell, T.; Evernden, M. Design methods for flexibly formed concrete beams. Proc. ICE Struct. Build. 2014, 167, 654–666. [Google Scholar] [CrossRef]
- Hawkins, W.J.; Herrmann, M.; Ibell, T.J.; Kromoser, B.; Michaelski, A.; Orr, J.J.; Pedreschi, R.; Pronk, A.; Schipper, H.R.; Shepherd, P.; et al. Flexible formwork technologies—A state of the art review. Struct. Concr. 2016, 17, 911–935. [Google Scholar] [CrossRef]
- Orr, J.J.; Darby, A.P.; Ibell, T.J.; Evernden, M.C. Innovative reinforcement for fabric-formed concrete structures. In Proceedings of the FRPRCS-10, Tampa, FL, USA, 2–4 April 2011. [Google Scholar]
- Ferreiro-Cabello, J.; Fraile-Garcia, E.; Martinez de Pison Ascacibar, E.; Martinez de Pison Ascacibar, F.J. Minimizing greenhouse gas emissions and costs for structures with flat slabs. J. Clean. Prod. 2016, 137, 922–930. [Google Scholar] [CrossRef]
- Sahab, M.G.; Ashour, A.F.; Toropov, V.V. Cost optimisation of reinforced concrete flat slab buildings. Eng. Struct. 2005, 27, 313–322. [Google Scholar] [CrossRef]
- Eleftheriadis, S.; Duffour, P.; Greening, P.; James, J.; Stephenson, B.; Mumovic, D. Investigating relationships between cost and CO2 emissions in reinforced concrete structures using a BIM-based design optimisation approach. Energy Build. 2018, 166, 330–346. [Google Scholar] [CrossRef]
- Fernandez-Ceniceros, J.; Fernandez-Martinez, R.; Fraile-Garcia, E.; Martinez-de Pison, F. Decision support model for one-way floor slab design: A sustainable approach. Autom. Constr. 2013, 35, 460–470. [Google Scholar] [CrossRef]
- Keihani, R.; Tohidi, M.; Janbey, A.; Bahadori-Jahromi, A. Enhancing Sustainability of Low to Medium-Rise Reinforced Concrete Frame Buildings in the UK. Eng. Future Sustain. 2023, 1, 216. [Google Scholar] [CrossRef]
- Block, P.; Rippmann, M.; Van Mele, T. Compressive Assemblies: Bottom-Up Performance for a New Form of Construction. Archit. Des. 2017, 87, 104–109. [Google Scholar] [CrossRef]
- Global Construction Perspectives and Oxford Economics. Global Construction 2030: A Global Forecast of the Construction Industry to 2030; Global Construction Perspectives Limited: London, UK, 2015; Available online: https://www.ciob.org/industry/policy-research/resources/global-construction-CIOB-executive-summary (accessed on 24 January 2025).
- Rohden, A.B.; Gacez, M.R. Increasing the sustainability potential of a reinforced concrete building through design strategies: Case study. Case Stud. Constr. Mater. 2018, 9, e00174. [Google Scholar] [CrossRef]
- Buyle, M.; Braet, J.; Audenaert, A. Life cycle assessment in the construction sector: A review. Renew. Sustain. Energy Rev. 2013, 26, 379–388. [Google Scholar] [CrossRef]
- Rashid, A.F.A.; Yusoff, S. A review of life cycle assessment method for building industry. Renew. Sustain. Energy Rev. 2015, 45, 244–248. [Google Scholar] [CrossRef]
- BS EN 15978:2011; Sustainability of Construction Works—Assessment of Environmental Performance of Buildings Calculation Method. BSI: London, UK, 2011.
- BS EN ISO 14044:2006+A1:2018; Environmental Management—Life Cycle Assessment—Requirements and Guidelines. BSI: London, UK, 2018.
- Hammond, G.P.; Jones, C.I. Embodied energy and carbon in construction materials. Proc. Inst. Civ. Eng. Energy 2008, 161, 87–98. [Google Scholar] [CrossRef]
- Atmaca, A.; Atmaca, N. Life cycle energy (LCEA) and carbon dioxide emissions (LCCO2A) assessment of two residential buildings in Gaziantep, Turkey. Energy Build. 2015, 102, 417–431. [Google Scholar] [CrossRef]
- Jones, C.; Hammond, G. Inventory of Carbon & Energy Version 3.0 (ICE V3.0); Department of Mechanical Engineering, University of Bath: Bath, UK, 2019. [Google Scholar]
- Gibbons, O.P.; Orr, J.J. How to Calculate Embodied Carbon; IStructE: London, UK, 2020; Available online: https://www.istructe.org/resources/guidance/how-to-calculate-embodied-carbon/ (accessed on 24 January 2025).
- Hu, M. A Building Life-Cycle Embodied Performance Index—The Relationship between Embodied Energy, Embodied Carbon and Environmental Impact. Energies 2020, 13, 1905. [Google Scholar] [CrossRef]
- Mohebbi, G.; Bahadori-Jahromi, A.; Ferri, M.; Mylona, A. The Role of Embodied Carbon Databases in the Accuracy of Life Cycle Assessment (LCA) Calculations for the Embodied Carbon of Buildings. Sustainability 2021, 13, 7988. [Google Scholar] [CrossRef]
- Kiamili, C.; Hollberg, A.; Habert, G. Detailed assessment of embodied carbon of HVAC systems for a new office building based on BIM. Sustainability 2020, 12, 3372. [Google Scholar] [CrossRef]
- Alwan, Z.; Jones, P. The importance of embodied energy in carbon footprint assessment. Struct. Surv. 2014, 32, 49–60. [Google Scholar] [CrossRef]
- Xu, J.; Pan, W.; Teng, Y.; Zhang, Y.; Zhang, Q. Internet of things (IoT)-integrated embodied carbon assessment and monitoring of prefabricated buildings. IOP Conf. Ser. Earth Environ. Sci. 2022, 1101, 022031. [Google Scholar] [CrossRef]
- Huang, L.; Krigsvoll, G.; Johansen, F.; Liu, Y.; Zhang, X. Carbon emission of global construction sector. Renew. Sustain. Energy Rev. 2017, 81, 1906–1916. [Google Scholar] [CrossRef]
- Ma, L. A building information modeling-based life cycle assessment of the embodied carbon and environmental impacts of high-rise building structures: A case study. Sustainability 2024, 16, 569. [Google Scholar] [CrossRef]
- Purnell, P. The carbon footprint of reinforced concrete. Adv. Cem. Res. 2013, 25, 362–368. [Google Scholar] [CrossRef]
- Omar, W.; Doh, J.; Panuwatwanich, K.; Miller, D. Assessment of the embodied carbon in precast concrete wall panels using a hybrid life cycle assessment approach in Malaysia. Sustain. Cities Soc. 2014, 10, 101–111. [Google Scholar] [CrossRef]
- Granta Design Ltd. The Cambridge Engineering Selector EduPack 2018, Version 18.1.1; Granta Design Ltd.: Cambridge, UK, 2018. [Google Scholar]
- EFCA. Environmental Product Declaration: Concrete Admixtures—Plasticisers and Super Plasticisers; European Federation of Concrete Admixtures Associations Ltd.: Brussels, Belgium, 2015. [Google Scholar]
- Suwondo, R. Towards sustainable seismic design: Assessing embodied carbon in concrete moment frames. Asian J. Civ. Eng. 2024, 25, 3791–3801. [Google Scholar] [CrossRef]
- Collins, F. Inclusion of carbonation during the life cycle of built and recycled concrete: Influence on their carbon footprint. Int. J. Life Cycle Assess. 2010, 15, 549–556. [Google Scholar] [CrossRef]
- Helsel, M.; Rangelov, M.; Montanari, L.; Spragg, R.; Carrion, M. Contextualizing embodied carbon emissions of concrete using mixture design parameters and performance metrics. Struct. Concr. 2022, 24, 1766–1779. [Google Scholar] [CrossRef]
- Hawkins, W.; Orr, J.; Ibell, T.; Shepherd, P. A design methodology to reduce the embodied carbon of concrete buildings using thin-shell floors. Eng. Struct. 2020, 207, 110195. [Google Scholar] [CrossRef]
- Bahramian, M.; Yetilmezsoy, K. Life cycle assessment of the building industry: An overview of two decades of research (1995–2018). Energy Build. 2020, 219, 109917. [Google Scholar] [CrossRef]
- Dixit, M.K.; Fernández-Solís, J.L.; Lavy, S.; Culp, C.H. Identification of parameters for embodied energy measurement: A literature review. Energy Build. 2010, 42, 1238–1247. [Google Scholar] [CrossRef]
- De Wolf, C.; Pomponi, F.; Moncaster, A. Measuring embodied carbon dioxide equivalent of buildings: A review and critique of current industry practice. Energy Build. 2017, 140, 68–80. [Google Scholar] [CrossRef]
- RICS. Whole Life Carbon Assessment for the Built Environment; Royal Institution of Chartered Surveyors: London, UK, 2017; Available online: https://www.rics.org/uk/upholding-professional-standards/sector-standards/building-surveying/whole-life-carbon-assessment-for-the-built-environment/ (accessed on 24 January 2025).
- UK Green Building Council. Embodied Carbon: Developing a Client Brief; Technical Report; UKGBC: London, UK, 2018; Available online: https://www.ukgbc.org/ukgbc-work/embodied-carbon-practical-guidance/ (accessed on 24 January 2025).
- Azari, R.; Abbasabadi, N. Embodied energy of buildings: A review of data, methods, challenges, and research trends. Energy Build. 2018, 168, 225–235. [Google Scholar] [CrossRef]
- Moncaster, A.M.; Song, J.Y. A comparative review of existing data and methodologies for calculating embodied energy and carbon of buildings. Int. J. Sustain. Build. Technol. Urban Dev. 2012, 3, 26–36. [Google Scholar] [CrossRef]
- Chitnis, M.; Sorrell, S.; Druckman, A.; Firth, S.K.; Jackson, T. Turning lights into flights: Estimating direct and indirect rebound effects for UK households. Energy Policy 2013, 55, 234–250. [Google Scholar] [CrossRef]
- Oh, B.K.; Choi, S.W.; Park, H.S. Influence of variations in CO2 emission data upon environmental impact of building construction. J. Clean. Prod. 2017, 140, 1194–1203. [Google Scholar] [CrossRef]
- Marsh, E.; Orr, J.; Ibell, T. Quantification of uncertainty in product stage embodied carbon calculations for buildings. Energy Build. 2021, 251, 111340. [Google Scholar] [CrossRef]
- Allwood, J.M.; Ashby, M.F.; Gutowski, T.G.; Worrell, E. Material efficiency: A white paper. Resour. Conserv. Recycl. 2011, 55, 362–381. [Google Scholar] [CrossRef]
- Giesekam, J.; Barrett, J.; Taylor, P.; Owen, A. The greenhouse gas emissions and mitigation options for materials used in UK construction. Energy Build. 2014, 78, 202–214. [Google Scholar] [CrossRef]
- Birgisdottir, H.; Wiberg, A.H.; Malmqvist, T.; Moncaster, A.; Rasmussen, F.N. Subtask 4-Case Studies and Recommendations for the Reduction of Embodied Energy and Embodied Greenhouse Gas Emissions from Buildings: Evaluation of Embodied Energy and CO2eq for Building Construction; Technical Report; IEA: Paris, France, 2016. [Google Scholar]
- Lützkendorf, T.; Balouktsi, M. Guideline for Design Professionals and Consultants Part 1: Basics for the Assessment of Embodied Energy and Embodied GHG Emissions; IEA: Tokyo, Japan, 2016; Available online: http://www.iea-ebc.org/Data/publications/EBC_Annex_57_Guideline_for_Designers_Part_1.pdf (accessed on 24 January 2025).
- Lupíšek, A.; Vaculíková, M.; Št, Č.; Hodková, J.; Růžiľka, J. Design strategies for low embodied carbon and low embodied energy buildings: Principles and examples. Energy Procedia 2015, 83, 147–156. [Google Scholar] [CrossRef]
- Alberici, S.; de Beer, J.; van der Hoorn, I.; Staats, M. Fly Ash and Blast Furnace Slag for Cement Manufacturing; Technical Report; Department for Business Energy and Industrial Strategy UK: London, UK, 2017. Available online: https://assets.publishing.service.gov.uk/government/uploads/system/uploads/attachment_data/file/660888/fly-ash-blast-furnace-slag-cement-manufacturing.pdf (accessed on 24 January 2025).
- Gan, V.J.; Chan, C.M.; Tse, K.T.; Lo, I.M.; Cheng, J.C. A comparative analysis of embodied carbon in high-rise buildings regarding different design parameters. J. Clean. Prod. 2017, 161, 663–675. [Google Scholar] [CrossRef]
- Giesekam, J.; Barrett, J.R.; Taylor, P. Construction sector views on low carbon building materials. Build. Res. Inf. 2016, 44, 423–444. [Google Scholar] [CrossRef]
- Orr, J.; Drewniok, M.P.; Walker, I.; Ibell, T.; Copping, A.; Emmitt, S. Minimising energy in construction: Practitioners’ views on material efficiency. Resour. Conserv. Recycl. 2019, 140, 125–136. [Google Scholar] [CrossRef]
- Kershaw, T.; Simm, S. Thoughts of a design team: Barriers to low carbon school design. Sustain. Cities Soc. 2014, 11, 40–47. [Google Scholar] [CrossRef]
- Paik, I.; Na, S. Comparison of environmental impact of three different slab systems for life cycle assessment of a commercial building in South Korea. Appl. Sci. 2020, 10, 7278. [Google Scholar] [CrossRef]
- UN Environment; Scrivener, K.L.; John, V.M.; Gartner, E.M. Eco-efficient cements: Potential economically viable solutions for a low-CO2 cement-based materials industry. Cem. Concr. Res. 2018, 114, 2–26. [Google Scholar] [CrossRef]
- Favier, A.; de Wolf, C.; Scrivener, K.; Habert, G. A Sustainable Future for the European Cement and Concrete Industry, Technology Assessment for Full Decarbonisation of the Industry by 2050; ETH Zurich and EPFL: Zurich, Switzerland, 2018. [Google Scholar]
- Jayasinghe, A.; Orr, J.; Ibell, T.; Boshoff, W.P. Comparing different strategies of minimising embodied carbon in concrete floors. J. Clean. Prod. 2022, 345, 131177. [Google Scholar] [CrossRef]
- Jayasinghe, A.; Orr, J.; Ibell, T.; Boshoff, W.P. Minimising embodied carbon in reinforced concrete flat slabs through parametric design. J. Build. Eng. 2022, 50, 104136. [Google Scholar] [CrossRef]
- Ismail, M.A.; Mueller, C.T. Minimizing embodied energy of reinforced concrete floor systems in developing countries through shape optimization. Eng. Struct. 2021, 246, 112955. [Google Scholar] [CrossRef]
- Orr, J. MEICON: Minimising Energy in Construction. In Survey of Structural Engineering Practice Report; University of Bath: Bath, UK, 2018. [Google Scholar]
- D’Amico, B.; Pomponi, F. On mass quantities of gravity frames in building structures. J. Build. Eng. 2020, 31, 101426. [Google Scholar] [CrossRef]
- Foraboschi, P.; Mercanzin, M.; Trabucco, D. Sustainable structural design of tall buildings based on embodied energy. Energy Build. 2014, 68, 254–269. [Google Scholar] [CrossRef]
- Ismail, M.A.; Mayencourt, P.L.; Mueller, C.T. Shaped beams: Unlocking new geometry for efficient structures. Arch. Struct. Constr. 2021, 1, 37–52. [Google Scholar] [CrossRef]
- Oval, R.; Nuh, M.; Costa, E.A.; Orr, J.; Shepherd, P.A. A prototype low-carbon segmented concrete shell building floor system. Structures 2023, 49, 124–138. [Google Scholar] [CrossRef]
- Meibodi, A.; Jipa, A.; Giesecke, R.; Shammas, D.; Bernhard, M.; Leschok, M.; Graser, K.; Dillenburger, B. Smart slab: Computational design and digital fabrication of a lightweight concrete slab. In Proceedings of the 38th Annual Conference of ACADIA, Mexico City, Mexico, 18–20 October 2018; pp. 434–443. [Google Scholar]
- Feickert, K.; Mueller, C.T. Thin shell foundations: Quantification of embodied carbon reduction through materially efficient geometry. Arch. Struct. Const. 2023, 1, 15–36. [Google Scholar] [CrossRef]
- Bozicek, D.; Kunic, R.; Kosir, M. Interpreting environmental impacts in building design: Application of a comparative assertion method in the context of the EPD scheme for building products. J. Clean. Prod. 2021, 279, 123399. [Google Scholar] [CrossRef]
- Kang, G.; Kim, T.; Kim, Y.W.; Cho, H.; Kang, K.I. Statistical analysis of embodied carbon emission for building construction. Energy Build. 2015, 105, 326–333. [Google Scholar] [CrossRef]
- Broyles, J.M.; Gevaudan, J.P.; Hopper, M.W.; Solnosky, R.L.; Brown, N.C. Equations for early-stage design embodied carbon estimation for concrete floors of varying loading and strength. Eng. Struct. 2024, 301, 116847. [Google Scholar] [CrossRef]
- Gauch, H.L.; Hawkings, W.; Ibell, T.; Allwood, J.M.; Dunant, C.F. Carbon vs. cost option mapping: A tool for improving early-stage design decisions. Autom. Constr. 2022, 136, 104178. [Google Scholar] [CrossRef]
- Soutsos, M.; Hatzitheodorou, A.; Kanavaris, F.; Kwasny, J. Effect of temperature on the strength development of mortar mixes with GGBS and fly ash. Mag. Concr. Res. 2017, 69, 787–801. [Google Scholar] [CrossRef]
- Arnold, W.; Astel, P.; Forman, T.; Drewniok, M. The Efficient Use of GGBS in Reducing Global Emissions; Institution of Structural Engineers: London, UK, 2023. [Google Scholar]
- Dhandapani, Y.; Marsh, A.T.M.; Rahmon, S.; Kanavaris, F.; Papakosta, A.; Bernal, S.A. Suitability of excavated London clay as a supplementary cementitious material: Mineralogy and reactivity. Mater. Struct. 2023, 56, 174. [Google Scholar] [CrossRef]
- Hanifa, M.; Agarwal, R.; Sharma, U.; Thapliyal, P.C.; Singh, L.P. A review on CO2 capture and sequestration in the construction industry: Emerging approaches and commercialised technologies. J. CO2 Util. 2023, 67, 102292. [Google Scholar] [CrossRef]
- Miller, S.A.; Horvath, A.; Monteiro, P.J.M. Readily implementable techniques can cut annual CO2 emissions from the production of concrete by over 20%. Environ. Res. Lett. 2016, 11, 074029. [Google Scholar] [CrossRef]
- Cembureau. Cementing the European Green Deal: Reaching Climate Neutrality Along the Cement and Concrete Value Chain by 2050; The European Cement Association: Brussels, Belgium, 2020. [Google Scholar]
- Arnold, W. The Hierarchy of Net Zero Design; The Institution of Structural Engineers: London, UK, 2021; Available online: https://www.istructe.org/resources/blog/the-hierarchy-of-net-zero-design/ (accessed on 24 January 2025).
- Oh, B.K.; Glisic, B.; Ho, S.; Cho, T.; Seon, H. Comprehensive investigation of embodied carbon emissions, costs, design parameters, and serviceability in optimum green construction of two-way slabs in buildings. J. Clean. Prod. 2019, 222, 111–128. [Google Scholar] [CrossRef]
- Habert, G.; Roussel, N. Study of two concrete mix-design strategies to reach carbon mitigation objectives. Cem. Concr. Compos. 2009, 31, 397–402. [Google Scholar] [CrossRef]
- Zhang, X.; Wang, F. Assessment of embodied carbon emissions for building construction in China: Comparative case studies using alternative methods. Energy Build. 2016, 130, 330–340. [Google Scholar] [CrossRef]
- Tae, S.; Baek, C.; Shin, S. Life cycle CO2 evaluation on reinforced concrete structures with high-strength concrete. Environ. Impact Assess. Rev. 2011, 31, 253–260. [Google Scholar] [CrossRef]
- Hou, S.; Li, H.; Rezgui, Y. Ontology-based approach for structural design considering low embodied energy and carbon. Energy Build. 2015, 102, 75–90. [Google Scholar] [CrossRef]
- Choi, S.W.; Oh, B.K.; Park, J.S.; Park, H.S. Sustainable design model to reduce environmental impact of building construction with composite structures. J. Clean. Prod. 2016, 137, 823–832. [Google Scholar] [CrossRef]
- Martí, J.V.; García-Segura, T.; Yepes, V. Structural design of precast-prestressed concrete U-beam road bridges based on embodied energy. J. Clean. Prod. 2016, 120, 231–240. [Google Scholar] [CrossRef]
- Phillips, J.; Spector, T.; Mansy, K.; Homer, J.; Crawford, W. Structural System Selection for a Building Design Based on Energy Impact. In Proceedings of the 2021 ASEE Virtual Annual Conference Content Access, Virtual, 26–29 July 2021. [Google Scholar] [CrossRef]
- Zhang, X.; Zhang, X. Low-carbon design optimization of reinforced concrete building structures using genetic algorithm. Build. Res. Inf. 2023, 23, 1888–1902. [Google Scholar] [CrossRef]
- Broyles, J.M.; Hopper, M.W. Assessment of the embodied carbon performance of post-tensioned voided concrete plates as a sustainable floor solution in multistory buildings. Eng. Struct. 2023, 295, 116847. [Google Scholar] [CrossRef]
- Liu, C.H.J.; Pomponi, F.; D’Amico, B. The Extent to Which Hemp Insulation Materials Can Be Used in Canadian Residential Buildings. Sustainability 2023, 15, 14471. [Google Scholar] [CrossRef]
- Nguyen, K.; Morgan, S. Comparing the Environmental Impacts of Using Mass Timber and Structural Steel. J. Clean. Prod. 2023, 380, 135082. [Google Scholar]
- Ranganath, S.; McCord, S.; Sick, V. Assessing the maturity of alternative construction materials and their potential impact on embodied carbon for single-family homes in the American Midwest. Front. Built Environ. 2024, 10, 1384191. [Google Scholar] [CrossRef]
- Lobaccaro, G.; Wiberg, A.H.; Ceci, G.; Manni, M.; Lolli, N.; Berardi, U. Parametric design to minimize the embodied GHG emissions in a ZEB. Energy Build. 2018, 167, 106–123. [Google Scholar] [CrossRef]
- Lanjewar, B.; Chippagiri, R.; Dakwale, V.; Ralegaonkar, R.V. Application of Alkali-Activated Sustainable Materials: A Step towards Net Zero Binder. Energies 2023, 16, 969. [Google Scholar] [CrossRef]
- Morris, F.; Allen, S.; Hawkins, W. On the embodied carbon of structural timber versus steel, and the influence of LCA methodology. Build. Environ. 2021, 203, 108285. [Google Scholar] [CrossRef]
- Mehta, P.K.; Monteiro, P.J.M. Concrete: Microstructure, Properties, and Materials, 4th ed.; McGraw-Hill Education: New York, NY, USA, 2014. [Google Scholar]
- Bhanja, S.; Sengupta, B. Influence of silica fume on the tensile strength of concrete. Cem. Concr. Res. 2005, 35, 743–747. [Google Scholar] [CrossRef]
- Siddique, R. Utilization of silica fume in concrete: Review of hardened properties. Resour. Conserv. Recycl. 2011, 55, 923–932. [Google Scholar] [CrossRef]
- Davidovits, J. Geopolymers: Inorganic polymeric new materials. J. Therm. Anal. 1991, 37, 1633–1656. [Google Scholar] [CrossRef]
- Hoffmann, C.; Schubert, S.; Leemann, A.; Motavalli, M. Recycled concrete and mixed rubble as aggregates: Influence of variations in composition on the concrete properties and their use as structural material. Constr. Build. Mater. 2012, 35, 701–709. [Google Scholar] [CrossRef]
- Gan, V.J.L.; Cheng, J.C.P.; Lo, I.M.C. A systematic approach for low carbon concrete mix design and production. In Proceedings of the Third International Conference on Civil Engineering, Architecture and Sustainable Infrastructure, Hong Kong, China, 15–17 June 2015; pp. 123–128. [Google Scholar]
- Dixit, M.K.; Fernández-Solís, J.L.; Lavy, S.; Culp, C.H. Need for an embodied energy measurement protocol for buildings: A review paper. Renew. Sustain. Energy Rev. 2012, 16, 3730–3743. [Google Scholar] [CrossRef]
- Sarma, K.C.; Adeli, H. Cost Optimization of Concrete Structures. J. Struct. Eng. 1998, 124, 570–578. [Google Scholar] [CrossRef]
- Camp, C.V.; Pezeshk, S.; Hansson, H. Flexural Design of Reinforced Concrete Frames Using a Genetic Algorithm. J. Struct. Eng. 2003, 129, 105–115. [Google Scholar] [CrossRef]
- Ferreiro-Cabello, J.; Fraile-Garcia, E.; Martinez de Pison Ascacibar, E.; Martinez-de Pison, F. Metamodel-based design optimization of structural one-way slabs based on deep learning neural networks to reduce environmental impact. Eng. Struct. 2018, 155, 91–101. [Google Scholar] [CrossRef]
- Perea, C.; Alcala, J.; Yepes, V.; Gonzalez-Vidosa, F.; Hospitaler, A. Design of reinforced concrete bridge frames by heuristic optimization. Adv. Eng. Softw. 2008, 39, 676–688. [Google Scholar] [CrossRef]
- Zhang, H.; Zhai, D.; Yang, Y.N.; Yuan, R. Finite element modeling and performance analysis of concrete structures considering complex loading conditions. Eng. Struct. 2018, 153, 414–430. [Google Scholar]
- Hussain, Q.; Javed, M.; Ahmed, W.; Pervaiz, H. Advanced computational methods for structural analysis: A review of FEA applications in concrete structures. Comput. Struct. 2018, 215, 66–81. [Google Scholar]
- Rashid, K.; Razzaq, A.; Ahmad, M.; Rashid, T.; Tariq, S. Experimental and analytical selection of sustainable recycled concrete with ceramic waste aggregate. Constr. Build. Mater. 2019, 154, 829–840. [Google Scholar] [CrossRef]
- Tiutkin, A.; Bondarenko, V. Parametric Analysis of the Stress-Strain State for the Unsupported and Supported Horizontal Underground Workings. Acta Tech. Jaurinensis 2022, 14, 81–92. [Google Scholar] [CrossRef]
- Bendsøe, M.P.; Kikuchi, N. Generating optimal topologies in structural design using a homogenization method. Comput. Methods Appl. Mech. Eng. 1988, 71, 197–224. [Google Scholar] [CrossRef]
- Khee, Y.Y.; Li, G.Q.; Li, Z.X. Topology optimization of concrete structures with sustainability considerations. Struct. Multidiscip. Optim. 2014, 49, 1027–1042. [Google Scholar]
- Rivero-Romero, M.; Marquez-Dominguez, S.; Hernandez-Castillo, H.A. High-strength concrete: Development and experimental validation. J. Mater. Civ. Eng. 2016, 28, 04015196. [Google Scholar]
- Fujisawa, M.; Nakai, H.; Tsuchida, S. Performance evaluation of CFRP reinforced concrete structures. Compos. Struct. 2016, 143, 262–270. [Google Scholar]
- Faraco, B.; Carloni, C.; D’Antino, T. Mechanical properties of FRP-strengthened concrete elements. Eng. Struct. 2016, 124, 126–136. [Google Scholar]
- Kahsay, M.T.; Hansen, H.K. Precast concrete elements: A sustainable choice for structural systems. Sustain. Cities Soc. 2016, 27, 227–235. [Google Scholar]
- Meyer, C. The greening of the concrete industry. Cem. Concrete. Compos. 2009, 31, 601–605. [Google Scholar] [CrossRef]
- Lachimpadi, S.K.; Pereira, J.J.; Taha, M.R.; Mokhtar, M. Construction waste minimisation comparing conventional and precast construction. Resour. Conserv. Recycl. 2012, 68, 96–103. [Google Scholar] [CrossRef]
- Kwan, A.K.H.; Wong, H.H.C.; Poon, C.S. Design optimization of high-strength concrete structures using advanced analysis methods. Struct. Concr. 2015, 16, 102–115. [Google Scholar]
- Mirschel, G.; Krüger, M.; Burkert, A. High-performance concrete: Mechanical properties and serviceability aspects. Struct. Concr. 2020, 21, 168–177. [Google Scholar] [CrossRef]
- Kumar, S.; Sharma, B.; Gupta, R. Performance evaluation of fiber-reinforced concrete with varying fiber contents. J. Build. Eng. 2018, 20, 264–271. [Google Scholar] [CrossRef]
- Teng, J.G.; Chen, J.F.; Smith, S.T. Design guidelines for prestressed concrete structures. J. Constr. Steel Res. 2015, 106, 57–69. [Google Scholar] [CrossRef]
- Misra, S. Prestressed Concrete Structures: Analysis and Design. J. Bridge Eng. 2014, 19, 04014043. [Google Scholar] [CrossRef]
- Zhang, Y.; Liu, H.; Chen, C.; Wang, B. Integration of BIM and optimization techniques for building design: A comprehensive review. Build. Environ. 2019, 151, 13–27. [Google Scholar] [CrossRef]
- Jia, X.; Zhao, M.; Di, B.; Jin, W. Advanced monitoring technologies for concrete structures: A review. Struct. Health Monit. 2015, 14, 343–363. [Google Scholar] [CrossRef]
- Bažant, Z.P.; Hubler, M.H.; Yu, Q. Pervasive design adjustments for concrete structures to control deflection. Cem. Concr. Res. 2012, 42, 1431–1444. [Google Scholar] [CrossRef]
- Makuvaro, T.; Kearsley, E.P.; van Zijl, G. Design optimization strategies for sustainable concrete structures. Struct. Concr. 2018, 19, 1987–1998. [Google Scholar] [CrossRef]
- Gîrbacea, I.A.; Dan, S.; Florut, S.C. Experimental investigation of voided RC slabs with spherical voids. Eng. Struct. 2019, 197, 109403. [Google Scholar] [CrossRef]
- Huda, F.; Jumat, M.Z.B.; Islam, A.B.M.S. State of the art review of voided slab system application in construction. J. Civ. Eng. Manag. 2016, 22, 1006–1017. [Google Scholar] [CrossRef]
- Ahmed, I.; Tsavdaridis, K.D. Life cycle assessment and environmental impact of voided biaxial slab systems. J. Build. Eng. 2021, 42, 102757. [Google Scholar] [CrossRef]
- Brambilla, G.; Lavagna, M.; Vasdravellis, G.; Castiglioni, C.A. Environmental benefits of prefabricated voided floor systems. Sustain. Cities Soc. 2019, 45, 642–651. [Google Scholar] [CrossRef]
- Afanasyev, A.A. Development of non-extractable void formers for concrete slabs. J. Build. Eng. 2019, 26, 100873. [Google Scholar] [CrossRef]
- Vizinho, R.V.; Santos, C.C.; Gomes, M.G. Performance analysis of voided slabs with non-extractable formers. Constr. Build. Mater. 2021, 305, 124773. [Google Scholar] [CrossRef]
- Tuan, L.A.; Vinh, T.D. Innovative Concrete Solutions: The Role of Voided Slabs in Sustainable Construction. Constr. Build. Mater. 2020, 264, 120132. [Google Scholar]
- Poon, C.S.; Shui, Z.H.; Lam, L. Effect of microstructure of ITZ on compressive strength of concrete prepared with recycled aggregates. Constr. Build. Mater. 2004, 18, 461–468. [Google Scholar] [CrossRef]
- Vermeulen, Y.; Blocken, B.; Hensen, J.L.M. Recycled concrete aggregates: A review of mechanical and durability properties. J. Clean. Prod. 2012, 28, 201–208. [Google Scholar] [CrossRef]
- Tam, V.W.Y.; Soomro, M.; Evangelista, A.C.J. A review of recycled aggregate in concrete applications (2000–2017). Constr. Build. Mater. 2018, 172, 272–292. [Google Scholar] [CrossRef]
- Tam, V.W.Y.; Gao, X.F.; Tam, C.M. Microstructural analysis of recycled aggregate concrete produced from two-stage mixing approach. Cem. Concr. Res. 2005, 35, 1195–1203. [Google Scholar] [CrossRef]
- Aoyagi, K.; Yoshida, Y.; Yamada, K. Environmental assessment of recycled aggregate concrete considering CO2 emissions. J. Clean. Prod. 2011, 19, 1931–1938. [Google Scholar] [CrossRef]
- Neha, K.; Ansari, M.F. Performance enhancement of concrete using waste mineral powders as supplementary cementitious materials. Constr. Build. Mater. 2023, 367, 130564. [Google Scholar] [CrossRef]
- Xiao, J.; Li, W.; Fan, Y.; Huang, X. An overview of study on recycled aggregate concrete in China (1996–2019). Constr. Build. Mater. 2020, 134, 191–203. [Google Scholar] [CrossRef]
- Guo, H.; Shi, C.; Guan, X.; Zhu, J.; Ding, Y.; Ling, T.C.; Zhang, H.; Wang, Y. Durability of recycled aggregate concrete—A review. Cem. Concr. Compos. 2018, 89, 251–259. [Google Scholar] [CrossRef]
- Galvín, A.P.; Ayuso, J.; Jiménez, J.R.; Agrela, F. Comparison of batch leaching tests and influence of pH on the release of metals from construction and demolition wastes. Waste Manag. 2020, 81, 168–179. [Google Scholar] [CrossRef]
- Galvín, A.P.; Ayuso, J.; Agrela, F.; Barbudo, A.; Jiménez, J.R. Analysis of leaching procedures for environmental characterization of recycled aggregate from construction and demolition waste. Waste Manag. 2023, 107, 115–123. [Google Scholar] [CrossRef]
- Snellings, R.; Mertens, G.; Elsen, J. Supplementary cementitious materials. Rev. Mineral. Geochem. 2022, 74, 211–278. [Google Scholar] [CrossRef]
- Di Maria, A.; Eyckmans, J.; Van Acker, K. Downcycling versus recycling of construction and demolition waste: Combining LCA and LCC to support sustainable policy making. Waste Manag. 2018, 75, 3–21. [Google Scholar] [CrossRef]
- Thomas, M.D.A.; Hooton, R.D.; Scott, A.; Zibara, H. The effect of supplementary cementitious materials on chloride binding in hardened cement paste. Cem. Concr. Res. 2022, 42, 1–7. [Google Scholar] [CrossRef]
- Payá, J.; Monzó, J.; Borrachero, M.V.; Velázquez, S. Evaluation of the pozzolanic activity of fluid catalytic cracking catalyst residue (FC3R). Cem. Concr. Res. 2023, 33, 603–609. [Google Scholar] [CrossRef]
- Ponnada, M.R.; Prasad, S.S.; Dharna, H. Composite sustainability index for optimizing recycled aggregate concrete: A case study approach. J. Clean. Prod. 2021, 292, 126012. [Google Scholar] [CrossRef]
- Scrivener, K.L.; Lothenbach, B.; De Belie, N.; Gruyaert, E.; Skibsted, J.; Snellings, R.; Vollpracht, A. RILEM TC 238-SCM: Hydration and microstructure of concrete with SCMs. Mater. Struct. 2015, 48, 835–862. [Google Scholar] [CrossRef]
- McNeil, K.; Kang, T.H.K. Recycled concrete aggregates: A review. Int. J. Concr. Struct. Mater. 2023, 7, 61–69. [Google Scholar] [CrossRef]
- Silva, R.V.; de Brito, J.; Dhir, R.K. Use of recycled aggregates arising from construction and demolition waste in new construction applications. J. Clean. Prod. 2019, 236, 117629. [Google Scholar] [CrossRef]
- Taranath, B.S. Reinforced Concrete Design of Tall Buildings; CRC Press: Boca Raton, FL, USA, 2010. [Google Scholar]
- Jang, H.; Ahn, Y.; Roh, S. Comparison of the embodied carbon emissions and direct construction costs for modular and conventional residential buildings in South Korea. Buildings 2022, 12, 51. [Google Scholar] [CrossRef]
- Munro, M.; Kanavaris, F.; Orr, J. A critical review of embodied carbon classification schemes for concrete. Case Stud. Constr. Mater. 2024, 21, e04021. [Google Scholar] [CrossRef]
- Huang, Y. Life-cycle assessments of different roof types in concrete structures. Energy Rep. 2023, 9, 123–135. [Google Scholar] [CrossRef]
- Drewniok, M.; Kwan, A.; Hossain, M. Comparative analysis of embodied carbon in different slab types. J. Clean. Prod. 2020, 256, 120130. [Google Scholar] [CrossRef]
- Kaethner, A.; Burridge, R. Embodied CO2 of structural frames. Struct. Eng. 2012, 90, 8. [Google Scholar]
- Miller, D.; Doh, J.H.; Lima, M.M.; van Oers, N. Embodied energy assessment of the structural system in concrete buildings: A case study on 7 south east Queensland structures. In Proceedings of the 23rd Australasian Conference on the Mechanics of Structures and Materials (ACMSM23), Byron Bay, Australia, 9–12 December 2014. [Google Scholar]
- Paik, J.; Na, J.; Yoon, S. Assessment of CO2 Emissions by Replacing an Ordinary Reinforced Concrete Slab with the Void Slab System in a High-Rise Commercial Residential Complex Building in South Korea. Sustainability 2019, 11, 82. [Google Scholar] [CrossRef]
- Foraboschi, P.; Bianchi, G. Analysis of lightweight products in voided slabs. Constr. Build. Mater. 2014, 64, 1–8. [Google Scholar]
- Huang, W.; Li, Q.; Zhang, N.; Su, Y. Innovative floor systems for sustainable buildings: Material efficiency and structural optimization. Struct. Des. Tall Spec. Build. 2018, 27, e1475. [Google Scholar] [CrossRef]
- Balakrishnan, B.; Menon, D. Square Beam–Slab Systems: Resolving a Design Controversy Related to Collapse Mechanism. J. Inst. Eng. Ser. A 2020, 101, 361–370. [Google Scholar] [CrossRef]
- Burridge, J. How to Specify Lower Carbon Concrete Now. Concrete Magazine–The Concrete Centre. 2020. Available online: https://www.concretecentre.com/News/2021/How-to-specify-lower-carbon-concrete-now.aspx (accessed on 24 January 2025).
- Saran, S.; Singh, A. Performance analysis of flat and ribbed slabs in building construction. Int. J. Civ. Eng. Technol. 2021, 12, 1–10. [Google Scholar]
- Daham, M. The impact of ribbed and waffle slabs on embodied carbon in construction. J. Clean. Prod. 2011, 19, 1123–1130. [Google Scholar] [CrossRef]
- Macpherson, R. Whole Building Life Cycle Assessment of New Multi-Unit Residential Buildings in Southern Ontario; Technical Report; University of Toronto: Toronto, ON, Canada, 2024. [Google Scholar] [CrossRef]
- Jayasinghe, A.; Orr, J.; Ibell, T.; Boshoff, W.P. Minimising embodied carbon in reinforced concrete beams. Eng. Struct. 2021, 242, 112590. [Google Scholar] [CrossRef]
- Faridmehr, I.; Nehdi, M.; Nikoo, M.; Valerievich, K. Predicting embodied carbon and cost effectiveness of post-tensioned slabs using novel hybrid firefly ANN. Sustainability 2021, 13, 12319. [Google Scholar] [CrossRef]
- Bosbach, J. Digital Prefabrication of Lightweight Building Elements for Circular Economy: Material-Minimised Ribbed Floor Slabs Made of Extruded Carbon Reinforced Concrete (ExCRC). Buildings 2023, 13, 2928. [Google Scholar] [CrossRef]
- Xie, H.; Wu, C.; Chen, G. Analysis of embodied carbon in reinforced concrete flat slab structures. J. Build. Eng. 2019, 15, 156–165. [Google Scholar] [CrossRef]
- Jayasinghe, A.; Orr, J.; Ibell, T.; Boshoff, W.P. Comparing the embodied carbon and cost of concrete floor solutions. J. Clean. Prod. 2021, 324, 129268. [Google Scholar] [CrossRef]
- Lyu, H.M.; Shen, S.L.; Zhou, A.; Yang, J. Assessment of embodied carbon in conventional beam and slab floor systems. J. Clean. Prod. 2018, 189, 567–579. [Google Scholar] [CrossRef]
- Al-Khazraji, H.; Abbas, A.L.; Mohammed, A.S. Environmental impact analysis of reinforced concrete beam and slab systems. Case Stud. Constr. Mater. 2022, 16, e00942. [Google Scholar] [CrossRef]
- Barbieri, G.; Biolzi, L.; Bocciarelli, M. Embodied carbon assessment of floor systems in multi-story buildings. Struct. Concr. 2018, 19, 1968–1979. [Google Scholar] [CrossRef]
- Miller, R.; Thompson, L. Concrete slab comparison and embodied energy optimisation for alternate design and construction techniques. Constr. Build. Mater. 2015, 75, 71–78. [Google Scholar] [CrossRef]
- Syed, S.; Hargeaves, J.A.; Mountain, C.M.; Salehi, H. Optimal Structural System Selection Based on Embodied Carbon Comparison for a Multi-Story Office Building. Buildings 2023, 13, 2260. [Google Scholar] [CrossRef]
- Jamil, M.; Khan, M.N.N.; Karim, M.R. Analysis of embodied carbon in ribbed slab construction. J. Build. Eng. 2019, 23, 277–284. [Google Scholar] [CrossRef]
- Teodosio, B.; Wasantha, P.L.P.; Yaghoubi, E.; Guerrieri, M.; Fragomeni, S.; van Staden, R. Environmental, economic, and serviceability attributes of residential foundation slabs: A comparison between waffle and stiffened rafts using multi-output deep learning. J. Build. Eng. 2023, 80, 107983. [Google Scholar] [CrossRef]
- Ibrahim, A.; Mahmoud, E.; Yamin, M. Sustainable design of reinforced concrete ribbed slabs with recycled aggregates. Sustainability 2016, 8, 920. [Google Scholar] [CrossRef]
- Sabr, A.K.; Mohammed, M.K.; Ahmed, A.S. Environmental assessment of waffle slab systems in multi-story buildings. J. Build. Eng. 2019, 24, 100745. [Google Scholar] [CrossRef]
- Alexander, S.; Lantsoght, E.O.L. Analysis of embodied carbon in waffle slabs with high-strength concrete. Struct. Concr. 2018, 19, 1931–1942. [Google Scholar] [CrossRef]
- Zhang, L.; Xie, Q.; Wu, X.-X.; Yang, T.-C.; Chen, W.-W.; Xue, S. Post-fire flexural behavior of prefabricated steel truss concrete waffle slab. Structures 2025, 73, 108417. [Google Scholar] [CrossRef]
- Saeed, M.A.; Khan, M.A.; Qureshi, L.A. Embodied carbon assessment of lightweight waffle slab systems. Buildings 2023, 13, 1568. [Google Scholar] [CrossRef]
- Chae, Y.S.; Strand, R.K. Modeling ventilated slab systems using a hollow core slab model. Build. Environ. 2013, 60, 199–207. [Google Scholar] [CrossRef]
- Ceesay, J.; Miyazawa, S. High-performance concrete in waffle slab construction: Environmental impact analysis. J. Clean. Prod. 2019, 229, 57–68. [Google Scholar] [CrossRef]
- Baballëku, M.; Isufi, B.; Ramos, A.P. Seismic Performance of Reinforced Concrete Buildings with Joist and Wide-Beam Floors during the 26 November 2019 Albania Earthquake. Buildings 2023, 13, 1149. [Google Scholar] [CrossRef]
- Park, J.; Lee, D.-W.; Choe, D.-I.; I’ST Technology Institute. Mechanical Characteristics of Retractable Radial Cable Roof Systems. J. Korean Assoc. Spat. Struct. 2017, 17, 21–30. [Google Scholar] [CrossRef]
- Wan, G.; Audi, C.; Sasani, M. Modeling floor systems for collapse analysis. Eng. Struct. 2016, 141, 48–58. [Google Scholar] [CrossRef]
- Ahmad, M. Financial comparative study between post-tensioned and reinforced concrete flat slab. Int. J. Adv. Eng. Sci. Appl. 2022, 3, 67–75. [Google Scholar] [CrossRef]
- Husain, M. Optimization of post-tensioned concrete slabs for embodied carbon reduction. J. Struct. Eng. 2013, 139, 1465–1473. [Google Scholar] [CrossRef]
- Miller, D.; Doh, J.H.; Peters, T. Environmental impact assessment of post-tensioned slabs. Struct. Des. Tall Spec. Build. 2015, 24, 469–484. [Google Scholar] [CrossRef]
- Schwetz, P.F.; Gastal, F.P.; Silva Filho, L.C. Post-tensioned slabs with recycled aggregates: Embodied carbon analysis. J. Clean. Prod. 2014, 83, 410–419. [Google Scholar] [CrossRef]
- Johnson, R.P.; Anderson, D.; Collins, M.P. Lightweight post-tensioned concrete: Environmental considerations. Struct. Concr. 2015, 16, 458–467. [Google Scholar] [CrossRef]
- Ranzi, G.; Ostinelli, A. Ultimate behaviour and design of post-tensioned composite slabs. Eng. Struct. 2017, 150, 711–718. [Google Scholar] [CrossRef]
- Prakashan, S.; George, K.P.; Thomas, S. Embodied carbon analysis of hollow-core slabs. Constr. Build. Mater. 2016, 115, 362–370. [Google Scholar] [CrossRef]
- Alali, A.; Huang, Y.; Tsavdaridis, K. Comparative life cycle assessment (LCA) of the composite prefabricated ultra-shallow slabs (PUSS) and hollow core slabs in the UK. J. Build. Eng. 2024, 96, 110588. [Google Scholar] [CrossRef]
- Araujo, D.L.; Pinto, R.C.A. Low-carbon concrete in hollow-core slabs: Environmental assessment. J. Build. Eng. 2020, 31, 101327. [Google Scholar] [CrossRef]
- Ferreira, F.P.V.; Tsavdaridis, K.D.; Martins, C.H.; De Nardin, S. Steel-Concrete Composite Beams with Precast Hollow-Core Slabs: A Sustainable Solution. Sustainability 2021, 13, 4230. [Google Scholar] [CrossRef]
- Baioni, E.; Maretto, M.; Ruggeri, P. Nervi-style ribbed slabs: Structural efficiency and carbon footprint. J. Build. Eng. 2017, 12, 194–203. [Google Scholar] [CrossRef]
- Amir, S. Environmental impact assessment of recycled aggregate concrete in Nervi-style slabs. Sustainability 2024, 16, 157. [Google Scholar] [CrossRef]
- Putri, R.; Rahman, A.; Ibrahim, A. Carbon footprint analysis of arched concrete slabs. J. Build. Eng. 2021, 42, 102746. [Google Scholar] [CrossRef]
- Al-Bayati, G.; Al-Mahaidi, R.; Kalfat, R. Structural assessment of arched concrete slabs. Eng. Struct. 2015, 101, 117–125. [Google Scholar] [CrossRef]
- Barenys, J.; Fernandez-Llebrez, J.; Casals, M. Environmental impact of curved concrete slabs with recycled aggregates. Buildings 2022, 12, 1253. [Google Scholar] [CrossRef]











| Concrete Grade | Embodied Carbon (kgCO2e/kg) | ||
|---|---|---|---|
| Cement Replacement with Fly Ash (%) | |||
| 0% | 15% | 30% | |
| RC 20/25 (20/25 MPa) | 0.132 | 0.122 | 0.108 |
| RC 25/30 (25/30 MPa) | 0.14 | 0.130 | 0.115 |
| RC 28/35 (28/35 MPa) | 0.148 | 0.138 | 0.124 |
| RC 32/40 (32/40 MPa) | 0.163 | 0.152 | 0.136 |
| RC 40/50 (40/50 MPa) | 0.188 | 0.174 | 0.155 |
| Floor Type | Embodied Carbon (kgCO2e/m2) | σ | Concrete Grade | Thickness (mm) |
|---|---|---|---|---|
| Waffle Slab | 172 | ±8 | C25/30 | 200–250 |
| Flat Slab | 185 | ±13 | C25/30 | 200–300 |
| Hollow-Core Slab | 193 | ±15 | C30/37 | 200–250 |
| Arched Slab | 195 | ±10 | C25/30 | 200–250 |
| Post-Tensioned Concrete Floor | 220 | ±17 | C40/50 | 200–250 |
| Nervi-Style Slab | 223 | ±10 | C30/37 | 200–250 |
| Ribbed Slab | 253 | ±39 | C30/37 | 200–250 |
| Beam and Slab | 296 | ±19 | C35/45 | 200–250 |
| Floor Type | Embodied Carbon (kgCO2e/m2) | σ | Concrete Grade | Thickness (mm) |
|---|---|---|---|---|
| Post-Tensioned Concrete Floor | 245 | ±28 | C40/50 | 200–300 |
| Hollow-Core Slab | 247 | ±37 | C35/45 | 200–300 |
| Waffle Slab | 264 | ±51 | C35/45 | 200–400 |
| Nervi-Style Slab | 271 | ±32 | C35/45 | 200–250 |
| Arched Slab | 281 | ±37 | C30/37 | 200–250 |
| Flat Slab | 282 | ±71 | C30/37 | 200–250 |
| Ribbed Slab | 293 | ±43 | C35/45 | 200–250 |
| Beam and Slab | 407 | ±67 | C40/50 | 200–250 |
| Floor Type | Embodied Carbon (kgCO2e/m2) | σ | Concrete Grade | Thickness (mm) |
|---|---|---|---|---|
| Post-Tensioned Concrete Floor | 262 | ±39 | C40/50 | 250–300 |
| Hollow-Core Slab | 304 | ±18 | C40/50 | 250–300 |
| Waffle Slab | 307 | ±49 | C40/50 | 200–400 |
| Nervi-Style Slab | 313 | ±51 | C40/50 | 200–00 |
| Arched Slab | 335 | ±32 | C35/45 | 250–400 |
| Ribbed Slab | 384 | ±17 | C40/50 | 250–300 |
| Flat Slab | 388 | ±50 | C35/45 | 250–300 |
| Beam and Slab | 442 | ±57 | C45/55 | 250–300 |
Disclaimer/Publisher’s Note: The statements, opinions and data contained in all publications are solely those of the individual author(s) and contributor(s) and not of MDPI and/or the editor(s). MDPI and/or the editor(s) disclaim responsibility for any injury to people or property resulting from any ideas, methods, instructions or products referred to in the content. |
© 2025 by the authors. Licensee MDPI, Basel, Switzerland. This article is an open access article distributed under the terms and conditions of the Creative Commons Attribution (CC BY) license (https://creativecommons.org/licenses/by/4.0/).
Share and Cite
Paknahad, C.; Tohidi, M.; Bahadori-Jahromi, A. Improving the Sustainability of Reinforced Concrete Structures Through the Adoption of Eco-Friendly Flooring Systems. Sustainability 2025, 17, 2915. https://doi.org/10.3390/su17072915
Paknahad C, Tohidi M, Bahadori-Jahromi A. Improving the Sustainability of Reinforced Concrete Structures Through the Adoption of Eco-Friendly Flooring Systems. Sustainability. 2025; 17(7):2915. https://doi.org/10.3390/su17072915
Chicago/Turabian StylePaknahad, Chia, Mosleh Tohidi, and Ali Bahadori-Jahromi. 2025. "Improving the Sustainability of Reinforced Concrete Structures Through the Adoption of Eco-Friendly Flooring Systems" Sustainability 17, no. 7: 2915. https://doi.org/10.3390/su17072915
APA StylePaknahad, C., Tohidi, M., & Bahadori-Jahromi, A. (2025). Improving the Sustainability of Reinforced Concrete Structures Through the Adoption of Eco-Friendly Flooring Systems. Sustainability, 17(7), 2915. https://doi.org/10.3390/su17072915

