Next Article in Journal
Clean Energy Transition in Insular Communities: Wind Resource Evaluation and VAWT Design Using CFD and Statistics
Previous Article in Journal
Salutogenic Factors and Sustainable Development Criteria in Architectural and Interior Design: Analysis of Polish and EU Standards and Recommendations
Previous Article in Special Issue
Stepwise Multisensor Estimation of Shelter Hazard and Lifeline Outages for Disaster Response and Resilience: A Case Study of the 2024 Noto Peninsula Earthquake
 
 
Font Type:
Arial Georgia Verdana
Font Size:
Aa Aa Aa
Line Spacing:
Column Width:
Background:
Article

Low-Cost Electrodynamic Pluviometers for Flood and Debris Flow Monitoring

by
Cristiano Fidani
1,2,* and
Martino Siciliani
1
1
Osservatorio Sismico “Andrea Bina”, Borgo XX Giugno, 74, 06121 Perugia, Italy
2
Central Italy Electromagnetic Network, Via Fosso del Passo 6, 63847 San Procolo, Fermo, Italy
*
Author to whom correspondence should be addressed.
Sustainability 2025, 17(21), 9662; https://doi.org/10.3390/su17219662
Submission received: 3 September 2025 / Revised: 23 October 2025 / Accepted: 28 October 2025 / Published: 30 October 2025

Abstract

Mitigating the consequences of flash rainfall has become essential for the safety of populations and the promotion of local tourism. A non-structural measure could involve a sensor-based nowcasting system to detect increasingly frequent and intense rainfall events driven by climate change. Therefore, developing wide-range, connected, cheap, small, and easy-to-install rain gauges is desirable. To achieve a useful network of monitoring, a set of technologies such as electrodynamic sensor devices supported by real-time processing and the Internet of Things is proposed. This comparative investigation aimed to evaluate the implementation-friendly network of small, low-cost, solid-state pluviometers for near-real-time monitoring of an early warning system. The ability of a recent patent to provide cumulative rainfall estimates every ten seconds was evaluated for river system flooding, which extends the warning time by 3–4 min in a 1 km2 basin. Our results found that even with a rainfall uncertainty of 10%, a network of these new instruments reduced errors in flood wave severity and time estimations. Moreover, intensity–duration thresholds of landslide triggering and debris movements can be modified by flash rainfalls. Specifically, coastal areas with high-density populations can greatly benefit from this solution.

1. Introduction

The forecasting of river flooding involves assessing the risk and severity, which includes the areas surrounding the river. Forecasting river floods typically depends upon a synergy of meteorological, hydrological, and hydraulic data and models. In fact, flash floods are rapid-onset hydrological events that can be difficult to forecast. For example, they typically follow a short-duration causative storm event [1], with quick and often efficient runoff production processes. Flash floods affect basins of less than 1000 km2 and have a response time of a few minutes to a few hours [2]. The term ‘flash’ refers to a rapid territorial response, such as the water stage resulting from rainfall, often reaching a crest in a brief period [3,4,5,6,7]. In light of this, river flooding forecasting aims to predict the likelihood and severity of inundations. This involves utilising various methodologies, including data-driven models, physically based models, and hybrid approaches that integrate both techniques.
The data-driven methodology relies on historical data to predict future flooding events and is seldom coupled with machine learning techniques. The physically based models simulate the physical processes governing water flow and flood dynamics, providing a detailed understanding of flood behaviour. Concerning technologies, the physics-informed long short-term memory model integrates hydrological principles into neural networks to enhance prediction accuracy during rapid water level rises [8]. Promising case study results of the INFROM Project include an integrated approach for river flow forecasting and simulation, highlighting the effectiveness of combining various models for flood risk analysis [9]. The use of satellite data and ground-based observations enables short-term forecasting, which has also been successfully implemented to predict flood areas and depths within a 6 to 48 h timeframe, thereby facilitating timely evacuations and alerts [10].
Currently, the two primary flood forecasting methods are deterministic and probabilistic. The deterministic method provides a single, concrete prediction with the shortest lead time, but it does not account for underlying uncertainties [11]. Although based on optimal initial conditions, deterministic forecasts are prone to error. Consequently, integrating ensemble precipitation forecasts has become a major focus in hydrometeorological research in order to overcome these shortcomings [12]. By running numerical weather models with varied inputs to create multiple potential scenarios, forecasters produce hydrological outlooks that include a range of possibilities [13]. This ensemble-based approach, which captures the uncertainty in future precipitation, is a proven method for achieving more accurate and reliable flood forecasts compared with traditional deterministic methods [14]. Uncertainty in ensemble hydrological forecasts is predominantly attributed to errors in the forcing data and the inherent limitations of the hydrological model structure and its parameters [15]. The chief limitations of hydrological simulations are ultimately rooted in their foundational elements: imprecise boundary conditions, an imperfect model structure, and uncertain parameters [16].
Uncertainties in rainfall data also contribute to uncertainties in landslide-triggering thresholds wherever rainfall intensity and duration are recognised as main players of landslides [17]. Worldwide, rainfall-induced debris flows have been widely documented in the scientific literature [18,19,20]. Similarly, the issues inherent to the rainfall–runoff model, particularly in terms of input uncertainty, can determine the accuracy and reliability of the estimated runoff [21]. The low data density contributes to this uncertainty [22]. The effects of uncertainties in rainfall information have been investigated [23], and the reliability of the rainfall threshold used in flash flood warnings has been quantified; these warnings have been reported to be influenced by uncertainties in rainfall characteristics [24]. Recent study results indicate that while physics-based traditional models have improved over time, they often face limitations such as data sparsity and the need for extensive calibration [25]. Alternatively, small solid-state pluviometers such as optical-based, piezo-based, and capacitive-based instruments, when integrated into a network, often provide high-resolution data, allowing for enhanced accuracy in streamflow predictions [26,27,28,29]. The accuracy of small solid-state pluviometers in predicting water flow into rivers and streams could overcome weaknesses associated with traditional approaches [30]. While these solid-state pluviometers offer a promising alternative, traditional methods still hold value, particularly wherever long-term data and established calibration techniques are available.
Consequently, a well-planned rain gauge network is indispensable for accurate precipitation monitoring [31], which supports disaster risk reduction, agricultural productivity, and water resource management, all of which have strong economic justifications. Rain gauge data further empower efficient and environmentally conscious resource use, bolster community resilience, and promote institutional robustness through data sharing and participatory management frameworks. Moreover, in a tourist country where weather events can become dangerous, an efficient rain gauge network constitutes an element of reassurance. Therefore, rain gauge networks, when economically optimised and institutionally embedded, more often than not, constitute a critical infrastructure asset that fosters sustainable development by balancing cost-efficiency with environmental stewardship and social resilience. Current technical insights rely on network optimisation and error reduction [32]. For example, some geostatistical methods, such as ordinary kriging [33], enable the identification and relocation or removal of redundant gauges while strategically placing new stations in “blank” monitoring areas to maximise spatial representativeness and minimise error estimation [34]. Moreover, the integration of remote sensing and radar improves spatial–temporal resolution by real-time bias correction and calibration of their inherent biases and inaccuracies [35]. Their combined use has been reported to yield more reliable datasets, essential for hydrologic models and risk assessment [36].
Regarding the Internet of Things (IoT), it has enabled smart sensors to deploy low-power-consuming devices. These solar-powered rain sensors transmit real-time data via wireless networks [37] and have been well accepted due to their energy efficiency and ability to operate in remote locations without grid connectivity [38]. The advantages of solid-state pluviometers include their high resolution, characterised by finer temporal resolutions, which guarantee more accurate discharge estimations. These pluviometers are now a low-cost alternative to traditional methods, which were analysed in our comparative investigation. A solid-state instrument, termed an electrodynamic gauge, is presented in this study. The device exhibits a high sampling rate and is specifically optimised for near-real-time measurement of intense rainfall events. These characteristics render it particularly effective for the nowcasting of flash floods in small hydrological catchments.
The electrodynamic gauge was developed based on observational data collected by the Central Italy Electromagnetic Network during severe thunderstorms [39]. Following this, the Umbria region funded a research project at the “A. Bina” seismic observatory in Perugia. This observatory has historical significance, as here, the first pendulum seismometer was realised in 1751 [40] by the Benedictine monk Andrea Bina. However, before that, the first-ever pluviometer was invented in 1639 by the monk Benedetto Castelli [41], as reported in a letter received from Galileo Galilei in the same year. Castelli is also credited, albeit indirectly, for inventing the barometer, as its recognised inventor, Evangelista Torricelli, had been a student of Castelli in Rome. For these contributions, Castelli was considered the father of modern meteorology [42]. Moreover, for much of the 19th and 20th centuries, the observatory collected meteorological observations now considered to be of historical importance for climate studies. The monk Bernardo Paoloni, who directed the observatory for part of the 20th century, significantly contributed to the creation of the Italian Meteorological Society as secretary. Then, he founded the seismic observatory in 1931 when he was transferred to Perugia. Before this, he had established the Italian atmospheric radio service in 1928, thanks to the radio equipment and the proposal aimed at unifying the transmission of meteorological radiograms with the evening time signals from the Eiffel Tower to enhance the efficiency of meteorological operations [41]. Among Bernardo Paoloni’s achievements is the founding of the journal “La meteorologia pratica” in 1920. From its very first issue, Paoloni aimed to make meteorology truly practical, especially in its relationship with agriculture, aeronautics, and human health. The Bina observatory hosted one of the stations. Paoloni invented the photoelectric anemometer [42], keeping its instrumentation at the forefront for decades. Seismologist Father Martino Siciliani held the position of director from 1971 until 2025.

2. Materials and Methods

The hyetograph of a rainfall event is typically defined by three elements: total rainfall depth, storm duration, and temporal pattern [43]. Among these characteristics, the rainfall depth and duration can be directly obtained from rain gauge measurements within a watershed. In contrast, the temporal storm pattern—representing how rainfall is distributed over time—differs across events depending on the storm duration, total rainfall amount, and spatial placement of rain gauges. A point rainfall can be transformed into a discharge hydrograph or a probability of a debris flow throughout a schematic form of the following type:
RainfallhydrologicalRunoffforecast/Warning Time
response detection
(intensity, duration)—>(discharge, flow peaks)—>(lead time for action).
The hydrological response occurs with a significant water portion lost or delayed. In fact, rain is first intercepted by vegetation, and then it hits the ground and infiltrates into the soil. Once the rainfall intensity exceeds the soil’s infiltration capacity, excess water begins to flow overland as surface runoff. This runoff concentrates in rills, gullies, and streams, eventually reaching the main channel. The runoff depth or runoff volume over time is often calculated using hydrological models like the soil conservation service, with
Prunoff = (Ptotal − Ia)2/(Ptotal − Ia + S)
where Ia is the initial abstraction, and S is the retention parameter. Due to hydraulic routing, the runoff volume from the entire watershed needs to be translated into a flow rate at a specific point. A common method uses a unit hydrograph (UH), which represents the discharge resulting from a unit depth of effective rainfall distributed uniformly over the watershed. The discharge hydrograph is computed as a convolution integral, which is a time-series graph showing the flow rate in m3/s at the outlet of the watershed.
Q(t) = ∫ Prunoff(τ) × UH(t − τ) dτ
Geomorphic and statistical thresholds are useful for calculating the debris flow probability from discharge. The sediment mobilisation consists of intense runoff that erodes hillslopes and channel beds, entraining sediments of soil, rocks, and debris. When the sediment concentration in the flow becomes very high (typically > 40–50% by volume), it transitions from a flood to a debris flow. The probability of this transition is determined by empirical thresholds that are established by analysing past rainfall events that did and did not trigger debris flows. They are often plotted as intensity–duration (I-D) curves (e.g., I = α Dβ, where α and β are constants). Process-based models are also used with slope stability models to predict when and where slopes will fail and mobilise into a debris flow. If I ≥ α Dβ, a high probability of debris flow initiation is established.
The warning time is the critical window between when a reliable prediction is made and when the hazard of flood peak or debris flow impacts a vulnerable area. The duration from the first detection of water rising over the safe level, which is sent to the responsible authorities, is very significant for warnings. A warning must be issued as soon as possible before a flash flood event to initiate disaster emergency operations, protecting lives and property [1]. Often, such a time-lapse is limited to a few minutes, while typical sampling errors (noted in tilting bucket meters) can degrade data robustness whenever there is a paucity of sampling intervals, such as 10–15 min [44]. Instrumental limitations during high rainfall rates also critically impact the accuracy and reliability of precipitation measurements, which, in turn, negatively affect flood forecasting [45]. Tipping-bucket rain gauges systematically underestimate high rainfall rates of up to 10–20%, due to both the tipping mechanism having a maximum tipping frequency and wind-induced splashing losses [46]. The overflow of gauges, whether manual or non-recording, remains an issue during extreme events, necessitating frequent monitoring and/or larger-capacity containers for weighing rain gauges [46]. Moreover, high-intensity rainfall events often mobilise debris, which can clog gauge inlets or tipping buckets, requiring maintenance. Radars also have limitations in heavy convective storms. In fact, radar beams can be severely attenuated by large hydrometeor concentrations, reducing reflectivity measurements at range [47] and debunking the assumption of stable Z–R relationships [48]. Averaging reflectivity over large volumes from long distances potentially overshoots shallow precipitation layers or does not detect peak intensities near the surface [49]. Additionally, radars can be obstructed by complex topography [50] and also constitute a significant environmental impact. Disdrometers and satellite sensors are negatively affected by sampling saturation, spatial–temporal resolution, and cloud penetration [45,50].
The analysed data in this work were collected on the rooftop of the “Bina” observatory in Perugia (43°06′05.05″ N, 12°23′45.34″, at 465 m s.l.m.) during 2017 and compared with the data of the University of Perugia, the Faculty of Agriculture, instruments located in the same building as the Benedictines above the observatory, as shown in Figure 1. It was a SIAP+MICROS TP500-N, 500 cm2 tipping-bucket rain gauge (dimensions: a ~585 mm height and a ~300 mm max. diameter; resolution: 0.2 mm; and declared accuracy: less than 3% up to 150 mm/h and <6% up to 300 mm/h.
Our pluviometer is a small, solid-state device (see Figure 2) designed to overcome the evaporation issue, utilising a novel type of rain gauge that does not collect rainwater and has high sensitivity, a large range, and a high sample rate of rain intensity. The pluviometer is composed of two discs having different diameters joined by a rod made of an electrically insulating material. The distance between the two disks must be at least 10 cm to avoid splash drops, whereas the disk, positioned at the top with its axis parallel to the vertical axis, contains an electric capacitor that acts as the sensor, which is a few cm2. The lower disk, a few centimetres larger in diameter, acts as the anchoring base and contains the electronics. This disc has several holes to fasten itself with various solutions. The capacitor is made of flat faces of thin Cu metal layers, where the first layer is facing up and is electrically isolated from rain by a thin film. The second arm of the capacitor is grounded. Concerning the electric fields generated above the sensor, they are strongly shielded by the capacitor structure, and only the charges that touch the top disc can induce measurable intensity signals. The signal generated by the electrical induction of raindrops striking the upper face is connected to the electronics by a shielded wire. Of the two electronic parts, the first includes a high-impedance amplifier for the signal. The second part is a processor responsible for both ADC and computing the rain rates using a fast Fourier transform (FFT) and summing selected power spectral components. Consequently, the calculation of the rain rate is possible by measuring electrical pulses, calculated as the power spectral sum of electric non-stationary induced currents.
The processor calculates a rain rate using digital values in an equation derived from the solution of a linear system whose coefficients come from the power spectral density decomposition. The power spectral density decomposition is chosen as the set of Fourier components, avoiding the harmonic values of the power supply. For example, these components could be 135 Hz, 165 Hz, 220 Hz, and 275 Hz. Spectral components are usually utilised above 100 Hz, given that components of a lower frequency have been associated with other natural phenomena, which can contribute to FFT decomposition. More precisely, the procedure consists of selecting frequencies within the interval of 100–300 Hz that do not coincide with the harmonics of the 50 Hz fundamental. Accordingly, candidate frequencies are restricted to the subranges of 101–149 Hz, 151–199 Hz, 201–249 Hz, and 251–299 Hz. In addition, preference is given to frequencies located in regions of a minimal spectral amplitude, which generally occur at positions approximately midway between adjacent harmonic components. However, since certain inverter-generated harmonics may appear precisely at these midpoints, the selected frequencies are intentionally shifted slightly away from the exact half-harmonic positions. The processor identifies four harmonic components and performs instrument calibration at each positional change, taking into account the prevailing noise level and the relevant experimental constants. Thereupon, during rainfall where the cumulative rain level is M(i) in mm in a time interval t(i), the linear equation system accounting for the cumulative rain level can be defined by
M(i) = Sumk=1,…,n A(i,k) x(k)
A(i,k) represents the chosen Fourier components k of the amplified signal coming from the capacity sensor. x(k) are the unknown coefficients possible to calculate by Cramer’s method [51]. If the electric instrumental noise in a time interval t(j) produces
Mnoise(j) = Sumk=1,…,n Ao(k) x(k)
where there are Ao(k) values for the chosen Fourier components k of the amplified noise signal, then the rainfall at each time t(j), corrected for the instrumental noise, is
M(i,j) = Sumk=1,…,n [A(i,k) − Ao(k)] x(k).
Equations (3)–(5) are derived empirically from the experimental activity carried out at the Bina Observatory. Equations (4) and (5) are used for the instrumental settlement, recovering Ao(k) and x(k), respectively. Cramer’s method applied to (4) and (5) is a little power-consuming, given that n = 4 is sufficient to reach a precise result from experimental verification. To calculate the rain rate, the processor must be capable of summing selected power spectral components with appropriate constants. The operation (4) should determine the noise level, which depends on the pluviometer location, along with the instrumental noise. Therefore, the Ao(k) computation must be programmed in the processor and repeatable each time that the pluviometer location is changed. To do this for n = 4, the processor must be capable of sampling selected spectral components at 4 different moments when it is not raining, before fixing Ao(k) equal to the components. The processor must also be capable of calculating determinants of rank 4 matrices and dividing these determinants in order to obtain an updated x(k). Precision in measuring rainfall using an electrical charge detector, even when the non-constant charge is associated with the same droplet dimensions, can be guaranteed by charge variations in droplets striking the sensor surface. Recently, it has been reported that raindrops often fall at speeds faster than the terminal velocity of liquid drops in still air [52]. In fact, raindrop velocity distributions versus drop dimensions have been modelled [53]. Hence, it is reasonable to assume that variations in induced charge are a function of droplet dimensions, as the charge magnitude is significantly restricted by droplet size.
Our pluviometer has several advantages over present-day pluviometers. Specifically, it can make immediate measurements based on samplings at a high frequency and can detect a single droplet that falls on the sensor. The sensor and electronic circuit are small, light, and sturdy, making them easy to install. The electronics are composed of a small number of easily available and low-cost components, resulting in a very low-cost device. A comparison between the component costs of the electrodynamic gauge versus the standard tipping-bucket and a piezo gauge is reported in Table 1. Concerning the unitary cost of this device, the estimation reported in Table 1 suggests a final price of a few tenths of euros.
The sensor does not limit or accumulate water, requiring almost no maintenance, making this rain gauge free of issues, including evaporation, splashing, and spillage, which are major defects of the tipping-bucket gauge. This invention can measure rain rates of up to 1000 mm/h, as droplets leave the sensor immediately after touching it. The resolution of this pluviometer is determined by both the electromagnetic noise level and the inherent noise of the electronic components. Minimal rates, of less than 1 mm/h, are measurable. The time sample interval of this pluviometer is very short, defined by the interval chosen to calculate the FFT. It is possible to achieve a time resolution of 1 s for rain rates using an ADC sample rate of 10 kHz, thus allowing for the evaluation of a rain rate as low as 0.0003 mm/s. The prototype of the electrodynamic pluviometer was set on the roof of the Perugia observatory at the beginning of 2013, 25 m above the ground, around 10 m from the rain gauge of the Agricultural Institute of the University of Perugia. The instrument remained in operation until 2021 without maintenance, having some interruption periods in data collection due to power and computer failures. The prototype electrodynamic pluviometer performed well until late 2017, when oxidation of the external plates began to distort the data; the electronic circuit was never destroyed. Rain rates, cumulatives, dates, and times were collected in the hard disk of a PC in the observatory with a sampling rate of 10 s, while a spectrogram of the electrodynamic power was created every 80 min with a coloured pixel every 4 s.

3. Results

With the aim of assessing the instrument’s performance, a series of tests was conducted, both laboratory and field tests, which allowed a performance comparison with a precise tipping-bucket gauge. This is not yet sufficient to obtain the standard required by the WMO, through a comparison with several different rain gauges [54], but it defines the instrument’s capabilities. Within this, the response time, sensitivity to small rainfall events, and effects of intense downpours were recorded. The results of these trials suggested the utility of the device for operational use in meteorological networks.
Rainfall data collected during a typical late summer downpour are shown in Figure 3. The light blue and dark blue lines represent the rain rates measured by the tipping bucket and patent instruments, respectively, while the yellow and red lines represent the cumulative values calculated by the same instruments, respectively. All of these measurements were reported in mm for cumulates and mm/5 min for rain rates, where 5 min was the interval of the tipping bucket instrument. The recording corresponded to an event on 2 September 2017, whose main phase took place at 16:00 LT. The rainfall unfolded in two phases. The first phase began at approximately 13:06, marked by light precipitation captured by both instruments, lasting for about 15 min and producing 0.6 mm of rainfall. The second discharge lasted for about one hour and deposited around 10 mm of water. Six light rain pulses occurred between 13:19 and 15:59 and were not detected by the tipping-bucket. They were characterised by the patent with durations between 10 and 30 s and cumulatives of <0.1 mm.
The cumulative differences, appearing in Figure 3, between the yellow and the red lines reached 14% in the early afternoon of 2 September. This high value is in agreement with the WMO-collected information [55]. Different factors can better explain the rain rates producing cumulative differences. As previously indicated, the evaporation problem of the tipping-bucket pluviometer prevented the detection of a small rainfall pulse at the beginning, with a cumulative of around 0.2 mm measured only by the patent. Small rain rates, ranging from 0.1 mm/5min to 1.2 mm/5min, were estimated between 13:09 and 15:59 and detected by the electrodynamic pluviometer. This instrument did not have the issues associated with droplet evaporation, as in our case, droplets need to brush against the sensor to be detected. Moreover, the more consistent rainfall between 16:15 and 16:30, and subsequently between 16:40 and 16:45, may have been prevented by the considerable extension of the tipping bucket walls, when non-vertical droplets stuck to the walls, delaying their fall into the bucket by coalescence. This is because this instrument was designed to work using a 15 min time interval, leading to the contribution of droplet coalescence occurring successively, when the main rainfall started, and the tipping bucket’s quick recovery of the droplets stuck to the wall. Moreover, rain droplets of the strong pulse detected at 16:48 by the electrodynamic pluviometer were not well measured by the tipping bucket. This may be due to the very high rain rate of over 44 mm/5min. Such a rain pulse released about 1.5 mm in ten seconds. Overall, the cumulative differences of 1.5 mm appearing in Figure 3 seemed, in this case, to have increased due to the tipping bucket’s difficulty in measuring very high rain rates. In other cases, cumulative differences were due to evaporation. Even for events that occurred during the night, the evaporation was efficient due to the heat retained from the daylight hours of a hot summer day. Concerning irregularity differences, they were associated with the phenomena of droplets stuck to the instrument walls and their coalescence.
The main phase of the rain event was recorded as being different by the electrodynamic pluviometer and the tipping bucket instrument in Figure 4. The electrodynamic instrument recorded the impulsive character of the main phase, with many intense pulses evidenced in yellow, grouped in 3–4 belts lasting a few minutes at 16:10–16:15, 16:20–16:25, and 16:40–16:45. The rain rates exceeded 29 and 19 mm/5 min during the first one. Moreover, a non-exceptional rain rate characteristic featured a second belt of the main phase, with rain rates from 2 mm/5 min to 8 mm/5 min. The electrodynamic representation evidences the corresponding electrodynamic measurement performed by the sensor. The spectrogram of the event is depicted in Figure 4 with a 5 min interval indicated by vertical dashed lines and on a logarithmic scale from a 1 to 450 Hz frequency interval. The spectrogram was obtained by sampling the rain meter signal at 16-bit and using the SpectrumLab 2.91 software with a 900 Hz sampling rate, a Hann FFT window function, a length of 16,384 inputs, and a waterfall scroll interval of 4096 ms. The indicated colour scale ranged from black to grey, to dark blue, to green, to yellow, and so on up to white, corresponding to powers between −116 and −40 dB. The horizontal lines visible on the spectrogram correspond to harmonics of the power distribution line, with the fundamental at f = 50 Hz, while the line at f = 75 Hz originates from the UPS inverter. For frequencies above 100 Hz, the coloured spectrum highlights the rainfall contribution, from which selected components were processed by the SpectrumLab software to quantify precipitation. Weak power amplitudes were recorded of more brief duration as lower after 1 pm with f > 100 Hz, which can be considered a false start of rain. Repetitive precipitation traces [56] at the onset of rainfall were recorded as low-power sudden pulses; they appear as vertical lines on the spectrogram of Figure 4, a few minutes before the first main event at 16:00. The numerous rain pulses of the main phase are shown in red colours, corresponding to a relative power of −80 dB, above 100 Hz. The logarithmic scale was used for the spectrogram so as to analyse the phenomenon for f < 100 Hz, whenever the electrodynamic contribution was due to fog or minute airborne water droplets. Indeed, tiny water droplets can stay airborne for several hours following rainfall. Thus, being that they are electrically charged, they release an ultra-low frequency signal when touching the sensor. Finally, the upper light blue line in the blue band in Figure 4 indicates the signal amplitude A. It increases with more droplets, recording the positive or negative nature of electrical charge and any major amplitude events.
It was difficult to accurately evaluate the precision of the studied electrodynamic pluviometer because of the limited time and intensity resolutions of other instruments. An error was determined when comparing the instrument’s measurements with those of a known rain gauge of the available tipping bucket. The comparison was conducted on a medium-to-high intensity precipitation event, with high flash pulses of rain, during both nocturnal and daylight hours of a non-warm season, after the rain had already fallen on the instrument, avoiding the issues described above. The selected rain event occurred during 1.5 days between 6 and 7 March 2017, with a total cumulative amount of more than 27 mm, after the rain had already fallen on 5 March. This selected event was composed of three main phases with increasing intensity. Precipitation traces of 0.2 mm were recorded by both instruments at around 04:35 and 6:35 on 6 March 2017, with the electrodynamic patent underestimating rain quantities and anticipating measurements of 10–15 min. Then, the first main phase lasted for about 5 h from 12:20, with a maximum rain rate of more than 12 mm/5 min reached at 15:07, and a cumulative of 6.4 mm was recorded by the tipping bucket, while 6.8 mm was recorded by the patent. The second main phase lasted for 4 h, starting at 20:40, with a maximum rain rate of around 20 mm/5 min reached at 21:30, and a cumulative of 12.2 mm was recorded by the tipping bucket, while a cumulative of 15.4 mm was recorded by the patent. The third main phase lasted for about 2 h from 05:50 on 7 March 2017, preceded by intermittent weak events, with a maximum rain rate of around 42.0 mm/5 min reached at 07:23, and a cumulative of 8.8 mm was recorded by the tipping bucket, while 5.2 mm was recorded by the patent. Major cumulative differences between the two instruments appeared with the major rain rate, as shown in Figure 5. They gradually recovered hours after the first and second main phases, which may have been due to the droplet coalescence facilitated by intermittent weak events. A cumulative difference of 1.6 mm after the third main phase remained, probably because the tipping bullet failed to record the high rain rate measured by the patent at 07:23 and at 07:42 when another 31.0 mm/5 min was recorded. These 10 s rain pulses contributed a total of 2.4 mm, which were only partially recorded by the tipping-bucket instrument. Note that the maximum slope of the cumulative precipitation is observed in the first half of the second main phase, during a not-too-intense but continuous rainfall of 5–7 mm/5 min. Even without excluding pulse contributions, the difference in the electrodynamic measurement resulted in being equivalent to 6% in excess. Summing this error with the error of the tipping bucket in optimal condition [57], a total error of less than 10% would result.
A summary of ten rainfall events is reported in Table 2, which occurred from 24 February 2017 to 24 September 2017. The tipping-bucket collection is corrected in brackets following the power law reported for the SIAP instrument in [55]. Corrections were made on a 5 min average; therefore, high-intensity, short-term rain rates that our device reported during several 10 s events of beyond 20 mm/5 min and up to 44 mm/5 min were overlooked. Relative errors of 5–55% were calculated, considering corrected tipping-bucket measurements as the intensity reference. The last column of Table 2 shows smaller errors for heavier rainfall, of less than 10%, while it shows larger errors for rainfall close to the tipping-bucket’s resolution. The same error level was assumed to apply to the next part of this work, which will need to be replicated in future investigations.
Several recent publications have presented non-catching rain gauges based on acoustic recordings, logging every 10 s [58]. However, they must work in combination with conventional tipping-bucket rain gauge data that provide the rainfall amount. Other non-catching gauges are based on piezoelectric sensors [59]. However, they work in combination with a micro-PC indispensable for machine learning. Hydrophobic elastic membranes have also been used with a similar algorithm to our frequency detection method on audio recordings [60], which, however, requires machine learning. Surveillance cameras can continuously record rainfall events through video and audio, and some researchers introduced a short-timescale dataset named SARID [61]. All of them are more complicated, have larger dimensions, do not take the wind influence into account, and are more expensive.

4. Discussion

Due to topography and loose material, short bursts of rain can be more damaging than steady rainfall because the infiltration capacity is often exceeded. Global and mountain-specific thresholds based upon historical events have been established [62]. Moreover, when rain falls in large volumes over short periods, it can lead to serious and immediate hazards, causing flooding of homes and businesses, the entrapment of persons in homes and offices, and traffic jams for those fleeing. Even a few inches of moving water can sweep a car away, erode soil and destabilise slopes, and cause landslides in hilly or mountainous areas, as well as sewer backups that contaminate water supplies, potentially resulting in significant public health risks.
Across Italy, the recorded frequency, intensity, and duration of flash floods have been on the rise, with both the number and severity of events increasing. Notably, from January to May 2023 alone, these trends were particularly pronounced; a total of 122 extreme weather events occurred in Italy, compared with 52 over the same period in 2022 [63]. Multiple studies have shown that extreme flash rainfall events occur annually, with comparable cases reported across various European countries [2]. Moreover, Mediterranean coasts have also been struck by short and intense rainfalls [64], which have shown an increasing frequency in recent decades [65]. An analysis of extreme streamflow in Italy from 1911 to 2020 reported “spatially coherent patterns of an increasing number of record-breaking floods” in central and northeastern Italy over the last 50 years [66]. Historically speaking, the so-called Tuscan flash flood of 1966 dropped 400 mm of rainfall in less than six hours, this being one example of studied meteorological cases [67]. A study by ClimaMeter [68] associated multiple flood events in Italy with climate change, suggesting that Mediterranean depressions currently produce more precipitation (up to 25% more) and stronger winds compared with the past.
The recorded increase in extreme flash rains is due to climate change, causing elevated summer temperatures and more frequent air masses in the Mediterranean regions. Thus, interest in recording rain rates in Mediterranean coasts has been keen, where higher air humidity increases water release. The impact of violent rainfalls on human lives in coastal regions is greater compared with landlocked regions. The entire territory of Italy is affected by this increase in flooding risks, while also being a popular destination for coastal and maritime tourism [69]. Ecosystem services distinguish coastal tourism as one of the most important services. The Italian tourism industry collectively employs approximately 640,000 people, with over 57.3 million tourists arriving across Italy in 2023. Generally, coastal zones provide opportunities for a variety of tourist activities in the Mediterranean region, which are concentrated in designated resort areas, spas, and also urban centres along the coastline [70]. Due to its favourable maritime climate, it is projected that the demand for coastal resort services will increase in the future. Under prevailing extreme weather conditions, the maritime climate is expected to be more favourable than the continental climate for coastal tourism. Nevertheless, the rising frequency of severe rainfall events heightens perceived risks and poses a greater threat to human safety.
A classical comparison method was followed to evaluate the measurement uncertainty of several rain gauge instruments for patterns of average areal rainfall intensity [71]. In this study, the electrodynamic and tipping-bucket instruments were compared in the same example of the work just mentioned. To quantify flood risk, uncertainty propagation in rainfall areas is about understanding how errors or uncertainties in rainfall measurements influence the final estimates of the area affected by rainfall. As in the mentioned work, the propagation of uncertainty in the mean areal rainfall intensity was addressed in two steps. First, the uncertainty associated with measuring the rainfall intensity at individual sites was assessed, whether the data came from electrodynamic or tipping-bucket pluviometers. Next, the uncertainty in the computed average areal rainfall intensity was evaluated using one of the three proposed methods. Table 3 summarises the standard uncertainty of two instruments. The different shape of gauges is reported in Figure 6, which is a source of uncertainty that depends on the induced streamlines of wind deformation affecting the rain trajectory [72]. The electrodynamic and tipping-bucket gauges are represented by 6 and 3 in Figure 6, respectively. Due to the smallness and thinness of the electrodynamic sensor, the error due to wind field deformation should be small for the patent. However, the wind environmental source of bias, which is by far the most impactful [73], was not evaluated for the electrodynamic gauge. Thus, n.d. was reported in Table 3. The wind source of bias had to be simulated for the electrodynamic pluviometer, as carried out for the piezoelectric ones [74]. Moreover, the contributions of the wetting loss bias could be measured by an electrodynamic pluviometer, while errors due to splashing of water and evaporation were not present. The evaluation obtained at the first stage produced 4% for electrodynamic gauges and 8% for tipping-bucket gauges.
For the second stage, a comparison of the measurement uncertainty associated with the average area in the basin of Figure 7 was made for the three methods of arithmetic, Thiessen polygons, and isohyets. The same four measurement stations in the catchment area depicted in Figure 7 were used as in the work [71], with the following daily average rainfall: P1 = 12 mm, P2 = 18 mm, P3 = 36 mm, and P4 = 28 mm. The estimated arithmetic average areal rainfall was 23.5 mm for the a) model. At the same time, the uncertainties calculated as standard deviations were uTB = 1 mm and uED = 0.5 mm, where TB indicates the tipping-bucket gauge and ED the electrodynamic gauge. The Thiessen polygon model had the same Pi as above, with the same areas used in the cited work, where A1/A = 0.37, A2/A = 0.24, A3/A = 0.20, and A4/A = 0.19; the standard uncertainty was u(Ai/A) = 0.01; and the weighted mean was 21.3 mm. Meanwhile, the uncertainties calculated as standard deviations were uTB = 1 mm and uED = 0.67 mm. The c) model produced Pa = 6 mm, Pb = 15 mm, Pc = 24 mm Pd = 32 mm, and Pe = 44 mm, with A1/A = 0.31, A2/A = 0.28, A3/A = 0.23, and A4/A = 0.18; a standard uncertainty of u(Ai/A) = 0.01; and a weighted mean of 21.9 mm. Meanwhile, the uncertainties calculated as standard deviations were uTB = 1.2 mm and uED = 0.95 mm.
Now, supposing there is a small catchment in Figure 7, where the length of the main ditch is approximately 1 km, an estimate of the delay in the peak flow can be made based on rainfall data provided by the electrodynamic pluviometer. Hydrogeological risk tends to be more pronounced in small catchments, where geological and environmental conditions necessitate short warning times for implementing mitigation measures. This was observed in the Italian territory [75], where machine learning proposed a 4–6 h forecasting. Assuming that each station in the figure provides the amount of rainfall relative to the sub-basins of the river branches and considering an average slope of the terrain characteristic of the hilly environment, the convergence in the branches of a quantity of water that rains on already saturated ground is of the order of a few minutes [76]. A network of electrodynamic pluviometers would be adapted to account for repetitive and impulsive rain flashes, focusing on several parts of the basin, by mixing branch contributions with appropriate delays in the outflow. Referring to Figure 7, a few tenths of a second of flash rainfall as the pulse in the third phase in Figure 5 occurring in P4, which consists of about a 500 m branch linear distance from the outflow, would sum up to a 150 m3 pulse of less than 1 min racing in 3–4 min of the outflow. It would be anticipated by an alarm of the network as soon as the rain pulse ended, that is, about 3 min before the flood wave passes, allowing the population at the outflow point to take some precautions to reach safety.
Moreover, facilities and infrastructure are essential in areas that have become strongly oriented toward tourism, like Italy. Archaeological and historical attractions, hotels, restaurants, and leisure complexes need to be easily reached. Transport hubs reshape the identity of these places, making them more accessible and attractive to travellers. However, when landslides and debris block traffic routes, tourists are directly prevented from experiencing a peaceful and safe journey. In this regard, the definition of new intensity–duration thresholds for emergencies in these territories could constitute resilient approaches against the negative effects of climate change. What truly matters is also how these responses are conceived, managed, and integrated into the social and environmental fabric of the territory. Only then can tourism become not just an economic engine but also a force for sustainable growth and meaningful cultural exchange.

5. Conclusions

Climate change is driving an increase in both the frequency and impact of natural disasters, making it urgent to establish systems that can predict, prevent, and respond to them effectively. Recent research findings have shown that episodes of intense rainfall are becoming longer and more frequent; thus, narrowing temporal and spatial gaps in monitoring and analysis is essential for developing adaptive management strategies and strengthening disaster resilience. Torrential rain events are becoming more common in many regions of the world due to climate change, which increases the atmosphere’s capacity to hold moisture. This too often means more rain can fall all at once, turning even short-lived storms into destructive events. Local-level climate change adaptation is becoming increasingly important, given the regional variability in how global climate change manifests. Here, it was shown how to obtain relevant advantages in rainfall measurements using a network of IoT electrodynamic pluviometers concentrated in particularly dangerous basins. The device uncertainties were estimated based on a tipping-bucket rain gauge, showing a better performance of the electrodynamic gauge for heavy rain events.
To define adequate adaptation and mitigation measures that reduce both the catastrophic risk and negative economic impacts of violent rainfalls, accurate knowledge of the time and intensity of such events is crucial. Both of these factors influence the severity of the three rainfall consequences: flooding, landsliding, and moving debris on communication routes. As for flooding, warnings should consist of more precise rainfall estimates from flash or prolonged rainfall in extended regions, which would be useful for coastal areas such as Italy. Moreover, sudden flooding can benefit from reduced lead times of the electrodynamic pluviometer, when every minute counts and potentially determines if a warning reaches responders in time or not. Regarding landslide triggering, it is described as a phenomenon that can occur after flash rainfalls on soils that have already been saturated by previous precipitation, which did not overcome the intensity–duration threshold. Finally, debris movements from slopes along communication arteries, including both roads and railways, are essential for visiting facilities in a tourist country, as well as for the safety of pedestrians. These findings highlight the need to reassess and reinforce current rainfall monitoring systems, prevention measures, and long-term adaptation strategies.

6. Patents

“ELECTRODYNAMIC RAIN GAUGE”
Filing date: 25 July 2016
Filing number: 102016000077834
Issuance date: 30 January 2019
Issuance number: 102016000077834
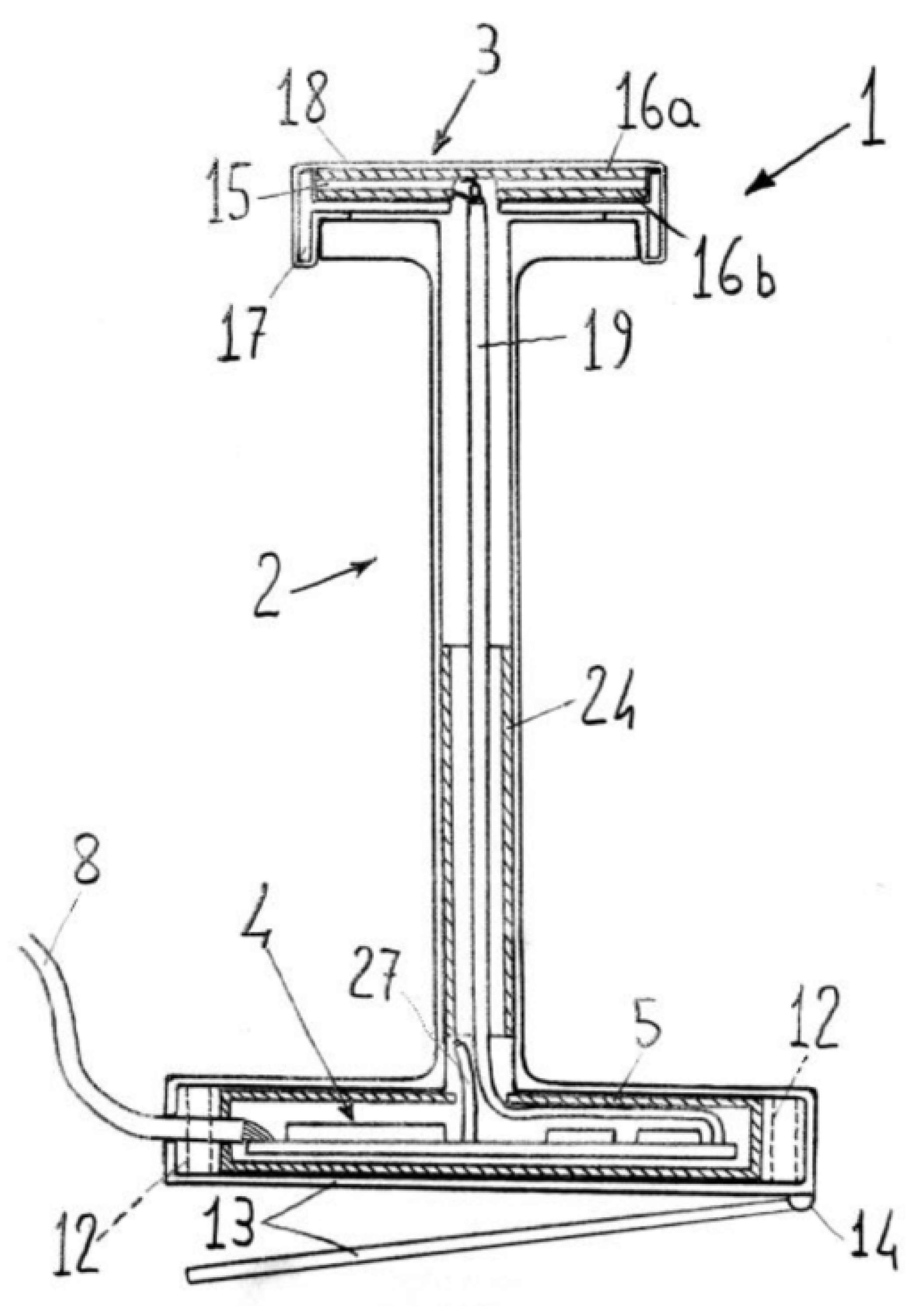
CLAIMS and sketch in Figure 8.
  • A pluviometer comprises insulating housing (2), a capacity sensor (3) comprises a capacitor having a first armature (16a) exposed to the raindrops to be sensitive to the variation in electric charge induced by said raindrops, and electrically shielded electronics (4) for conditioning of the signal generated by said capacity sensor (3) are positioned inside said insulating housing (2).
  • The pluviometer (1), according to claim 1, characterised by said conditioning electronics (4), comprises an amplifier (28) to increase the amplitude of said impulsive signal, an AD converter (29) for digitising said impulsive signal, and a processor (30).
  • The pluviometer (1), according to claim 1, characterised by said processor (30), is configured for estimating the precipitation of the rain rate recorded based on a weighted sum of the power spectrum components of said signal within designated frequency ranges.
  • The pluviometer (1), according to claim 1, is characterised by presenting a transmission cable (7) or a transmitting antenna (24) connected to the output of the said conditioning electronics (4).
  • The pluviometer (1), according to claim 1, is characterised by comprising an electromagnetic shield for shielding said first electrode (16a) from ambient electromagnetic interference constituted by a second plate (16b) of said capacitor or by another element (16c) electrically connected to said conductive second plate (16b) of said capacitor.
  • The pluviometer (1), according to claim 1, characterised by said first electrode (16a), is coated with an electrically insulating film (18) on the side exposed to said raindrops.
  • The pluviometer (1), according to claim 1, characterised by said insulating housing (2), extends along a longitudinal axis (L) and has a first end (2b) disposed in a proximal position to a support (100) of the pluviometer (1) when said rain sensor (1) is in use and a second end (2a) disposed in distal position from said support (100) when said rain sensor (1) is in use, with said capacity sensor (3) being located at said second end (2a) of said insulating housing (2), and said electromagnetic shield being interposed between said first armature and said first end (2b) of said insulating housing (2).
  • The pluviometer (1), according to the previous claim, characterised by said conditioning electronics (4), is placed in a compartment present in said first end (2b) of said insulating housing (2).
  • The pluviometer (1), according to the previous claim, characterised by said capacity sensor (3), is housed in an electrically insulating support (17).
  • The pluviometer (1), according to claim 1, characterised by said capacity sensor (3), has a flat or semi-spherical or spherical armour.

Author Contributions

Conceptualisation, M.S.; methodology, C.F.; software, C.F.; validation, M.S. and C.F.; formal analysis, C.F.; investigation, C.F.; resources, M.S.; data curation, C.F.; writing—original draft preparation, C.F.; writing—review and editing, C.F.; visualisation, C.F.; supervision, C.F.; project administration, M.S.; funding acquisition, M.S. All authors have read and agreed to the published version of the manuscript.

Funding

This research was funded by POR UMBRIA FSE 2007-2013, Umbria Region, Via M. Angeloni 61, 06124 Perugia.

Institutional Review Board Statement

Not applicable.

Informed Consent Statement

Not applicable.

Data Availability Statement

The original contributions presented in this study are included in the article. Further inquiries can be directed to the corresponding author.

Acknowledgments

We thank the Agriculture Faculty of the Perugia University for the meteorological data. We also thank the Benedictine monks and the “A. Bina” Observatory for all the facilities made available during this project.

Conflicts of Interest

The authors declare no conflicts of interest.

References

  1. Cools, J.; Vanderkimpen, P.; El Afandi, G.; Abdelkhalek, A.; Fockedey, S.; Ei Sammany, M.; Abdallah, G.; El Bihery, M.; Bauwens, W.; Huygens, M. An early warning system for flash floods in hyper-arid Egypt. Nat. Hazards Earth Syst. Sci. 2012, 12, 443–457. [Google Scholar] [CrossRef]
  2. Marchi, L.; Borga, M.; Preciso, E.; Gaume, E. Characterisation of selected extreme flash floods in Europe and implications for flood risk management. J. Hydrol. 2010, 394, 118–133. [Google Scholar] [CrossRef]
  3. Georgakakos, K.P. Advances in forecasting flash floods. In Proceedings of the CCNAA-AIT Joint Seminar on Prediction and Damage Mitigation of Meteorologically Induced Natural Disasters, Taipei, Taiwan, 21–24 May 1992; pp. 280–293. [Google Scholar]
  4. Creutin, J.D.; Borga, M. Radar hydrology modifies the monitoring of flash flood hazard. Hydrol. Process. 2003, 17, 1453–1456. [Google Scholar] [CrossRef]
  5. Collier, C. Flash flood forecasting: What are the limits of predictability? Q. J. R. Meteorol. Soc. 2007, 133, 3–23. [Google Scholar] [CrossRef]
  6. Norbiato, D.; Borga, M.; Degli Esposti, S.; Gaume, E.; Anquetin, S. Flash flood warning based on rainfall thresholds and soil moisture conditions: An assessment for gauged and ungauged basins. J. Hydrol. 2008, 362, 274–290. [Google Scholar] [CrossRef]
  7. Alfieri, L.; Thielen, J. A European precipitation index for extreme rain-storm and flash flood early warning. Meteorol. Appl. 2015, 22, 3–13. [Google Scholar] [CrossRef]
  8. Pan, X.; Mohammadi, N.; Taylor, J.E. River flood prediction based on physics-informed long short-term memory model. In Proceedings of the Construction Research Congress 2024, Des Moines, IA, USA, 20–23 March 2024. [Google Scholar]
  9. Merkuryeva, G.; Kornevs, M. Water flow forecasting and river simulation for flood risk analysis. Inf. Technol. Manag. Sci. 2013, 16, 42–46. [Google Scholar] [CrossRef][Green Version]
  10. Semen, P.; Boris, S.; Viacheslav, Z. River floods short-term forecasting system based on integrated use of space-ground data. In Proceedings of the IEEE International Symposium on Geoscience and Remote Sensing (IGARSS), Milan, Italy, 26–31 July 2015. [Google Scholar][Green Version]
  11. Zhao, P.; Wang, Q.J.; Wu, W.; Yang, Q. Which precipitation forecasts to use? Deterministic versus coarser-resolution ensemble NWP models. Q. J. R. Meteorol. Soc. 2021, 147, 900–913. [Google Scholar] [CrossRef]
  12. Bauer, P.; Thorpe, A.; Brunet, G. The quiet revolution of numerical weather prediction. Nature 2015, 525, 47–55. [Google Scholar] [CrossRef]
  13. Ming, X.; Liang, Q.; Xia, X.; Li, D.; Fowler, H.J. Real-time flood forecasting based on a high-performance 2-D hydrodynamic model and numerical weather predictions. Water Resour. Res. 2020, 56, e2019WR025583. [Google Scholar] [CrossRef]
  14. Jiang, X.; Zhang, L.; Liang, Z.; Fu, X.; Wang, J.; Xu, J.; Zhang, Y.; Zhong, Q. Study of early flood warning based on postprocessed predicted precipitation and Xinanjiang model. Weather Clim. Extrem. 2023, 42, 100611. [Google Scholar] [CrossRef]
  15. Krzysztofowicz, R. Bayesian theory of probabilistic forecasting via deterministic hydrologic model. Water Resour. Res. 1999, 35, 2739–2750. [Google Scholar] [CrossRef]
  16. Ajami, N.K.; Duan, Q.; Sorooshian, S. An integrated hydrologic Bayesian multimodel combination framework: Confronting input, parameter, and model structural uncertainty in hydrologic prediction. Water Resour. Res. 2007, 45, 208–214. [Google Scholar] [CrossRef]
  17. Brunetti, M.T.; Peruccacci, S.; Rossi, M.; Luciani, S.; Valigi, D.; Guzzetti, F. Rainfall thresholds for the possible occurrence of landslides in Italy. Nat. Hazards Earth Syst. Sci. 2010, 10, 447–458. [Google Scholar] [CrossRef]
  18. Caine, N. The rainfall intensity-duration control of shallow landslides and debris flow. Geogr. Ann. A 1980, 62, 23–27. [Google Scholar]
  19. Guzzetti, F.; Peruccacci, S.; Rossi, M.; Stark, C.P. The rainfall intensity-duration control of shallow landslides and debris flows: An update. Landslides 2008, 5, 3–17. [Google Scholar] [CrossRef]
  20. Berti, M.; Bernard, M.; Gregoretti, C.; Simoni, A. Physical interpretation of rainfall thresholds for runoff-generated debris flows. J. Geophys. Res. 2020, 125, e2019JF005513. [Google Scholar] [CrossRef]
  21. Montanari, A.; Brath, A. A stochastic approach for assessing the uncertainty of rainfall-runoff simulations. Water Resour. Res. 2004, 40, W01106. [Google Scholar] [CrossRef]
  22. Tung, Y.K.; Mays, L.W. Risk model for flood levee design. Water Resour. Res. 1981, 17, 833–841. [Google Scholar] [CrossRef]
  23. Wu, S.J.; Lieng, H.C.; Chang, C.H. Modeling risk analysis for forecasting peak discharge during flooding prevention and warning operation. Stoch. Environ. Res. Risk Assess. 2010, 24, 1175–1191. [Google Scholar] [CrossRef]
  24. Wu, Y.; Lan, H.; Gao, X.; Li, L.; Yang, Z. A simplified physically based coupled rainfall threshold model for triggering landslides. Eng. Geol. 2015, 195, 63–69. [Google Scholar] [CrossRef]
  25. Klotz, D.; Kratzert, F.; Gauch, M.; Sampson, A.K.; Brandstetter, J.; Klambauer, G.; Hochreiter, S.; Nearing, G. Uncertainty estimation with deep learning for rainfall–runoff modeling. Hydrol. Earth Sys. Sci. 2022, 26, 1673–1693. [Google Scholar] [CrossRef]
  26. Rantung, J.; Maluegha, B.; Tondok, Y.; Rantung, G.D. Design of instrumentation system for piezoelectric-based rainfall power generation. Int. Res. J. Multidiscip. Technovat. 2025, 7, 228–245. [Google Scholar] [CrossRef]
  27. Sa-Ngiamvibool, W.; Angkawisittpan, N.; Nuan-On, A.; Photong, C.; Kangrang, A. A rain gauge system using a capacitance sensor. Int. J. Eng. Tec. 2013, 5, 3596–3600. [Google Scholar]
  28. Žuk, S.; Pietrikova, A.; Vehec, I. Possibilities of planar capacitive rain sensor manufacturing by thick film technology. Acta Electr. Inf. 2018, 18, 11–16. [Google Scholar] [CrossRef]
  29. Montero-Martínez, G.; Torres-Pérez, E.F.; García-García, F. A comparison of two optical precipitation sensors with different operating principles: The PWS100 and the OAP-2DP. Atm. Res. 2016, 178–179, 550–558. [Google Scholar] [CrossRef]
  30. Prakash, C.; Barthwal, A.; Acharya, D. FLOODALERT: A real-time flash flood monitoring and forecasting system using IoT. IEEE Sens. J. 2023, 23, 787–799. [Google Scholar] [CrossRef]
  31. Optical Scientific Instruments. Why Are Networked Rain Gauge Systems Essential for Flood Prediction and Management? Available online: https://www.opticalscientific.com/networked-rain-gauge-systems/ (accessed on 18 October 2025).
  32. Adhikary, S.; Yilmaz, A.; Muttil, N. Optimal design of rain gauge network in the Middle Yarra River catchment, Australia. Hydrol. Process. 2015, 29, 2582–2599. [Google Scholar] [CrossRef]
  33. Cheng, K.; Lin, Y.; Liou, J. Rain-gauge network evaluation and augmentation using geostatistics. Hydrol. Process. 2008, 22, 2554–2564. [Google Scholar] [CrossRef]
  34. Wu, H.; Chen, Y.; Chen, X.; Liu, M.; Gao, L.; Deng, H. A new approach for optimizing rain gauge networks: A case study in the Jinjiang Basin. Water 2020, 12, 2252. [Google Scholar] [CrossRef]
  35. Wüest, M.; Frei, C.; Altenhoff, A.; Hagen, M.; Litschi, M.; Schär, C. A gridded hourly precipitation dataset for Switzerland using rain-gauge analysis and radar-based disaggregation. Int. J. Clim. 2010, 30, 1764–1775. [Google Scholar] [CrossRef]
  36. Vera, A.D.; Alfaro, P.; Terra, R. Operational implementation of satellite-rain gauge data merging for hydrological modeling. Water 2021, 13, 533. [Google Scholar] [CrossRef]
  37. García, L.; Parra, L.; Jimenez, J.M.; Lloret, J.; Lorenz, P. IoT-based smart irrigation systems: An overview on the recent trends on sensors and IoT systems for irrigation in precision agriculture. Sensors 2020, 20, 1042. [Google Scholar] [CrossRef] [PubMed]
  38. Rodríguez-Robles, J.; Martin, Á.; Martin, S.; Ruipérez-Valiente, J.A.; Castro, M. Autonomous sensor network for rural agriculture environments, low cost, and energy self-charge. Sustainability 2020, 12, 5913. [Google Scholar] [CrossRef]
  39. Fidani, C. The Central Italy electromagnetic network and the 2009 L’Aquila earthquake: Observed electric activity. Geosciences 2011, 1, 3–25. [Google Scholar] [CrossRef]
  40. Bina, A. Ragionamento Sopra la Cagione dei Terremoti, ed in Particolare di Quello della Terra di Gualdo e Nocera nell’Umbria Seguito L’anno 1751; Perugia, 1751; Istituto Nazionale di Geofisica e Vulcanologia (INGV): Rome, Italy; p. 56, (In Italian). [CrossRef]
  41. Di Giorgio, F.D. Bernardo Paoloni: Monaco cassinese, scienziato nel campo delle radio telecomunicazioni, precursore della meteorologia moderna e della navigazione aerea. Studi Cassinati 2014, 2, 96–116. (In Italian) [Google Scholar]
  42. Benincasa, F.; De Vincenzi, M.; Fasano, G. Storia Della Strumentazione Meteorologica, Nella Cultura Occidentale; CNR Edizioni Istituto di Biometeorologia: Rome, Italy, 2019; p. 159. (In Italian) [Google Scholar]
  43. Wu, S.-J.; Hsu, C.-T.; Lien, H.-C.; Chang, C.-H. Modeling the effect of uncertainties in rainfall characteristics on flash flood warning based on rainfall thresholds. Nat. Hazards 2015, 75, 1677–1711. [Google Scholar] [CrossRef]
  44. Habib, E.; Krajewski, W.; Kruger, A. Sampling errors of tipping-bucket rain gauge measurements. J. Hydrol. Eng. 2001, 6, 159–166. [Google Scholar] [CrossRef]
  45. Ayat, H.; Evans, J.; Sherwood, S.; Soderholm, J. Intensification of subhourly heavy rainfall. Science 2022, 378, 655–659. [Google Scholar] [CrossRef]
  46. Habib, E.; Meselhe, E.; Aduvala, A.V. Effect of local errors of tipping-bucket rain gauges on rainfall-runoff simulations. J. Hydrol. Eng. 2008, 13, 488–496. [Google Scholar] [CrossRef]
  47. Wilson, J.W.; Brandes, E. Radar measurement of rainfall—A summary. Bull. Am. Met. Soc. 1979, 60, 1048–1058. [Google Scholar] [CrossRef]
  48. Baeck, M.; Smith, J. Rainfall estimation by the WSR-88D for heavy rainfall events. Weather Forecast. 1998, 13, 416–436. [Google Scholar] [CrossRef]
  49. Sharif, H.; Ogden, F.; Krajewski, W.; Xue, M. Numerical simulations of radar rainfall error propagation. Water Res. Res. 2002, 38, 15-1–15-14. [Google Scholar] [CrossRef]
  50. Gilewski, P.; Nawalany, M. Inter-comparison of rain-gauge, radar, and satellite (IMERG GPM) precipitation estimates performance for rainfall-runoff modeling in a mountainous catchment in Poland. Water 2018, 10, 1665. [Google Scholar] [CrossRef]
  51. Kido, H. Matrix Multiplier: Cramer’s Method Calculation. Electr. Eng. Stud. Publ. 2021, 6, 1–7. Available online: https://commons.und.edu/ee-stu/6 (accessed on 18 October 2025).
  52. Larsen, M.L.; Kostinski, A.P.; Jameson, A.R. Further evidence for superterminal raindrops. Geophys. Res. Lett. 2014, 41, 6914–6918. [Google Scholar] [CrossRef]
  53. Villermaux, E.; Eloi, F. The distribution of raindrops speeds. Geophys. Res. Lett. 2011, 38, L19805. [Google Scholar] [CrossRef]
  54. Vuerich, E.; Monesi, C.; Lanza, L.G.; Stagi, L.; Lanzinger, E. Instruments and Observing Methods 2009, Report No. 99, WMO/TD-No.1504, Field intercomparison of rainfall intensity gauges, Vigna di Valle, Italy, October 2007–April 2009. World Meteorological Organization (WMO): Geneva, Switzerland, 2009; 290p, Available online: https://library.wmo.int/records/item/50453-wmo-field-intercomparison-of-rainfall-intensity-gauges?offset=32 (accessed on 18 October 2025).
  55. Lanza, L.; Leroy, M.; Alexandropoulos, C.; Stagi, L.; Wauben, W. WMO Laboratory Intercomparison of Rainfall Intensity Gauges, RI-IC_Final_Report 2009, De Bilt—Genoa—Trappes September 2004–September 2005; World Meteorological Organization: Geneva, Switzerland; 80p, Available online: http://www.precipitation-intensity.it/pdf/LI-RI.pdf (accessed on 18 October 2025).
  56. World Meteorological Organization. Guide to instruments and methods of observation. In Quality Assurance and Management of Observing Systems; WMO Publications, Ed.; World Meteorological Organization: Geneva, Switzerland, 2023; Volume V. [Google Scholar]
  57. Schwamback, D.; Anache, J.A.A.; Wendland, E.C. Calibration and error investigation of large tipping bucket flow meters. CATENA 2022, 209, 105834. [Google Scholar] [CrossRef]
  58. Dunkerley, D. Rainfall intensity and intermittency over timescales of minutes: Measurement using low sampling-rate acoustic recording. Atmos. Res. 2023, 290, 106814. [Google Scholar] [CrossRef]
  59. Antonini, A.; Melani, S.; Mazza, A.; Baldini, L.; Adirosi, E.; Ortolani, A. Development and calibration of a low-cost, piezoelectric rainfall sensor through machine learning. Sensors 2022, 22, 6638. [Google Scholar] [CrossRef]
  60. Paskauskas, R. High-resolution raindrop counting via instantaneous frequency sensing on hydrophobic elastic membranes. PLoS ONE 2024, 19, e0311995. [Google Scholar] [CrossRef] [PubMed]
  61. Wang, M.; Chen, M.; Wang, Z.; Guo, Y.; Wu, Y.; Zhao, W.; Liu, X. Estimating rainfall intensity based on surveillance audio and deep-learning. Environ. Sci. Ecotechnology 2024, 22, 100450. [Google Scholar] [CrossRef] [PubMed]
  62. Guzzetti, F.; Gariano, S.L.; Peruccacci, S.; Brunetti, M.T.; Marchesini, I.; Rossi, M.; Melillo, M. Geographical landslide early warning systems. Earth-Sci. Rev. 2020, 200, 102973. [Google Scholar] [CrossRef]
  63. Dalmastri, C.; Uccelli, R. Mortality from extreme meteorological and hydrogeological events in Italy: A rising health threat connected to climate change. Saf. Extrem. Environ. 2024, 6, 173–181. [Google Scholar] [CrossRef]
  64. Faccini, F.; Luino, F.; Paliaga, G.; Roccati, A.; Turconi, L. Flash flood events along the West Mediterranean Coasts: Inundations of urbanized areas conditioned by anthropic impacts. Land. 2021, 10, 620. [Google Scholar] [CrossRef]
  65. Roccati, A.; Paliaga, G.; Luino, F.; Faccini, F.; Turconi, L. Rainfall threshold for shallow landslides initiation and analysis of long-term rainfall trends in a Mediterranean area. Atmosphere 2020, 11, 1367. [Google Scholar] [CrossRef]
  66. Castellarin, A.; Magnini, A.; Kyaw, K.K.; Ciavaglia, F.; Bertola, M.; Blöschl, G.; Volpi, E.; Claps, P.; Viglione, A.; Marinelli, A.; et al. Frequency of Italian record-breaking floods over the last century (1911–2020). Atmosphere 2024, 15, 865. [Google Scholar] [CrossRef]
  67. Mazzoni, G.B.; Olivieri, M.; Ratti, M. L’evento alluvionale del 19 Giugno 1996 in Alta Versilia. Nimbus Soc. Meteorol. Subalp. 1997, 13–14, 136–140. (In Italian) [Google Scholar]
  68. Coppola, E.; Pons, F.M.E.; Alberti, T.; Portal, A.; Faranda, D. October 2024 Italy multiple floods mostly strengthened by human-driven climate change. ClimaMeter Inst. Pierre Simon Laplace CNRS 2024. [Google Scholar] [CrossRef]
  69. Rinaldi, C. The Italian tourism sector: An analysis of its competitive position. Tour. Manag. Persp. 2017, 24, 65–75. [Google Scholar]
  70. Bramwell, B. Mass tourism, diversification and sustainability in Southern Europe’s coastal regions. In Coastal Mass Tourism: Diversification and Sustainable Development in Southern Europe; Bramwell, B., Ed.; Channel View Publications: Bristol, UK, 2004; pp. 1–31. [Google Scholar]
  71. Ribeiro, A.S.; Almeida, M.C.; Cox, M.G.; Sousa, J.A.; Martins, L.; Loureiro, D.; Brito, R.; Silva, M.; Soares, A.C. Role of measurement uncertainty in the comparison of average areal rainfall methods. Metrologia 2021, 58, 044001. [Google Scholar] [CrossRef]
  72. World Meteorological Organization. Guide to Hydrological Practices; (WMO-No. 168); World Meteorological Organization: Geneva, Switzerland, 2008; Volume 1. [Google Scholar]
  73. Cauteruccio, A.; Chinchella, E.; Lanza, L.G. The overall collection efficiency of catching-type precipitation gauges in windy conditions. Water Resour. Res. 2024, 60, e2023WR035098. [Google Scholar] [CrossRef]
  74. Chinchella, E.; Cauteruccio, A.; Lanza, L.G. The Impact of Wind on Precipitation Measurements from a Compact Piezoelectric Sensor. J. Hydrometeorol. 2024, 25, 339–352. [Google Scholar] [CrossRef]
  75. Luppichini, M.; Vailati, G.; Fontana, L.; Bini, M. Machine learning models for river flow forecasting in small catchments. Sci. Rep. 2024, 14, 26740. [Google Scholar] [CrossRef]
  76. Ritter, J.; Berenguer, M.; Corral, C.; Park, S.; Sempere-Torres, D. ReAFFIRM: Real-time Assessment of Flash Flood Impacts—A Regional high-resolution Method. Environ. Int. 2020, 136, 105375. [Google Scholar] [CrossRef]
Figure 1. The roof of the observatory “A. Bina”, where the miniature electrodynamic pluviometer was set. It is part of the Basilica of San Pietro in Perugia, which is located on the left. On the right, located 10 metres from the electrodynamic pluviometer, there is the Faculty of Agriculture meteorological station, which includes the instrument used for comparison.
Figure 1. The roof of the observatory “A. Bina”, where the miniature electrodynamic pluviometer was set. It is part of the Basilica of San Pietro in Perugia, which is located on the left. On the right, located 10 metres from the electrodynamic pluviometer, there is the Faculty of Agriculture meteorological station, which includes the instrument used for comparison.
Sustainability 17 09662 g001
Figure 2. One of the electrodynamic pluviometer prototypes was used to test the capacity of the invention in comparison with a classical tipping-bucket pluviometer. This version was characterised by a USB transmission of data to a computer. It was possible to see the electronics, still not included in the basement of the instrument, where the signal amplifier was at the top and the microprocessor was at the bottom of the board.
Figure 2. One of the electrodynamic pluviometer prototypes was used to test the capacity of the invention in comparison with a classical tipping-bucket pluviometer. This version was characterised by a USB transmission of data to a computer. It was possible to see the electronics, still not included in the basement of the instrument, where the signal amplifier was at the top and the microprocessor was at the bottom of the board.
Sustainability 17 09662 g002
Figure 3. A rainfall event was recorded within the first six hours of 2 September 2017 by both instruments. Light blue and dark blue lines indicate rain rates, while yellow and red lines indicate cumulates for the tipping bucket and electrodynamic instruments, respectively. The y-scale resulted in being identical for the rain rate measured in mm/5 min and the cumulative measured in mm.
Figure 3. A rainfall event was recorded within the first six hours of 2 September 2017 by both instruments. Light blue and dark blue lines indicate rain rates, while yellow and red lines indicate cumulates for the tipping bucket and electrodynamic instruments, respectively. The y-scale resulted in being identical for the rain rate measured in mm/5 min and the cumulative measured in mm.
Sustainability 17 09662 g003
Figure 4. A spectrogram obtained by the Spectrumlab software over the main phase of 2 September 2017, when the rainfall event occurred in Perugia. The colour legend on the right describes the power of the spectra over a 76 dB interval, where the power intensity increased from black to blue, from green to yellow, and from red to violet and white.
Figure 4. A spectrogram obtained by the Spectrumlab software over the main phase of 2 September 2017, when the rainfall event occurred in Perugia. The colour legend on the right describes the power of the spectra over a 76 dB interval, where the power intensity increased from black to blue, from green to yellow, and from red to violet and white.
Sustainability 17 09662 g004
Figure 5. The rainfall event that was recorded between 6 and 7 March 2017 by both instruments. Light blue and dark blue lines indicate rain rates, while yellow and red lines indicate cumulates; all lines are depicted for the tipping-bucket and electrodynamic instruments, respectively. The y-scale was the same for the rain rates in mm/5 min and the cumulatives in mm.
Figure 5. The rainfall event that was recorded between 6 and 7 March 2017 by both instruments. Light blue and dark blue lines indicate rain rates, while yellow and red lines indicate cumulates; all lines are depicted for the tipping-bucket and electrodynamic instruments, respectively. The y-scale was the same for the rain rates in mm/5 min and the cumulatives in mm.
Sustainability 17 09662 g005
Figure 6. The geometry of rain gauges influences how wind-induced streamlines alter the paths of falling precipitation particles (adapted from [72]).
Figure 6. The geometry of rain gauges influences how wind-induced streamlines alter the paths of falling precipitation particles (adapted from [72]).
Sustainability 17 09662 g006
Figure 7. Four rainfall locations in a basin, (a) with the arithmetic mean of the considered single-point observations for a given area, (b) the Thiessen polygon method, and (c) the isohyetal method providing a weighted sum of the observations (redrawn from [71]).
Figure 7. Four rainfall locations in a basin, (a) with the arithmetic mean of the considered single-point observations for a given area, (b) the Thiessen polygon method, and (c) the isohyetal method providing a weighted sum of the observations (redrawn from [71]).
Sustainability 17 09662 g007
Figure 8. The electrodynamic pluviometer sketch with the numeration of its parts. See the patent N. 102016000077834 for further details regarding electronics (28)–(30).
Figure 8. The electrodynamic pluviometer sketch with the numeration of its parts. See the patent N. 102016000077834 for further details regarding electronics (28)–(30).
Sustainability 17 09662 g008
Table 1. Specified costs of sensors, electronics, and communication systems of electrodynamic compared with tipping-bucket and piezoelectric rain gauges.
Table 1. Specified costs of sensors, electronics, and communication systems of electrodynamic compared with tipping-bucket and piezoelectric rain gauges.
ElectrodynamicTipping BucketPiezoelectric
Sensor [EUR]1502
Electronics [EUR]15215
Communication [EUR]222
Table 2. A comparison between the electrodynamic gauge and tipping-bucket gauges of the Agricultural Faculty is reported for 10 rainfalls that occurred from February to September 2017. * only afternoon hours; + SIAP-MICROS TB corrected [55].
Table 2. A comparison between the electrodynamic gauge and tipping-bucket gauges of the Agricultural Faculty is reported for 10 rainfalls that occurred from February to September 2017. * only afternoon hours; + SIAP-MICROS TB corrected [55].
DateElectrodynamicTipping Bucket +Error + %
24–25 February 201712.3411.6 (11.7)5
6–7 March 201727.3825.8 (26.0)5
25 March 20170.190.4 (0.4)52
5 April 2017 *2.552.2 (2.2)16
15–16 April 201710.379.0 (9.1)14
17 April 20170.260.4 (0.4)35
28–30 June 201723.4525.4 (25.6)8
24 July 20175.674.8 (4.8)18
1–2 September 201721.7018.6 (18.8)15
24 September 20170.310.2 (0.2)55
Table 3. Parameters, relative standard uncertainties, and probability density functions (PDFs) associated with rainfall intensity measurements from electrodynamic and tipping-bucket gauges. * not determined; + as reported from [71].
Table 3. Parameters, relative standard uncertainties, and probability density functions (PDFs) associated with rainfall intensity measurements from electrodynamic and tipping-bucket gauges. * not determined; + as reported from [71].
DescriptionElectrodynamic
Gauge Non-Standard
Uncertainty/%
Tipping-Bucket
Gauge Standard
Uncertainty/% +
PDF +
Error due to systematic wind field deformation above the gauge orificen.d. *5%Gaussian
Error due to the in- and out-splashing of watern/a2%Uniform
Random observational and instrumental errors2%2%Uniform
Error due to the wetting loss on the internal walls of the collectorn/a5%Uniform asymmetric
Error due to wetting loss in emptying the containern/a5%Uniform asymmetric
Error due to evaporation from the containern/a1%Uniform
Systematic mechanical and sampling errors, and dynamic effects errors6%10%Uniform
Disclaimer/Publisher’s Note: The statements, opinions and data contained in all publications are solely those of the individual author(s) and contributor(s) and not of MDPI and/or the editor(s). MDPI and/or the editor(s) disclaim responsibility for any injury to people or property resulting from any ideas, methods, instructions or products referred to in the content.

Share and Cite

MDPI and ACS Style

Fidani, C.; Siciliani, M. Low-Cost Electrodynamic Pluviometers for Flood and Debris Flow Monitoring. Sustainability 2025, 17, 9662. https://doi.org/10.3390/su17219662

AMA Style

Fidani C, Siciliani M. Low-Cost Electrodynamic Pluviometers for Flood and Debris Flow Monitoring. Sustainability. 2025; 17(21):9662. https://doi.org/10.3390/su17219662

Chicago/Turabian Style

Fidani, Cristiano, and Martino Siciliani. 2025. "Low-Cost Electrodynamic Pluviometers for Flood and Debris Flow Monitoring" Sustainability 17, no. 21: 9662. https://doi.org/10.3390/su17219662

APA Style

Fidani, C., & Siciliani, M. (2025). Low-Cost Electrodynamic Pluviometers for Flood and Debris Flow Monitoring. Sustainability, 17(21), 9662. https://doi.org/10.3390/su17219662

Note that from the first issue of 2016, this journal uses article numbers instead of page numbers. See further details here.

Article Metrics

Back to TopTop