Study of Flax Shive Pellet Combustion in Cyclone-Bed Furnace with Bubbling Fluidised Bed
Abstract
1. Introduction
2. Materials and Methods
2.1. Sample Characterisation
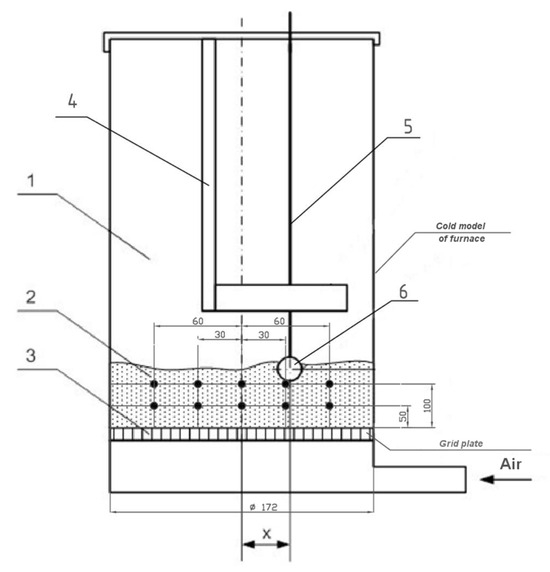
2.2. Cold Model and Experimental Procedure
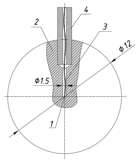
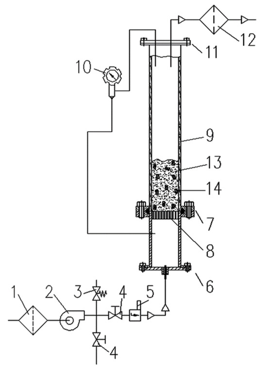
2.3. Furnace for Combustion of Flax Shive Pellets and Experimental Method
3. Results and Discussion
3.1. Results of Studies Conducted on Cold Model
3.2. Results of Study of Combustion of Flax Shive Pellets
4. Conclusions
Author Contributions
Funding
Data Availability Statement
Conflicts of Interest
References
- Le Lin et le Chanvre Européen. Available online: http://www.europeanflax.com/ (accessed on 9 December 2024).
- Souček, J.; Jasinskas, A. Assessment of the Use of Potatoes as a Binder in Flax Heating Pellets. Sustainability 2020, 12, 10481. [Google Scholar] [CrossRef]
- Agüero, Á.; Lascano, D.; Garcia-Sanoguera, D.; Fenollar, O.; Torres-Giner, S. Valorization of Linen Processing By-Products for the Development of Injection-Molded Green Composite Pieces of Polylactide with Improved Performance. Sustainability 2020, 12, 652. [Google Scholar] [CrossRef]
- Frydrych, M.; Hýsek, Š.; Fridrichová, L.; Le Van, S.; Herclík, M.; Pechočiaková, M.; Le Chi, H.; Louda, P. Impact of Flax and Basalt Fibre Reinforcement on Selected Properties of Geopolymer Composites. Sustainability 2020, 12, 118. [Google Scholar] [CrossRef]
- Souček, J.; Jasinskas, A.; Sillinger, F.; Szalay, K. Determination of Mechanical and Energetic Properties of Reed Canary Grass Pellets Production. Acta Univ. Agric. Silvic. Mendel. Brun. 2019, 67, 757–762. [Google Scholar] [CrossRef]
- Boukaous, N.; Abdelouahed, L.; Chikhi, M.; Meniai, A.-H.; Mohabeer, C.; Bechara, T. Combustion of Flax Shives, Beech Wood, Pure Woody Pseudo-Components and Their Chars: A Thermal and Kinetic Study. Energies 2018, 11, 2146. [Google Scholar] [CrossRef]
- Duan, F.; Zhang, J.-P.; Chyang, C.-S.; Wang, Y.-J.; Tso, J. Combustion of crushed and pelletized peanut shells in a pilot-scale fluidized-bed combustor with flue gas recirculation. Fuel Process. Technol. 2014, 128, 28–35. [Google Scholar] [CrossRef]
- Guo, F.; Zhong, Z. Experimental studies on combustion of composite biomass pellets in fluidized bed. Sci. Total Environ. 2017, 599–600, 926–933. [Google Scholar] [CrossRef]
- Chirone, R.; Salatino, P.; Scala, F.; Solimene, R.; Urciuolo, M. Fluidized bed combustion of pelletized biomass and waste-derived fuels. Combust. Flame 2008, 155, 21–36. [Google Scholar] [CrossRef]
- Agua, C.E.; Tokheim, L.-A.; Pfeifer, C.; Moldestad, B.M.E. Behavior of biomass particles in a bubbling fluidized bed: A comparison between wood pellets and wood chips. Chem. Eng. J. 2019, 363, 84–98. [Google Scholar] [CrossRef]
- Vilches, B.T.; Sette, E.; Thunman, H. Behavior of biomass particles in a large scale (2–4 MWth) bubbling bed reactor. WIT Trans. Eng. Sci. 2015, 89, 151. [Google Scholar]
- Si, C.; Guo, Q. Fluidization characteristics of binary mixtures of biomass and quartz sand in an acoustic fluidized bed. Ind. Eng. Chem. Res. 2008, 47, 9773. [Google Scholar] [CrossRef]
- Rao, T.R.; Bheemarasetti, J.V.R. Minimum fluidization velocities of mixtures of biomass and sands. Energy 2001, 26, 633. [Google Scholar] [CrossRef]
- Paudel, B.; Feng, Z.-G. Prediction of minimum fluidization velocity for binary mixtures of biomass and inert particles. Powder Technol. 2013, 237, 134. [Google Scholar] [CrossRef]
- Kumoro, A.C.; Nasution, D.A.; Cifriadi, A.; Purbasari, A.; Falaah, A.F. A new correlation for the prediction of minimum fluidization of sand and irregularly shape biomass mixtures in a bubbling fluidized bed. IJAER 2014, 9, 21561. [Google Scholar]
- Fotovat, F.; Chaouki, J.; Bergthorson, J. Distribution of large biomass particles in a sand-biomass fluidized bed: Experiments and modeling. AIChE J. 2014, 60, 869. [Google Scholar] [CrossRef]
- Cluet, B.; Mauviel, G.; Rogaume, Y.; Authier, O.; Delebarre, A. Segregation of wood particles in a bubbling fluidized bed. Fuel Process Technol. 2015, 133, 80. [Google Scholar] [CrossRef]
- Zhang, Y.; Jin, B.; Zhong, W. Experimental investigation on mixing and segregation behavior of biomass particles in fluidized bed. Chem. Eng. Process. 2009, 48, 745. [Google Scholar] [CrossRef]
- Guo, F.; Liu, W.; He, Y.; Li, X.; Zhang, H. Study on the combustion characteristics and pollutant emissions of cold-pressed pellets and pellet powders in fluidized-bed. Renew. Energy 2024, 220, 119689. [Google Scholar] [CrossRef]
- Salatino, P.; Ammendola, P.; Bareschino, P.; Chirone, R.; Solimene, R. Improving the thermal performance of fluidized beds for concentrated solar power and thermal energy storage. Powder Technol. 2016, 290, 97–101. [Google Scholar] [CrossRef]
- Merry, J.M.D.; Davidson, J.F. Gulf stream circulation in shallow fluidized beds. Trans. Inst. Chem. Eng. 1973, 51, 361–368. [Google Scholar]
- Whitehead, A.B.; Dent, D.C. Influence of distributor pressure drop uniformity on large fluidized-bed systems. AIChE J. 1982, 28, 169–172. [Google Scholar] [CrossRef]
- EN 14774-3:2009; Solid Biofuels—Determination of Moisture Content—Oven Dry Method—Part 3: Moisture in General Analysis Sample. iTeh, Inc.: Newark, DE, USA, 2009.
- EN 14775:2009; Solid Biofuels—Determination of Ash Content. iTeh, Inc.: Newark, DE, USA, 2009.
- EN 15289:2011; Solid Biofuels—Determination of Total Content of Sulfur and Chlorine. iTeh, Inc.: Newark, DE, USA, 2011.
- EN 15104:2011; Solid Biofuels—Determination of Total Content of Carbon, Hydrogen and Nitrogen—Instrumental Methods. iTeh, Inc.: Newark, DE, USA, 2011.
- EN 15148:2009; Solid Biofuels—Determination of the Content of Volatile Matter. iTeh, Inc.: Newark, DE, USA, 2009.
- Morriso, J.D.; Daood, S.S.; Nimmo, W. Agglomeration and the effect of process conditions on fluidized bed combustion of biomasses with olivine and silica sand as bed materials: Pilot-scale investigation. Biomass Bioenergy 2020, 142, 105806. [Google Scholar] [CrossRef]
- Operating Procedure for Determining the Thermal Performance of Heating Boilers with Heat Output from 0.1 to 3.15 MW; Research Institute of Sanitary Technology: Moscow, Russia, 1988.
















| Parameter | Value | Measurement Technique (Standard) |
|---|---|---|
| Pellet diameter, mm | 6 | |
| Length, mm | Up to 20 | |
| Moisture, % | 7.13 | EN 14774-3:2009 [23] |
| Ash content, % | 9.87 | EN 14775:2009 [24] |
| Sulphur, % | <0.01 | EN 15289:2011 [25] |
| Carbon, % | 41.0 | EN 15104:2011 [26] |
| Hydrogen, % | 5.34 | EN 15104:2011 [26] |
| Nitrogen, % | 0.44 | EN 15104:2011 [26] |
| Oxygen, % | 36.21 | EN 15104:2011 [26] |
| Lower calorific value, MJ/kg | 14.82 | Bomb calorimeter ABK-1, JSC INPK ‘Russian Energy Technologies’, Russia |
| Share of Air Directed to Fluidisation | Temperature, °C (Figure 10) | ||||
|---|---|---|---|---|---|
| t1 | t2 | t3 | t4 | t5 | |
| 0.3 | 790–810 | 840–860 | 980–1000 | 980–1000 | 840–860 |
| 0.35 | 815–835 | 850–870 | 940–960 | 950–970 | 820–840 |
| 0.4 | 830–850 | 810–830 | 910–930 | 910–930 | 790–810 |
Disclaimer/Publisher’s Note: The statements, opinions and data contained in all publications are solely those of the individual author(s) and contributor(s) and not of MDPI and/or the editor(s). MDPI and/or the editor(s) disclaim responsibility for any injury to people or property resulting from any ideas, methods, instructions or products referred to in the content. |
© 2024 by the authors. Licensee MDPI, Basel, Switzerland. This article is an open access article distributed under the terms and conditions of the Creative Commons Attribution (CC BY) license (https://creativecommons.org/licenses/by/4.0/).
Share and Cite
Tabet, F.; Milovanov, O.; Klimov, D.; Ryzhenkov, A.; Grigoriev, S.; Isemin, R.; Mikhalev, A. Study of Flax Shive Pellet Combustion in Cyclone-Bed Furnace with Bubbling Fluidised Bed. Sustainability 2025, 17, 57. https://doi.org/10.3390/su17010057
Tabet F, Milovanov O, Klimov D, Ryzhenkov A, Grigoriev S, Isemin R, Mikhalev A. Study of Flax Shive Pellet Combustion in Cyclone-Bed Furnace with Bubbling Fluidised Bed. Sustainability. 2025; 17(1):57. https://doi.org/10.3390/su17010057
Chicago/Turabian StyleTabet, Fouzi, Oleg Milovanov, Dmitry Klimov, Artem Ryzhenkov, Sergey Grigoriev, Rafail Isemin, and Alexander Mikhalev. 2025. "Study of Flax Shive Pellet Combustion in Cyclone-Bed Furnace with Bubbling Fluidised Bed" Sustainability 17, no. 1: 57. https://doi.org/10.3390/su17010057
APA StyleTabet, F., Milovanov, O., Klimov, D., Ryzhenkov, A., Grigoriev, S., Isemin, R., & Mikhalev, A. (2025). Study of Flax Shive Pellet Combustion in Cyclone-Bed Furnace with Bubbling Fluidised Bed. Sustainability, 17(1), 57. https://doi.org/10.3390/su17010057

