Next Article in Journal
Scenarios in an Urban Planning Studio: The Perception of Multidisciplinary Students
Next Article in Special Issue
Synthetic Participatory Planning of Shared Automated Electric Mobility Systems
Previous Article in Journal
Coupling and Coordination Development, Spatiotemporal Evolution, and Driving Factors of China’s Digital Countryside and Inclusive Green Growth in Rural Areas
Previous Article in Special Issue
Assessing Knowledge Performance for the Fast-Track Delivery of Sustainable Mobility Solutions
 
 
Font Type:
Arial Georgia Verdana
Font Size:
Aa Aa Aa
Line Spacing:
Column Width:
Background:
Article

Expressway Vehicle Arrival Time Estimation Algorithm Based on Electronic Toll Collection Data

1
School of Electronics and Control Engineering, Chang’an University, Xi’an 710064, China
2
Fujian Provincial Expressway Information Technology Co., Ltd., Fuzhou 350001, China
3
Fujian Key Laboratory of Automotive Electronics and Electric Drive, Fujian University of Technology, Fuzhou 350108, China
*
Author to whom correspondence should be addressed.
Sustainability 2024, 16(13), 5581; https://doi.org/10.3390/su16135581
Submission received: 30 May 2024 / Revised: 21 June 2024 / Accepted: 27 June 2024 / Published: 29 June 2024

Abstract

Precise travel time prediction benefits travelers and traffic managers by enabling anticipation of future roadway conditions, thus aiding in pre-trip planning and the development of traffic control strategies. This approach contributes to reducing travel time and alleviating traffic congestion issues. To achieve real-time state perception of vehicles on expressways, we propose an algorithm to estimate the arrival time of vehicles in the next segment using Electronic Toll Collection (ETC) data. Firstly, the characteristics of ETC data and GPS data are meticulously described. We devise algorithms for data cleaning and fusion, subsequently segmenting the vehicle journey into multiple sub-segments. In the following step, feature vectors are constructed from the fused data to detect service areas and analyze the expressway segment characteristics, vehicle traits, and the influence of service areas. Finally, an algorithm utilizing LightGBM is introduced for estimating the arrival time of vehicles at various segments, corroborated by empirical tests using authentic traffic data. The M A E of the algorithm is recorded as 20.1 s, with an R M S E of 32.6 s, affirming its efficacy. The method proposed in this paper can help optimize transportation systems for improving efficiency, alleviating congestion, reducing emissions, and enhancing safety.

1. Introduction

With the continuous increase in the number of automobiles, expressway congestion has become increasingly severe. By the end of 2023, China’s expressways are expected to extend to a cumulative mileage of 184,000 km. As the expressway network continues to expand, so do the demands for sophisticated management increase. With accurate travel time predictions, travelers can make more informed decisions about trip generation and routing, resulting in more consistent traffic conditions and alleviating traffic congestion problems [1]. Providing an accurate estimate of arrival times can also enable traffic managers to anticipate future roadway conditions, which aids in the development of traffic control strategies. This optimizes the allocation of traffic flow, enhances traffic efficiency, reduces travel time, and alleviates congestion issues. These more informative decisions can also help to reduce greenhouse gas emissions as researchers have found that congested conditions can have up to 40% higher CO2 emissions than steady-state conditions [2].
The realm of traditional expressway arrival time prediction, the Origin–Destination (OD) framework, is commonly employed to forecast the travel duration for vehicles traversing the entirety of an expressway route. Nevertheless, as road networks proliferate and evolve, a multitude of ambiguous path options emerge, potentially resulting in divergent actual driving paths for vehicles, even when originating from the same OD pair. Furthermore, solely predicting the total travel duration obscures the particular driving circumstances experienced by vehicles on the expressway, thus creating a “black box” effect that fails to adequately support the comprehensive management needs of expressway operators.
In an effort to augment expressway traffic efficiency and facilitate accurate billing, China has deployed Electronic Toll Collection (ETC) gantries at key interchanges along expressways, achieving interoperability across 29 provinces. The capacity of ETC systems to gather vehicle traffic data in real time presents opportunities for overseeing the operational status of essential service vehicles on the expressway, potentially resolving the “black box” dilemma associated with driving conditions.
In this study, ETC (Electronic Toll Collection) gantries positioned at key hubs serve as critical nodes in segmenting vehicle transits on expressways into multiple subsections. By estimating the arrival times of these subsections, we aim to enhance the perception of a vehicle’s operational state during its expressway journey. Unlike traditional methods that focus on estimating arrival times for the entire journeys of buses, freighters, and aircraft with fixed routes—that is, between the starting and ending points of a predetermined route—this research explores the division of the journey into smaller parts and the estimation of their respective arrival times. Given the limited research on this segmentation approach, this paper builds upon existing methodologies for arrival time and travel duration estimation. By integrating the unique features of expressway ETC data, we achieve more accurate estimations of arrival times at pivotal expressway nodes, thereby enhancing the capability to monitor vehicles on expressways. The primary contributions of this investigation are as follows:
(1) This study employs Electronic Toll Collection (ETC) gantries to segment the journey of vehicles on expressways into multiple sub-segments, estimating the arrival times at each ETC gantry to address the “black box” problem associated with vehicle driving states on expressways.
(2) In an effort to investigate the influence of service areas on vehicular traffic behavior, this study merges ETC transaction data with vehicle GPS data and develops an algorithm to identify vehicles’ presence within service areas.
(3) This paper develops an estimation algorithm for expressway arrival times using the flow data from ETC transactions. The efficacy of the model is tested with actual ETC transaction data from expressways, achieving a coefficient of determination ( R 2 ) of 0.98 and an average absolute error ( M A E ) of 20.085 s. These results indicate that the model has a small error in estimating arrival times and performs effectively.
(4) In this paper, GPS data are utilized to reconstruct the trajectory of vehicles that show considerable deviation in their arrival time estimations, with the aim of accurately restoring the actual driving conditions. Furthermore, an analysis of the error sources is conducted using the GPS trajectory data, which paves the way for future research focused on refining the arrival time prediction methods for expressway vehicles.
The rest of this paper is organized as follows. The second section describes and summarizes the current work related to travel arrival time estimation and expressway vehicle supervision. The third section describes the proposed method, including the framework, data preprocessing, feature engineering, and arrival time estimation model. The fourth section details the use of actual data for experiments and the analysis of the results. The fifth section summarizes the work of this paper and proposes future work.

2. Related Work

As vehicle ownership continues to rise, there is a concomitant surge in transportation and travel demands, with cross-city commuting becoming increasingly prevalent. This trend has led to a significant uptick in expressway traffic volumes, thereby exerting immense pressure on the traffic handling capacity of certain road networks and their management. Such challenges manifest as traffic jams, a rise in vehicular collisions, and other associated issues, which culminate in energy wastage, environmental degradation, and financial losses. Furthermore, as the economies of cities surrounding these expressways expand, there is an exponential growth in the scarcity of land resources, making it daunting to widen existing roadways. Consequently, leveraging proactive and sophisticated traffic control technologies to augment the traffic handling capabilities of crucial road network segments holds immense practical value. This approach is essential for ensuring the smooth and orderly flow of traffic on expressways, especially under the persistent conditions of high volume traffic.
In the field of traffic flow optimization of urban roads, many researchers have focused on the issue of biobjective optimization and the rebalancing of vehicle and pedestrian flows within intelligent transportation systems (ITSs) using smart traffic lights (STLs). Palwasha W. Shaikh et al. [3] present an exhaustive review of the literature that underscores the application of evolutionary and swarm intelligence methodologies to traffic signal control (TSC). Their findings reveal a burgeoning inclination towards the utilization of swarm intelligence and evolutionary techniques in TSC, particularly in the context of smart cities. Andranik S et al. [4] tackle the traffic signal control quandary in Manhattan Road Networks (MRNs) using a sophisticated parallel hybrid biobjective genetic algorithm (BORCGA-BOPSO). They introduce a novel technique that amalgamates fuzzy clustering with density-based spatial clustering (FCA-DBSCAN) for intricate traffic flow evaluations while also presenting an innovative genetic algorithm to fine-tune STL parameters. In the realm of expressway traffic, alleviating congestion necessitates the adoption traffic control methodologies. These involve traffic flow data collection and analysis, predictive modeling of vehicular route selection, and precise estimation of vehicle arrival times to devise effective traffic control strategies. This paper primarily focuses on the estimation of arrival times for multiple vehicles, aiming to furnish the ensuing Active Traffic Management (ATM) system with highly accurate sensing capabilities.
In the field of transportation, research on arrival time estimation includes the estimation of arrival time of vehicles and aircraft shipping. At present, research on arrival time estimation mainly focuses on transportation vehicles such as ships, airplanes, and buses, while research on arrival time estimation of operating vehicles on expressways is relatively limited. For the research on bus arrival time prediction, Ma et al. [5] propose a multi-attention graph neural network for city-wide bus travel time estimation (TTE), especially for the routes with limited data. Zhou et al. [6] propose a model utilizing smart card data. This model is based on frequency distribution and regression analysis to calculate bus arrival times at stops. Furthermore, Achar et al. [7] employ a data-driven approach for real-time prediction of bus arrival times. Liu et al. [8] introduce an integrated prediction model for bus arrival times, combining long short-term memory (LSTM) and artificial neural networks (ANN) based on spatiotemporal feature vectors. Panovski et al. [9] propose a machine learning approach for predicting bus arrival times by conducting real-world simulations using the SUMO traffic simulation platform. In the prediction research of trip arrival time, in addition to the prediction of vehicle arrival time, the arrival time prediction of aircraft shipping has also received widespread attention. Xu et al. [10] propose a high-precision flight arrival time estimation algorithm based on irregular geographical grids. Alessandrini et al. [11] propose a data-driven approach for estimating the arrival time of ships at port areas using historical ship reporting system data.
In the realm of estimating vehicle travel times, Li et al. [12] propose a position–velocity method based on floating car data (FCD). This method is designed for precise estimation of travel times for urban vehicles on signalized road networks. Tang et al. [13] propose an intersection travel time estimation method based on low-frequency GPS trajectory data. Chen [14] proposes a system that obtains vehicle trajectory location information through GPS and then uses linear regression method to predict travel time, which is used to predict the travel time of garbage collection vehicles. However, it is difficult to capture complex travel time patterns using simple linear regression. In order to overcome this challenge, Petersen et al. [15] propose a deep neural network consisting of a convolutional layer and a long short-term memory (LSTM) layer. A prediction system is used to predict bus travel time. The system can discover complex patterns that cannot be captured by traditional methods, thereby significantly improving the prediction accuracy of bus travel time. By introducing deep learning technology, time series data can be better processed, bringing important improvements to travel time predictions.
Xu et al. [16] introduce an itinerary-based travel time prediction approach. They integrate GPS historical vehicle trajectory data and meteorological data using a back-propagation neural network (BPNN) model to forecast travel times for fixed routes within urban areas. Li et al. [17] propose a novel deep learning model called the sequence and graph embedding network (SGE-net) for predicting bus arrival times based on historical GPS trajectories. Farooq et al. [18] propose a public transportation arrival time prediction based on real-time automatic vehicle positioning data. Liu et al. [19] propose an approach for tracking and predicting urban bus arrival times based on bus passengers’ smartphone Wi-Fi information. In the above studies, bus travel time prediction is usually performed by analyzing GPS historical trajectory data. However, although floating car data can be obtained through GPS, there are still some situations where it is difficult to obtain vehicle data without navigation. This problem makes it difficult to obtain comprehensive road information on which vehicles are traveling, and vehicle travel time is affected by many factors, including but not limited to road congestion. In view of this limitation, this paper uses ETC data to predict vehicle travel time. Due to the deployment characteristics of the ETC mast, this method is able to obtain information about all vehicles on the road, thereby obtaining more accurate road information and vehicle driving conditions, consequently improving the prediction accuracy of vehicle travel time.
Rupnik et al. [20] analyze the short-term distribution of expressway travel times through local linear regression. However, when the travel time increases, the prediction errors for medium and long distances increase. To solve the problem of long-term travel time prediction, Huang et al. [21] propose a stacked sequence-to-sequence model based on periodic attention to predict travel time. Chen et al. [22] develop various algorithms to create long-term and short-term travel time prediction models, specifically for predicting the future travel times of vehicles on Taiwan expressways. Chen et al. [23] employ data from expressway toll collection systems to establish a prediction model based on Bootstrap-KNN, enhancing the reliability of point forecasts for travel times. Furthermore, Abdollahi et al. [24] introduce a travel time estimation and prediction framework that utilize current traffic flow data and historical transportation information. Although this study use ETC data to obtain road flow information, it is different from the previously mentioned [18,19,20]. This study only focuses on the estimation and prediction of travel time and does not cover the issue of arrival time estimation for important nodes in the journey.
For the estimation of arrival time of key nodes on the road, some studies have proposed some methods. For example, He et al. [25] proposed a method based on a long short-term memory network (LSTM). Ma et al. [5] proposed a multi-attention graph neural network for full bus travel time estimation (TTE) under limited data conditions. Kumar et al. [26] proposed a bus travel time prediction method that combines pattern analysis and Kalman filter algorithm. In addition to the new deep learning model (SGE-net) proposed by Li [17] and others, these studies can estimate the arrival time of buses at each stop and can estimate the arrival time for important nodes in the journey. However, although these studies provide certain ideas for the arrival time estimation for important nodes on the road, their scope of application is mainly limited to urban transportation. For the time prediction of expressways in this aspect, there is still a lack of relevant research applications.
Regarding model selection, machine learning has always been a research hotspot. Most research on travel time prediction is based on machine learning methods and feature vectors for travel time prediction, as mentioned above. A Gradient Boosting Decision Tree (GBDT) [27] is a representative framework for ensemble learning to use as a boosting strategy. However, although traditional GBDT achieves advanced performance in many machine learning tasks, when the feature dimension is high and the data are large, the efficiency and scalability of the model are not good [28]. The LightGBM algorithm can solve this problem very well. Liu et al. [29] propose a short-term demand prediction model for shared bicycles based on LightGBM based on the impact of weather, temperature, time and other characteristic factors on the short-term usage of shared bicycles. The results show that the prediction effect of this model is better than that of XGBoost models and random forest-based models. Machado et al. [30] propose using the LightGBM model to predict the customer loyalty of financial companies. Experiments found that the performance of LightGBM evaluated by RMSE is far better than XGBoost. Wang et al. [31] establish a feature-based LightGBM bus travel time prediction model. The results show that the LightGBM model has good stability in bus travel time prediction.
In view of the above situation, this paper aims to use expressway ETC data and uses the machine learning LightGBM model to estimate the arrival time of vehicles on expressways for the segment arrival time. Through in-depth analysis of ETC data, the method proposed in this paper can successfully make up for the shortcomings of GPS data in obtaining road information. This allows us to obtain more accurate information about the actual traffic conditions of vehicles on the expressway. The implementation of this approach will help optimize expressway operations, improve the efficiency of traffic management, and provide travelers with more reliable forecast information. In addition, the prediction model introduced in this paper uses deep learning methods, which greatly improves the ability to capture complex road conditions. At the same time, the method proposed in this paper can also predict the arrival time of nodes such as expressway masts and toll stations, providing an effective solution for predicting important nodes on expressways, thus filling the shortcomings of existing research.

3. Methodology

3.1. Overview

The research object of this paper is the vehicle running on the expressway. The research content is to divide the journey of the vehicle into several sub-sections using the ETC gantry and estimate the arrival time of each section of the journey. In this subsection, the proposed algorithm framework for estimating the arrival time of vehicles on expressway segments based on ETC data are presented, as shown in Figure 1. It is divided into a data preprocessing module, a trajectory segmentation module, a feature analysis module, and an arrival time estimation algorithm module.

3.1.1. Data Preprocessing Module

The discrete ETC transaction data are tracked according to time and traffic identification, and the expressway gantry topological relationship diagram is used to establish an expressway gantry-directed graph model. We identify and clean abnormal transaction data using a directed graph for complete and accurate results. At the same time, a data fusion algorithm is designed for the ETC transaction dataset and the GPS dataset of vehicles to obtain the trajectory dataset of vehicles trading on expressways.

3.1.2. Sub-Segmentation Module

Using the ETC transaction trajectories, the journey through the ETC gantry is divided into several sub-segments. The challenge of predicting the total travel time is transformed into predicting the node arrival times of multiple sub-segments along the journey.

3.1.3. Feature Analysis Module

We devise a service area vehicle parking algorithm that leverages fused data to accurately detect the entry of vehicles into the service area. Based on the algorithm, we can conduct exploratory analysis on the dataset to explore the influence of characteristics such as section traffic flow, section speed, vehicle speed, and service area factors on vehicle travel time.

3.1.4. Arrival Time Estimation Algorithm Module

We perform vector modeling on the key features identified in our previous analysis and employ the LightGBM algorithm to predict the segment arrival times of vehicles during their expressway travel. This process allows us to derive the sub-segment arrival times. Concurrently, we pay particular attention to the sections with large estimation errors, utilizing GPS data for trajectory reconstruction to investigate the underlying causes of these discrepancies.

3.2. Definition and Problem Description

3.2.1. Related Definitions

Definition 1 
(Expressway network distance weighted graph G). The expressway network consists of a set of ETC gantry nodes and toll stations, represented by G = { g 1 , g 2 , , g n } . The directed topology ( g i , g j ) between two adjacent nodes is expressed as e = < g i , g j > E , where E represents the edge set of the expressway network graph G, d ( e ) refers to the shortest path distance from node g i to node g j .
Edge distances can be obtained through a map-path-planning API. Each edge in the edge set E of the expressway network graph G corresponds to a unique edge, forming an edge set D. The edge set D can be used as the non-negative weight of the directed edges of the graph G. We formulate the expressway network distance-weighted graph G D = < G , E , D > .
Definition 2 
(ETC trajectory e T r ). The sequence of ETC gantry nodes formed by vehicles passing through continuous expressway edges < e 1 , e 2 , e n 1 > , called ETC trajectory, e T r .
e T r = < t r 0 , t r 1 , . . . , t r n 1 > = < s 1 , s 2 , . . . , s n >
where t r 0 and t r n 1 . are the starting point and end point of the trajectory, respectively. s 1 represents the ETC transaction data sequence of adjacent vehicles at the edge of the expressway where the vehicle passes, S i = < t r i , t r i + 1 > . t r i is the vehicle passing through the ETC gantry transaction data, which includes gantry ID t r ( i . N ) , transaction timestamp t r i . T , license plate t r i . P , vehicle type t r i . C , and total entrance axle weight t r i . E W .
Definition 3 
(Time slice T s ). A day is divided into specific time segments according to the length of every Δ t time slice, and the i-th time slice is as follows:
T s i = ( t i , t i + Δ t ) Δ t Δ t
Definition 4 
(Vehicle section driving speed v). v is defined as the average speed of vehicles passing through the expressway section, which is formulated as follows:
v i = d ( e i ) t r i . T n t r i . T n 1
where d ( e i ) is the distance from the edge of the expressway. t r i . T n represents the time when the vehicle passes the starting node of edge i, and t r i . T n represents the time when the vehicle passes the terminal node of edge i.
Definition 5 
(Section average speed V). The average speed of a vehicle passing through the same section within the time section during a period of time is called edge speed. The calculation method is as shown in Formula (4):
V = i = 1 q v i q
where v represents the speed of a vehicle in the current section within a period of time. q represents the number of vehicles passing through in that same time segment.
Definition 6 
(Expressway section characteristics E ). Section characteristics include vehicle driving behavior, traffic flow, and road characteristics, expressed as follows:
E = { e , d ( e ) , F }
F = t 1 q 1 V 1 . . . . . . . . . t n q n V n
where Matrix F comprises the sectional traffic volume, denoted as q, and the average speed, represented by V, observed across various time intervals. The variables q n and V n represent the traffic flow and average speed, respectively, of section e on the current expressway at time t n .
Definition 7 
(Vehicle GPS trajectories g T r ). g T r represents vehicle position data, which are uploaded by the On-Board Diagnostics (OBD) system at intervals ranging from 10 to 60 s. g T r is the purposeful movement of the vehicle, which consists of a sequence of time and space points, mainly composed of time, location, speed, and other data. Trajectory data consist of multiple trajectory points:
g T r = { < D 0 , . . . , D n > , P } )
where P is the licence plate number. D i is the data uploaded by the vehicle according to the vehicle’s traveling time, which contains the vehicle’s latitude and longitude L , the speed V, and the time of collection T:
D i = ( L i , V i , T i )
L i is the latitude and longitude information:
L = ( l o n 0 , l a t 0 ) , , ( l o n n , l a t n )
T i is the point value on the timing axis. The points are all from the real number domain, and V i is the speed information at T i , where 0 i N , i j .
Definition 8 
(GPS trajectory of the ETC section of the expressway S g T r ). S g T r is the fusion of the ETC trajectory e T r and GPS trajectory g T r , representing the driving trajectory of vehicles on the expressway:
S g T r = { S , g T r }
{ S , g T r } = { S = < t r o , t r d > , g T r = < D 1 , . . . , D n > | t r o . T < g T r T 1 , t r d . T > g T r T n }
where S = < t r o , t r d > t r o is the transaction data when vehicles pass through the ETC gantry, and g T r = < D 1 , , D n > represents the vehicle upload GPS data in the adjacent ETC transaction data sequence. The positioning information sequence D 1 is the starting point of the sequence. and D n is the end point of the sequence. g T r T 1 denotes the first GPS point of the vehicle traveling in expressway sector S, and g T r T n denotes the last GPS point of the vehicle traveling in expressway sector S, which means that the GPS data must be captured at a time between the sector transaction times; i.e., the GPS trajectory S g T r needs to satisfy that the starting point t r o . T of the ETC transaction S needs to be less than the start time of the GPS data, denoted by t r o . T < g T r T 1 , and the ending point t r d . T of the ETC transaction S needs to be greater than the end time of the GPS data, denoted by t r d . T > g T r T n .

3.2.2. Problem Description

The research focuses on vehicles traveling on the expressway and aims to make accurate predictions of the expected arrival times of vehicles in various sub-segments of the journey. The outcomes of this inquiry are anticipated to significantly enhance the intricate management of expressway traffic and cater to the requirements for refined traffic flow regulation.
Vehicle arrival time estimates are designed to provide an estimate of travel time from origin to destination. Usually, due to the different traffic states in the current section and the different driving behaviors of the vehicles, the journey time of the vehicles will vary greatly on different road sections and for different models. The essence of arrival time estimation depends on section traffic flow characteristics and driving behavior, so the predicted variables are usually a function of departure point, destination, section characteristics, and vehicle driving behavior.
Next, we present the problem description of our paper. Given the ETC trajectory of vehicles driving on the expressway, as shown in Formula (12), and the next target mast of the current vehicle, based on the characteristics of the current section of the vehicle, as shown in Formula (15), we expect a mapping function, F, which can predict the time g d when the vehicle arrives at T g d .
T t r i + 1 = F e T r ; g d ; E ( e )
e T r = < S 1 , S 2 , , S n 1 >
S i = < t r i , t r i + 1 >
E ( e = < t r i , t r i + > ) = { e , d ( e ) , F ( e ) }
e T r is the transaction trajectory of the vehicles driving on the expressway. The vehicle has passed n gantries. s n 1 is the n-th section that the vehicle has passed, t r n is the nth gantry that the vehicle has just passed, t r i + 1 is the target gantry of the vehicle; that is, the current vehicle is traveling on the expressway section of e = < t r i , t r i + 1 > . E ( e = < t r i , t r i + 1 > ) is the section characteristics of the current section, and T t r i + 1 is the estimated arrival time of the next target gantry.

3.3. Data Preprocessing

3.3.1. Data Overview

The experimental data of this paper mainly include ETC transaction data and vehicles’ GPS data. ETC data are collected by expressway ETC gantry deployed before and after each hub in the road network. As the world’s largest internet of vehicle systems, the ETC system adopts DSRC technology to enable vehicle-mounted OBU devices to communicate with roadside RSU devices to implement toll-charging functions. This experiment selects ETC transaction data on 9 March 2024, including vehicle traffic identification, vehicle ID (after desensitization), transaction time, gantry ID, vehicle type, etc., as shown in Table 1. According to the classification of expressway vehicle types and tolls in China, vehicles can be divided into passenger cars, trucks, and special operation vehicles, including four categories of passenger cars, six categories of trucks, and six categories of special operation vehicles. Vehicle types and their corresponding ETC transaction data codes are shown in Table 2.
The GPS data, as presented in Table 3, comprise latitude and longitude coordinates collected at predetermined intervals from the vehicle’s On-Board Diagnostics (OBD). This dataset primarily encompasses the following elements: an anonymized vehicle identification number (VIN), timestamped positioning data, geographic coordinates, and velocity, along with other pertinent information. Additionally, in our experiment, GPS data with the same period as the ETC transaction data were selected. It is imperative to note that the application of the GPS dataset was confined to the assessment of service area residency and the validation of experimental errors without being employed in model training.

3.3.2. Raw Data Cleaning

During the collection of ETC gantry transaction data, due to the influence of uncontrollable random factors such as equipment abnormalities, wireless crosstalk, and bad weather, the ETC transaction data collected will be missing or corrupted. It mainly includes the following aspects:
(1) Data redundancy: The transaction information generated when the vehicle passes through the ETC gantry should be unique. However, due to errors in the process of data interaction and communication, data are uploaded multiple times, resulting in data redundancy.
(2) Data missing: Due to adverse weather conditions, equipment malfunctions, and other issues, data collection through the ETC gantry system may be compromised and data may be lost.
(3) Data errors: The data records are inconsistent with normal driving rules, such as the car model and vehicle type cannot be identified, the entrance station date is later than the exit station date, and the entrance and exit numbers are wrong and cannot correspond to the actual mast.
To reduce the impact of erroneous data on the accuracy of the established prediction model and increase the reliability of prediction, preprocessing will be implemented to eliminate anomalous data.

3.3.3. Data Fusion Algorithm

The detection of vehicles entering the service area mainly includes the matching and fusion of ETC and vehicle trajectory and vehicle parking detection. Due to the characteristics of the expressway, normal driving vehicles cannot park in non-service sections. By performing vehicle parking detection on the vehicle’s ETC transaction data and GPS trajectory data, it can be detected whether the vehicle has entered the service area.
(1) ETC data and GPS data fusion algorithm
Due to the certain opacity of the driving status in the ETC section, the real driving situation of the vehicle in the section is difficult to directly obtain and observe. Therefore, when performing data matching and analysis based on spatiotemporal location, we are faced with the challenge of the “black box” state. To understand the behavior of vehicles more comprehensively in the section, we need help with the GPS data. We propose a data fusion algorithm, as shown in Figure 2. The time point determines the positioning time range of the corresponding vehicle in the GPS data. Hence, we can obtain the location of the vehicle in a certain section.
Firstly, the ETC transaction records corresponding to the license plate identification in the GPS dataset are acquired. Secondly, since GPS data cannot directly correspond one to one to ETC sections, this algorithm uses a restriction based on the ETC gantry transaction time before and after the section. Finally, with this constraint, GPS positioning data can be further extracted from the GPS data that correspond to the time range of the target vehicle’s interaction with the masts at the front and rear of the road section, thereby achieving GPS positioning within the target section. The specific algorithm flow is shown in Algorithm 1.
Algorithm 1 ETC data and GPS data fusion algorithm
Require: 
e D a t a : ETC data, g D a t a : GPS data
Ensure: 
f T r : Fusion trajectory dataset
1:
e D a t a = e D a t a . E q u a l s ( e D a t a P = g D a t a p )             ▹ Match GPS data with ETC data
2:
e D a t a = e D a t a . s o r t ( b y = e D a t a T )              ▹ ETC data are sorted by time series
3:
e T r = e D a t a . Groupby ( e D a t a p a s s i d )                         ▹ ETC trajectory aggregation
4:
S = []
5:
f T r = [ ]
6:
for  p a s s i d , t r a j in e T r do              ▹ Traverse the ETC trajectory to generate ETC segments
7:
    for i in r a n g e ( l e n ( t r a j ) 1 )  do
8:
         S i . append ( p a s s i d , t r a j < t r i , t r i + 1 . T > , t r a j < t r i , t r i + 1 > , t r i . P ) ;
9:
    end for
10:
end for
11:
for i in S do
12:
    for  D i in g D a t a do                ▹ Traverse GPS tracks to aggregate ETC segments
13:
        if  g D a t a P = S t r i . P and S t r i . T D i T i S t r i + 1 . T  then
14:
            f T r i . append ( S i , D i )
15:
        end if
16:
    end for
17:
end for

3.3.4. Service Area Entry Detection Algorithm and Service Area Residence Impact Analysis

The driving behavior of a vehicle can be divided into two modes according to its motion state, driving mode and staying mode. Trajectories in staying mode have multiple semantics, such as staying in traffic jams, refueling, meals, or breaks. Taking into account the subsequent driving time, we divide the trajectories into two main categories, namely driving state (referring to normal driving on the expressway) and non-driving state (including rest, meals, etc.).
The STOP/MOVE model describes the switching process of the trajectory between these two states. The illustration shows the running status of a trajectory. We mark the trajectory with a speed greater than 0 as the MOVE state, and the trajectory with a speed of 0 as the STOP status. When a vehicle passes through the service area, its state switches from the driving state to the staying state.
Under the scenario mentioned above, we propose a service area entry detection algorithm. First, we set up the service area buffer to determine whether there is an entry into the service area. According to the time order, we use STOP/MOVE state labels to cluster the homomorphic trajectory sequences. Here, we set the movement duration threshold T h r e s h o l d m o v e to 120 s, and the stay duration threshold T h r e s h o l d s t o p to 300 s. Through these two thresholds, we switch labels that are in operational or non-operational status for less than these durations. We use the VSLC algorithm to correct the trajectory status. These trajectories are extracted and stored in the operational event collection E v e n t m o v e and the non-operational event collection E v e n t s t o p . The specific algorithm flow is shown in Algorithm 2.
The STOP/MOVE model describes the switching process of the trajectory between these two states. As shown in Figure 3, the running status of a trajectory is illustrated. The algorithm marks the trajectory with a speed greater than 0 as the MOVE state, and the trajectory with a speed of 0 as the STOP state. As can be seen from the Figure 3, when a vehicle passes through the service area, its state switches from the driving state to the staying state.
Algorithm 2 Service Area Entry Detection Algorithm
Require: 
Fusion trajectory dataset f T r ; service area latitude and longitude p l o n s a , p l a t s a
Ensure: 
Operational Event Collection E v e n t m o v e ; Non-Operational Event Collection E v e n t s t o p
1:
T h r e s h o l d m o v e = 120
2:
T h r e s h o l d s t o p = 300
3:
E v e n t = [ ]
4:
E v e n t m o v e = [ ]
5:
E v e n t s t o p = [ ]
6:
c u r r e n t _ s t a t u s = N u l l
7:
SAbuffer = setBuffer ( p l o n s a , p l a t s a )                      ▹ Set the service area buffer
8:
for  T r in f T r  do
9:
    if  T r D i V i > 0  then
10:
        if  E v e n t and E v e n t [ 1 ] . c u r r e n t s t a t u s = =   S t o p  then       ▹ Check whether the Events are all in the same state
11:
            s t a r t t i m e = E v e n t [ 1 ] . T r D T                             ▹ First status timestamp
12:
            e n d t i m e = E v e n t [ 1 ] . T r D T                             ▹ Last status timestamp
13:
           if  e n d t i m e s t a r t t i m e > T h r e s h o l d s t o p  then
14:
                E v e n t s t o p . append ( E v e n t )
15:
                E v e n t = [ ]
16:
           end if
17:
            c u r r e n t _ s t a t u s =   M o v e
18:
            E v e n t . a p p e n d ( T r )
19:
        end if
20:
    else
21:
        if  then T r D i V i = = 0
22:
           if  T r D i p i not in S A b u f f e r  then
23:
               Continue
24:
           else
25:
               if  E v e n t and E v e n t [ 1 ] . c u r r e n t s t a t u s = =   M o v e  then
26:
                    s t a r t t i m e = E v e n t [ 1 ] . T r D T
27:
                    e n d t i m e = E v e n t [ 1 ] . T r D T
28:
                   if  e n d t i m e s t a r t t i m e > T h r e s h o l d m o v e  then
29:
                        E v e n t m o v e . append ( E v e n t )
30:
                        E v e n t = [ ]
31:
                   end if
32:
                    c u r r e n t _ s t a t u s =   S t o p
33:
                    E v e n t . append ( T r )
34:
               end if
35:
           end if
36:
        end if
37:
         E v e n t m o v e = V S L C ( E v e n t m o v e )
38:
         E v e n t s t o p = V S L C ( E v e n t s t o p )
39:
    end if
40:
end for

3.4. Arrival Time Estimation Analysis and Feature Modeling

3.4.1. Vehicle Characteristic Analysis

The importance of vehicle characteristics is self-evident. Different vehicles have unique sizes, load capacities, driving characteristics, and constraints. These characteristics directly affect the speed of the vehicle and the transportation efficiency on the road. The driving speed is closely related to the arrival time estimation. ETC data provide valuable information about vehicle characteristics, including important characteristics such as vehicle type and number of axles.
Vehicle types refer to identifications that classify vehicles based on characteristics such as size, purpose, and load capacity. Different types of vehicles will have an impact on vehicle travel time estimates on expressways, so it is necessary to analyze the vehicle characteristics. Figure 4 shows the distribution analysis of vehicle types and their speeds. The box plot can roughly judge the distribution shape of the data based on the relative positions of the median and the average. From the figure, the average speeds of traveling and their concentration show different trends for each type of vehicle. The overall driving speed of passenger cars is higher than that of trucks. The average speed of Class 1 passenger cars is the highest. It can be seen from the figure that the interquartile range (IQR) of the speed of Class 1 and Class 2 passenger cars is relatively large, indicating that the driving behavior of these two types of vehicles is more complex, and the numerical distribution is relatively discrete and has large differences. Class 11 and Class 23 vehicles have a right-skewed distribution, Class 24 vehicles have a left-skewed distribution, and most other vehicle types are close to a symmetric distribution.
To effectively obtain the differences between various types of vehicles, a probability density diagram is drawn by passenger and truck for further analyzing the relationship between vehicle type and speed. It can be seen from Figure 5 that the probability density diagrams of passenger trucks belong to a bimodal distribution, with the two peaks roughly concentrated between 30–40 km/h and 70–90 km/h. It can be seen from Figure 6 that the speed distribution curves of Class 3 and Class 4 trucks are roughly the same, with most vehicle speeds concentrated around 90 km/h; the speed distribution trends of Class 1 and Class 2 vehicles are largely the same, but the speed distribution curves of Class 1 vehicles are different. The overall speed curve moves forward; that is, the speed of Class 1 passenger cars is higher, with a peak value close to 100 km/h. It can be seen from Figure 6 that the probability density of Class 1 trucks is different from other types of trucks. The speeds of Class 1 trucks are mostly concentrated around 35 km/h and 70 km/h.
The number of vehicle axles indicates the number of wheel axles on the vehicle and is usually used to describe the structure and load capacity of the vehicle. An increase in the number of vehicle axles means the vehicle’s weight is more evenly distributed, which generally improves the vehicle’s stability and braking performance. This could result in the vehicle being able to accelerate and decelerate faster while driving, thus reducing journey times. It can be seen from Figure 7 that when the number of axles increases, the speed of the vehicle gradually decreases. It can be further seen from Figure 8 that the probability distribution of axle type and speed also conforms to the bimodal distribution, and when the number of axles of different types of vehicles increases, the vehicle speed will decrease and the travel time through the section will increase.
In summary, different vehicle types and the number of vehicle axles traveling on the expressway have a significant impact on the section travel time. Therefore, these two factors should be considered when constructing the feature vector of the vehicle travel arrival time algorithm. The reason for the bimodal distribution may be the decrease in section traffic speed caused by vehicles entering the service area. Therefore, it is crucial to analyze the impact of the service area on traffic speed for arrival time estimation.

3.4.2. Service Area Impact Analysis

To explore the impact of service areas on arrival time estimation, the service area entry detection algorithm proposed in Section 3.3 is used to conduct experiments on the fusion trajectory S g T r , and the difference significance test is used to determine whether vehicles entering and exiting the service area exist in the travel time distribution. The significance test of difference (STD) is used in scientific experiments to test whether there is a difference between two samples and whether the difference is significant. The detailed steps are as follows:
(1) In this paper, we denote the null hypothesis H0, which means that there is no difference in the travel time distribution between users entering the service area and those not entering the service area.
(2) We use the Kolmogorov–Smirnov (KS) test to test the authenticity of the null hypothesis. The KS test is a non-parametric test for the equality of continuous (or discontinuous), one-dimensional probability distributions, which can be used to compare two samples. It quantifies the distance between the empirical distribution functions of two samples.
(3) We compare it with the reference value to determine significance, which is the p value. Based on this, we reject or do not reject the null hypothesis (H0).
To analyze the difference between the two types of users, this paper selects a section of the expressway for statistics and draw a box plot of user travel time, as shown in Figure 9. The box plot on the left shows the user entering the service area during the trip. The traffic time for the area on the right is the user’s traffic time without entering the service area during travel. Due to the characteristics of the service area, users will not enter the service area when they do not need the service. Therefore, the number of vehicles entering the service area is much lower than the number of vehicles directly passing through the road section. At the same time, the degree of dispersion of the travel time of users entering the service area is greater than that of users directly passing by the road. When users enter the service area, they need more time to complete the trip. As shown in Figure 9, 0 represents that the users do not enter the service area, 1 represents that users enter the service area, and the upper boundary of the box plot on the right is located on the left box line. In general, the distribution of travel time between the two types of users is very different, and the travel time distribution of users who have not entered the service area is more concentrated.
Hypothesis testings are performed by using the KS test. The null hypothesis H0 is that there is no difference in travel time between the two types of users, while the alternative hypothesis H1 is that there is a difference in the travel time between the two types of users. After calculation, the p-value is less than 0.001 at the 5% confidence level, and it is concluded that the null hypothesis H0 is rejected. Therefore, the travel time of the two types of users is different.
To illustrate the distribution of the travel times of the two types of users more intuitively, a section of the journey is selected, as shown in Figure 10. The section [‘350261’, ‘35025F7’] is the section containing the service area. The variance in the segment with the service area is significantly higher than that of the segment without a service area. That means the speed of vehicles within a service area segment is more variable. The increase in variance means that the data points are more dispersed relative to the mean. Therefore, the variance and standard deviation of the service area section are higher, indicating that the vehicle’s driving speed changes greatly in this section, and the service area may have an impact on the vehicle’s speed.

3.4.3. Analysis of Segment Timing Speed Characteristics

The driving speed of the vehicle is directly related to the changes in traffic flow in the current driving section. At the same time, the conduction of traffic waves is closely related to time. Therefore, the changes in traffic flow are usually influenced by the previous moment or even several previous moments. The traveling speeds of vehicles are also affected by the timing speed of the segment. To calculate the time series speed characteristics of the section, this paper divides a day into time slices with a step size of 5 min and counts the speed of vehicles leaving the section in the current time slice. Time phase analysis is performed using the Pearson correlation coefficient to describe the impact of the speed of the previous section on the speed change of the current section. The calculation formula is as follows:
ρ = E ( X i , X i k ) E ( X i 2 ) E ( X i ) 2
where X i is the traffic flow time series at the current moment, and X i k is the traffic flow time series before time k. The calculation results are shown in Table 4, where T 1 means taking one time slice forward from the current time slice, T 2 means taking two time slices forward, and T 3 T 8 are followed in sequence.
What you need to know is that the value of the Pearson correlation coefficient is between −1 and 1. When its value exceeds 0.5, it means that there is a strong positive correlation between the two. When its value is less than −0.5, it means there is a strong negative correlation between the two. As the time slice increases forward, its Pearson correlation coefficient also continues to decrease. T 1 T 3 have a strong positive correlation and the correlation coefficient of T 1 , T 2 , and the average speed of the current section exceed 0.8, which means the correlation is extremely strong.

3.4.4. Feature Vector Construction Method

In this section, we introduce the characteristic modeling of arrival time estimation of vehicles on expressways in detail, which mainly includes three aspects of the characteristics: speed characteristics, section characteristics, and vehicle characteristics.
(1) Speed Characteristics
Speed characteristics are one of the key features for high-speed vehicle travel time estimation. The speed of a vehicle is closely related to the travel time. Higher speed usually means shorter travel time, while lower speed may lead to longer travel time. To estimate the vehicle’s arrival time, it is necessary to construct features of the vehicle’s historical traffic speed and the speed in the current section, as shown in Formula (17).
v = ( v A , v B ) T
where v A , v B are the average traffic speed of T 1 and T 2 , which are the time slices prior to the current section, respectively.
The vehicle’s historical speed is an important feature for vehicle arrival time estimation, and the vehicle speed feature v A is constructed, as shown in Formula (18). It should be noted that the service area analysis in Section 3.4.2 shows that when there is a service area in the trajectory, it has a great impact on the prediction results. This paper aims to construct a vehicle arrival time estimation algorithm based on ETC data. The impact of removing the service area is outside the scope of this paper. Therefore, when constructing the feature vector v A , we do not count the speed of vehicles passing through the service area.
v A = ( α 1 , α 2 , α 3 , α 4 ) T
where the attributes α 1 α 3 represent the historical driving speed characteristics of vehicles in sections except the service area. α 1 = m a x ( v 1 , v 2 , , v n ) represents the maximum driving speed of the vehicle sections, α 2 = m i n ( v 1 , v 2 , , v n ) represents the minimum value of the vehicle section driving speed, α 3 = 1 n j = 1 n v 1 j represents the area of the vehicle to estimate the average driving speed of the section, and α 4 = 1 n j = 1 n ν 1 j represents the average speed of the expressway section where the vehicle has traveled.
The time series speed characteristics of the section can provide important information about the current vehicle traffic conditions. By extracting the section speed features, we can identify the impact of the traffic conditions on the travel time. The time characteristics of the construction section are shown in Formula (19).
v B = ( β 1 , β 2 , β 3 , β 4 ) T
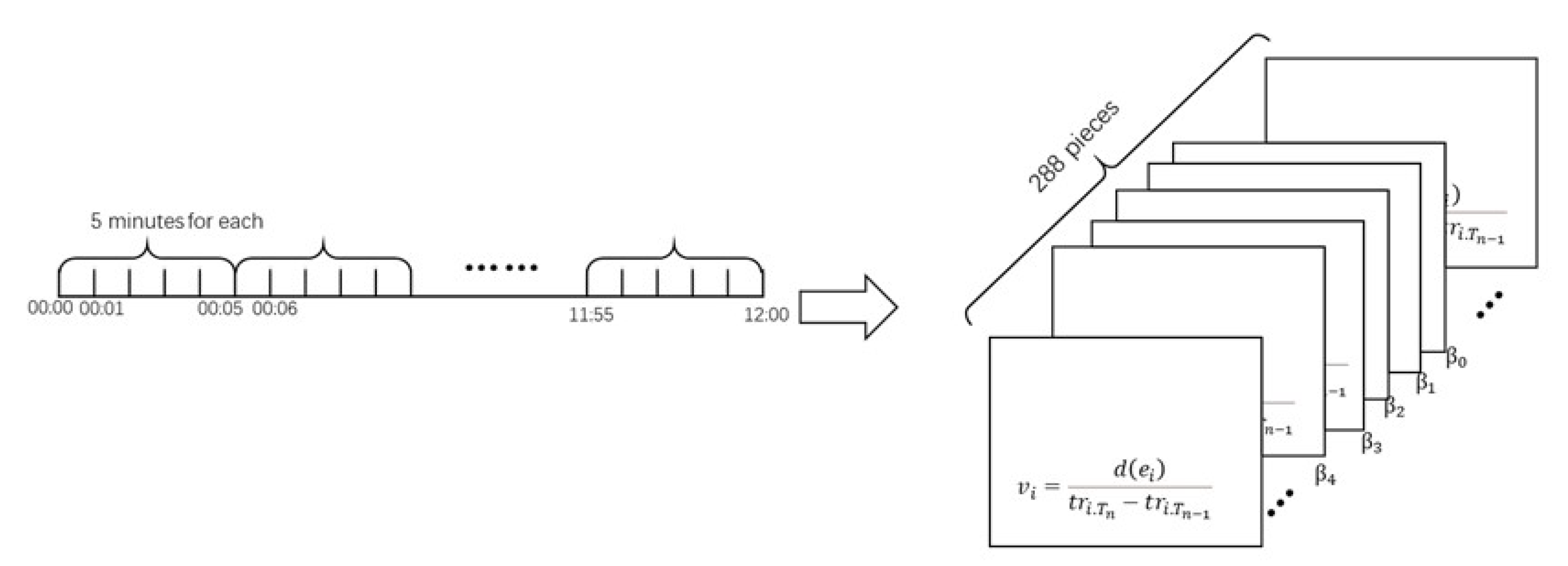
where β 1 β 4 represents the historical speed characteristics of the current segment, as shown in the timeline of Figure 11. Using 5 min as the length of the time segment, one day is therefore divided into 288 time slices, and the transaction time of the vehicle entering the segment is calculated as the section speed of the current expressway section. The relationship between β 1 , β 2 , β 3 , β 4 is shown in the time slice in Figure 11. T s i is defined as the time slice where the vehicle is currently located, and β 0 is the vehicle edge speed of this time slice. β 1 = T s ( i 1 ) ( V ) represents the segment speed of the vehicle’s current segment taken one time slice forward, β 2 = T s ( i 2 ) ( V ) represents the vehicle’s current segment taken two time slices forward, β 3 = T s ( i 3 ) ( V ) represents the segment speed of the vehicle’s current segment taken three time slices forward, and β 4 = T s ( i 4 ) ( V ) represents the vehicle’s current segment taken four time slices forward.
(2) Vehicle Characteristics
Vehicle type is also an important feature for predicting vehicle journey arrival time, as different vehicle types have different travel behaviors. Different vehicle types have a significant impact on vehicle trip arrival time prediction. For example, a sedan typically has higher acceleration performance and less air resistance and may travel at faster speeds on the expressway. In contrast, a truck or lorry may take longer to start and move due to its larger size and weight. Therefore, when predicting vehicle trip arrival times, the characteristics and performance of different vehicle types must be taken into account to improve the accuracy of the estimate. The features of a certain vehicle are shown in Formula (20).
c = ( γ 1 , γ 2 ) T
where γ 1 represents the vehicle type, and γ 2 represents the number of vehicle axles.
(3) Section Characteristics
Arrival time estimation is inseparable from the extraction and analysis of the section characteristics of the expressway section where the vehicle is currently traveling. Section characteristics mainly include physical characteristics and traffic flow structure characteristics. The physical characteristics are formulated in Formula (21).
D = ( θ 1 ) T
where θ 1 represents the segment distance.
The traffic volume and traffic structure of the section have a significant impact on the travel time estimation of the traffic flow in the section. Higher traffic volumes increase congestion and delays, while the proportion and characteristics of different vehicle types in the traffic flow structure also influence changes in journey times. Traffic flows have strong temporal and spatial characteristics. Therefore, when calculating the section traffic flow structure, the traffic flow in the same section at the same time period is considered as the characteristic of the vehicle arrival time estimation algorithm, as shown in Formula (22).
f = ( δ 1 , δ 2 , δ 3 ) T
where δ 1 represents the proportion of passenger cars in the traffic flow, δ 2 represents the proportion of trucks in the traffic flow, and δ 3 represents the proportion of special vehicles in the traffic flow.

3.5. Vehicle Arrival Time Estimation Algorithm

Gradient Boosting Decision Tree (LightGBM) Model

Gradient Boosting Decision Tree (GBDT) is a representative framework for ensemble learning using the boosting strategy. It builds a strong classifier or strong regressor by combining weak learners. One of the commonly used base learners is the Classification and Regression Tree (CART). GBDT is an additive model that accumulates the predicted values of all CART trees as the final predicted value and trains the model iteratively along the gradient descent direction of the base learner loss function. The algorithm is described as follows:
Assume that the training set is D = { ( x i , y i ) } i = 1 N , where x = ( v , c , d , f ) is the feature of the input sample, y = ( y 1 , y 2 , , y n ) output. GBDT can be expressed as an additive model of the decision tree, as shown in Formula (23).
f m ( x ) = m = 1 M T ( x , θ m )
where T ( x , θ m ) represents the decision tree, m is the parameter of the decision tree, and M is the number of numbers. The model representation of step m is shown in Equation (24).
f m ( x ) = f m 1 ( x ) + T ( x , θ m )
where y is the true value of the i-th sample, f m ( x ) is the predicted value of the i-th sample, and the loss function is the square loss. The loss function is expressed as Formula (25).
L y i , f m ( x i ) = 1 2 ( y i f m ( x i ) ) 2
We can obtain the parameter θ m by minimizing the loss function, as shown in Formula (26).
θ ^ m = a r g m i n i = 1 M L y i , f m ( x i ) + T ( x , θ m )
After iterations, the final model can be obtained by updating the regression tree.
LightGBM is a gradient-boosting algorithm framework based on decision trees. It integrates gradient-based one-side sampling technology (Gradient-based One-Side Sampling, GOSS) and independent feature bundling technology (exclusive feature bundling, EFB) based on GBDT. Hence, without reducing the accuracy of classification and regression, the training efficiency is improved and training time is saved.
Before training the LightGBM model for travel time estimation, we need to tune the model parameters to improve the model generalization ability while ensuring the prediction effect. The Optuna method is a feasible parameter-tuning method. The core of Optuna is the Trial object, which represents an experiment of hyperparameter combination. Optuna automatically selects the next set of hyperparameter combinations for testing based on existing test results and gradually converges to the optimal solution.

4. Experimental Results and Analysis

Our experiments are performed on a Centos Linux version 7.9.2009 (Core) operating system based on an Intel(R) Core (TM) i9-10900K CPU @ 3.70 GHz and 64 GB RAM. All the experiments are implemented in Python 3.8.8.

4.1. Datasets

We use the GPS data and ETC data for 9 March 2024, to conduct experiments. After data preprocessing, trajectory sub-section division, and service area message removal, the experimental dataset was obtained, with a total of 47,694 pieces of data. To ensure the model’s generalization capability and prevent overfitting, we split the dataset into training, testing, and validation sets. We used the training set for model training, followed by testing the model with the testing set. Finally, we validated the model’s performance on the validation set. The dataset partitioning is shown in Table 5, which is randomly divided into training, testing, and validation sets with a ratio of 80%, 10%, and 10%.

4.2. Feature Vector Construction

According to the eigenvector modeled in Section 3.4.4 above, we use a total of 14 statistical features of three types, speed, vehicle, and section to construct an eigenvector for expressway arrival time estimation, as shown in Table 6.
A heat map is further drawn to depict the correlation between feature vectors, as shown in Figure 12. The blue in the figure indicates a negative correlation, and the red indicates a positive correlation. At the same time, the darker the color, the stronger the correlation. It can be seen from the figure that the vehicle’s maximum driving speed α 1 is strongly and positively correlated with the section average speed α 4 . Among the speed characteristics, α 4 shows a strong correlation with the vehicle’s driving speed characteristic α 1 α 3 property. It can be concluded that there is a great influence between the expressway section speed and the vehicle driving speed. The strong correlation among the speed characteristic v B indicates that the previous speed of the section has an important influence on the current section speed and has a strong reference value. There is also a strong correlation between v B and the average section speed α 3 of the vehicle. There is a positive correlation between the vehicle model γ 1 and the number of axles γ 2 and the proportion of trucks, while the proportion of passenger cars is negatively correlated. Through the heat map analysis, we can clearly understand the correlation between the features.

4.3. Evaluation Indicators and Parameter Settings

4.3.1. Parameter Setting

The LightGBM algorithm has various parameters, including the following three categories:
(1) General parameters, such as boosting type, silent, thread, etc. These parameters are used for global configuration and control.
(2) Booster parameters, including regularization term L1 weight (lambda_l1), regularization term L2 weight (lambda_l2), number of decision leaf nodes (num_leaves), feature proportion (feature_fraction), sample proportion (bagging_fraction), bagging frequency (bagging_freq)the minimum number of samples required for each leaf node (min_child_samples), etc. These parameters affect the structure and generalization ability of the decision tree in the booster.
(3) Learning task parameters, including objective function (objective) and evaluation indicator (metric), which determine the training objectives and performance measurement of the model.
General parameters and learning task parameters should be set according to specific research needs, while booster parameters need to be optimized through parameter search methods. At present, the automatic parameter adjustment method Optuna has made significant progress in this regard and can automatically search for the best parameter configuration and improve model performance. We use the above method to adjust parameters. The search range, step size, and optimal value of each parameter are presented in Table 7.

4.3.2. Evaluation Indicators

A total of five indicators, including root mean square error ( R M S E ), mean absolute error ( M A E ), coefficient of determination ( R 2 ), and explained variance score ( V a r ), are used in the experiment to compare and evaluate the prediction results of the model. In the formulas below, y i is the actual segment travel time, y ^ is the predicted travel time, and N is the sample size.
R M S E = 1 N i = 1 N ( y i y ^ ) 2
M S E = 1 N i = 1 N ( y i y ^ ) 2
M A E = 1 N i = 1 N | y i y ^
R 2 = 1 i = 1 ( y i y ^ ) 2 i = 1 ( y i y ¯ ) 2
v a r = 1 v a r ( y y ^ ) v a r ( y )
R M S E , M S E , and M A E are all used to measure prediction errors. The smaller the value, the better the prediction effect. The larger the value, the worse the prediction effect. R 2 and Var calculate the correlation coefficient to measure the ability of the prediction results to represent the actual data. The larger the value, the better the prediction effect.

4.4. Impact Analysis on Service Area

In this section, we test the effect of the service area on arrival time estimation. At present, the influence of service areas cannot be removed well by relying on ETC transaction data alone. Therefore, we do not estimate the arrival time of vehicles in sections with service areas. At the same time, the existence of service area sections will affect the vehicle feature vector modeling. To improve the accuracy of arrival time estimation and to quantify the impact of service area section characteristics on arrival time estimation, this section conducts feature modeling on the removed service area section data and the full data. Optuna, proposed by Takuya Akiba et al. [32], is a hyperparameter optimization framework that promotes a dynamic search space construction via a define-by-run API, efficient search and pruning strategies, and an easy to setup, versatile architecture. We utilize the Optuna framework to tune the model. The results are shown in the table. From Table 8, we can see that the model effect of out-of-service area segment characteristics has been significantly improved.
Through comparison, it can be observed that after Optuna optimization, the prediction performance of the model is significantly improved. Specifically, the root mean square error (RMSE) of the optimized model is reduced by 63.63% compared with before optimization, and the mean absolute error (MAE) is reduced by 39.40%. At the same time, the coefficient of determination (R-squared) of the model also increased by 6.61%. These results fully demonstrate that model hyperparameter optimization through Optuna is an effective method that can significantly improve prediction accuracy.

4.5. Model Performance Analysis

4.5.1. Baseline Model

To verify the reliability of the LightGBM model, we used seven baseline methods for comparison, including support vector regression (SVR), decision tree regression (DTR), linear regression (LR), K-nearest neighbor regression (KNR), gradient boosting regression (GBR), random forest regression (RF), and long short-term memory neural network (LSTM). By comparing these approaches with our proposed algorithm, we aim to establish a comprehensive benchmark for performance comparison.
Models for performance comparison:
1. Support vector regression (SVR): A machine learning algorithm that identifies the optimal hyperplane for regression by minimizing the total distance from the data points to this hyperplane. SVR is proficient in high-dimensional spaces and effective when confronted with nonlinear feature relationships, often leveraging kernel tricks for this purpose.
2. Decision tree regression (DTR): A tree-shaped model used for classification and regression, which is easy to interpret and highly applicable to structured data but tends to overfit.
3. Linear regression (LR): A statistical method to forecast a continuous response variable, grounded on one or multiple predictor variables. Assuming a linear relationship between the predictors and the response, LR emerges as a straightforward yet potent tool for modeling associations across diverse domains.
4. K-nearest neighbor regression (KNR): An instance-based learning approach wherein the function is approximated locally. The output derives from the average of the K-nearest neighbors’ values. This technique is versatile, suitable for both classification and regression tasks and particularly effective when facing an unknown and intricate underlying function.
5. Gradient boosting regression (GBR): An ensemble learning technique that aggregates multiple weaker models to construct a robust predictive model, predominantly decision trees. GBR develops models in a sequential manner, each iteration rectifying the errors of its predecessor, thereby demonstrating proficiency in managing complex datasets and enhancing overall accuracy.
6. Random forest regression (RF): An ensemble learning method composed of multiple decision trees that perform predictions through voting or averaging, exhibiting excellent performance in handling structured data, particularly when there are nonlinear relationships between features.
7. Long short-term memory neural network (LSTM): A type of recurrent neural network that can learn and remember over long sequences and is capable of learning nonlinear relationships between features. It has been widely used in traffic prediction, time series analysis, and other tasks where sequence data are important.

4.5.2. Result Analysis

The obtained results are presented in Table 9. Experimental results show that GBR, RF, LSTM, and LightGBM all have smaller errors and higher accuracy; the MAE of LightGBM is only 20.085 s, and R 2 reaches 0.9806, showing higher computational efficiency and smaller error calculations. It is better than the baseline method in terms of indicators.
In summary, the LightGBM model shows excellent prediction performance when processing these experimental data and significantly outperforming seven commonly used baseline methods. Its efficient prediction speed and small prediction error make it a reliable and effective prediction model.
Next, the feature contributions of the feature vector are analyzed for the model proposed in this paper, as shown in Figure 13. This analysis aims to gain insight into the extent to which each feature affects travel time predictions. It can be observed from the figure that the section distance accounts for the largest proportion of the section road characteristics, which shows that the predicted travel time is closely related to the section distance. Since travel time is often directly related to travel distance, longer section distances usually mean longer travel times.
At the same time, vehicle speed characteristics and section speed characteristics also occupy a large proportion of the feature contribution. This shows that the predicted travel time is closely related to the speed of the vehicle and the traffic speed of the segment. Vehicle speed is an important factor and is closely related to travel time. In addition, the section speed characteristics also make a certain contribution to the prediction of travel time, showing that there is a certain correlation between section speed and travel time.

4.5.3. Model Effect Analysis

This section analyzes the effect of the arrival time estimation of vehicles based on ETC data. Figure 14 shows the arrival time estimation effect on the expressway on 9 March 2024. It can be seen from the figure that the arrival time of most vehicles is estimated to be within 50 s, a few vehicles have an estimated arrival time error of more than 100 s, and a large proportion of trucks have an estimated arrival time error of more than 100 s.
We further conduct an in-depth study on the prediction performance of this model under different segment distances. Figure 15a shows the prediction effect of the model in different section distance ranges. It can be observed from the figure that the model shows the most excellent prediction performance within the segment distance range of less than 10 km. Within the section distance range of 10–20 km, the model’s prediction effect is relatively good. However, when the distance between the sections involved exceeds 20 km, the accuracy of the model’s predictions begins to decline significantly.
Further analysis reveals that this difference in performance is mainly due to the fact that the distance of most sections of the expressway in a certain province is concentrated below 20 km, as shown in Figure 15b. In this case, there is a high linear correlation between trajectory data and segment distance. Such linear correlations are well captured and utilized within 10 km and the segment distance range of 10–20 km, so the model shows more accurate prediction results. However, at segment distances exceeding 20 km, the mismatch between the characteristics of the trajectory data and the estimation capabilities of the model leads to a decrease in prediction performance.
Finally, we conduct an in-depth analysis of the data with large errors combined with GPS driving data. Research results show that there are three main reasons for large errors in these data, namely:
(1) Abnormal residence in the section
One of the main sources of large errors is the vehicle’s long-term parking behavior in the segment. This parking behavior may be caused by the vehicle owner temporarily parking within the expressway section. As shown in Figure 16, vehicles A and B have obvious parking behaviors in the section. In these cases, the time the vehicle spends in the section increases significantly, resulting in the actual driving time being different from the predicted section passing time. There is a large difference between vehicles traveling normally and vehicles with temporary parking behavior, which leads to the expansion of prediction error.
(2) Queuing out of the toll station
With the completion of the national toll network, ETC lanes and mixed lanes replaced many manual lanes. Therefore, vehicles without ETC equipment in the vehicle manufacturing part need to line up to enter the manual lanes to collect fees. A high proportion of operating vehicles are vehicles without ETC equipment. Therefore, some of vehicles are queued for collecting fees at manual channels when leaving the expressway, resulting in a large arrival time estimation error. As shown in Figure 17, a vehicle switches toll lanes and queues up after entering the toll plaza, which takes up to 4 min.
(3) Vehicles traveling at abnormally low speeds in the section
After analyzing the vehicle speed and section speed, we can find that there are abnormal and erratic driving behaviors of vehicles in the section, resulting in large arrival time estimation errors. In this case, the vehicle’s driving speed in the section is significantly reduced. As shown in Figure 18, the vehicle exhibits abnormal low-speed behavior at S 2 = < t r 2 , t r 3 > and the driving speed remains at 60 km/h most of the time. The driving speed in the front and rear sections of the vehicle is also lower than the average speed of the current section, resulting in a significant deviation between the actual time required to pass the section and the passing time predicted by the model.

5. Conclusions and Future Work

This paper presents a novel algorithm that leverages ETC data to forecast vehicle arrival times. Deviating from conventional research approaches, which typically estimate the duration of an entire vehicle journey, our algorithm capitalizes on ETC gantries along expressways to predict a vehicle’s arrival in specific segments. Such an innovation greatly enhances the precision of expressway operational management. Precise predictions of travel time empower travelers to make more informed route choices; meanwhile, it enables traffic regulators to implement measures such as traffic shaping and vehicle steering with improved efficacy, thereby easing congestion. Furthermore, precise travel time prediction curbs CO2 emissions stemming from traffic jams, contributing to environmental preservation. The ensuing conclusions are as follows:
(1) In this study, we amalgamate ETC transaction data with vehicles’ GPS data to develop a service-area-dwelling-detection algorithm. This algorithm enables the identification of vehicles that enter service areas. It has been proven that segments within service areas significantly influence arrival time estimations. Therefore, utilizing this algorithm, one can identify vehicles that enter the service area, thereby eliminating the impact of the service area on arrival time estimations and enhancing the accuracy of the arrival time prediction algorithm.
(2) This study utilizes ETC data to perform feature modeling of vehicular characteristics such as driving behavior, segment length, driving speed, and traffic distribution and then proposes a method grounded in the LightGBM model to accurately estimate vehicle arrival times.
(3) In this study, our analysis of substantial disparities in arrival time estimations, facilitated by GPS data, revealed several concerns, including atypical pauses in segments, congestion at toll plazas, and instances of markedly reduced velocity. This paper provides working ideas for subsequent model optimization.
This approach offers a precise prediction of arrival times on expressways, which is fundamental for the sophisticated management and development of smart expressways. Furthermore, diminishing variability in travel times motivates drivers to opt for more optimal routes, thereby minimizing total vehicle mileage and concomitant fuel usage. Although this technique encounters certain constraints, including the unavailability of data pertaining to vehicles entering service areas, prospective studies aim to integrate such data to augment prediction accuracy. This advancement will notably refine traffic management strategies, resulting in more efficient navigation and a reduced environmental impact, thus aligning with sustainable development objectives.

Author Contributions

Conceptualization, S.L., H.X. and F.Z.; Methodology, S.L., Y.L., Z.H. and H.Z.; Software, S.L., Y.L., Z.H. and H.Z.; Validation, Z.H. and H.Z.; Formal analysis, S.L., F.Z. and Z.H.; Investigation, S.L., Y.L. and H.Z.; Resources, S.L.; Data curation, S.L.; Writing—original draft, S.L. and Y.L.; Writing—review & editing, H.X. and F.Z.; Visualization, Z.H.; Project administration, S.L. and Y.L. All authors have read and agreed to the published version of the manuscript.

Funding

This research is partially supported by the Renewable Energy Technology Research institution of Fujan University of Technology Ningde, China (Funding number: KY310338, Funder: Fumin Zou); the 2020 Fujian Province “Belt and Road” Technology Innovation Platform (Funding number: 2020D002, Funder: Fumin Zou); the Provincial Candidates for the Hundred, Thousand and Ten Thousand Talent of Fujian (Funding number: GY-Z19113, Funder: Fumin Zou); the Patent Grant project (Funding number: GY-Z18081, GY-Z19099, GY-Z20074, Funder: Fumin Zou); Horizontal projects (Funding number: GY-H-20077, Funder: Fumin Zou); Municipal-level science and technology projects (Funding number: GY-Z-22006, GY-Z-220230, Funder: Fumin Zou); Fujian Provincial Department of Science and Technology Foreign Cooperation Project (Funding number: 2023I0024, Funder: Fumin Zou); and the Open Fund project (Funding number: KF-X19002, KF-19-22001, Funder: Fumin Zou).

Institutional Review Board Statement

Not applicable.

Informed Consent Statement

Not applicable.

Data Availability Statement

The datasets presented in this article are not readily available because the data was obtained from Fujian Expressway Information Technology Co., Ltd. Requests to access the datasets should be directed to get the permission of Fujian Expressway Information Technology Co., Ltd.

Conflicts of Interest

Author Yongyu Luo was employed by the company Fujian Provincial Expressway Information Technology Co., Ltd. The remaining authors declare that the research was conducted in the absence of any commercial or financial relationships that could be construed as a potential conflict of interest.

References

  1. Sihag, G.; Parida, M.; Kumar, P. Travel time prediction for traveler information system in heterogeneous disordered traffic conditions using GPS trajectories. Sustainability 2022, 14, 10070. [Google Scholar] [CrossRef]
  2. Figliozzi, M.A. The impacts of congestion on time-definitive urban freight distribution networks CO2 emission levels: Results from a case study in Portland, Oregon. Transp. Res. Part C Emerg. Technol. 2011, 19, 766–778. [Google Scholar] [CrossRef]
  3. Shaikh, P.W.; El-Abd, M.; Khanafer, M.; Gao, K. A review on swarm intelligence and evolutionary algorithms for solving the traffic signal control problem. IEEE Trans. Intell. Transp. Syst. 2020, 23, 48–63. [Google Scholar] [CrossRef]
  4. Akopov, A.S.; Beklaryan, L.A. Traffic Improvement in Manhattan Road Networks with the Use of Parallel Hybrid Biobjective Genetic Algorithm. IEEE Access 2024, 12, 19532–19552. [Google Scholar] [CrossRef]
  5. Ma, J.; Chan, J.; Rajasegarar, S.; Leckie, C. Multi-attention graph neural networks for city-wide bus travel time estimation using limited data. Expert Syst. Appl. 2022, 202, 117057. [Google Scholar] [CrossRef]
  6. Zhou, Y.; Yao, L.; Chen, Y.; Gong, Y.; Lai, J. Bus arrival time calculation model based on smart card data. Transp. Res. Part C Emerg. Technol. 2017, 74, 81–96. [Google Scholar] [CrossRef]
  7. Achar, A.; Regikumar, R.; Kumar, B.A. Dynamic Bus Arrival Time Prediction exploiting Non-linear Correlations. In Proceedings of the International Joint Conference on Neural Networks, Budapest, Hungary, 14–19 July 2019; pp. 1–8. [Google Scholar]
  8. Liu, H.; Xu, H.; Yan, Y.; Cai, Z.; Sun, T.; Li, W. Bus Arrival Time Prediction Based on LSTM and Spatial-Temporal Feature Vector. IEEE Access 2020, 8, 11917–11929. [Google Scholar] [CrossRef]
  9. Panovski, D.; Zaharia, T.B. Long and Short-Term Bus Arrival Time Prediction with Traffic Density Matrix. IEEE Access 2020, 8, 226267–226284. [Google Scholar] [CrossRef]
  10. Xu, Y.; Yang, J.; Xu, W. High precision algorithm research of flight arrival time estimation based on irregular geo-grid. In Proceedings of the 2017 9th International Conference on Modelling, Identification and Control (ICMIC), Kunming, China, 10–12 July 2017; pp. 354–358. [Google Scholar]
  11. Alessandrini, A.; Mazzarella, F.; Vespe, M. Estimated Time of Arrival Using Historical Vessel Tracking Data. IEEE Trans. Intell. Transp. Syst. 2019, 20, 7–15. [Google Scholar] [CrossRef]
  12. Li, Y.; Shi, C.; Li, Q. Link travel time estimation based on large-scale low-frequency floating car data. In Proceedings of the 2013 the International Conference on Remote Sensing, Environment and Transportation Engineering (RSETE 2013), Nanjing, China, 26–28 July 2013; pp. 820–824. [Google Scholar]
  13. Tang, L.; Kan, Z.; Zhang, X.; Yang, X.; Huang, F.; Li, Q. Travel time estimation at intersections based on low-frequency spatial-temporal GPS trajectory big data. Cartogr. Geogr. Inf. Sci. 2016, 43, 417–426. [Google Scholar] [CrossRef]
  14. Chen, C. An Arrival Time Prediction Method for Bus System. IEEE Internet Things J. 2018, 5, 4231–4232. [Google Scholar] [CrossRef]
  15. Petersen, N.C.; Rodrigues, F.; Pereira, F.C. Multi-output bus travel time prediction with convolutional LSTM neural network. Expert Syst. Appl. 2019, 120, 426–435. [Google Scholar] [CrossRef]
  16. Xu, T.; Li, X.; Claramunt, C. Trip-oriented travel time prediction (TOTTP) with historical vehicle trajectories. Front. Earth Sci. 2018, 12, 253–263. [Google Scholar] [CrossRef]
  17. Li, C.; Lin, S.; Zhang, H.; Zhao, H.; Liu, L.; Jia, N. A Sequence and Network Embedding Method for Bus Arrival Time Prediction Using GPS Trajectory Data Only. IEEE Trans. Intell. Transp. Syst. 2023, 24, 5024–5038. [Google Scholar] [CrossRef]
  18. Farooq, M.U.; Shakoor, A.; Siddique, A.B. GPS based Public Transport Arrival Time Prediction. In Proceedings of the 2017 International Conference on Frontiers of Information Technology, FIT 2017, Islamabad, Pakistan, 18–20 December 2017; IEEE Computer Society: Piscataway, NJ, USA, 2017; pp. 76–81. [Google Scholar]
  19. Liu, W.; Liu, J.; Jiang, H.; Xu, B.; Lin, H.; Jiang, G.; Xing, J. WiLocator: WiFi-Sensing Based Real-Time Bus Tracking and Arrival Time Prediction in Urban Environments. In Proceedings of the 36th IEEE International Conference on Distributed Computing Systems, ICDCS 2016, Nara, Japan, 27–30 June 2016; IEEE Computer Society: Piscataway, NJ, USA, 2016; pp. 529–538. [Google Scholar]
  20. Rupnik, J.; Davies, J.; Fortuna, B.; Duke, A.; Clarke, S.S. Travel Time Prediction on Highways. In Proceedings of the 15th IEEE International Conference on Computer and Information Technology, Washington, DC, USA, 6–9 July 2015; IEEE: Piscataway, NJ, USA, 2015; pp. 1435–1442. [Google Scholar]
  21. Huang, Y.; Dai, H.; Tseng, V.S. Periodic Attention-based Stacked Sequence to Sequence framework for long-term travel time prediction. Knowl. Based Syst. 2022, 258, 109976. [Google Scholar] [CrossRef]
  22. Chen, M.; Chiang, H.; Yang, K. Constructing Cooperative Intelligent Transport Systems for Travel Time Prediction with Deep Learning Approaches. IEEE Trans. Intell. Transp. Syst. 2022, 23, 16590–16599. [Google Scholar] [CrossRef]
  23. Chen, J.; Zhang, X.; Zhang, S. Analysis and empirical study of highway travel time interval prediction based on Bootstrap-KNN. Control Decis. 2018, 33, 2080–2086. [Google Scholar]
  24. Abdollahi, M.; Khaleghi, T.; Yang, K. An integrated feature learning approach using deep learning for travel time prediction. Expert Syst. Appl. 2020, 139, 112864. [Google Scholar] [CrossRef]
  25. He, P.; Jiang, G.; Lam, S.; Tang, D. Travel-Time Prediction of Bus Journey with Multiple Bus Trips. IEEE Trans. Intell. Transp. Syst. 2019, 20, 4192–4205. [Google Scholar] [CrossRef]
  26. Kumar, B.A.; Vanajakshi, L.; Subramanian, S.C. Bus travel time prediction using a time-space discretization approach. Transp. Res. Part C Emerg. Technol. 2017, 79, 308–332. [Google Scholar] [CrossRef]
  27. Ke, G.; Meng, Q.; Finley, T.; Wang, T.; Chen, W.; Ma, W.; Ye, Q.; Liu, T. LightGBM: A Highly Efficient Gradient Boosting Decision Tree. In Proceedings of the Advances in Neural Information Processing Systems 30: Annual Conference on Neural Information Processing Systems 2017, Long Beach, CA, USA, 4–9 December 2017; pp. 3146–3154. [Google Scholar]
  28. Friedman, J.H. Greedy Function Approximation: A Gradient Boosting Machine. Ann. Stat. 2001, 29, 1189–1232. [Google Scholar] [CrossRef]
  29. Liu, B. Short-Term Demand Forecast of Shared Bicycle Based on LightGBM. Mod. Inf. Technol. 2022, 6. [Google Scholar]
  30. Machado, M.R.; Karray, S.; de Sousa, I.T. LightGBM: An Effective Decision Tree Gradient Boosting Method to Predict Customer Loyalty in the Finance Industry. In Proceedings of the 14th International Conference on Computer Science & Education, ICCSE 2019, Toronto, ON, Canada, 19–21 August 2019; pp. 1111–1116. [Google Scholar]
  31. Wang, F.; Wang, F.; Wang, Y.; Bian, C. Bus Travel Time Prediction Based on Light Gradient Boosting Machine Algorithm. J. Transp. Syst. Eng. Inf. Technol. 2019, 19, 116–121. [Google Scholar]
  32. Akiba, T.; Sano, S.; Yanase, T.; Ohta, T.; Koyama, M. Optuna: A next-generation hyperparameter optimization framework. In Proceedings of the 25th ACM SIGKDD International Conference on Knowledge Discovery & Data Mining, Anchorage, AK, USA, 4–8 August 2019; pp. 2623–2631. [Google Scholar]
Figure 1. Overall architecture diagram.
Figure 1. Overall architecture diagram.
Sustainability 16 05581 g001
Figure 2. Schematic diagram of ETC data and GPS data fusion.
Figure 2. Schematic diagram of ETC data and GPS data fusion.
Sustainability 16 05581 g002
Figure 3. Schematic diagram of service area entry detection algorithm.
Figure 3. Schematic diagram of service area entry detection algorithm.
Sustainability 16 05581 g003
Figure 4. Different types of vehicles and speed distributions.
Figure 4. Different types of vehicles and speed distributions.
Sustainability 16 05581 g004
Figure 5. Probability density diagram of passenger car speed distribution.
Figure 5. Probability density diagram of passenger car speed distribution.
Sustainability 16 05581 g005
Figure 6. Probability density diagram of passenger and truck speed distributions.
Figure 6. Probability density diagram of passenger and truck speed distributions.
Sustainability 16 05581 g006
Figure 7. Box plot of the distribution of different axle numbers and speeds.
Figure 7. Box plot of the distribution of different axle numbers and speeds.
Sustainability 16 05581 g007
Figure 8. Speed change curves of different types of vehicles.
Figure 8. Speed change curves of different types of vehicles.
Sustainability 16 05581 g008
Figure 9. Box plot of user travel time.
Figure 9. Box plot of user travel time.
Sustainability 16 05581 g009
Figure 10. Variance and standard deviation of user travel time.
Figure 10. Variance and standard deviation of user travel time.
Sustainability 16 05581 g010
Figure 11. Schematic diagram of historical time slice speed characteristics.
Figure 11. Schematic diagram of historical time slice speed characteristics.
Sustainability 16 05581 g011
Figure 12. Feature vector correlation analysis.
Figure 12. Feature vector correlation analysis.
Sustainability 16 05581 g012
Figure 13. Analysis of eigenvector contribution.
Figure 13. Analysis of eigenvector contribution.
Sustainability 16 05581 g013
Figure 14. Vehicle arrival time estimation error.
Figure 14. Vehicle arrival time estimation error.
Sustainability 16 05581 g014
Figure 15. Prediction effects and analysis within different section distance ranges. (a) Comparison chart of absolute errors of different section lengths. (b) Distance frequency chart of expressway sections in a province.
Figure 15. Prediction effects and analysis within different section distance ranges. (a) Comparison chart of absolute errors of different section lengths. (b) Distance frequency chart of expressway sections in a province.
Sustainability 16 05581 g015
Figure 16. Prediction effects and analysis within different section distance ranges. (a) Vehicle A parking point. (b) Vehicle B parking point.
Figure 16. Prediction effects and analysis within different section distance ranges. (a) Vehicle A parking point. (b) Vehicle B parking point.
Sustainability 16 05581 g016
Figure 17. Schematic diagram of the queue at the C-car toll plaza.
Figure 17. Schematic diagram of the queue at the C-car toll plaza.
Sustainability 16 05581 g017
Figure 18. Speed change diagram of D car section.
Figure 18. Speed change diagram of D car section.
Sustainability 16 05581 g018
Table 1. Field description of some ETC transaction data.
Table 1. Field description of some ETC transaction data.
NumberFieldField DescriptionExample
1passidTransaction ID35000000000305
2tradetimeTrading time2024/3/9 20:48:39
3flagidGantry number350,817
4enstationEntrance toll station number4607
5entimeEntrance time2024/3/9 18:49:39
6obuplateVehicle licenseF00001
7vehclassVehicle type1
8AxiscountNumber of axles2
Table 2. Classification of toll vehicle types.
Table 2. Classification of toll vehicle types.
VehclassBusVehclassTruckVehclassSpecial-Purpose Vehicle
1Category I passengercars (≤9 passengers)11Category I trucks (2 axles)21Category I Special-purpose Vehicle (2 axles)
2Category II passenger cars (10–19 people)12Category II trucks (2 axles)22Category II Special-purpose Vehicle (2 axles)
3Category III passengercars (≤39 passengers)13Category III trucks (3 axles)23Category III Special-purpose Vehicle (3 axles)
4Category IV passenger cars (≥40 passengers)14Category IV trucks (4 axles)24Category IV Special-purpose Vehicle (4 axles)
15Category V trucks (5 axles)25Category V Special-purpose Vehicle (5 axles)
16Category VI trucks (6 axles)26Category VI Special-purpose Vehicle (≥6 axles)
Table 3. GPS Data Table.
Table 3. GPS Data Table.
NumberFieldData TypeField DescriptionExample
1plateStringVehicle licenseF00001
2subtimeDateTimeUpload time2024/3/9 20:48:39
3loctimeDateTimePositioning time2024/3/9 20:49:39
4lngFloat64Latitude117.26
5latFloat64Longitude26.367
6speedFloat32Speed70
7angleFloat32Direction angle20
Table 4. Pearson correlation coefficient for time slices.
Table 4. Pearson correlation coefficient for time slices.
Time Slice T 1 T 2 T 3 T 4 T 5 T 6 T 7 T 8
γ 0.980.840.560.410.360.330.250.27
Table 5. Experimental dataset split.
Table 5. Experimental dataset split.
DatasetNumber of SamplesProportion
Training Set3815680%
Testing Set476910%
Validation Set476910%
Table 6. Examples of vehicle trip arrival time estimation feature vectors.
Table 6. Examples of vehicle trip arrival time estimation feature vectors.
Plate α 1 α 2 α 3 α 4 β 1 β 2 β 3 β 4 δ 1 δ 2 δ 3 γ 1 γ 2 θ 1
A000001102.644.376.0371.352.558.657.875.90.40.30.3213.8
A00000273.735.758.083.975.878.375.781.60.20.50.32115.7
Note: Each attribute unit is: α 1 α 4 : km/h; β 1 β 4 : km/h.
Table 7. Best combination of parameters.
Table 7. Best combination of parameters.
ParameterSearch RangeOptimal Value
LightGBM Parameterslambda_l1[ 1 × 10 8 , 10.0] 1.1953 × 10 5
lambda_l2[ 1 × 10 8 , 10.0]0.0299
num_leaves[2, 256]211
feature_fraction[0.4, 1.0]0.9911
bagging_fraction[0.4, 1.0]0.739
bagging_freq[1, 7]4
min_child_samples[5, 100]7
Table 8. Model optimization comparison.
Table 8. Model optimization comparison.
No Service AreaService Area
ModelMAERMSER2MAERMSER2
LGBM without Optuna33.00189.5770.9145127.11696.720.2411
LGBM With Optuna20.08532.5800.9806122.62661.670.3155
Table 9. Comparison of segment travel time predictions.
Table 9. Comparison of segment travel time predictions.
ModelRMSEMSEMAER2Var
SVR246.6916.904223.770.35120.8027
DTR172.258.242137.6470.68360.6836
LR105.813.109954.5250.88060.8806
KNR105.143.070944.9020.88210.8823
GBR95.1042.512436.0750.90360.9036
RF92.1812.360339.6710.90940.9094
LSTM85.6382.037129.1610.92180.9218
LightGBM32.5800.294820.0850.98060.9806
Disclaimer/Publisher’s Note: The statements, opinions and data contained in all publications are solely those of the individual author(s) and contributor(s) and not of MDPI and/or the editor(s). MDPI and/or the editor(s) disclaim responsibility for any injury to people or property resulting from any ideas, methods, instructions or products referred to in the content.

Share and Cite

MDPI and ACS Style

Lai, S.; Xu, H.; Luo, Y.; Zou, F.; Hu, Z.; Zhong, H. Expressway Vehicle Arrival Time Estimation Algorithm Based on Electronic Toll Collection Data. Sustainability 2024, 16, 5581. https://doi.org/10.3390/su16135581

AMA Style

Lai S, Xu H, Luo Y, Zou F, Hu Z, Zhong H. Expressway Vehicle Arrival Time Estimation Algorithm Based on Electronic Toll Collection Data. Sustainability. 2024; 16(13):5581. https://doi.org/10.3390/su16135581

Chicago/Turabian Style

Lai, Shukun, Hongke Xu, Yongyu Luo, Fumin Zou, Zerong Hu, and Huan Zhong. 2024. "Expressway Vehicle Arrival Time Estimation Algorithm Based on Electronic Toll Collection Data" Sustainability 16, no. 13: 5581. https://doi.org/10.3390/su16135581

APA Style

Lai, S., Xu, H., Luo, Y., Zou, F., Hu, Z., & Zhong, H. (2024). Expressway Vehicle Arrival Time Estimation Algorithm Based on Electronic Toll Collection Data. Sustainability, 16(13), 5581. https://doi.org/10.3390/su16135581

Note that from the first issue of 2016, this journal uses article numbers instead of page numbers. See further details here.

Article Metrics

Back to TopTop