Adoption of Building Information Modelling in the Saudi Construction Industry: An Interpretive Structural Modelling
Abstract
1. Introduction
2. Literature Review
3. Research Methodology
3.1. Hybrid Approach
- (i)
- Systematic meetings and a literature review assisted in defining the factors to be considered when evaluating the value.
- (ii)
- By comparing the detected elements, the conceptual link between them was established.
- (iii)
- A structural self-interaction matrix (SSIM) that may represent outcomes was built by accurately identifying the components.
- (iv)
- The SSIM was used to generate a reachability matrix (RM), which was used to assess a transition matrix. Using the integers 0 and 1, the RM was converted into a binary matrix. If factor S is linked to factor D and factor D is linked to factor F, then factor S relates to the essential tenet of ISM, which is linked to factor F, according to the transition rule of the factor’s conceptual relationship. If factor S is linked to factor D, and factor D is linked to factor F, then factor S is linked to an ISM basic notion.
- (v)
- The RM was categorized step-by-step, based on the findings of the fourth phase.
- (vi)
- Based on the staged matrices, a directed graph was created, which removed the transition connection from the RM. In addition, directed graphs were transformed into the ISM-based model to modify the nodes connecting each component.
3.2. Structural Analysis
3.3. Analysis Based on the ISM
3.4. Analysis of the Contextual Relationship and SSIM
- (i)
- V: i impacts j, but j does not influence i.
- (ii)
- A: barrier j impacts i but i does not influence barrier j.
- (iii)
- X: barrier i affects barrier j, and j influences barrier i.
- (iv)
- O: there are no relationships between components i and j.
3.5. Analysis of RM
- (i)
- “(i, j) = 1 and (j, i) = 0 in the initial RM if (i, j) is V in SSIM”
- (ii)
- “(i, j) = 0 and (j, i) = 1 in the initial RM if (i, j) is A in SSIM”
- (iii)
- “(i, j) = 1 and (j, i) = 1 in the initial RM if (i, j) is X in SSIM”
- (iv)
- “(i, j) = 0 and (j, i) = 0 in the initial RM if (i, j) is O in SSIM”
4. Results
4.1. Descriptive Analysis
4.2. Contextual Relationship and SSIM
4.3. Analysis of Initial Reachable Matrix (IRM)
4.4. Establishment of Final Reachable Matrix (FRM)
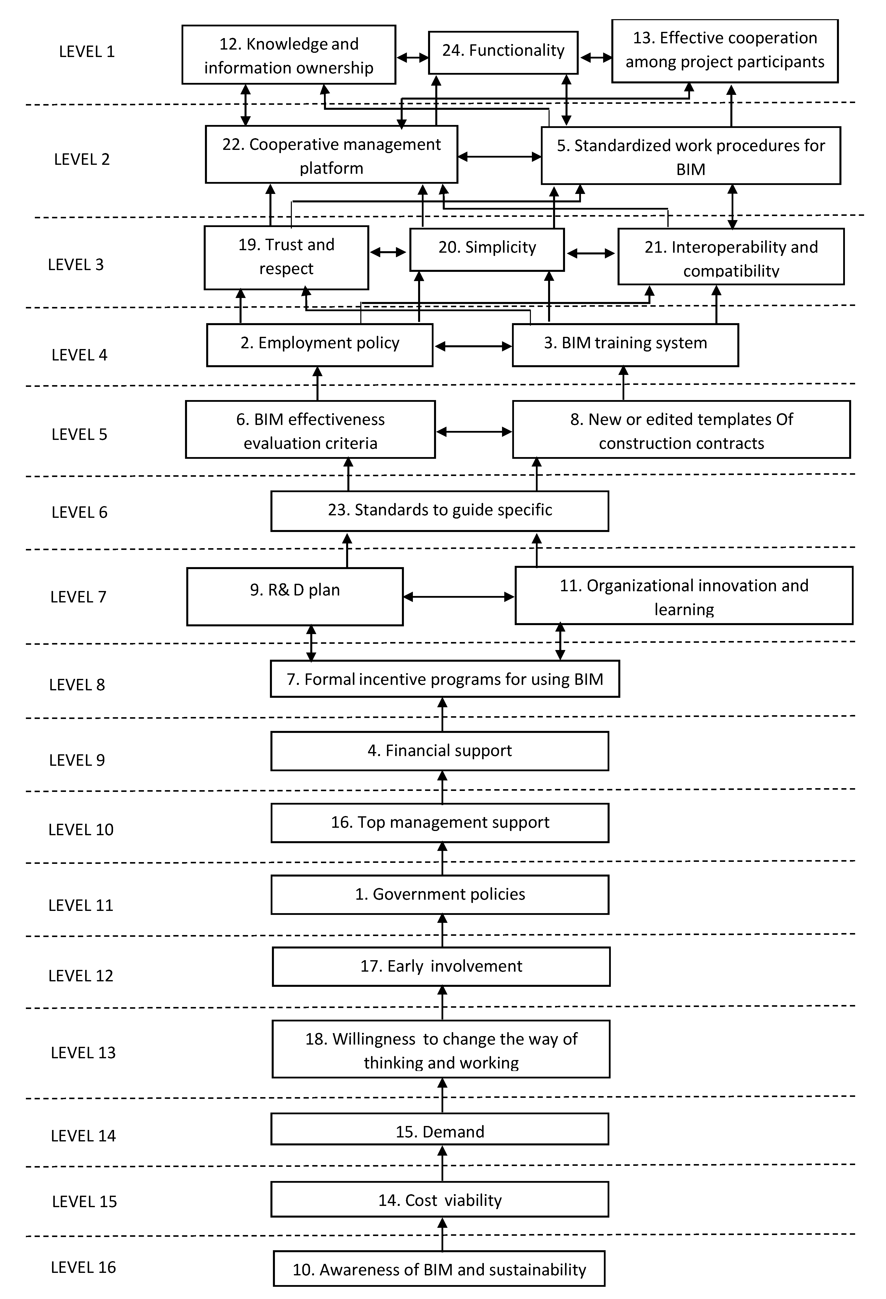
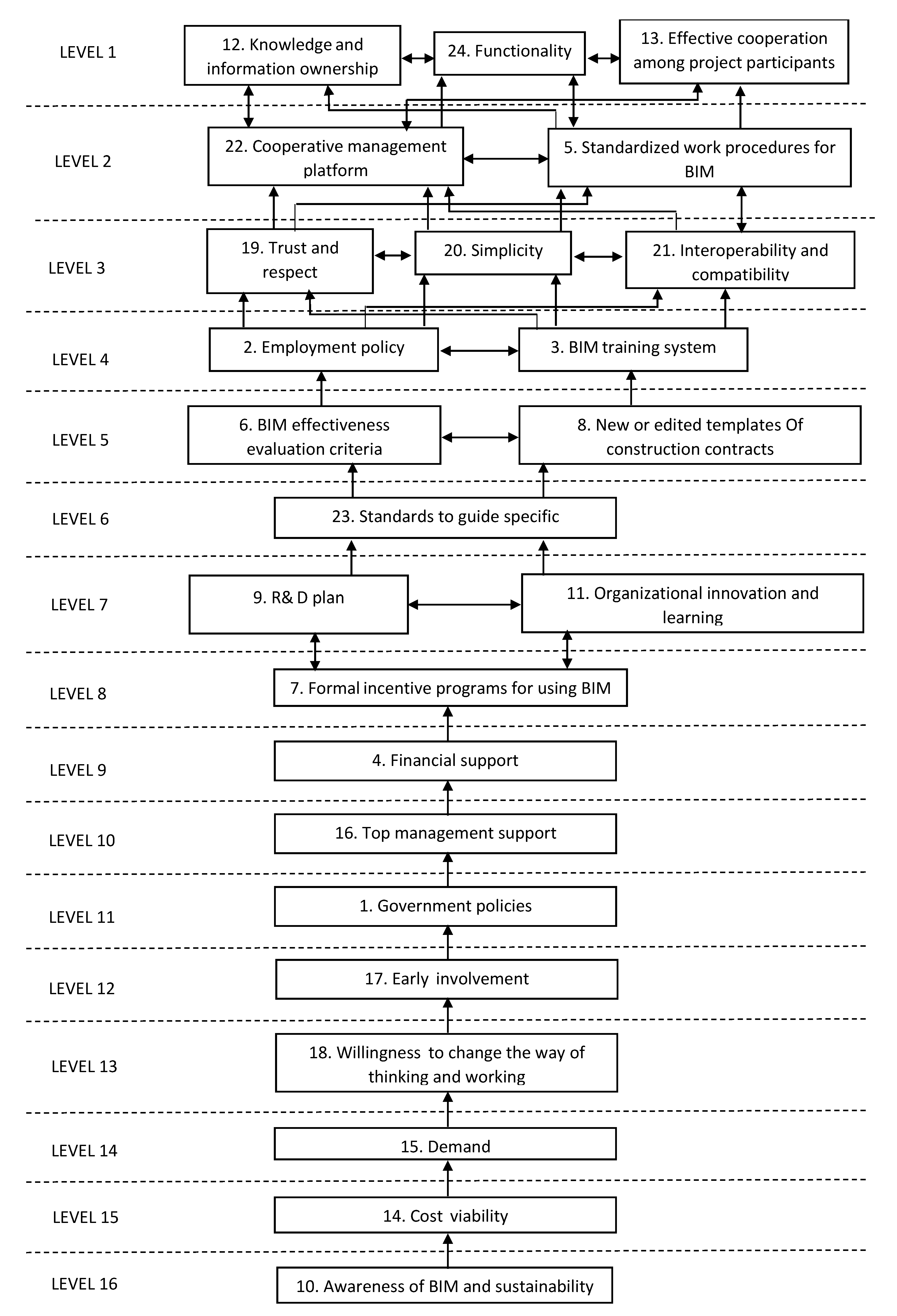
4.5. Hierarchical Analysis
4.6. MICMAC Analysis
5. Discussion
5.1. Top Management Support
5.2. Financial Support
5.3. Government Policies
5.4. Effective Cooperation among Project Participants
5.5. BIM Training System
6. Conclusions
Author Contributions
Funding
Institutional Review Board Statement
Informed Consent Statement
Data Availability Statement
Conflicts of Interest
References
- Mesároš, P.; Mandičák, T. Exploitation and Benefits of BIM in Construction Project Management. In IOP Conference Series: Materials Science and Engineering; IOP Publishing: Bristol, UK, 2017; Volume 245. [Google Scholar]
- Tkáč, M.; Mesároš, P.; Mandičák, T. Terrestrial Laser Scanning—Effective Technology for Creating Building Information Models. Pollack Period. 2018, 13, 61–72. [Google Scholar] [CrossRef]
- Zhu, X. Introduction: From the Industrial Economy to the Digital Economy: A Giant Leap—Research on the “1 + 10” Framework of the Digital Economy; Springer: New York, NY, USA, 2019. [Google Scholar]
- McAuley, B.; Hore, A.; West, R. BICP Global BIM Study-Lessons for Ireland’s BIM Programme; Dublin Institute of Technology: Dublin, Ireland, 2017. [Google Scholar]
- ASTM Standard G102-89; Standard Practice for Calculation of Corrosion Rates and Related Information from Electrochemical Measurement. ASTM Standard: West Conshohocken, PA, USA, 2010.
- Jiang, R.; Wu, C.; Lei, X.; Shemery, A.; Hampson, K.D.; Wu, P. Government Efforts and Roadmaps for Building Information Modeling Implementation: Lessons from Singapore, the UK and the US. Eng. Constr. Archit. Manag. 2022, 29, 782–818. [Google Scholar] [CrossRef]
- Mah, C.M.; Fujiwara, T.; Ho, C.S. Construction and Demolition Waste Generation Rates for High-Rise Buildings in Malaysia. Waste Manag. Res. 2016, 34, 1224–1230. [Google Scholar] [CrossRef]
- Mishrif, A. Introduction to Economic Diversification in the GCC Region. In Economic Diversification in the Gulf Region; Springer: New York, NY, USA, 2018; Volume I, pp. 1–26. [Google Scholar]
- Pavón, R.M.; Arcos Alvarez, A.A.; Alberti, M.G. BIM-Based Educational and Facility Management of Large University Venues. Appl. Sci. 2020, 10, 7976. [Google Scholar] [CrossRef]
- Sharma, S.; Soederberg, S. Redesigning the Business of Development: The Case of the World Economic Forum and Global Risk Management. Rev. Int. Polit. Econ. 2020, 27, 828–854. [Google Scholar] [CrossRef]
- Liao, L.; Teo, E.A.L. Critical Success Factors for Enhancing the Building Information Modelling Implementation in Building Projects in Singapore. J. Civ. Eng. Manag. 2017, 23, 1029–1044. [Google Scholar] [CrossRef]
- Sovacool, B.K.; Axsen, J.; Sorrell, S. Promoting Novelty, Rigor, and Style in Energy Social Science: Towards Codes of Practice for Appropriate Methods and Research Design. Energy Res. Soc. Sci. 2018, 45, 12–42. [Google Scholar] [CrossRef]
- Doh, J.P.; Lawton, T.C.; Rajwani, T. Advancing Nonmarket Strategy Research: Institutional Perspectives in a Changing World. Acad. Manag. Perspect. 2012, 26, 22–39. [Google Scholar] [CrossRef]
- Yin, S.H.; Wang, C.C.; Teng, L.Y.; Hsing, Y.M. Application of DEMATEL, ISM, and ANP for Key Success Factor (KSF) Complexity Analysis in R&D Alliance. Sci. Res. Essays 2012, 7, 1872–1890. [Google Scholar] [CrossRef]
- Okakpu, A.; GhaffarianHoseini, A.; Tookey, J.; Haar, J.; Ghaffarianhoseini, A. Exploring the Environmental Influence on BIM Adoption for Refurbishment Project Using Structural Equation Modelling. Archit. Eng. Des. Manag. 2020, 16, 41–57. [Google Scholar] [CrossRef]
- Langfred, C.W. The Paradox of Self-Management: Individual and Group Autonomy in Work Groups. J. Organ. Behav. 2000, 21, 563–585. [Google Scholar] [CrossRef]
- Abazid, M.; Gökçekuş, H.; Çelik, T. Implementation of TQM and the Integration of BIM in the Construction Management Sector in Saudi Arabia. Adv. Mater. Sci. Eng. 2021, 2021, 1–9. [Google Scholar] [CrossRef]
- Elhendawi, A.; Smith, A.; Elbeltagi, E. Methodology for BIM Implementation in the Kingdom of Saudi Arabia. Int. J. BIM Eng. Sci. 2018, 2, 1–20. [Google Scholar] [CrossRef]
- Alhumayn, S.; Chinyio, E.; Ndekugri, I. The Barriers and Strategies of Implementing BIM in Saudi Arabia. In WIT Transactions on the Built Environment; WIT Press: New Forest, UK, 2017; Volume 169, pp. 55–67. [Google Scholar]
- Saka, A.B.; Chan, D.W.M. Adoption and Implementation of Building Information Modelling (BIM) in Small and Medium-Sized Enterprises (SMEs): A Review and Conceptualization. Eng. Constr. Archit. Manag. 2020, 28, 1829–1862. [Google Scholar] [CrossRef]
- Ngo, T.V.N. Implementation of Building Information Model (BIM) in Terms of Quantity Takeoff (QTO) and Estimation at Construction Consultant Company in Vietnam; Metropolia Ammattikorkeakoulu: Helsinki, Finland, 2018. [Google Scholar]
- Eadie, R.; Browne, M.; Odeyinka, H.; McKeown, C.; McNiff, S. BIM Implementation throughout the UK Construction Project Lifecycle: An Analysis. Autom. Constr. 2013, 36, 145–151. [Google Scholar] [CrossRef]
- Hetemi, E.; Ordieres-Meré, J.; Nuur, C. An Institutional Approach to Digitalization in Sustainability-Oriented Infrastructure Projects: The Limits of the Building Information Model. Sustainability 2020, 12, 3893. [Google Scholar] [CrossRef]
- Phang, T.C.H.; Chen, C.; Tiong, R.L.K. New Model for Identifying Critical Success Factors Influencing BIM Adoption from Precast Concrete Manufacturers’ View. J. Constr. Eng. Manag. 2020, 146, 4020014. [Google Scholar] [CrossRef]
- Tsai, M.H.; Mom, M.; Hsieh, S.H. Developing Critical Success Factors for the Assessment of BIM Technology Adoption: Part I. Methodology and Survey. J. Chinese Inst. Eng. 2014, 37, 845–858. [Google Scholar] [CrossRef]
- Ma, L.; Liu, Y.; Zhang, X.; Ye, Y.; Yin, G.; Johnson, B.A. Deep Learning in Remote Sensing Applications: A Meta-Analysis and Review. ISPRS J. Photogramm. Remote Sens. 2019, 152, 166–177. [Google Scholar] [CrossRef]
- Ozorhon, B.; Karahan, U. Critical Success Factors of Building Information Modeling Implementation. J. Manag. Eng. 2017, 33, 4016054. [Google Scholar] [CrossRef]
- De Brito, D.M.; de Ferreira, E.A.M.; Costa, D.B. Framework for Building Information Modeling Adoption Based on Critical Success Factors from Brazilian Public Organizations. J. Constr. Eng. Manag. 2021, 147, 5021004. [Google Scholar] [CrossRef]
- Ebekozien, A.; Abdul-Aziz, A.R.; Jaafar, M. Mitigating High Development Cost of Low-Cost Housing: Findings from an Empirical Investigation. Int. J. Constr. Manag. 2021, 2021, 1–20. [Google Scholar] [CrossRef]
- Olanrewaju, A.S.T.; Hossain, M.A.; Whiteside, N.; Mercieca, P. Social Media and Entrepreneurship Research: A Literature Review. Int. J. Inf. Manage. 2020, 50, 90–110. [Google Scholar] [CrossRef]
- Alaboud, N.S.M. Development of a Framework to Enhance Communication Practice for Site-Based Construction Workers in The Kingdom of Saudi Arabia Naif. In Proceedings of the Global Conference on Engineering and Technology Management “Gaining Competitive Edge through Engineering and Technology Management” (GCETM), Istanbul, Turkey, 23–26 June 2014; pp. 160–166. [Google Scholar]
- Al-Hammadi, M.A.; Tian, W. Challenges and Barriers of Building Information Modeling Adoption in the Saudi Arabian Construction Industry. Open Constr. Build. Technol. J. 2020, 14, 98–110. [Google Scholar] [CrossRef]
- Kong, S.W.R.; Lau, L.T.; Wong, S.Y.; Phan, D.T. A Study on Effectiveness of Building Information Modelling (BIM) on the Malaysian Construction Industry. In IOP Conference Series: Materials Science and Engineering; IOP Publishing: Bristol, UK, 2020; Volume 713. [Google Scholar]
- Zahrizan, Z.; Ali, N.; Haron, A.; Marshall-Ponting, A.; Hamid, Z. Exploring the Adoption of Building Information Modelling (BIM) in the Malaysian Construction Industry: A Qualitative Approach. Int. J. Res. Eng. Technol. 2013, 2, 384–395. [Google Scholar] [CrossRef]
- Abubakar, M.; Ibrahim, Y.M.; Kado, D.; Bala, K. Contractors Perception of the Factors Affecting Building Information Modelling (BIM) Adoption in the Nigerian Construction Industry. In Proceedings of the Computing in Civil and Building Engineering—Proceedings of the 2014 International Conference on Computing in Civil and Building Engineering, Orlando, FL, USA, 23–25 June 2014; pp. 167–178. [Google Scholar]
- Olanrewaju, O.I.; Chileshe, N.; Babarinde, S.A.; Sandanayake, M. Investigating the Barriers to Building Information Modeling (BIM) Implementation within the Nigerian Construction Industry. Eng. Constr. Archit. Manag. 2020, 27, 2931–2958. [Google Scholar] [CrossRef]
- Olbina, S.; Elliott, J.W. Contributing Project Characteristics and Realized Benefits of Successful BIM Implementation: A Comparison of Complex and Simple Buildings. Buildings 2019, 9, 175. [Google Scholar] [CrossRef]
- Amuda-Yusuf, G. Critical Success Factors for Building Information Modelling. Constr. Econ. Build. 2018, 18, 55–73. [Google Scholar] [CrossRef]
- Shaikh, A.A.; Raju, R.; Malim, N.L.; Jayaraj, G.K. Awareness and Adoption of BIM in Construction Industry. Int. J. Recent Innov. Trends Comput. Commun. 2016, 4, 204–208. [Google Scholar]
- Zahidy, A.A.; Sorooshian, S.; Hamid, Z.A. Critical Success Factors for Corporate Social Responsibility Adoption in the Construction Industry in Malaysia. Sustainability 2019, 11, 6411. [Google Scholar] [CrossRef]
- Monteiro, A.; Mêda, P.; Poças Martins, J. Framework for the Coordinated Application of Two Different Integrated Project Delivery Platforms. Autom. Constr. 2014, 38, 87–99. [Google Scholar] [CrossRef]
- Wang, W.; Gao, S.; Mi, L.; Xing, J.; Shang, K.; Qiao, Y.; Fu, Y.; Ni, G.; Xu, N. Exploring the Adoption of BIM amidst the COVID-19 Crisis in China. Build. Res. Inf. 2021, 49, 930–947. [Google Scholar] [CrossRef]
- Lu, W.; Zhang, D.; Rowlinson, S. How Important Is Inter-Organizational Collaboration to the Success of Construction Project BIM Implementation. In Proceedings of the CIB World Building Congress, Brisbane, Australia, 5–9 May 2013; p. 12. [Google Scholar]
- Kiviniemi, A.; Tarandi, V.; Karlshøj, J.; Bell, H.; Karud, O.J. Review of the Development and Implementation of IFC Compatible BIM Executive Summary; ERA Build: Bracknell, UK, 2008; pp. 1–2. [Google Scholar]
- Succar, B.; Kassem, M. Macro-BIM Adoption: Conceptual Structures. Autom. Constr. 2015, 57, 64–79. [Google Scholar] [CrossRef]
- Mirhosseini, S.A.; Mavi, R.K.; Mavi, N.K.; Abbasnejad, B.; Rayani, F. Interrelations among Leadership Competencies of BIM Leaders: A Fuzzy DEMATEL-ANP Approach. Sustainabiliy 2020, 12, 7830. [Google Scholar] [CrossRef]
- Baharom, M.H.; Habib, S.N.H.A.; Ismail, S. Building Information Modelling (Bim): Contractual Issues of Intellectual Property Rights (Ipr) in Construction Projects. Int. J. Sustain. Constr. Eng. Technol. 2021, 12, 170–178. [Google Scholar] [CrossRef]
- Ding, Z.; Zheng, K.; Tan, Y. BIM Research vs BIM Practice: A Bibliometric-Qualitative Analysis from China. Eng. Constr. Archit. Manag. 2022, 29, 3520–3546. [Google Scholar] [CrossRef]
- Alreshidi, E.; Mourshed, M.; Rezgui, Y. Factors for Effective BIM Governance. J. Build. Eng. 2017, 10, 89–101. [Google Scholar] [CrossRef]
- Silius-Miettinen, P.; Kähkönen, K. Contractual and Ownership Aspects for BIM. In Proceedings of the Shaping Tomorrow’s Built Environment International Research Conference, Salford, UK, 11–12 September 2017; pp. 177–188. [Google Scholar]
- Won, J.; Lee, G.; Dossick, C.; Messner, J. Where to Focus for Successful Adoption of Building Information Modeling within Organization. J. Constr. Eng. Manag. 2013, 139, 4013014. [Google Scholar] [CrossRef]
- Zhao, X.; Feng, Y.; Pienaar, J.; O’Brien, D. Modelling Paths of Risks Associated with BIM Implementation in Architectural, Engineering and Construction Projects. Archit. Sci. Rev. 2017, 60, 472–482. [Google Scholar] [CrossRef]
- Abbasnejad, B.; Nepal, M.P.; Ahankoob, A.; Nasirian, A.; Drogemuller, R. Building Information Modelling (BIM) Adoption and Implementation Enablers in AEC Firms: A Systematic Literature Review. Archit. Eng. Des. Manag. 2020, 17, 411–433. [Google Scholar] [CrossRef]
- Liao, L.; Teo, E.A.L. Managing Critical Drivers for Building Information Modelling Implementation in the Singapore Construction Industry: An Organizational Change Perspective. Int. J. Constr. Manag. 2019, 19, 240–256. [Google Scholar] [CrossRef]
- Sun, C.; Jiang, S.; Skibniewski, M.J.; Man, Q.; Shen, L. A Literature Review of the Factors Limiting the Application of BIM in the Construction Industry. Technol. Econ. Dev. Econ. 2017, 23, 764–779. [Google Scholar] [CrossRef]
- Olanrewaju, O.I.; Kineber, A.F.; Chileshe, N.; Edwards, D.J. Modelling the Impact of Building Information Modelling (Bim) Implementation Drivers and Awareness on Project Lifecycle. Sustainability 2021, 13, 8887. [Google Scholar] [CrossRef]
- Rodrigues, I.M.A. Bim Execution Plan (Bep) To Infrastructure Superintendence of the Federal University of Pernambuco. In BIM Handbook: A Guide to Building Information Modeling for Owners, Designeers, Contractors, and Facility Managers; Sacks, R., Eastman, C., Ghang, L., Teicholz, P., Eds.; John and Wiley and Sons: Hoboken, NJ, USA, 2020; pp. 1–23. ISBN 2013206534. [Google Scholar]
- Shen, L.; Edirisinghe, R.; Miang Goh, Y. An Investigation of BIM Readiness of Owners and Facility Managers in Singapore: Institutional Case Study. In Proceedings of the 20th CIB World Building Congress 2016, Tampere, Finland, 30 May–3 June 2016; pp. 259–270. [Google Scholar]
- Ngowtanasawan, G. A Causal Model of BIM Adoption in the Thai Architectural and Engineering Design Industry. Procedia Eng. 2017, 180, 793–803. [Google Scholar] [CrossRef]
- Mamter, S.; Aziz, A.R.A.; Zulkepli, J. Root Causes Occurrence of Low BIM Adoption in Malaysia: System Dynamics Modelling Approach. In AIP Conference Proceedings; AIP Publishing LLC: Melville, NY, USA, 2017; Volume 1903. [Google Scholar]
- Li, P.; Zheng, S.; Si, H.; Xu, K. Critical Challenges for BIM Adoption in Small and Medium-Sized Enterprises: Evidence from China. Adv. Civ. Eng. 2019, 2019, 1–4. [Google Scholar] [CrossRef]
- Memon, A.H.; Rahman, I.A.; Memon, I.; Azman, N.I.A. BIM in Malaysian Construction Industry: Status, Advantages, Barriers and Strategies to Enhance the Implementation Level. Res. J. Appl. Sci. Eng. Technol. 2014, 8, 606–614. [Google Scholar] [CrossRef]
- Liu, R.; Issa, R.R.A. Issues in BIM for Facility Management from Industry Practitioners’ Perspectives. In Proceedings of the ASCE International Workshop on Computing in Civil Engineering, Los Angeles, CA, USA, 23–25 June 2013; pp. 411–418. [Google Scholar] [CrossRef]
- Durdyev, S.; Dehdasht, G.; Mohandes, S.R.; Edwards, D.J. Review of the Building Information Modelling (BIM) Implementation in the Context of Building Energy Assessment. Energies 2021, 14, 8487. [Google Scholar] [CrossRef]
- Beaufils, M.; Grellet, S.; Le Hello, B.; Lorentz, J.; Beaudouin, M.; Castro Moreno, J. Geotechnical Data Standardization and Management to Support BIM for Underground Infrastructures and Tunnels. In Tunnels and Underground Cities: Engineering and Innovation meet Archaeology, Architecture and Art; CRC Press: Boca Raton, FL, USA, 2019; pp. 655–664. [Google Scholar] [CrossRef]
- Chan, C.T.W. Barriers of Implementing BIM in Construction Industry from the Designers’ Perspective: A Hong Kong Experience. ISSN J. Syst. Manag. Sci. J. Syst. Manag. Sci. 2014, 4, 1816–6075. [Google Scholar]
- Morlhon, R.; Pellerin, R.; Bourgault, M. Building Information Modeling Implementation through Maturity Evaluation and Critical Success Factors Management. Procedia Technol. 2014, 16, 1126–1134. [Google Scholar] [CrossRef]
- Stanley, R.; Thurnell, D. The Benefits of, and Barriers to, Implementation of 5D BIM for Quantity Surveying in New Zealand. Australas. J. Constr. Econ. Build. 2014, 14, 105–117. [Google Scholar] [CrossRef]
- Sidawi, B.; Omairi, S. Al An Exploration of the Potential Use of a Web-Based Project Management System To Manage Construction. Engineering 2010, 15, 67–74. [Google Scholar]
- Son, H.; Lee, S.; Kim, C. What Drives the Adoption of Building Information Modeling in Design Organizations? An Empirical Investigation of the Antecedents Affecting Architects’ Behavioral Intentions. Autom. Constr. 2015, 49, 92–99. [Google Scholar] [CrossRef]
- Huynh, S.; Ärlebrant, J. Tally, Ett LCA-Verktyg i BIM. TVIT-5000. 2020. Available online: https://lup.lub.lu.se/luur/download?func=downloadFile&recordOId=9015421&fileOId=9015434 (accessed on 6 January 2023).
- Pallant, J. SPSS Survival Manual: A Step by Step Guide to Data Analysis Using IBM SPSS; Routledge: London, UK, 2020; Volume 37. [Google Scholar]
- Warfield, J.N. Developing Subsystem Matrices in Structural Modeling. IEEE Trans. Syst. Man Cybern. 1974, 4, 74–80. [Google Scholar] [CrossRef]
- Stewart, A. Making the Scene: Contemporary New York City Big Band Jazz; University of California Press: Oakland, CA, USA, 2007; ISBN 9780520940161. [Google Scholar]
- Whitmarsh, L. Are Flood Victims More Concerned about Climate Change than Other People? The Role of Direct Experience in Risk Perception and Behavioural Response. J. Risk Res. 2008, 11, 351–374. [Google Scholar] [CrossRef]
- Aldossari, K.M.; Lines, B.C.; Smithwick, J.B.; Hurtado, K.C.; Sullivan, K.T. Employee Reactions to Adoption of Alternative Project Delivery Methods within the AEC Industry. Int. J. Constr. Educ. Res. 2021, 2021, 4–21. [Google Scholar] [CrossRef]
- Xiao, L.; Pan, T.; Mou, J.; Huang, L. Understanding Determinants of Social Networking Service Fatigue: An Interpretive Structural Modeling Approach; Information Technology & People: Bingley, UK, 2022; Volume 35. [Google Scholar]
- Patil, N.Y.; Warkhedkar, R.M. Knowledge Management Implementation in Indian Automobile Ancillary Industries: An Interpretive Structural Model for Productivity. J. Model. Manag. 2016, 11, 802–810. [Google Scholar] [CrossRef]
- Movahedipour, M.; Zeng, J.; Yang, M.; Wu, X. An ISM Approach for the Barrier Analysis in Implementing Sustainable Supply Chain Management: An Empirical Study. Manag. Decis. 2017, 55, 1824–1850. [Google Scholar] [CrossRef]
- Mao, X.J.; Shen, C.; Yang, Y. Bin Image Restoration Using Very Deep Convolutional Encoder-Decoder Networks with Symmetric Skip Connections. Adv. Neural Inf. Process. Syst. 2016, 29, 2810–2818. [Google Scholar]
- Elhag, T.M.S.; Boussabaine, A.H.; Ballal, T.M.A. Critical Determinants of Construction Tendering Costs: Quantity Surveyors’ Standpoint. Int. J. Proj. Manag. 2005, 23, 538–545. [Google Scholar] [CrossRef]
- Uhm, M.; Lee, G.; Jeon, B. An Analysis of BIM Jobs and Competencies Based on the Use of Terms in the Industry. Autom. Constr. 2017, 81, 67–98. [Google Scholar] [CrossRef]
- Succar, B.; Sher, W.; Williams, A. An Integrated Approach to BIM Competency Assessment, Acquisition and Application. Autom. Constr. 2013, 35, 174–189. [Google Scholar] [CrossRef]
- Turner, J.R.; Müller, R. The Project Manager’s Leadership Style as a Success Factor on Projects: A Literature Review. Proj. Manag. J. 2005, 36, 49–61. [Google Scholar] [CrossRef]
- da Silva, F.P.; Jerónimo, H.M.; Vieira, P.R. Leadership Competencies Revisited: A Causal Configuration Analysis of Success in the Requirements Phase of Information Systems Projects. J. Bus. Res. 2019, 101, 688–696. [Google Scholar] [CrossRef]
- Cao, D.; Li, H.; Wang, G.; Zhang, W. Linking the Motivations and Practices of Design Organizations to Implement Building Information Modeling in Construction Projects: Empirical Study in China. J. Manag. Eng. 2016, 32, 4016013. [Google Scholar] [CrossRef]
- Lee, S., II; Bae, J.S.; Cho, Y.S. Efficiency Analysis of Set-Based Design with Structural Building Information Modeling (S-BIM) on High-Rise Building Structures. Autom. Constr. 2012, 23, 20–32. [Google Scholar] [CrossRef]
- Saieg, P.; Sotelino, E.D.; Nascimento, D.; Caiado, R.G.G. Interactions of Building Information Modeling, Lean and Sustainability on the Architectural, Engineering and Construction Industry: A Systematic Review. J. Clean. Prod. 2018, 174, 788–806. [Google Scholar] [CrossRef]
- Herrera, L.; Nieto, M. The National Innovation Policy Effect According to Firm Location. Technovation 2008, 28, 540–550. [Google Scholar] [CrossRef]
- Lemola, T. Convergence of National Science and Technology Policies: The Case of Finland. Res. Policy 2002, 31, 1481–1490. [Google Scholar] [CrossRef]
- David, P.A.; Steinmueller, W.E. Economics of Compatibility Standards and Competition in Telecommunication Networks. Inf. Econ. Policy 1994, 6, 217–241. [Google Scholar] [CrossRef]
- Crick, J. Effective Team Communication; Blackwell Publishing Ltd.: Hoboken, NJ, USA, 2014; Volume 36, pp. 96–98. [Google Scholar] [CrossRef]
- Cooke, N.J.; Gorman, J.C.; Myers, C.W.; Duran, J.L. Interactive Team Cognition. Cogn. Sci. 2013, 37, 255–285. [Google Scholar] [CrossRef]
- Schaffer, R.H.; Stearn, J.M. The Rapid Results Package: Better Performance/Stronger Managers. Bus. Horiz. 2015, 58, 687–695. [Google Scholar] [CrossRef]
- Salvado, F.; de Almeida, N.M.; Azevedo, Á.V.E. Building Investment Index: A Decision-Making Tool to Optimize Long-Term Investment Decisions. In Advances in Science, Technology and Innovation; Springer: New York, NY, USA, 2021; pp. 243–246. [Google Scholar]
- Huang, Y. Developing a Modular Advanced BIM Course in Construction Management. J. Build. Constr. Plan. Res. 2018, 06, 198–214. [Google Scholar] [CrossRef]
- Sampaio, A.Z. Maturity of BIM Implementation in the Construction Industry: Governmental Policies. Int. J. Eng. Trends Technol. 2021, 69, 92–100. [Google Scholar] [CrossRef]


| Type | Factor | Definition/Description | References |
|---|---|---|---|
| Social | Awareness of BIM and sustainability benefits | BIM and sustainability success raises the awareness of their benefits among organizations. | [18,20,26,27,30,34,35,45] |
| Knowledge and information ownership | Some management-level employees may believe that sharing knowledge weakens their ability to govern and instruct, which jeopardizes their position. | [46,47,48,49,50] | |
| Effective cooperation among project participants | A BIM deployment must be supported by the whole organization. It requires a well-articulated vision from top leadership outlining the benefits of adopting the BIM process for the company. Additionally, members and personnel should facilitate sharing of the model with other project participants. | [18,26,27,51,52] | |
| Top management support | It has long been recognized that top management support is critical to the success of information systems projects. Because of the hierarchical structure of organizations, interactions between nested levels are possible. | [25,51,53] | |
| Willingness to change ways of thinking and working | Traditionally management in construction has been remote, relying upon instructional methods and top-down information flows. BIM requires a strong organizational culture of collaboration and innovation, and benefits from internalized corporate attitudes that value critical thinking | [25,52,53,54,55] | |
| Trust and respect | A strong sense of trust among members, as well as mutual regard for both personality and career. | [18,25,26,51] | |
| Economic | Cost viability | When regarded from the standpoint of society as a whole, a project is deemed economically feasible if the benefits outweigh the costs. The financial costs of the project are separate from the economic costs; externalities and environmental consequences must be considered. | [53,55,56,57] |
| Demand | The amount of a product that customers are ready and able to buy at various prices during a specified period. | [57,58] | |
| Financial support | Running cost and constant investment in BIM. | [18,19,26,51,59] | |
| Early involvement | Construction trade organizations must lobby governments to mandate BIM’s use, and as soon as possible, provide financial incentives to invest in startups. Early entry into the market is linked to its successful application. | [4,25,26,53,54] | |
| BIM effectiveness evaluation criteria | Measuring BIM’s return on investment regarding assessments of its implementation efficacy. | [18,26,60] | |
| Formal incentive programs for using BIM | A motivation scheme for personnel and establishments who maintain and use BIM in practice. | [18,44,51,59,61] | |
| Political/Legal | Government policies | Setting the terms, laws, and guidance that monitor establishments’ progression towards BIM. | [4,19,30,34,35] |
| Employment policy | Demands and motive strategies for BIM skills when employing new personnel. | [26,27,59,62] | |
| New or edited templates of construction contracts | Setting a clear contractual relationship between partners, depending on BIM. | [47,53,63] | |
| Standardized work procedures for BIM | The adoption of common standards is a prerequisite for collaboration. The ownership and responsibility for managing building safety risks at different stages of the asset’s lifecycle must be set out in law. | [48,53,57,64,65] | |
| Standards to guide specific implementation | Protocols set out explicit contractual requirements which help to establish common standards. Protocols enable BIM’s operation at defined stages or dimensions of a project by regulating working methods. Protocols define tolerances for specific uses. | [26,35,66,67,68] | |
| Technical/Technological | BIM training system | Pilot projects are one component of a well-thought-out BIM implementation plan. Vocational courses teaching lower-level digital skills can cooperate with universities teaching at a higher level. | [19,25,27,53,54,55,59,66] |
| R&D plan | Continuous development of an R&D plan for BIM collaboration technology | [25,26,53,63] | |
| Simplicity | BIM technology is simple to understand and apply. | [25,26,59,69,70] | |
| Interoperability and compatibility | Collaboration requires interoperable software to provide an open workflow for data sharing. Interoperability is about the freedom to choose and mix the best tools, and those tools must use the same protocols. | [47,53,55,71] | |
| Cooperative management platform | Collaboration and values ensure team continuity. An integrated project is a significant change in culture for all team members at the organizational level, implemented by applying BIM to the integration of project information and processes. | [25,51,60] | |
| Functionality | Integrity, technological effectiveness, and customization necessitate BIM software functions’ fulfilment. | [19,25,26,51,60] | |
| Organizational innovation and learning | BIM cannot be successful as an isolated process. Collaboration is essential to its success. A strategic process should be designed to train and develop individual staff involved in its implementation. | [18,25,26] |
| Level | Rank | Factors | Factor Code |
|---|---|---|---|
| 1 | 89 | Top management support | 16 |
| 2 | 87 | Cost viability | 14 |
| 2 | 87 | Demand | 15 |
| 3 | 86 | Financial support | 4 |
| 4 | 85 | Government policies | 1 |
| 4 | 85 | Effective cooperation among project participants | 13 |
| 5 | 82 | BIM training system | 3 |
| 5 | 82 | New or edited templates of construction contracts | 8 |
| 5 | 82 | Functionality | 24 |
| 5 | 82 | Willingness to change ways of thinking and working | 18 |
| 6 | 81 | Standards to guide specific implementation | 23 |
| 7 | 80 | Early involvement of the sectors | 17 |
| 7 | 80 | BIM simplicity | 20 |
| 8 | 79 | Interoperability and compatibility | 21 |
| 8 | 79 | Standardized work procedures for BIM | 5 |
| 9 | 78 | Employment policy | 2 |
| 9 | 78 | Trust and respect | 19 |
| 10 | 77 | Awareness of BIM and sustainability benefits | 10 |
| 11 | 76 | Information and knowledge sharing and ownership | 12 |
| 11 | 76 | R&D plan | 9 |
| 12 | 75 | Cooperative management platform | 22 |
| 12 | 75 | BIM effectiveness evaluation criteria | 6 |
| 12 | 75 | Formal incentive programs for using BIM | 7 |
| 13 | 74 | Organizational innovation and learning | 11 |
| Factor Code | Factors | 1 | 2 | 3 | 4 | 5 | 6 | 7 | 8 | 9 | 10 | 11 | 12 | 13 | 14 | 15 | 16 | 17 | 18 | 19 | 20 | 21 | 22 | 23 | 24 |
|---|---|---|---|---|---|---|---|---|---|---|---|---|---|---|---|---|---|---|---|---|---|---|---|---|---|
| 1 | Government policies | V | V | V | V | V | V | V | O | A | O | V | V | X | A | V | A | A | X | O | V | V | V | O | |
| 2 | Employment policy | X | A | x | A | A | A | A | A | A | V | V | A | A | A | A | A | V | V | V | V | X | V | ||
| 3 | BIM training system | A | x | A | A | A | A | A | A | V | V | A | A | A | A | A | V | V | V | V | X | V | |||
| 4 | Financial support | V | V | V | V | V | A | V | O | V | A | A | A | X | A | X | V | V | V | V | V | ||||
| 5 | Standardized work procedures for BIM | A | A | A | A | A | A | V | V | A | O | A | O | A | A | A | X | X | A | X | |||||
| 6 | BIM effectiveness evaluation criteria | X | X | A | A | A | V | V | X | O | A | X | A | V | X | V | V | A | V | ||||||
| 7 | Formal incentive programs for using BIM | O | X | X | X | V | V | A | A | A | X | X | V | X | V | V | V | V | |||||||
| 8 | New or edited templates of construction contracts | A | A | A | V | V | A | A | A | A | A | V | X | X | V | A | X | ||||||||
| 9 | R&D plan | A | X | V | V | X | O | A | A | A | O | V | V | V | V | V | |||||||||
| 10 | Awareness of BIM and sustainability benefits | V | O | O | V | V | V | V | V | V | V | O | O | V | O | ||||||||||
| 11 | Organizational innovation and learning | V | V | A | A | A | X | X | O | V | V | V | V | V | |||||||||||
| 12 | Knowledge and information ownership | X | A | X | A | X | X | X | X | X | X | A | X | ||||||||||||
| 13 | Effective cooperation among project participants | A | X | A | X | X | X | A | A | X | A | X | |||||||||||||
| 14 | Cost viability | V | V | V | V | V | X | V | V | V | V | ||||||||||||||
| 15 | Demand | V | V | V | X | X | O | O | O | O | |||||||||||||||
| 16 | Top management support | X | A | V | V | V | V | V | V | ||||||||||||||||
| 17 | Early involvement | A | O | O | V | V | V | V | |||||||||||||||||
| 18 | Willingness to change ways of thinking and working | X | X | V | V | V | V | ||||||||||||||||||
| 19 | Trust and respect | X | O | V | A | V | |||||||||||||||||||
| 20 | Simplicity | X | V | A | V | ||||||||||||||||||||
| 21 | Interoperability and compatibility | V | A | V | |||||||||||||||||||||
| 22 | Cooperative management platform | A | V | ||||||||||||||||||||||
| 23 | Standards to guide specific implementation | V | |||||||||||||||||||||||
| 24 | Functionality |
| Factor Code | 1 | 2 | 3 | 4 | 5 | 6 | 7 | 8 | 9 | 10 | 11 | 12 | 13 | 14 | 15 | 16 | 17 | 18 | 19 | 20 | 21 | 22 | 23 | 24 | Driving Power |
|---|---|---|---|---|---|---|---|---|---|---|---|---|---|---|---|---|---|---|---|---|---|---|---|---|---|
| 1 | 1 | 1 | 1 | 1 | 1 | 1 | 1 | 1 | 0 | 0 | 0 | 1 | 1 | 1 | 0 | 1 | 0 | 0 | 0 | 0 | 1 | 1 | 1 | 0 | 15 |
| 2 | 0 | 1 | 1 | 0 | 1 | 0 | 0 | 0 | 0 | 0 | 0 | 1 | 1 | 0 | 0 | 0 | 0 | 0 | 1 | 1 | 1 | 1 | 0 | 1 | 10 |
| 3 | 0 | 1 | 1 | 0 | 1 | 0 | 0 | 0 | 0 | 0 | 0 | 1 | 1 | 0 | 0 | 0 | 0 | 0 | 1 | 1 | 1 | 1 | 0 | 1 | 10 |
| 4 | 0 | 1 | 1 | 1 | 1 | 1 | 1 | 1 | 1 | 0 | 1 | 0 | 1 | 0 | 0 | 0 | 0 | 0 | 0 | 1 | 1 | 1 | 1 | 1 | 15 |
| 5 | 0 | 1 | 1 | 0 | 1 | 0 | 0 | 0 | 0 | 0 | 0 | 1 | 1 | 0 | 0 | 0 | 0 | 0 | 0 | 0 | 1 | 1 | 0 | 1 | 8 |
| 6 | 0 | 1 | 1 | 0 | 1 | 1 | 0 | 0 | 0 | 0 | 0 | 1 | 1 | 1 | 0 | 0 | 0 | 0 | 1 | 0 | 1 | 1 | 0 | 1 | 11 |
| 7 | 0 | 1 | 1 | 0 | 1 | 0 | 1 | 0 | 1 | 1 | 1 | 1 | 1 | 0 | 0 | 0 | 0 | 1 | 1 | 0 | 1 | 1 | 1 | 1 | 15 |
| 8 | 0 | 1 | 1 | 0 | 1 | 0 | 0 | 1 | 0 | 0 | 0 | 1 | 1 | 0 | 0 | 0 | 0 | 0 | 1 | 1 | 1 | 1 | 0 | 1 | 11 |
| 9 | 0 | 1 | 1 | 0 | 1 | 1 | 1 | 1 | 1 | 0 | 1 | 1 | 1 | 1 | 0 | 0 | 0 | 0 | 0 | 1 | 1 | 1 | 1 | 1 | 16 |
| 10 | 1 | 1 | 1 | 1 | 1 | 1 | 1 | 1 | 1 | 1 | 1 | 0 | 0 | 1 | 1 | 1 | 1 | 1 | 1 | 1 | 0 | 0 | 1 | 0 | 19 |
| 11 | 0 | 1 | 1 | 0 | 1 | 1 | 1 | 1 | 1 | 0 | 1 | 1 | 1 | 0 | 0 | 0 | 1 | 1 | 0 | 1 | 1 | 1 | 1 | 1 | 17 |
| 12 | 0 | 0 | 0 | 0 | 0 | 0 | 0 | 0 | 0 | 0 | 0 | 1 | 1 | 0 | 1 | 0 | 1 | 1 | 1 | 1 | 1 | 1 | 0 | 1 | 10 |
| 13 | 0 | 0 | 0 | 0 | 0 | 0 | 0 | 0 | 0 | 0 | 0 | 1 | 1 | 0 | 1 | 0 | 1 | 1 | 1 | 0 | 0 | 1 | 0 | 1 | 8 |
| 14 | 1 | 1 | 1 | 1 | 1 | 1 | 1 | 1 | 1 | 0 | 1 | 1 | 1 | 1 | 1 | 1 | 1 | 1 | 1 | 1 | 1 | 1 | 1 | 1 | 23 |
| 15 | 1 | 1 | 1 | 1 | 0 | 0 | 1 | 1 | 0 | 0 | 1 | 1 | 1 | 0 | 1 | 1 | 1 | 1 | 1 | 1 | 0 | 0 | 0 | 0 | 15 |
| 16 | 0 | 1 | 1 | 1 | 1 | 1 | 1 | 1 | 1 | 0 | 1 | 1 | 1 | 0 | 0 | 1 | 1 | 0 | 1 | 1 | 1 | 1 | 1 | 1 | 19 |
| 17 | 1 | 1 | 1 | 0 | 0 | 0 | 0 | 0 | 0 | 0 | 1 | 1 | 1 | 0 | 0 | 1 | 1 | 0 | 0 | 0 | 1 | 1 | 1 | 1 | 12 |
| 18 | 1 | 1 | 1 | 1 | 1 | 1 | 1 | 1 | 1 | 0 | 1 | 1 | 1 | 0 | 0 | 1 | 1 | 1 | 1 | 1 | 1 | 1 | 1 | 1 | 21 |
| 19 | 1 | 0 | 0 | 0 | 1 | 0 | 0 | 0 | 0 | 0 | 0 | 1 | 1 | 0 | 1 | 0 | 0 | 1 | 1 | 1 | 0 | 1 | 0 | 1 | 10 |
| 20 | 0 | 0 | 0 | 0 | 1 | 0 | 0 | 1 | 0 | 0 | 0 | 1 | 1 | 1 | 1 | 0 | 0 | 1 | 1 | 1 | 1 | 1 | 0 | 1 | 12 |
| 21 | 0 | 0 | 0 | 0 | 1 | 0 | 0 | 1 | 0 | 0 | 0 | 1 | 1 | 0 | 0 | 0 | 0 | 0 | 0 | 1 | 1 | 1 | 0 | 1 | 8 |
| 22 | 0 | 0 | 0 | 0 | 1 | 0 | 0 | 0 | 0 | 0 | 0 | 1 | 1 | 0 | 0 | 0 | 0 | 0 | 0 | 0 | 0 | 1 | 0 | 1 | 5 |
| 23 | 0 | 1 | 1 | 0 | 1 | 1 | 0 | 1 | 0 | 0 | 0 | 1 | 1 | 0 | 0 | 0 | 0 | 0 | 1 | 1 | 1 | 1 | 1 | 1 | 13 |
| 24 | 0 | 0 | 0 | 0 | 1 | 0 | 0 | 1 | 0 | 0 | 0 | 1 | 1 | 0 | 0 | 0 | 0 | 0 | 0 | 0 | 0 | 0 | 0 | 1 | 5 |
| DEPENDENCE | 7 | 17 | 17 | 7 | 20 | 10 | 10 | 14 | 8 | 2 | 10 | 22 | 23 | 6 | 7 | 7 | 9 | 10 | 15 | 16 | 18 | 21 | 11 | 21 | 616 |
| Factor Code | 1 | 2 | 3 | 4 | 5 | 6 | 7 | 8 | 9 | 10 | 11 | 12 | 13 | 14 | 15 | 16 | 17 | 18 | 19 | 20 | 21 | 22 | 23 | 24 | Driving Power |
|---|---|---|---|---|---|---|---|---|---|---|---|---|---|---|---|---|---|---|---|---|---|---|---|---|---|
| 1 | 1 | 1 | 1 | 1 | 1 | 1 | 1 | 1 | 0 | 0 | 0 | 1 | 1 | 1 | 0 | 1 | 0 | 0 | 1 | 0 | 1 | 1 | 1 | 0 | 16 |
| 2 | 0 | 1 | 1 | 0 | 1 | 0 | 0 | 0 | 0 | 0 | 0 | 1 | 1 | 0 | 0 | 0 | 0 | 0 | 1 | 1 | 1 | 1 | 1 | 1 | 11 |
| 3 | 0 | 1 | 1 | 0 | 1 | 0 | 0 | 0 | 0 | 0 | 0 | 1 | 1 | 0 | 0 | 0 | 0 | 0 | 1 | 1 | 1 | 1 | 1 | 1 | 11 |
| 4 | 0 | 1 | 1 | 1 | 1 | 1 | 1 | 1 | 1 | 0 | 1 | 0 | 1 | 0 | 0 | 0 | 1 | 0 | 1 | 1 | 1 | 1 | 1 | 1 | 17 |
| 5 | 0 | 1 | 1 | 0 | 1 | 0 | 0 | 0 | 0 | 0 | 0 | 1 | 1 | 0 | 0 | 0 | 0 | 0 | 0 | 1 | 1 | 1 | 0 | 1 | 9 |
| 6 | 0 | 1 | 1 | 0 | 1 | 1 | 1 | 1 | 0 | 0 | 0 | 1 | 1 | 1 | 0 | 0 | 1 | 0 | 1 | 1 | 1 | 1 | 0 | 1 | 15 |
| 7 | 0 | 1 | 1 | 0 | 1 | 1 | 1 | 0 | 1 | 1 | 1 | 1 | 1 | 0 | 0 | 0 | 1 | 1 | 1 | 0 | 1 | 1 | 1 | 1 | 17 |
| 8 | 0 | 1 | 1 | 0 | 1 | 1 | 0 | 1 | 0 | 0 | 0 | 1 | 1 | 0 | 0 | 0 | 0 | 0 | 1 | 1 | 1 | 1 | 0 | 1 | 12 |
| 9 | 0 | 1 | 1 | 0 | 1 | 1 | 1 | 1 | 1 | 0 | 1 | 1 | 1 | 1 | 0 | 0 | 0 | 0 | 0 | 1 | 1 | 1 | 1 | 1 | 16 |
| 10 | 1 | 1 | 1 | 1 | 1 | 1 | 1 | 1 | 1 | 1 | 1 | 0 | 0 | 1 | 1 | 1 | 1 | 1 | 1 | 1 | 0 | 0 | 1 | 0 | 19 |
| 11 | 0 | 1 | 1 | 0 | 1 | 1 | 1 | 1 | 1 | 0 | 1 | 1 | 1 | 0 | 0 | 0 | 1 | 1 | 0 | 1 | 1 | 1 | 1 | 1 | 17 |
| 12 | 0 | 0 | 0 | 0 | 0 | 0 | 0 | 0 | 0 | 0 | 0 | 1 | 1 | 0 | 1 | 0 | 1 | 1 | 1 | 1 | 1 | 1 | 0 | 1 | 10 |
| 13 | 0 | 0 | 0 | 0 | 0 | 0 | 0 | 0 | 0 | 0 | 0 | 1 | 1 | 0 | 1 | 0 | 1 | 1 | 1 | 0 | 0 | 1 | 0 | 1 | 8 |
| 14 | 1 | 1 | 1 | 1 | 1 | 1 | 1 | 1 | 1 | 0 | 1 | 1 | 1 | 1 | 1 | 1 | 1 | 1 | 1 | 1 | 1 | 1 | 1 | 1 | 23 |
| 15 | 1 | 1 | 1 | 1 | 0 | 0 | 1 | 1 | 0 | 0 | 1 | 1 | 1 | 0 | 1 | 1 | 1 | 1 | 1 | 1 | 0 | 0 | 0 | 0 | 15 |
| 16 | 0 | 1 | 1 | 1 | 1 | 1 | 1 | 1 | 1 | 0 | 1 | 1 | 1 | 0 | 0 | 1 | 1 | 0 | 1 | 1 | 1 | 1 | 1 | 1 | 19 |
| 17 | 1 | 1 | 1 | 1 | 0 | 1 | 1 | 1 | 1 | 0 | 1 | 1 | 1 | 0 | 0 | 1 | 1 | 0 | 0 | 0 | 1 | 1 | 1 | 1 | 17 |
| 18 | 1 | 1 | 1 | 1 | 1 | 1 | 1 | 1 | 1 | 0 | 1 | 1 | 1 | 0 | 0 | 1 | 1 | 1 | 1 | 1 | 1 | 1 | 1 | 1 | 21 |
| 19 | 1 | 0 | 0 | 1 | 1 | 0 | 0 | 0 | 0 | 0 | 0 | 1 | 1 | 0 | 1 | 0 | 0 | 1 | 1 | 1 | 0 | 1 | 0 | 1 | 11 |
| 20 | 0 | 0 | 0 | 0 | 1 | 1 | 1 | 1 | 0 | 0 | 0 | 1 | 1 | 1 | 1 | 0 | 0 | 1 | 1 | 1 | 1 | 1 | 0 | 1 | 14 |
| 21 | 0 | 0 | 0 | 0 | 1 | 0 | 0 | 1 | 0 | 0 | 0 | 1 | 1 | 0 | 0 | 0 | 0 | 0 | 0 | 1 | 1 | 1 | 0 | 1 | 8 |
| 22 | 0 | 0 | 0 | 0 | 1 | 0 | 0 | 0 | 0 | 0 | 0 | 1 | 1 | 0 | 0 | 0 | 0 | 0 | 0 | 0 | 0 | 1 | 0 | 1 | 5 |
| 23 | 0 | 1 | 1 | 0 | 1 | 1 | 0 | 1 | 0 | 0 | 0 | 1 | 1 | 0 | 0 | 0 | 0 | 0 | 1 | 1 | 1 | 1 | 1 | 1 | 13 |
| 24 | 0 | 0 | 0 | 0 | 1 | 0 | 0 | 1 | 0 | 0 | 0 | 1 | 1 | 0 | 0 | 0 | 0 | 0 | 0 | 0 | 0 | 0 | 0 | 1 | 5 |
| DEPENDENCE | 7 | 17 | 17 | 9 | 20 | 14 | 13 | 16 | 9 | 2 | 10 | 22 | 23 | 6 | 7 | 7 | 12 | 10 | 17 | 18 | 18 | 21 | 13 | 21 | 658 |
| Factor | Factor Code | Reachability Set (I) | Antecedent Set (A) | Intersection Set (I) | Level |
|---|---|---|---|---|---|
| Knowledge and information ownership | 12 | 12-13-15-17-18-19-20-21-22-24 | 1-2-3-5-6-7-8-9-11-12-13-14-15-16-17-18-19-20-21-22-23-24 | 12-13-15-17-18-19-20-21-22-24 | 1 |
| Effective cooperation among project participants | 13 | 12-13-15-17-18-21-22-24 | 1-2-3-4-5-6-7-8-9-11-12-13-14-15-16-17-18-19-20-21-22-23-24 | 12-13-15-17-18-21-22-24 | 1 |
| Functionality | 24 | 5-8-12-13-24 | 2-3-4-5-6-7-8-9-11-12-13-14-16-17-18-19-20-21-22-23-24 | 5-8-12-13-24 | 1 |
| Standardized work Procedures for BIM | 5 | 2-3-5-21-22 | 1-2-3-4-5-6-7-8-9-10-11-14-16-18-19-20-21-22-23 | 2-3-5-21-22 | 2 |
| Cooperative management platform | 22 | 5-22 | 1-2-3-4-5-6-7-8-9-11-14-16-17-18-19-20-21-22-23 | 5-22 | 2 |
| Trust and respect | 19 | 1-4-15-18-19-20 | 1-2-3-4-6-7-10-14-15-16-18-19-20-23 | 1-4-15-18-19-20 | 3 |
| Simplicity | 20 | 6-8-14-15-18-19-20-21 | 2-3-4-6-7-8-9-1-11-14-15-16-18-19-20-21-23 | 6-7-8-14-15-18-19-20-21 | 3 |
| Interoperability and compatibility | 21 | 8-20-21 | 1-2-3-4-5-6-7-8-11-14-16-17-18-20-21-23 | 8-20-21 | 3 |
| Employment policy | 2 | 2-3-23 | 1-2-3-4-6-7-8-9-10-11-14-15-16-17-18-23 | 2-3-23 | 4 |
| BIM training system | 3 | 2-3-23 | 1-2-3-4-6-7-8-9-10-11-14-15-16-17-18-23 | 2-3-23 | 4 |
| BIM effectiveness evaluation criteria | 6 | 6-7-8-14-17 | 1-4-6-7-8-9-10-11-14-16-17-18-23 | 6-7-8-14-17 | 5 |
| New or edited templates of construction contracts | 8 | 6-8 | 1-4-6-8-9-10-11-14-15-16-17-18-23 | 6-8 | 5 |
| Standards to guide specific implementation | 23 | 23 | 1-2-3-4-7-9-10-11-14-16-17-18-23 | 23 | 6 |
| R& D plan | 9 | 7-9-11-14 | 4-7-9-10-11-14-16-17-18 | 7-9-11-14 | 7 |
| Organizational innovation and learning | 11 | 7-9-11-17-18 | 4-7-9-10-11-14-15-16-17-18 | 7-9-11-17-18 | 7 |
| Formal incentive programs for using BIM | 7 | 7-10-17-18 | 1-4-7-10-14-15-16-17-18 | 7-10-17-18 | 8 |
| Financial support | 4 | 4-17 | 1-4-10-14-15-16-17-18 | 4-17 | 9 |
| Top management support | 16 | 16-17 | 1-10-14-15-16-17-18 | 16-17 | 10 |
| Government policies | 1 | 1-14 | 1-10-14-15-17-18 | 1-14 | 11 |
| Early involvement | 17 | 17 | 10-14-15-17-18 | 17 | 12 |
| Willingness to change ways of thinking and working | 18 | 18 | 10-14-15-18 | 18 | 13 |
| Demand | 15 | 15 | 10-14-15 | 15 | 14 |
| Cost viability | 14 | 14 | 10-14 | 14 | 15 |
| Awareness of BIM and sustainability benefits | 10 | 10 | 10 | 10 | 16 |
Disclaimer/Publisher’s Note: The statements, opinions and data contained in all publications are solely those of the individual author(s) and contributor(s) and not of MDPI and/or the editor(s). MDPI and/or the editor(s) disclaim responsibility for any injury to people or property resulting from any ideas, methods, instructions or products referred to in the content. |
© 2023 by the authors. Licensee MDPI, Basel, Switzerland. This article is an open access article distributed under the terms and conditions of the Creative Commons Attribution (CC BY) license (https://creativecommons.org/licenses/by/4.0/).
Share and Cite
Alaboud, N.; Alshahrani, A. Adoption of Building Information Modelling in the Saudi Construction Industry: An Interpretive Structural Modelling. Sustainability 2023, 15, 6130. https://doi.org/10.3390/su15076130
Alaboud N, Alshahrani A. Adoption of Building Information Modelling in the Saudi Construction Industry: An Interpretive Structural Modelling. Sustainability. 2023; 15(7):6130. https://doi.org/10.3390/su15076130
Chicago/Turabian StyleAlaboud, Naif, and Adnan Alshahrani. 2023. "Adoption of Building Information Modelling in the Saudi Construction Industry: An Interpretive Structural Modelling" Sustainability 15, no. 7: 6130. https://doi.org/10.3390/su15076130
APA StyleAlaboud, N., & Alshahrani, A. (2023). Adoption of Building Information Modelling in the Saudi Construction Industry: An Interpretive Structural Modelling. Sustainability, 15(7), 6130. https://doi.org/10.3390/su15076130

