Shear Strengthening of RC Beams Using Fabric-Reinforced Cementitious Matrix, Carbon Plates, and 3D-Printed Strips
Abstract
1. Introduction
2. Material Properties
2.1. Concrete and Reinforcement Properties
2.2. Fabric-Reinforced Cementitious Matrix (FRCM)
2.3. Carbon Plates (CP)
2.4. 3D-Printed Strips (CD)
3. Experimental Program
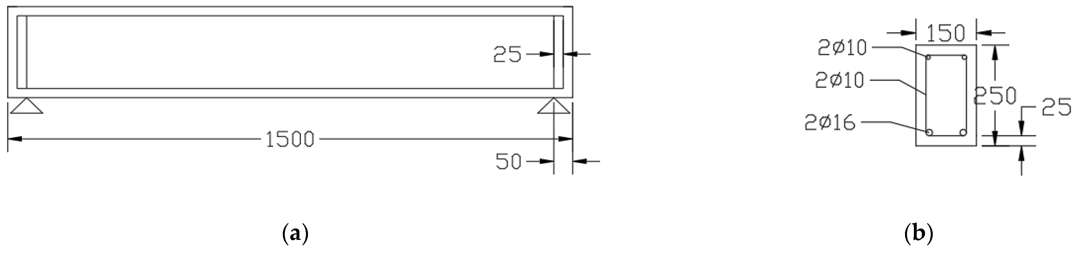
3.1. Specimen Details
3.2. Strengthening Configuration
4. Test Setup
5. Test Results and Discussion
5.1. Control Specimen
5.2. The Vertical Strengthening Configurations
5.3. The Oblique Strengthening Configurations
5.4. FRCM Strengthening Configurations
5.5. Carbon Plates Strengthening Configurations
6. Prediction of the Shear Strength Using ACI 440.2R-17
7. Conclusions
- FRCM and CP are both efficient for shear strengthening in terms of maximum load capacity, initial stiffness, and ductility. However, CD showed a limited effect on enhancing the performance of shear-strengthened beams due to its lower tensile strength.
- The best shear enhancement was found in the beam strengthened with vertical CP, with improvements in load-carrying capacity, stiffness, and ductility of 43%, 23%, and 23%, respectively.
- The direction, spacing, thickness, and tensile strength of the strengthening material are key factors that play the primary role in enhancing the shear behavior of the RC beams.
- Vertical and oblique strengthening configurations were more efficient than zigzag and several-slanted layouts for RC beams strengthened with FRCM strips. The enhancements in load-carrying capacity for the oblique and vertical layouts were 23% and 25%, respectively, compared with 2% and 13% for the zigzag and several-slanted configurations.
- The ACI 440.2R-17 model yielded accurate predictions for the shear capacity of the strengthened specimens with an average (Vc, test/Vc, ACI 440) of 1.11.
Author Contributions
Funding
Institutional Review Board Statement
Informed Consent Statement
Data Availability Statement
Acknowledgments
Conflicts of Interest
References
- Yu, X.; Xing, G.; Chang, Z. Flexural Behavior of Reinforced Concrete Beams Strengthened with Near-Surface Mounted 7075 Aluminum Alloy Bars. J. Build. Eng. 2020, 31, 101393. [Google Scholar] [CrossRef]
- Yang, J.; Wang, L. Experimental Research on Flexural Behaviors of Damaged PRC Beams Strengthened with NSM CFRP Strips. Constr. Build. Mater. 2018, 190, 265–275. [Google Scholar] [CrossRef]
- Hosen, M.A.; Jumaat, M.Z.; Alengaram, U.J.; Islam, A.B.M.S.; Hashim, H. bin Near Surface Mounted Composites for Flexural Strengthening of Reinforced Concrete Beams. Polymers 2016, 8, 67. [Google Scholar] [CrossRef]
- Murad, Y.Z.; Aljaafreh, A.J.; Almashaqbeh, A.; Alfaouri, Q.T. Cyclic Behaviour of Heat-Damaged Beam–Column Joints Modified with Nano-Silica, Nano-Titanium, and Nano-Alumina. Sustainability 2022, 14, 10916. [Google Scholar] [CrossRef]
- Golias, E.; Zapris, A.G.; Kytinou, V.K.; Osman, M.; Koumtzis, M.; Siapera, D.; Chalioris, C.E.; Karayannis, C.G. Application of X-Shaped CFRP Ropes for Structural Upgrading of Reinforced Concrete Beam–Column Joints under Cyclic Loading–Experimental Study. Fibers 2021, 9, 42. [Google Scholar] [CrossRef]
- Wakjira, T.G.; Ebead, U. Hybrid NSE/EB Technique for Shear Strengthening of Reinforced Concrete Beams Using FRCM: Experimental Study. Constr. Build. Mater. 2018, 164, 164–177. [Google Scholar] [CrossRef]
- Younis, A.; Ebead, U.; Shrestha, K.C. Different FRCM Systems for Shear-Strengthening of Reinforced Concrete Beams. Constr. Build. Mater. 2017, 153, 514–526. [Google Scholar] [CrossRef]
- Marcinczak, D.; Trapko, T.; Musiał, M. Shear Strengthening of Reinforced Concrete Beams with PBO-FRCM Composites with Anchorage. Compos. Part B Eng. 2019, 158, 149–161. [Google Scholar] [CrossRef]
- Yang, X.; Gao, W.Y.; Dai, J.G.; Lu, Z.D. Shear Strengthening of RC Beams with FRP Grid-Reinforced ECC Matrix. Compos. Struct. 2020, 241, 112120. [Google Scholar] [CrossRef]
- Murad, Y.Z. Retrofitting Heat-Damaged Non-Ductile RC Beam-to-Column Joints Subjected to Cyclic and Axial Loading with FRCM Composites. J. Build. Eng. 2022, 48, 103952. [Google Scholar] [CrossRef]
- Haddad, R.H.; Almasaeid, H.H. Recovering Shear Capacity of Heat-Damaged Beams Using NSM-CFRP Strips. Constr. Build. Mater. 2016, 105, 448–458. [Google Scholar] [CrossRef]
- Mhanna, H.H.; Hawileh, R.A.; Abdalla, J.A. Shear Behavior of RC T-Beams Externally Strengthened with Anchored High Modulus Carbon Fiber-Reinforced Polymer (CFRP) Laminates. Compos. Struct. 2021, 272, 114198. [Google Scholar] [CrossRef]
- Shomali, A.; Mostofinejad, D.; Esfahani, M.R. Experimental and Numerical Investigation of Shear Performance of RC Beams Strengthened with FRP Using Grooving Method. J. Build. Eng. 2020, 31, 101409. [Google Scholar] [CrossRef]
- Kotynia, R.; Oller, E.; Marí, A.; Kaszubska, M. Efficiency of Shear Strengthening of RC Beams with Externally Bonded FRP Materials—State-of-the-Art in the Experimental Tests. Compos. Struct. 2021, 267, 113891. [Google Scholar] [CrossRef]
- Al-Shamayleh, R.; Al-Saoud, H.; Abdel-Jaber, M.; Alqam, M. Shear and Flexural Strengthening of Reinforced Concrete Beams with Variable Compressive Strength Values Using Externally Bonded Carbon Fiber Plates. Results Eng. 2022, 14, 100427. [Google Scholar] [CrossRef]
- Mohamed, K.; Abdalla, J.A.; Hawileh, R.A. Experimental and Analytical Investigations of the Use of Groove-Epoxy Anchorage System for Shear Strengthening of RC Beams Using CFRP Laminates. Materials 2020, 13, 4350. [Google Scholar] [CrossRef]
- Askar, M.K.; Hassan, A.F.; Al-Kamaki, Y.S.S. Flexural and Shear Strengthening of Reinforced Concrete Beams Using FRP Composites: A State of the Art. Case Stud. Constr. Mater. 2022, 17, e01189. [Google Scholar] [CrossRef]
- Godat, A.; Hammad, F.; Chaallal, O. State-of-the-Art Review of Anchored FRP Shear-Strengthened RC Beams: A Study of Influencing Factors. Compos. Struct. 2020, 254, 112767. [Google Scholar] [CrossRef]
- Al-Rousan, R.Z. Shear Behavior of RC Beams Externally Strengthened and Anchored with CFRP Composites. Struct. Eng. Mech. 2017, 63, 456. [Google Scholar] [CrossRef]
- Mukhtar, F.; Deifalla, A. Shear Strength of FRP Reinforced Deep Concrete Beams without Stirrups: Test Database and a Critical Shear Crack-Based Model. Compos. Struct. 2023, 307, 116636. [Google Scholar] [CrossRef]
- Karayannis, C.G.; Kosmidou, P.-M.K.; Chalioris, C.E. Reinforced Concrete Beams with Carbon-Fiber-Reinforced Polymer Bars—Experimental Study. Fibers 2018, 6, 99. [Google Scholar] [CrossRef]
- Chalioris, C.E.; Zapris, A.G.; Karayannis, C.G. U-Jacketing Applications of Fiber-Reinforced Polymers in Reinforced Concrete T-Beams against Shear—Tests and Design. Fibers 2020, 8, 13. [Google Scholar] [CrossRef]
- Saadah, M.; Ashteyat, A.; Murad, Y. Shear Strengthening of RC Beams Using Side near Surface Mounted CFRP Ropes and Strips. Structures 2021, 32, 380–390. [Google Scholar] [CrossRef]
- Murad, Y.; Abu-AlHaj, T. Novel 3D Printed Bars for Retrofitting Heat Damaged RC Beams. Structures 2021, 34, 3427–3435. [Google Scholar] [CrossRef]
- Murad, Y.; Alseid, B. Poly-Lactic Acid and Carbon Fibers 3D Printed Bars for Seismic Retrofitting RC Beam-to-Column Joints Subjected to Elevated Temperature. Structures 2022, 43, 1530–1547. [Google Scholar] [CrossRef]
- Aksoylu, C.; Özkılıç, Y.O.; Hadzima-Nyarko, M.; Işık, E.; Arslan, M.H. Investigation on Improvement in Shear Performance of Reinforced-Concrete Beams Produced with Recycled Steel Wires from Waste Tires. Sustainability 2022, 14, 13360. [Google Scholar] [CrossRef]
- Abdulhameed, A.A.; Hanoon, A.N.; Abdulhameed, H.A.; Banyhussan, Q.S.; Mansi, A.S. Push-out Test of Steel–Concrete–Steel Composite Sections with Various Core Materials: Behavioural Study. Arch. Civ. Mech. Eng. 2021, 21, 1–21. [Google Scholar] [CrossRef]
- Abdulhameed, H.; Abdulhameed, A.; Mansi, A.; Hanoon, A.; Mohammed, A. Study the Use of Nano-Limestone and Egg-Shell Ash in Eco-Friendly SCC: An Experimental and Statistical Evaluation Based on Computer Programming. In Proceedings of the 14th International Conference on Developments in eSystems Engineering, DeSE, Sharjah, United Arab Emirates, 7–10 December 2021; Institute of Electrical and Electronics Engineers Inc.: Piscataway, NJ, USA, 2021; Volume 2021, pp. 509–514. [Google Scholar]
- ACI Committee 440. Guide for the Design and Construction of Externally Bonded FRP Systems for Strengthening Concrete Structures; ACI Committee: Farmington Hills, MI, USA, 2017. [Google Scholar]
- ASTM C39/C39M-20; Standard Test Method for Compressive Strength of Cylindrical Concrete Specimens; ASTM: West Conshohocken, PA, USA, 2020.
- ASTM A370-20; Standard Test Methods and Definitions for Mechanical Testing of Steel Products; ASTM: West Conshohocken, PA, USA, 2020.
- Ruregold Ruregold. Available online: https://ruregold.com/company/ (accessed on 2 February 2023).
- Sika. Available online: https://www.sika.com/ (accessed on 2 February 2023).
- ACI 318-19; Building Code Requirements for Structural Concrete (ACI 318-19) and Commentary; ACI: Farmington Hills, MI, USA, 2019.
- Park, Y.; Ang, A.H.-S. Mechanistic Seismic Damage Model for Reinforced Concrete. J. Struct. Eng. 1985, 111, 722–739. [Google Scholar] [CrossRef]
- Kwan, A.K.H.; Ho, J.C.M.; Pam, H.J. Flexural Strength and Ductility of Reinforced Concrete Beams. ICE Proc. Struct. Build. 2002, 152, 361–369. [Google Scholar] [CrossRef]






















| Mechanical Properties | Specimen 1 | Specimen 2 | Specimen 3 | Average | Standarad Deviation |
|---|---|---|---|---|---|
| Cylinder concrete compressive strength (MPa) | 28.5 | 26 | 27 | 27 | 1.03 |
| Reinforcement yield strength (MPa) | 405 | 406 | 404 | 405 | 0.82 |
| Reinforcement ultimate strength (MPa) | 597 | 593 | 601 | 597 | 3.26 |
| Fiber Type | NSM CFRP |
|---|---|
| Fiber orientation | 0° (unidirectional) |
| Fiber density | 1.6 g/ |
| Strip width | 50 mm |
| Strip thickness | 2.5 mm |
| Cross-sectional area | 37.5 |
| Mean tensile strength | 3100 N/ |
| Tensile E-modulus | 165,000 N/ |
| Strain at break | >1.7% (nominal) |
| Color | Cement Grey |
|---|---|
| Mixed density at 25 °C | 1.8 g/(approx.) |
| Sag flow | Non-sag on vertical surface |
| Flashpoint | N/A |
| Shrinkage | 0.04% |
| Compressive strength—ASTM C579 | 85 N/ at 3 days |
| Flexural strength according to ASTM | 25 N/ at 7 days |
| Tensile strength according to ISO 527 | 18 N/ at 7 days |
| Shear strength according to ASTM | 21 N/ at 7 days |
| Bond to concrete | >4 N/ at 1 day (concrete fracture) |
| E-modulus & IOS 527 | 10,000 N/(compression and tension) |
| Specimen | Peak Load (KN) | Max Shear Load (KN) | Peak Deflection at Failure (mm) | Initial Stiffness (N/mm) | Ductility Index | Predicted Shear Load (kN) | Failure Mode |
|---|---|---|---|---|---|---|---|
| B1-C | 45.9 | 22.9 | 7.767 | 6322 | 1.34 | 22.21 | Shear-Failure |
| B2-SV-FR | 56.6 | 28.3 | 8.827 | 6679 | 1.39 | 23.29 | Shear failure + debonding FRCM strips |
| B3-SV-CD | 51.3 | 25.7 | 9.345 | 5935 | 1.35 | 26.93 | Shear-Failure |
| B4-SV-CP | 65.7 | 32.9 | 10.39 | 7787 | 1.65 | 29.61 | Shear-Failure |
| B5-SO-CP | 56.2 | 28.1 | 9.797 | 6195 | 1.44 | 24.92 | Shear-Failure |
| B6-SO-FR | 60.0 | 30.0 | 9.043 | 7383 | 1.48 | 23.05 | Shear-Failure |
| B7-SZ-FR | 46.8 | 23.4 | 7.551 | 6469 | 1.39 | 22.85 | Shear-Failure |
| B8-SS-FR | 52.1 | 26.1 | 7.987 | 6826 | 1.39 | 23.64 | Shear-Failure |
Disclaimer/Publisher’s Note: The statements, opinions and data contained in all publications are solely those of the individual author(s) and contributor(s) and not of MDPI and/or the editor(s). MDPI and/or the editor(s) disclaim responsibility for any injury to people or property resulting from any ideas, methods, instructions or products referred to in the content. |
© 2023 by the authors. Licensee MDPI, Basel, Switzerland. This article is an open access article distributed under the terms and conditions of the Creative Commons Attribution (CC BY) license (https://creativecommons.org/licenses/by/4.0/).
Share and Cite
Murad, Y.Z.; Al-Mahmood, H.; Tarawneh, A.; Aljaafreh, A.J.; AlMashaqbeh, A.; Abdel Hadi, R.; Shabbar, R. Shear Strengthening of RC Beams Using Fabric-Reinforced Cementitious Matrix, Carbon Plates, and 3D-Printed Strips. Sustainability 2023, 15, 4293. https://doi.org/10.3390/su15054293
Murad YZ, Al-Mahmood H, Tarawneh A, Aljaafreh AJ, AlMashaqbeh A, Abdel Hadi R, Shabbar R. Shear Strengthening of RC Beams Using Fabric-Reinforced Cementitious Matrix, Carbon Plates, and 3D-Printed Strips. Sustainability. 2023; 15(5):4293. https://doi.org/10.3390/su15054293
Chicago/Turabian StyleMurad, Yasmin Zuhair, Hanady Al-Mahmood, Ahmad Tarawneh, Ahmad J. Aljaafreh, Ayoub AlMashaqbeh, Raghad Abdel Hadi, and Rund Shabbar. 2023. "Shear Strengthening of RC Beams Using Fabric-Reinforced Cementitious Matrix, Carbon Plates, and 3D-Printed Strips" Sustainability 15, no. 5: 4293. https://doi.org/10.3390/su15054293
APA StyleMurad, Y. Z., Al-Mahmood, H., Tarawneh, A., Aljaafreh, A. J., AlMashaqbeh, A., Abdel Hadi, R., & Shabbar, R. (2023). Shear Strengthening of RC Beams Using Fabric-Reinforced Cementitious Matrix, Carbon Plates, and 3D-Printed Strips. Sustainability, 15(5), 4293. https://doi.org/10.3390/su15054293

