Using C2X to Explore the Uncertainty of In Situ Chlorophyll-a and Improve the Accuracy of Inversion Models
Abstract
1. Introduction
2. Study Area and Data
2.1. Study Area
2.2. Remote Sensing Data Acquisition and Pre-Processing
2.3. Measured Water Quality Component Data on the Ground
2.3.1. Method of Obtaining Chl-a
2.3.2. Method of Obtaining Secchi Depth
2.3.3. Trophic Level Index
3. Methodology and Modernization
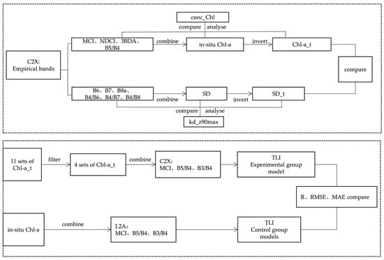
3.1. Assessment Methods
3.2. Chl-a Empirical Model
3.3. SD-Based Empirical Modeling Aids Validation
3.4. Assisted Verification-TLI-Based Modeling
- (1)
- The MAPMINMAX function was applied to normalize input and output data to −1 and 1;
- (2)
- Objectives and network training parameters were set. Data from the training set were used to train the network. The number of neurons in the hidden layer was iterated from 0 to 30;
- (3)
- The data from the test set were then used to test the network. The number of neurons was adjusted to optimize the network. Compare the results from different numbers of neurons.
4. Results
4.1. Analysis of Chl-a Results
4.2. Analysis of SD Results
4.3. Analysis of TLI Modeling Results
5. Discussions
6. Conclusions
Author Contributions
Funding
Informed Consent Statement
Data Availability Statement
Acknowledgments
Conflicts of Interest
References
- Solanki, A.; Agrawal, H.; Khare, K. Predictive analysis of water quality parameters using deep learning. Int. J. Comput. Appl. 2015, 125, 29–34. [Google Scholar] [CrossRef]
- Wang, S.; Xu, C.; Zhang, W.; Chen, H.; Zhang, B. Human-Induced water loss from closed inland Lakes: Hydrological simulations in China’s Daihai lake. J. Hydrol. 2022, 607, 127552. [Google Scholar] [CrossRef]
- Daiwei, L.; Tianzhen, W.; Xiangle, J.; Fan, Z.; Wang, Y.; Nan, L. Remote sensing-based chlorophyll a monitoring in inland water bodies. J. Chifeng Coll. 2022, 38, 14–20. [Google Scholar] [CrossRef]
- Li, J.; Tian, B.; Cao, F.; Hu, Y.; Duan, Y.; Xie, Z.; Peng, Y.; Jiang, W.; Fan, H. Remote sensing inversion and time series analysis of key parameters of eutrophication in urban water bodies in Shanghai. J. East China Norm. Univ. 2022, 2022, 135–147. [Google Scholar]
- Yang, L.; Yu, D.; Gao, H.; Bian, X.; Liu, X.; Gai, Y.; An, D.; Zhou, Y.; Tang, S. Remote sensing inversion of water transparency in Jiaozhou Bay by Sentinel-2. Infrared Laser Eng. 2021, 50, 20210080. [Google Scholar] [CrossRef]
- Thiemann, S.; Kaufmann, H. Determination of chlorophyll content and trophic state of lakes using field spectrometer and IRS-1C satellite data in the Mecklenburg Lake District, Germany. Remote Sens. Environ. 2000, 73, 227–235. [Google Scholar] [CrossRef]
- Barzegar, R.; Aalami, M.T.; Adamowski, J. Short-term water quality variable prediction using a hybrid CNN–LSTM deep learning model. Stoch. Environ. Res. Risk Assess. 2020, 34, 415–433. [Google Scholar] [CrossRef]
- Yang, H.; Du, Y.; Zhao, H.; Chen, F. Water Quality Chl-a Inversion Based on Spatio-Temporal Fusion and Convolutional Neural Network. Remote Sens. 2022, 14, 1267. [Google Scholar] [CrossRef]
- Peterson, K.T.; Sagan, V.; Sloan, J.J. Deep learning-based water quality estimation and anomaly detection using Landsat-8/Sentinel-2 virtual constellation and cloud computing. GISci. Remote Sens. 2020, 57, 510–525. [Google Scholar] [CrossRef]
- Hua, M.R.; Junwu, T.; Hongtao, D.; Furnace, P.D. Progress in remote sensing research on lake water colour. Lake Sci. 2009, 21, 143–158. [Google Scholar]
- Wei, Z.; Guangwei, Z.; Permanently, C.; Hai, X.; Mengyuan, Z.; Zhijun, G.; Yunlin, Z.; Boqiang, Q. Limitations and improvements of the combined trophic state index (TLI) in the evaluation of lakes and reservoirs in the middle and lower reaches of the Yangtze River in summer. Lake Sci. 2020, 32, 36–47. [Google Scholar] [CrossRef]
- Zhang, Z.; Wang, Q.; Xie, E.; Zhao, C.; Yan, J. A study on the relationship between the amount of planktonic algae and the main water quality indicators in the water bodies of Chaohu Lake. Anhui Agric. Sci. 2018, 46, 76–79+91. [Google Scholar] [CrossRef]
- Buma, W.G.; Lee, S.-I. Evaluation of Sentinel-2 and Landsat 8 Images for Estimating Chlorophyll-a Concentrations in Lake Chad, Africa. Remote Sens. 2020, 12, 2437. [Google Scholar] [CrossRef]
- Dan, Y.; Zhou, Z.; Li, S.; Zhang, H.; Jiang, Y. Inversion of chlorophyll a concentration in Pingzhai Reservoir based on Sentinel-2. Environ. Eng. 2020, 38, 180–185+127. [Google Scholar] [CrossRef]
- Kuhn, C.; de Matos Valerio, A.; Ward, N.; Loken, L.; Sawakuchi, H.O.; Kampel, M.; Richey, J.; Stadler, P.; Crawford, J.; Striegl, R.; et al. Performance of Landsat-8 and Sentinel-2 surface reflectance products for river remote sensing retrievals of chlorophyll-a and turbidity. Remote Sens. Environ. 2019, 224, 104–118. [Google Scholar] [CrossRef]
- Brockmann, C.; Doerffer, R.; Peters, M.; Stelzer, K.; Embacher, S.; Ruescas, A. Evolution of the C2RCC Neural Network for Sentinel 2 and 3 for the Retrieval of Ocean Colour Products in Normal and Extreme Optically Complex Waters. In Proceedings of the Living Planet Symposium, Proceedings of the Conference, Prague, Czech Republic, 9–13 May 2016. [Google Scholar]
- Soriano-González, J.; Urrego, E.P.; Sòria-Perpinyà, X.; Angelats, E.; Alcaraz, C.; Delegido, J.; Ruíz-Verdú, A.; Tenjo, C.; Vicente, E.; Moreno, J. Towards the Combination of C2RCC Processors for Improving Water Quality Retrieval in Inland and Coastal Areas. Remote Sens. 2022, 14, 1124. [Google Scholar] [CrossRef]
- Caballero, I.; Navarro, G. Monitoring cyanoHABs and water quality in Laguna Lake (Philippines) with Sentinel-2 satellites during the 2020 Pacific typhoon season. Sci. Total Environ. 2021, 788, 147700. [Google Scholar] [CrossRef]
- Masoud, A.A. On the Retrieval of the Water Quality Parameters from Sentinel-3/2 and Landsat-8 OLI in the Nile Delta’s Coastal and Inland Waters. Water 2022, 14, 593. [Google Scholar]
- Hafeez, S.; Wong, M.S.; Ho, H.C.; Nazeer, M.; Nichol, J.; Abbas, S.; Tang, D.; Lee, K.H.; Pun, L. Comparison of Machine Learning Algorithms for Retrieval of Water Quality Indicators in Case-II Waters: A Case Study of Hong Kong. Remote Sens. 2019, 11, 617. [Google Scholar] [CrossRef]
- Lehmann, M.K.; Schütt, E.M.; Hieronymi, M.; Dare, J.; Krasemann, H. Analysis of recurring patchiness in satellite-derived chlorophyll a to aid the selection of representative sites for lake water quality monitoring. Int. J. Appl. Earth Obs. Geoinf. 2021, 104, 102547. [Google Scholar] [CrossRef]
- Giannini, F.; Hunt, B.P.V.; Jacoby, D.; Costa, M. Performance of OLCI Sentinel-3A satellite in the Northeast Pacific coastal waters. Remote Sens. Environ. 2021, 256, 112317. [Google Scholar] [CrossRef]
- Su, H.; Lu, X.; Chen, Z.; Zhang, H.; Lu, W.; Wu, W. Estimating Coastal Chlorophyll-A Concentration from Time-Series OLCI Data Based on Machine Learning. Remote Sens. 2021, 13, 576. [Google Scholar] [CrossRef]
- Gordon, H.R.; Morel, A.Y. Remote Assessment of Ocean Color for Interpretation of Satellite Visible Imagery: A Review; Springer Science & Business Media: New York, NY, USA, 2012. [Google Scholar]
- Song, K.; Wang, Z.; Blackwell, J.; Zhang, B.; Li, F.; Zhang, Y.; Jiang, G. Water quality monitoring using Landsat Themate Mapper data with empirical algorithms in Chagan Lake, China. J. Appl. Remote Sens. 2011, 5, 053506. [Google Scholar] [CrossRef]
- Escoto, J.; Blanco, A.; Argamosa, R.; Medina, J. Pasig River Water Quality Estimation Using An Empirical Ordinary Least Squares Regression Model Of Sentinel-2 Satellite Images. Int. Arch. Photogramm. Remote Sens. Spat. Inf. Sci. 2021, 46, 161–168. [Google Scholar] [CrossRef]
- Sagan, V.; Peterson, K.T.; Maimaitijiang, M.; Sidike, P.; Sloan, J.; Greeling, B.A.; Maalouf, S.; Adams, C. Monitoring inland water quality using remote sensing: Potential and limitations of spectral indices, bio-optical simulations, machine learning, and cloud computing. Earth-Sci. Rev. 2020, 205, 103187. [Google Scholar] [CrossRef]
- Sun, X.; Zhang, Y.; Shi, K.; Zhang, Y.; Li, N.; Wang, W.; Huang, X.; Qin, B. Monitoring water quality using proximal remote sensing technology. Sci. Total Environ. 2022, 803, 149805. [Google Scholar] [CrossRef] [PubMed]
- Li, X.; Sha, J.; Wang, Z.-L. Chlorophyll-A Prediction of Lakes with Different Water Quality Patterns in China Based on Hybrid Neural Networks. Water 2017, 9, 524. [Google Scholar] [CrossRef]
- Xiang, B.; Song, J.-W.; Wang, X.-Y.; Zhen, J. Improving the accuracy of estimation of eutrophication state index using a remote sensing data-driven method: A case study of Chaohu Lake, China. Water SA 2015, 41, 753–761. [Google Scholar] [CrossRef]
- He, Y.; Gong, Z.; Zheng, Y.; Zhang, Y. Inland Reservoir Water Quality Inversion and Eutrophication Evaluation Using BP Neural Network and Remote Sensing Imagery: A Case Study of Dashahe Reservoir. Water 2021, 13, 2844. [Google Scholar] [CrossRef]
- Elsayed, S.; Ibrahim, H.; Hussein, H.; Elsherbiny, O.; Elmetwalli, A.H.; Moghanm, F.S.; Ghoneim, A.M.; Danish, S.; Datta, R.; Gad, M. Assessment of Water Quality in Lake Qaroun Using Ground-Based Remote Sensing Data and Artificial Neural Networks. Water 2021, 13, 3094. [Google Scholar] [CrossRef]
- Liu, H.; He, B.; Zhou, Y.; Yang, X.; Zhang, X.; Xiao, F.; Feng, Q.; Liang, S.; Zhou, X.; Fu, C. Eutrophication monitoring of lakes in Wuhan based on Sentinel-2 data. GISci. Remote Sens. 2021, 58, 776–798. [Google Scholar] [CrossRef]
- Zhou, Y.; He, B.; Xiao, F.; Feng, Q.; Kou, J.; Liu, H. Retrieving the Lake Trophic Level Index with Landsat-8 Image by Atmospheric Parameter and RBF: A Case Study of Lakes in Wuhan, China. Remote Sens. 2019, 11, 457. [Google Scholar] [CrossRef]
- Yang, X.; Jiang, Y.; Deng, X.; Zheng, Y.; Yue, Z. Temporal and Spatial Variations of Chlorophyll a Concentration and Eutrophication Assessment (1987–2018) of Donghu Lake in Wuhan Using Landsat Images. Water 2020, 12, 2192. [Google Scholar] [CrossRef]
- Pompeo, M.; Moschini-Carlos, V.; Bitencourt, M.D.; Soria-Perpinya, X.; Vicente, E.; Delegido, J. Water quality assessment using Sentinel-2 imagery with estimates of chlorophyll a, Secchi disk depth, and Cyanobacteria cell number: The Cantareira System reservoirs (Sao Paulo, Brazil). Environ. Sci. Pollut. Res. Int. 2021, 28, 34990–35011. [Google Scholar] [CrossRef] [PubMed]
- Caballero, I.; Fernandez, R.; Escalante, O.M.; Maman, L.; Navarro, G. New capabilities of Sentinel-2A/B satellites combined with in situ data for monitoring small harmful algal blooms in complex coastal waters. Sci. Rep. 2020, 10, 8743. [Google Scholar] [CrossRef] [PubMed]
- Ministry of Ecology and Environment of the People’s Republic of China. 2018 China Ecological Environment Status Bulletin; Ministry of Ecology and Environment of the People’s Republic of China: Beijing, China, 2019.
- Gen, L. Construction of a Chlorophyll a Inversion Model Based on Landsat8 Images and Its Application in Wuhan East Lake. Master’s Thesis, Huazhong University of Science and Technology, Wuhan, China, 2017. [Google Scholar]
- Liu, W.; Cai, Y.; Gan, Y.; Wang, Y.; Huang, S.; Wang, Y. Inversion study of chlorophyll a concentration in Houguan Lake based on Landsat 8 images. J. Inn. Mong. Norm. Univ. 2022, 51, 178–185. [Google Scholar]
- Wang, M.; Zhao, Y.; Liu, T. Grey correlation analysis of chlorophyll a and environmental factors in South Lake, Wuhan. Guangdong Chem. 2021, 48, 40–41. [Google Scholar]
- Xiang, Y.; Zhang, C.; Wu, Z.; Fu, C. An inversion study of chlorophyll a in Sand Lake based on Landsat 8 data. Land Nat. Resour. Stud. 2022, 2022, 88–91. [Google Scholar] [CrossRef]
- Kyryliuk, D.; Kratzer, S. Evaluation of Sentinel-3A OLCI Products Derived Using the Case-2 Regional CoastColour Processor over the Baltic Sea. Sensors 2019, 19, 3609. [Google Scholar] [CrossRef]
- Yu, Z.; Yang, K.; Luo, Y.; Shang, C.; Zhou, L. A deep neural network algorithm based inversion method for water transparency. J. Ecol. 2021, 41, 2515–2524. [Google Scholar]
- Bai, S.; Gao, J.; Sun, D.; Tian, M. Monitoring Water Transparency in Shallow and Eutrophic Lake Waters Based on GOCI Observations. Remote Sens. 2020, 12, 163. [Google Scholar] [CrossRef]
- Feng, L.; Hou, X.; Zheng, Y. Monitoring and understanding the water transparency changes of fifty large lakes on the Yangtze Plain based on long-term MODIS observations. Remote Sens. Environ. 2019, 221, 675–686. [Google Scholar] [CrossRef]
- Li, X.; Zhang, Y.; Shi, H.; Jiang, S.; Wang, T.; Ding, M.; Cai, K. Application of maximum chlorophyll index based on Sentinel-3A satellite OLCI data for cyanobacterial bloom monitoring in Taihu Lake. China Environ. Monit. 2019, 35, 146–155. [Google Scholar] [CrossRef]
- Binding, C.E.; Greenberg, T.A.; Jerome, J.H.; Bukata, R.P.; Letourneau, G. An assessment of MERIS algal products during an intense bloom in Lake of the Woods. J. Plankton Res. 2010, 33, 793–806. [Google Scholar] [CrossRef]
- Matsushita, B.; Yang, W.; Yu, G.; Oyama, Y.; Yoshimura, K.; Fukushima, T. A hybrid algorithm for estimating the chlorophyll-a concentration across different trophic states in Asian inland waters. ISPRS J. Photogramm. Remote Sens. 2015, 102, 28–37. [Google Scholar] [CrossRef]
- Binding, C.E.; Greenberg, T.A.; Bukata, R.P. The MERIS Maximum Chlorophyll Index; its merits and limitations for inland water algal bloom monitoring. J. Great Lakes Res. 2013, 39, 100–107. [Google Scholar] [CrossRef]
- Song, Y.; Sonng, X.; Uo, Z.; Zhou, H.; Jiang, H. Inversion study of chlorophyll a concentration in Lake Taihu using MERIS product data. Remote Sens. Inf. 2009, 04, 19–24. [Google Scholar]
- McCullough, G. MERIS/MODIS Prediction of Chlorophyll in Lake Winnipeg; Canadian Department of Fisheries and Oceans Institute of Ocean Sciences: Sidney, BC, Canada, 2007.
- Moses, W.J.; Saprygin, V.; Gerasyuk, V.; Povazhnyy, V.; Berdnikov, S.; Gitelson, A.A. OLCI-based NIR-red models for estimating chlorophyll-a concentration in productive coastal waters—A preliminary evaluation. Environ. Res. Commun. 2019, 1, 011002. [Google Scholar] [CrossRef]
- Beck, R.; Zhan, S.; Liu, H.; Tong, S.; Yang, B.; Xu, M.; Ye, Z.; Huang, Y.; Shu, S.; Wu, Q. Comparison of satellite reflectance algorithms for estimating chlorophyll-a in a temperate reservoir using coincident hyperspectral aircraft imagery and dense coincident surface observations. Remote Sens. Environ. 2016, 178, 15–30. [Google Scholar] [CrossRef]
- Xu, M.; Liu, H.; Beck, R.; Lekki, J.; Yang, B.; Shu, S.; Kang, E.L.; Anderson, R.; Johansen, R.; Emery, E. A spectral space partition guided ensemble method for retrieving chlorophyll-a concentration in inland waters from Sentinel-2A satellite imagery. J. Great Lakes Res. 2019, 45, 454–465. [Google Scholar] [CrossRef]
- Mishra, S.; Mishra, D.R. Normalized difference chlorophyll index: A novel model for remote estimation of chlorophyll-a concentration in turbid productive waters. Remote Sens. Environ. 2012, 117, 394–406. [Google Scholar] [CrossRef]
- Makwinja, R.; Inagaki, Y.; Sagawa, T.; Obubu, J.P.; Habineza, E.; Haaziyu, W. Monitoring trophic status using in situ data and Sentinel-2 MSI algorithm: Lesson from Lake Malombe, Malawi. Environ. Sci. Pollut. Res. 2022, 30, 29755–29772. [Google Scholar] [CrossRef]
- Mishra, D.R.; Schaeffer, B.A.; Keith, D. Performance evaluation of normalized difference chlorophyll index in northern Gulf of Mexico estuaries using the Hyperspectral Imager for the Coastal Ocean. GISci. Remote Sens. 2014, 51, 175–198. [Google Scholar] [CrossRef]
- Chen, J.; Zhu, W.; Tian, Y.Q.; Yu, Q.; Zheng, Y.; Huang, L. Remote estimation of colored dissolved organic matter and chlorophyll-a in Lake Huron using Sentinel-2 measurements. J. Appl. Remote Sens. 2017, 11, 036007. [Google Scholar] [CrossRef]
- Gao, G.; Fu, X.; Li, H.; Hu, H.; Liu, W.; Ren, D. Application of GA-BP neural network in prediction of chl-a concentration in Wuliangsu Lake. In Proceedings of the 2022 3rd International Conference on Geology, Mapping and Remote Sensing (ICGMRS), Zhoushan, China, 22–24 April 2022; pp. 275–281. [Google Scholar]
- Liu, Y.; Zhang, B.; Yao, X.; Zhang, H.; Feng, R. Remote sensing inversion study of water transparency in Dongping Lake. Mapp. Sci. 2018, 43, 72–78. [Google Scholar] [CrossRef]
- Zhang, Y.; Hu, X.; Jin, R.; Ajloon, F.H.; Li, X.; Zhou, T.; Feng, Y.; Xie, D. A study of water clarity and its influencing factors in 10 wetlands in Suzhou in 2019. Wetl. Sci. 2021, 19, 331–341. [Google Scholar] [CrossRef]
- Liu, J.; Sun, D.; Zhang, Y.; Li, Y. Pre-classification improves relationships between water clarity, light attenuation, and suspended particulates in turbid inland waters. Hydrobiologia 2013, 711, 71–86. [Google Scholar] [CrossRef]
- Li, D.; Yang, Z.; Yu, Y.; Tang, S.; Zhang, T.; Zhou, G. Photosynthetic activity of cyanobacteria in spring and autumn in Lake Taihu. J. Environ. Sci. 2013, 33, 3053–3059. [Google Scholar] [CrossRef]
- Wu, X.; Peng, N.; He, L.; Wang, R.; Liu, F.; Xiang, A.; Su, T.; Liu, Y.; Ge, G. Temporal and spatial variation of water transparency in the former Fuxiang River and factors influencing it. J. Nanchang Univ. 2021, 45, 182–188. [Google Scholar] [CrossRef]
- Du, H.; Chen, Z.; Mao, G.; Chen, L.; Crittenden, J.; Li, R.Y.M.; Chai, L. Evaluation of eutrophication in freshwater lakes: A new non-equilibrium statistical approach. Ecol. Indic. 2019, 102, 686–692. [Google Scholar] [CrossRef]
- Huo, S.; He, Z.; Su, J.; Xi, B.; Zhu, C. Using artificial neural network models for eutrophication prediction. Procedia Environ. Sci. 2013, 18, 310–316. [Google Scholar] [CrossRef]
- MacIntyre, H.L.; Cullen, J.J. Primary production by suspended and benthic microalgae in a turbid estuary: Time-scales of variability in San Antonio Bay, Texas. Mar. Ecol. Prog. Ser. 1996, 145, 245–268. [Google Scholar] [CrossRef]
- Zhao, X.; Liu, Z.; He, J.; Zhang, W. Remote sensing inversion study of water quality parameters in Huangbizhuang Reservoir. Geogr. Geogr. Inf. Sci. 2007, 06, 46–49. [Google Scholar]
- Jiang, L.; Wang, L.; Wamg, L.; Gao, S.; Yue, J. Remote inversion study of Bohai Sea transparency based on Sentinel-3 OLCI imagery. Spectrosc. Spectr. Anal. 2022, 42, 1209–1216. [Google Scholar]
- Liu, C.; Zhu, L.; Wang, J.; Qiao, B.; Ju, J.; Huang, L. Remote sensing inversion of lake transparency on the Qinghai-Tibet Plateau based on modis. Adv. Geosci. 2017, 36, 597–609. [Google Scholar] [CrossRef]
- Parparov, A.; Gal, G.; Hamilton, D.P.; Kasprzak, P.; Ostapenia, A. Water quality assessment, trophic classification and water resources management. J. Water Resour. Prot. 2010, 2, 907–915. [Google Scholar] [CrossRef]
- El-Serehy, H.A.; Abdallah, H.S.; Al-Misned, F.A.; Al-Farraj, S.A.; Al-Rasheid, K.A. Assessing water quality and classifying trophic status for scientifically based managing the water resources of the Lake Timsah, the lake with salinity stratification along the Suez Canal. Saudi J. Biol. Sci. 2018, 25, 1247–1256. [Google Scholar] [CrossRef]
- Wang, J.; Fu, Z.; Qiao, H.; Liu, F. Assessment of eutrophication and water quality in the estuarine area of Lake Wuli, Lake Taihu, China. Sci. Total Environ. 2019, 650, 1392–1402. [Google Scholar] [CrossRef]
- Han, H.-G.; Chen, Q.-L.; Qiao, J.-F. An efficient self-organizing RBF neural network for water quality prediction. Neural Netw. 2011, 24, 717–725. [Google Scholar] [CrossRef]
- Meng, X.; Zhang, Y.; Qiao, J. An adaptive task-oriented RBF network for key water quality parameters prediction in wastewater treatment process. Neural Comput. Appl. 2021, 33, 11401–11414. [Google Scholar] [CrossRef]
- Deng, W.; Wang, G.; Zhang, X.; Guo, Y.; Li, G. Water quality prediction based on a novel hybrid model of ARIMA and RBF neural network. In Proceedings of the 2014 IEEE 3rd International Conference on Cloud Computing and Intelligence Systems, Shenzhen, China, 27–29 November 2014; pp. 33–40. [Google Scholar]
- Liu, H.; He, B.; Zhou, Y.; Kutser, T.; Toming, K.; Feng, Q.; Yang, X.; Fu, C.; Yang, F.; Li, W. Trophic state assessment of optically diverse lakes using Sentinel-3-derived trophic level index. Int. J. Appl. Earth Obs. Geoinf. 2022, 114, 103026. [Google Scholar] [CrossRef]






| Sentinel-2 Bands | Sentinel-2A | Sentinel-2B | |||
|---|---|---|---|---|---|
| Central Wavelength (nm) | Bandwidth (nm) | Central Wavelength (nm) | Bandwidth (nm) | Spatial Resolution (m) | |
| Band 1—Coastal aerosol | 442.7 | 21 | 442.2 | 21 | 60 |
| Band 2—Blue | 492.4 | 66 | 492.1 | 66 | 10 |
| Band 3—Green | 559.8 | 36 | 559.0 | 36 | 10 |
| Band 4—Red | 664.6 | 31 | 664.9 | 31 | 10 |
| Band 5—Vegetation red edge | 704.1 | 15 | 703.8 | 16 | 20 |
| Band 6—Vegetation red edge | 740.5 | 15 | 739.1 | 15 | 20 |
| Band 7—Vegetation red edge | 782.8 | 20 | 779.7 | 20 | 20 |
| Band 8—NIR | 832.8 | 106 | 832.9 | 106 | 10 |
| Band 8A—Narrow NIR | 864.7 | 21 | 864.0 | 22 | 20 |
| Band 9—Water vapor | 945.1 | 20 | 943.2 | 21 | 60 |
| Band 10—SWIR–Cirrus | 1373.5 | 31 | 1376.9 | 30 | 60 |
| Band 11—SWIR | 1613.7 | 91 | 1610.4 | 94 | 20 |
| Band 12—SWIR | 2202.4 | 175 | 2185.7 | 185 | 20 |
| Satellite | Sampling | ||||
|---|---|---|---|---|---|
| Transit Date | Year | Month | Date | Number of Samples | Total Number of Samples |
| 1 November 2018 | 2018 | 10 | 31 | 2 | 53 |
| 2018 | 11 | 1 | 29 | ||
| 2018 | 11 | 2 | 19 | ||
| 2018 | 11 | 3 | 3 | ||
| 8 May 2019 | 2019 | 5 | 5 | 13 | 20 |
| 2019 | 5 | 6 | 6 | ||
| 2019 | 5 | 9 | 1 | ||
| 5 March 2020 | 2020 | 3 | 4 | 3 | 7 |
| 2020 | 3 | 6 | 4 | ||
| 1 September 2020 | 2020 | 8 | 31 | 2 | 69 |
| 2020 | 9 | 1 | 44 | ||
| 2020 | 9 | 2 | 21 | ||
| 2020 | 9 | 3 | 2 | ||
| 3 November 2020 | 2020 | 11 | 2 | 3 | 12 |
| 2020 | 11 | 3 | 4 | ||
| 2020 | 11 | 4 | 5 | ||
| 4 January 2021 | 2021 | 1 | 4 | 15 | 49 |
| 2021 | 1 | 5 | 16 | ||
| 2021 | 1 | 6 | 16 | ||
| 2021 | 1 | 7 | 2 | ||
| Chl-a | TP | TN | SD | CODMn | |
|---|---|---|---|---|---|
| 1 | 0.84 | 0.82 | −0.83 | 0.83 | |
| 1 | 0.7056 | 0.6724 | 0.6889 | 0.6889 |
| R | 3BDA | MCI | NDCI | B5/B4 |
|---|---|---|---|---|
| In situ Chl-a | 0.32 | 0.23 | 0.36 | 0.34 |
| conc_chl | 0.98 | 0.66 | 0.92 | 0.96 |
| RMSE (μg/L) | 3BDA | MCI | NDCI | B5/B4 |
|---|---|---|---|---|
| In situ Chl-a | 37.19 | 37.29 | 37.19 | 36.24 |
| conc_chl | 30.13 | 30.22 | 30.13 | 28.99 |
| MAE (μg/L) | 3BDA | MCI | NDCI | B5/B4 |
|---|---|---|---|---|
| In situ Chl-a | 32.43 | 32.57 | 32.44 | 31.440 |
| conc_chl | 27.47 | 27.56 | 27.47 | 26.33 |
| Linear | Exponential | Logarithmic | Power | |
|---|---|---|---|---|
| 3BDA | y = 49.25x + 23.654 | |||
| MCI | y = 1785.5x + 19.914 | y = 12.965 × 1094.593x | y = 7.6841ln(x) + 70.814 | y =208.07x0.4214 |
| NDCI | y = 69.621x + 21.985 | y = 14.867 × 103.3951x | ||
| B5/B4 | y = 24.973x − 2.3716 | y = 4.4626 × 101.2305x | y = 33.858ln(x) + 22.068 | y = 14.922x1.6531 |
| R | B6 | B7 | B8a | B4/B6 | B4/B7 | B4/B8 |
|---|---|---|---|---|---|---|
| In situ SD | −0.35 | −0.35 | −0.36 | 0.42 | 0.42 | 0.41 |
| kd_z90max | −0.72 | −0.73 | −0.74 | 0.91 | 0.92 | 0.92 |
| Linear | Exponential | Logarithmic | Power | |
|---|---|---|---|---|
| B6 | y = −5552.5x + 77.625 | y = 70.359 × 10−88.57x | y = −23.27ln(x) − 76.599 | y = 8.0485x−0.319 |
| B7 | y = −5385.7x + 76.981 | y = 69.863 × 10−86.65x | y = −23.07ln(x) − 75.59 | y = 8.1212x−0.317 |
| B8a | y = −12646x + 75.332 | y = 68.363 × 10−206.3x | y = −23.06ln(x) − 97.048 | y = 5.9927x−0.318 |
| B4/B6 | y = 19.105x + 8.2487 | y = 25.616 × 100.2646x | y = 42.345ln(x) + 18.999 | y = 28.968x0.6177 |
| B4/B7 | y = 18.135x + 10.176 | y = 26.355 × 100.2504x | y = 39.9ln(x) + 20.88 | y = 29.748x0.5831 |
| B4/B8 | y = 6.4456x + 14.062 | y = 27.73 × 100.0895x | y = 35.36ln(x) − 8.3866 | y = 19.284x0.52 |
| Range μg/L | No. of Samples | R | RMSE (μg/L) | MAE (μg/L) |
|---|---|---|---|---|
| 2~10 | 20 | −0.40 | 19.08 | 13.29 |
| 10~20 | 62 | 0.16 | 21.04 | 13.27 |
| 20~30 | 46 | 0.16 | 21.76 | 15.83 |
| 30~40 | 46 | 0.20 | 20.69 | 16.49 |
| 40~50 | 16 | −0.30 | 23.15 | 19.38 |
| 50~120 | 20 | 0.02 | 37.16 | 34.89 |
Disclaimer/Publisher’s Note: The statements, opinions and data contained in all publications are solely those of the individual author(s) and contributor(s) and not of MDPI and/or the editor(s). MDPI and/or the editor(s) disclaim responsibility for any injury to people or property resulting from any ideas, methods, instructions or products referred to in the content. |
© 2023 by the authors. Licensee MDPI, Basel, Switzerland. This article is an open access article distributed under the terms and conditions of the Creative Commons Attribution (CC BY) license (https://creativecommons.org/licenses/by/4.0/).
Share and Cite
Li, W.; Zhou, Y.; Yang, F.; Liu, H.; Yang, X.; Fu, C.; He, B. Using C2X to Explore the Uncertainty of In Situ Chlorophyll-a and Improve the Accuracy of Inversion Models. Sustainability 2023, 15, 9516. https://doi.org/10.3390/su15129516
Li W, Zhou Y, Yang F, Liu H, Yang X, Fu C, He B. Using C2X to Explore the Uncertainty of In Situ Chlorophyll-a and Improve the Accuracy of Inversion Models. Sustainability. 2023; 15(12):9516. https://doi.org/10.3390/su15129516
Chicago/Turabian StyleLi, Wen, Yadong Zhou, Fan Yang, Hui Liu, Xiaoqin Yang, Congju Fu, and Baoyin He. 2023. "Using C2X to Explore the Uncertainty of In Situ Chlorophyll-a and Improve the Accuracy of Inversion Models" Sustainability 15, no. 12: 9516. https://doi.org/10.3390/su15129516
APA StyleLi, W., Zhou, Y., Yang, F., Liu, H., Yang, X., Fu, C., & He, B. (2023). Using C2X to Explore the Uncertainty of In Situ Chlorophyll-a and Improve the Accuracy of Inversion Models. Sustainability, 15(12), 9516. https://doi.org/10.3390/su15129516

