Sponge City and Water Environment Planning and Construction in Jibu District in Changde City
Abstract
1. Introduction
2. Literature Review
3. Methodology
3.1. Analysis of the Current Situation of the Planning Area
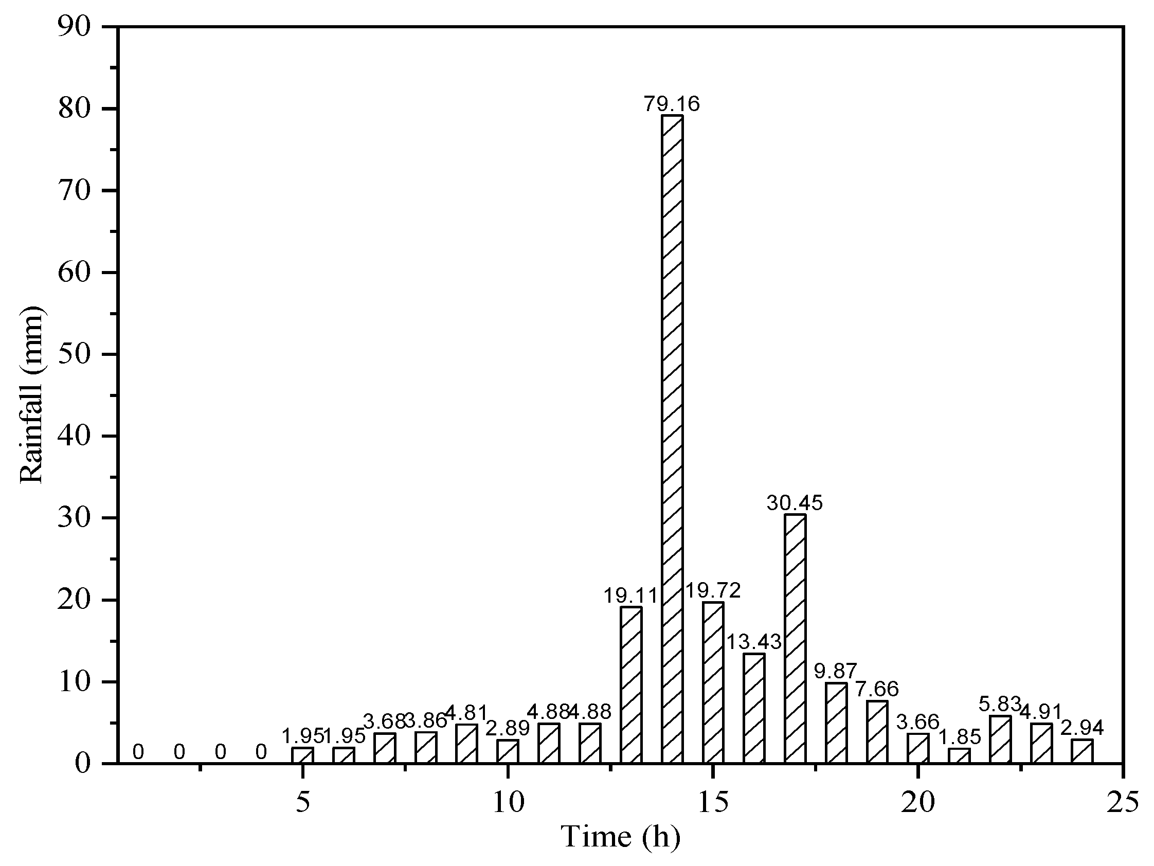
3.2. Analysis of the Rainfall
3.2.1. Short-Duration Rainfall Pattern
3.2.2. Long-Duration Rainfall Pattern
3.3. Analysis of the Present Water Environment
3.4. Analysis of Current Construction Conditions
3.5. Main Problems and Cause Analysis
4. Results and Discussion
4.1. Objective and Strategy
4.2. Water Environment System
4.2.1. Overall Technical Route
4.2.2. Water Environment System
4.2.3. Water Ecosystem
4.2.4. Water Safety System
4.3. Discussion
5. Conclusions
- (1)
- Ninety-one sponge transformation projects of the old construction zone and the four projects of road and park sponging in Changde were completed to realize source pollution reduction. A total of 7.67 km of rainwater pipelines were newly constructed for process control. Regarding the end of pipe control, two park and green space sponging transformation projects were completed. Furthermore, eight water system regulation and ecological restoration projects and four pumping station and storage tank projects were completed.
- (2)
- Taking the measured rainfall in 2019 as the simulation condition, the results showed that the annual net flow total control rate and the runoff pollution reduction reached 77.56% and 45.18%, respectively, after the transformation based on the sponge city concept, which met the target demand. The total runoff and peak flow were reduced by 35.08% and 26.82%, respectively. Meanwhile, the peak flow of the runoff pollution concentration was reduced by 31.99%. Therefore, the water quantity and quality targets could meet the assessment requirements based on the transformation of the sponge city in Changde.
- (3)
- Through the construction of the sponge city, surface runoff pollutants were greatly reduced, and the pollutant load reduction rate of non-point source pollution in the area reached more than 45%. Thirty-eight kilometers of rivers and ditches were renovated. The river and lake ecosystems, water environment and the capacity of the urban water environment were greatly improved to achieve the unique natural landscape of green mountains, clear water, rivers, lakes and mountains. The project not only provided a reference for the planning and construction of a sponge city for other cities in China and presented the ‘Standard Atlas of Sponge City’ but also alleviated the problems of urban waterlogging and black and odorous water bodies and ensured sustainable development of urban water environment.
- (4)
- Sponge city construction is a systematic project that requires the systematic deployment of ‘source’, ‘process’ and ‘end’ rainwater reduction control. Sponge construction cannot be used for sponge’s sake, and the sponge transformation in built-up areas should be problem-oriented to effectively solve the current problems. The application of the drainage model should be given great importance to analyze and quantify the current problems and to complete the simulation assessment of the hydrologic and water quality compliance.
Author Contributions
Funding
Institutional Review Board Statement
Informed Consent Statement
Data Availability Statement
Acknowledgments
Conflicts of Interest
References
- Wang, Z.J. The Theory and Practice of “sponge city”. Henan Sci. Technol. 2018, 4, 60–61. [Google Scholar]
- Chen, X.L.; Zhao, D.Q.; Shen, Z.; Luo, R. Development and Application of Sponge City Planning System. China Water Wastewater 2015, 19, 121–125. [Google Scholar]
- Che, W.; Zhao, Y.; Li, J.Q.; Wang, W.L.; Wang, J.L.; Wang, S.S.; Gong, Y.W. Explanation of Sponge City Development Technical Guide: Basic Concepts and Comprehensive Goals. China Water Wastewater 2015, 8, 1–5. [Google Scholar]
- Wang, W.L.; Li, J.Q.; Che, W.; Zhao, Y. Explanation of Sponge City Development Technical Guide: Planning Index for Urban Total Runoff Volume Capture. China Water Wastewater 2015, 8, 18–23. [Google Scholar]
- Wang, H.; Mei, C.; Liu, J.H.; Shao, W.W. A new strategy for integrated urban water management in China: Sponge city. Sci. China Technol. Sc. 2018, 61, 317–329. [Google Scholar] [CrossRef]
- Hamidi, A.; Ramavandi, B.; Sorial, G.A. Sponge City—An emerging concept in sustainable water resource management: A scientometric analysis. Resour. Conserv. Recy. 2021, 5, 100028–100039. [Google Scholar] [CrossRef]
- Chan, F.K.S.; Griffiths, J.A.; Higgitt, D.; Xu, S.; Zhu, F.; Tang, Y.-T.; Xu, Y.; Thorne, C.R. “Sponge City” in China—A breakthrough of planning and flood risk management in the urban context. Land Use Pol. 2018, 76, 772–778. [Google Scholar] [CrossRef]
- Guan, X.; Wang, J.; Xiao, F. Sponge city strategy and application of pavement materials in sponge city. J. Clean. Prod. 2021, 303, 127022–127037. [Google Scholar] [CrossRef]
- Nguyen, T.T.; Ngo, H.H.; Guo, W.; Wang, X.C. A new model framework for sponge city implementation: Emerging challenges and future developments. J. Environ. Manag. 2020, 253, 109689–109702. [Google Scholar] [CrossRef]
- Shao, W.; Zhang, H.; Liu, J.; Yang, G.; Chen, X. Data Integration and its Application in the Sponge City Construction of CHINA. Procedia Eng. 2016, 154, 779–786. [Google Scholar] [CrossRef]
- Jia, H.; Yu, S.L.; Qin, H. Low impact development and sponge city construction for urban stormwater management. Front. Env. Sci. Eng. 2017, 11, 20–21. [Google Scholar] [CrossRef]
- Dietz, M.E.; Clausen, J.C.; Rosa; David, J. Calibration and Verification of SWMM for Low Impact Development. J. Am. Wter Resour. As. 2015, 51, 746–757. [Google Scholar]
- Ahiablame, L.; Shakya, R. Modeling flood reduction effects of low impact development at a watershed scale. J. Environ. Manag. 2016, 171, 81–91. [Google Scholar] [CrossRef]
- Pyke, C.; Warren, M.P.; Johnson, T.; Lagro, J.; Scharfenberg, J.; Groth, P.; Freed, R.; Schroeer, W.; Main, E. Assessment of low impact development for managing stormwater with changing precipitation due to climate change. Landscape Urban Plan. 2011, 103, 166–173. [Google Scholar] [CrossRef]
- Young, R.F.; McPherson, E.G. Governing metropolitan green infrastructure in the United States. Landscape Urban Plan. 2013, 109, 67–75. [Google Scholar] [CrossRef]
- Dietz, M.E. Low Impact Development Practices: A Review of Current Research and Recommendations for Future Directions. Water Air and Soil Pollut. 2007, 186, 351–363. [Google Scholar] [CrossRef]
- Eckart, K.; McPhee, Z.; Bolisetti, T. Performance and implementation of low impact development—A review. Sci. Total Environ. 2017, 607–608, 413–432. [Google Scholar] [CrossRef]
- O’Brien, C.D. Sustainable drainage system (SuDS) ponds in Inverness, UK and the favourable conservation status of amphibians. Urban Ecosyst. 2015, 18, 321–331. [Google Scholar] [CrossRef]
- Perales-Momparler, S.; Andrés-Doménech, I.; Hernández-Crespo, C.; Vallés-Morán, F.; Martín, M.; Escuder-Bueno, I.; Andreu, J. The role of monitoring sustainable drainage systems for promoting transition towards regenerative urban built environments: A case study in the Valencian region, Spain. J. Clean. Prod. 2017, 163, S113–S124. [Google Scholar] [CrossRef]
- Mbanaso, F.U.; Charlesworth, S.M.; Coupe, S.J.; Newman, A.P.; Nnadi, E.O. Reuse of materials from a Sustainable Drainage System device: Health, Safety and Environment assessment for an end-of-life Pervious Pavement Structure. Sci. Total Environ. 2019, 650, 1759–1770. [Google Scholar] [CrossRef]
- Dearden, R.A.; Marchant, A.; Royse, K. Development of a suitability map for infiltration sustainable drainage systems (SuDS). Environ. Earth Sci. 2013, 70, 2587–2602. [Google Scholar] [CrossRef]
- Benzerra, A.; Cherrared, M.; Chocat, B.; Cherqui, F.; Zekiouk, T. Decision support for sustainable urban drainage system management: A case study of Jijel, Algeria. J. Environ. Manag. 2012, 101, 46–53. [Google Scholar] [CrossRef] [PubMed]
- Kazemi, F.; Golzarian, M.R.; Myers, B. Potential of combined Water Sensitive Urban Design systems for salinity treatment in urban environments. J. Environ. Manag. 2018, 209, 169–175. [Google Scholar] [CrossRef]
- Chen, S.S.; Tsang, D.C.W.; He, M.; Sun, Y.; Lau, L.S.Y.; Leung, R.W.M.; Lau, E.S.C.; Hou, D.; Liu, A.; Mohanty, S. Designing sustainable drainage systems in subtropical cities: Challenges and opportunities. J. Clean. Prod. 2021, 280, 124418–124433. [Google Scholar] [CrossRef]
- Che, S.Q.; Xie, C.K.; Chen, D.; Bing-Qin, Y.U. Development and Constructive Approaches for Theories and Technologies of Sponge City System. Chinese Lands. Archit. 2015, 6, 11–15. [Google Scholar]
- Lancia, M.; Zheng, C.; He, X.; Lerner, D.N.; Andrews, C.; Tian, Y. Hydrogeological constraints and opportunities for “Sponge City” development: Shenzhen, southern China. J.Hydrol. Regional Studies 2020, 28, 100679–100688. [Google Scholar] [CrossRef]
- Xiong, J.Z.; Zheng, Y.; Zhang, J.J.; Xu, P.; Lu, H.Y.; Quan, F.; Zeng, H. Role of Sponge City development in China’s battle against urban water pollution: Insights from a transjuris dictional water quality management study. J. Clean. Prod. 2021, 294, 126335–126346. [Google Scholar] [CrossRef]
- Ji, Y.X.; Tong, Y.; Hou, J.M. Effects of Sponge City construction on flood characteristics of Fenghe River in Xixian New Area. J. Water Resour. Water Engin. 2021, 32, 50–57. [Google Scholar]
- Shen, Y.; Xu, Y.; Wu, J. Quantitavive analysis of the impact of Sponge City construction on housing prices with Suining city in Sichuan Province as an example. J. Tsinghua Univ. 2021, 61, 573–581. [Google Scholar]













| Category | Area (ha) | Proportion (%) |
|---|---|---|
| Building | 243.90 | 23.68 |
| Greenbelts | 255.96 | 24.85 |
| Water system | 59.12 | 5.74 |
| Pavement | 322.82 | 31.34 |
| Road | 148.20 | 14.39 |
| Total | 1030.00 | 100 |
| Pumping Station | Catchment Area (ha) | Designed Drainage Capacity (m3/s) | Storage Volume (m3/s) | Planning Attribute |
|---|---|---|---|---|
| Chuanmatou station | 446.87 | 12.6 | 20,000 | Built |
| Gandang station | 138.25 | 9.56 | 5000 | New project |
| Changgang station | 273.16 | 13.52 | 9000 | New project |
Disclaimer/Publisher’s Note: The statements, opinions and data contained in all publications are solely those of the individual author(s) and contributor(s) and not of MDPI and/or the editor(s). MDPI and/or the editor(s) disclaim responsibility for any injury to people or property resulting from any ideas, methods, instructions or products referred to in the content. |
© 2022 by the authors. Licensee MDPI, Basel, Switzerland. This article is an open access article distributed under the terms and conditions of the Creative Commons Attribution (CC BY) license (https://creativecommons.org/licenses/by/4.0/).
Share and Cite
Deng, Y.; Deng, J.; Zhang, C. Sponge City and Water Environment Planning and Construction in Jibu District in Changde City. Sustainability 2023, 15, 444. https://doi.org/10.3390/su15010444
Deng Y, Deng J, Zhang C. Sponge City and Water Environment Planning and Construction in Jibu District in Changde City. Sustainability. 2023; 15(1):444. https://doi.org/10.3390/su15010444
Chicago/Turabian StyleDeng, Yumei, Jie Deng, and Chun Zhang. 2023. "Sponge City and Water Environment Planning and Construction in Jibu District in Changde City" Sustainability 15, no. 1: 444. https://doi.org/10.3390/su15010444
APA StyleDeng, Y., Deng, J., & Zhang, C. (2023). Sponge City and Water Environment Planning and Construction in Jibu District in Changde City. Sustainability, 15(1), 444. https://doi.org/10.3390/su15010444
