NOAH as an Innovative Tool for Modeling the Use of Suburban Railways
Abstract
1. Introduction with the Literature Review
2. Heuristics as Inspirations from Nature
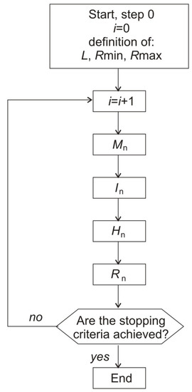
3. The NOAH Concept Based on the Behavior of Monkeys
4. Application Example of NOAH
4.1. Case Study
4.2. Factors and Their Conversion
4.3. Experiment 1, Testing the Changeability of Factors’ Values
4.4. Experiment 2, Considering the Real Data
5. Discussion
6. Conclusions
Funding
Institutional Review Board Statement
Informed Consent Statement
Data Availability Statement
Conflicts of Interest
References
- Canca, D.; De-Los-Santos, A.; Laporte, G.; Mesa, J.A. An adaptive neighborhood search metaheuristic for the integrated railway rapid transit network design and line planning problem. Comput. Oper. Res. 2017, 78, 1–14. [Google Scholar] [CrossRef]
- Yan, F.; Goverde, R.M.P. Combined line planning and train timetabling for strongly heterogeneous railway lines with direct connections. Transp. Res. Part B Methodol. 2019, 127, 20–46. [Google Scholar] [CrossRef]
- Hickish, B.; Fletcher, D.I.; Harrison, R.F. Investigating Bayesian Optimization for rail network optimization. Int. J. Rail Transp. 2020, 8, 307–323. [Google Scholar] [CrossRef]
- Schlechte, T.; Borndörfer, R.; Erol, B.; Graffagnino, T.; Swarat, E. Micro–macro transformation of railway networks. J. Rail Transp. Plan. Manag. 2011, 1, 38–48. [Google Scholar] [CrossRef]
- Weik, N.; Warg, J.; Johansson, I.; Bohlin, M.; Nießen, N. Extending UIC 406-based capacity analysis—New approaches for railway nodes and network effects. J. Rail Transp. Plan. Manag. 2020, 15, 100199. [Google Scholar] [CrossRef]
- Ahmed, C.; Nur, K.; Ochieng, W. GIS and genetic algorithm based integrated optimization for rail transit system planning. J. Rail Transp. Plan. Manag. 2020, 16, 100222. [Google Scholar] [CrossRef]
- Dong, X.; Li, D.; Yin, Y.; Ding, S.; Cao, Z. Integrated optimization of train stop planning and timetabling for commuter railways with an extended adaptive large neighborhood search metaheuristic approach. Transport. Res. C Emerg. Technol. 2020, 117, 102681. [Google Scholar] [CrossRef]
- Qiannan, W.; Yang, L.; Pengrui, D. Optimization of urban rail transit station spacing for minimizing passenger travel time. J. Rail Transp. Plan. Manag. 2022, 22, 100317. [Google Scholar] [CrossRef]
- Binder, S.; Maknoon, M.Y.; Sharif Azadeh, S.; Bierlaire, M. Passenger-centric timetable rescheduling: A user equilibrium approach. Transport. Res. Part C Emerg. Technol. 2021, 132, 103368. [Google Scholar] [CrossRef]
- Jamili, A.; Pourseyed Aghaee, M. Robust stop-skipping patterns in urban railway operations under traffic alteration situation. Transport. Res. Part C Emerg. Technol. 2015, 61, 63–74. [Google Scholar] [CrossRef]
- Shang, P.; Li, R.; Liu, Z.; Yang, L.; Wang, Y. Equity-oriented skip-stopping schedule optimization in an oversaturated urban rail transit network. Transport. Res. Part C Emerg. Technol. 2018, 89, 321–343. [Google Scholar] [CrossRef]
- Wang, Y.; D’Ariano, A.; Yin, J.; Meng, L.; Tao, T.; Ning, B. Passenger demand oriented train scheduling and rolling stock circulation planning for an urban rail transit line. Transp. Res. Part B Methodol. 2018, 118, 193–227. [Google Scholar] [CrossRef]
- Jensen, L.W.; Landex, A.; Nielsen, O.A.; Kroon, L.G.; Schmidt, M. Strategic assessment of capacity consumption in railway networks: Framework and model. Transp. Res. Part C Emerg. Technol. 2017, 74, 126–149. [Google Scholar] [CrossRef]
- Yin, J.; D’Ariano, A.; Wang, Y.; Yang, L.; Tang, T. Timetable coordination in a rail transit network with time-dependent passenger demand. Eur. J. Oper. Res. 2021, 295, 183–202. [Google Scholar] [CrossRef]
- Zhang, T.; Li, D.; Qiao, Y. Comprehensive optimization of urban rail transit timetable by minimizing total travel times under time-dependent passenger demand and congested conditions. Appl. Math. Model. 2018, 58, 421–446. [Google Scholar] [CrossRef]
- Zhang, Y.; D’Ariano, A.; He, B.; Peng, Q. Microscopic optimization model and algorithm for integrating train timetabling and track maintenance task scheduling. Transp. Res. Part B Methodol. 2019, 127, 237–278. [Google Scholar] [CrossRef]
- Zhang, Y.; Peng, Q.; Yao, Y.; Zhang, X.; Zhou, X. Solving cyclic train timetabling problem through model reformulation: Extended time-space network construct and Alternating Direction Method of Multipliers methods. Transp. Res. Part B Methodol. 2019, 128, 344–379. [Google Scholar] [CrossRef]
- Zhang, Q.; Lusby, R.M.; Shang, P.; Zhu, X. A heuristic approach to integrate train timetabling, platforming, and railway network maintenance scheduling decisions. Transp. Res. Part B Methodol. 2022, 158, 210–238. [Google Scholar] [CrossRef]
- Zhao, S.; Yang, H.; Wu, Y. An integrated approach of train scheduling and rolling stock circulation with skip-stopping pattern for urban rail transit lines. Transp. Res. Part C Emerg. Technol. 2021, 128, 103170. [Google Scholar] [CrossRef]
- Whitbrook, A.; Meng, Q.; Chung, P.W.H. Reliable, Distributed Scheduling and Rescheduling for Time-Critical, Multiagent Systems. IEEE Trans. Autom. Sci. Eng. 2018, 15, 732–747. [Google Scholar] [CrossRef]
- Zheng, Y.-J.; Ling, H.-F.; Shi, H.-H.; Chen, H.-S.; Chen, S.-Y. Emergency railway wagon scheduling by hybrid biogeography-based optimization. Comput. Oper. Research 2014, 43, 1–8. [Google Scholar] [CrossRef]
- Satoshi, K.; Koichi, S.; Shingo, H.; Norio, T. An optimal delay management algorithm from passengers’ viewpoints considering the whole railway network. J. Rail Transp. Plan. Manag. 2011, 1, 25–37. [Google Scholar] [CrossRef]
- Samà, M.; Pellegrini, P.; D’Ariano, A.; Rodriguez, J.; Pacciarelli, D. On the tactical and operational train routing selection problem. Transp. Res. Part C Emerg. Technol. 2017, 76, 1–15. [Google Scholar] [CrossRef]
- Oneto, L.; Fumeo, E.; Clerico, G.; Canepa, R.; Papa, F.; Dambra, C.; Mazzino, N.; Anguita, D. Dynamic Delay Predictions for Large-Scale Railway Networks: Deep and Shallow Extreme Learning Machines Tuned via Thresholdout. IEEE Trans. Syst. Man Cybern. Systems 2017, 47, 2754–2767. [Google Scholar] [CrossRef]
- Xiao, X.; Jia, L.; Wang, Y. Correlation between heterogeneity and vulnerability of subway networks based on passenger flow. J. Rail Transp. Plan. Manag. 2018, 8, 145–157. [Google Scholar] [CrossRef]
- Shen, W.; Xiao, W.; Wang, X. Passenger satisfaction evaluation model for Urban rail transit: A structural equation modeling based on partial least squares. Transp. Policy 2016, 46, 20–31. [Google Scholar] [CrossRef]
- Wu, J.; Sun, H.; Wang, D.Z.W.; Zhong, M.; Han, L.; Gao, Z. Bounded-rationality based day-to-day evolution model for travel behavior analysis of urban railway network. Transp. Res. Part C Emerg. Technol. 2013, 31, 73–82. [Google Scholar] [CrossRef]
- Liu, Y.; Liu, Z.; Jia, R. DeepPF: A deep learning based architecture for metro passenger flow prediction. Transp. Res. Part C Emerg. Technol. 2019, 101, 18–34. [Google Scholar] [CrossRef]
- Liu, T.; Cats, O.; Gkiotsalitis, K. A review of public transport transfer coordination at the tactical planning phase. Transp. Res. Part C Emerg. Technol. 2021, 133, 103450. [Google Scholar] [CrossRef]
- Hansson, J.; Pettersson-Löfstedt, F.; Svensson, H.; Wretstrand, A. Replacing regional bus services with rail: Changes in rural public transport patronage in and around villages. Transp. Policy 2021, 101, 89–99. [Google Scholar] [CrossRef]
- Wei, S.; Zheng, W.; Wang, L. Understanding the configuration of bus networks in urban China from the perspective of network types and administrative division effect. Transp. Policy 2021, 104, 1–17. [Google Scholar] [CrossRef]
- Ngo, N.S.; Götschi, T.; Clark, B.Y. The effects of ride-hailing services on bus ridership in a medium-sized urban area using micro-level data: Evidence from the Lane Transit District. Transp. Policy 2021, 105, 44–53. [Google Scholar] [CrossRef]
- Behrends, S. Burden or opportunity for modal shift?—Embracing the urban dimension of intermodal road-rail transport. Transp. Policy 2017, 59, 10–16. [Google Scholar] [CrossRef]
- Stead, A.D.; Wheat, P.; Smith, A.S.J.; Ojeda-Cabral, M. Competition for and in the passenger rail market: Comparing open access versus franchised train operators’ costs and reliability in Britain. J. Rail Transp. Plan. Manag. 2019, 12, 100142. [Google Scholar] [CrossRef]
- Yang, A.; Wang, B.; Huang, J.; Li, C. Service replanning in urban rail transit networks: Cross-line express trains for reducing the number of passenger transfers and travel time. Transport. Res. Part C 2020, 115, 102629. [Google Scholar] [CrossRef]
- Lianhua, T.; Xingfang, X. Optimization for operation scheme of express and local trains in suburban rail transit lines based on station classification and bi-level programming. J. Rail Transp. Plan. Manag. 2022, 21, 100283. [Google Scholar] [CrossRef]
- Chen, X.; Lin, X.; He, F.; Li, M. Modeling and control of automated vehicle access on dedicated bus rapid transit lanes. Transp. Res. Part C Emerg. Technol. 2020, 120, 102795. [Google Scholar] [CrossRef]
- Tang, R.; De Donato, L.; Bešinović, N.; Flammini, F.; Goverde, R.M.P.; Lin, Z.; Liu, R.; Tang, T.; Vittorini, V.; Wang, Z. A literature review of Artificial Intelligence applications in railway systems. Transp. Res. Part C Emerg. Technol. 2022, 140, 103679. [Google Scholar] [CrossRef]
- López, D.; Farooq, B. A multi-layered blockchain framework for smart mobility data-markets. Transp. Res. Part C Emerg. Technol. 2020, 111, 588–615. [Google Scholar] [CrossRef]
- Khisty, C.J.; Arslan, T. Possibilities of steering the transportation planning process in the face of bounded rationality and unbounded uncertainty. Transp. Res. Part C Emerg. Technol. 2005, 13, 77–92. [Google Scholar] [CrossRef]
- Li, H.; He, F.; Lin, X.; Wang, Y.; Li, M. Travel time reliability measure based on predictability using the Lempel–Ziv algorithm. Transp. Res. Part C Emerg. Technol. 2019, 101, 161–180. [Google Scholar] [CrossRef]
- Kahneman, D. Thinking Fast and Slow; Farrar, Straus and Giroux: New York, NY, USA, 2013; ISBN -100374533555. [Google Scholar]
- Lau, H.C.; Raidl, G.R.; Van Hentenryck, P. New developments in metaheuristics and their applications. J. Heuristics 2016, 22, 359–363. [Google Scholar] [CrossRef][Green Version]
- Xavier, E.A.; Xavier, V.L. Flying elephants: A general method for solving non-differentiable problems. J. Heuristics 2016, 22, 649–664. [Google Scholar] [CrossRef]
- Martinelli, D.R.; Teng, H. Optimization of railway operations using neural networks. Transp. Res. Part C Emerg. Technol. 1996, 4, 33–49. [Google Scholar] [CrossRef]
- Fischetti, M.; Monaci, M. Proximity search heuristics for wind farm optimal layout. J. Heuristics. 2016, 22, 459–474. [Google Scholar] [CrossRef]
- Teodorović, D. Swarm intelligence systems for transportation engineering: Principles and applications. Transp. Res. Part C Emerg. Technol. 2008, 16, 651–667. [Google Scholar] [CrossRef]
- Venter, G.; Sobieszczanski-Sobieski, J. Multidisciplinary optimization of a transport aircraft wing using particle swarm optimization. Struct. Multidisc. Optim. 2004, 26, 121–131. [Google Scholar] [CrossRef]
- Steiger, E.; Resch, B.; de Albuquerque, J.P.; Zipf, A. Mining and correlating traffic events from human sensor observations with official transport data using self-organizing-maps. Transp. Res. Part C Emerg. Technol. 2016, 73, 91–104. [Google Scholar] [CrossRef]
- Cesme, B.; Furth, P.G. Self-organizing traffic signals using secondary extension and dynamic coordination. Transp. Res. Part C Emerg. Technol. 2014, 48, 1–15. [Google Scholar] [CrossRef]
- Hua, G.; Zhu, L.; Wu, J.; Shen, C.; Zhou, L.; Lin, Q. Blockchain-Based federated learning for intelligent control in heavy haul railway. IEEE Access 2020, 8, 176830–176839. [Google Scholar] [CrossRef]
- Kawaji, H.; Takenaka, Y.; Matsuda, H. Graph-based clustering for finding distant relationships in a large set of protein sequences. Bioinformatics 2004, 20, 243–252. [Google Scholar] [CrossRef]
- Paradis, E.; Claude, J.; Strimmer, K. APE: Analyses of phylogenetics and evolution in R language. Bioinformatics 2004, 20, 289–290. [Google Scholar] [CrossRef]
- Simon, D. Biogeography-Based optimization. IEEE Trans. Evol. Computation 2008, 12, 702–713. [Google Scholar] [CrossRef]
- Nakamoto, S. Bitcoin: A Peer-to-Peer Electronic Cash System; Technical Report; Bitcoin.org: 2008. Available online: https://bitcoin.org/bitcoin.pdf (accessed on 22 October 2022).
- Decellieres, M.; Zuberbühler, K.; León, J. Habitat-dependent intergroup hostility in Diana monkeys, Cercopithecus diana. Anim. Behav. 2021, 178, 95–104. [Google Scholar] [CrossRef]
- Gareta García, M.; Farine, D.R.; Brachotte, C.; Borgeaud, C.; Bshary, R. Wild female vervet monkeys change grooming patterns and partners when freed from feeding constraints. Anim. Behav. 2021, 181, 117–136. [Google Scholar] [CrossRef]
- Leca, J.-B.; Gunst, N.; Thierry, B.; Petit, O. Distributed leadership in semifree-ranging white-faced capuchin Monkeys. Anim. Behav. 2003, 66, 1045–1052. [Google Scholar] [CrossRef]
- Miller, C.M.; Snyder-Mackler, N.; Nguyen, N.; Fashing, P.J.; Tung, J.; Wroblewski, E.E.; Gustison, M.L.; Wilson, M.L. Extragroup paternity in gelada monkeys, Theropithecus gelada, at Guassa, Ethiopia and a comparison with other primates. Anim. Behav. 2021, 177, 277–301. [Google Scholar] [CrossRef]
- Wikberg, E.C.; Christie, D.; Sicotte, P.; Ting, N. Interactions between social groups of colobus monkeys (Colobus vellerosus) explain similarities in their gut microbiomes. Anim. Behav. 2020, 163, 17–31. [Google Scholar] [CrossRef]
- Scelza, B.A.; Prall, S.P.; Blumenfield, T.; Crittenden, A.N.; Gurven, M.; Kline, M.; Koster, J.; Kushnick, G.; Mattison, S.M.; Pillsworth, E.; et al. Patterns of paternal investment predict cross-cultural variation in jealous response. Nat. Hum. Behav. 2019, 4, 20–26. [Google Scholar] [CrossRef]
- Scelza, B.A.; Prall, S.P.; Swinford, N.; Gopalan, S.; Atkinson, E.G.; Mcelreath, R. High rate of extrapair paternity in a human population demonstrates diversity in human reproductive strategies. Sci. Adv. 2020, 6, 1–7. [Google Scholar] [CrossRef]
- Henrich, J.; Heine, S.J.; Norenzayan, A. The weirdest people in the world? Behav. Brain Sci. 2010, 33, 61–83. [Google Scholar] [CrossRef] [PubMed]
- Li, G.; Zhang, R.; Guo, S.; Zhang, J. Analysis of ride-hailing passenger satisfaction and life satisfaction based on a MIMIC model. Sustainability 2022, 14, 10954. [Google Scholar] [CrossRef]
- Gong, W.; Li, J.; Ng, M.K. Deciphering property development around high-speed railway stations through land value capture: Case studies in Shenzhen and Hong Kong. Sustainability 2021, 13, 12605. [Google Scholar] [CrossRef]





| Source | Problem | Tool |
|---|---|---|
| Canca et al., 2017 [1] | Line planning | O |
| Yan et al., 2019 [2] | MILP | |
| Hickish et al., 2020 [3] | Network optimization | GA |
| Schlechte et al., 2011 [4] | NH | |
| Weik et al., 2020 [5] | Nodes (location, classification) | NH |
| Ahmed et al., 2020 [6] | Station location | GA |
| Dong et al., 2020 [7] | O | |
| Qiannan et al., 2022 [8] | NH | |
| Binder et al., 2021 [9] | Timetable creation and rescheduling | SA |
| Jamili and Pourseyed Aghaee, 2015 [10] | SA | |
| Shang et al., 2018 [11] | NH | |
| Wang et al., 2018 [12] | MILP | |
| Jensen et al., 2016 [13] | NH | |
| Yin et al., 2021 [14] | O | |
| Zhang et al., 2018 [15] | O | |
| Zhang et al., 2019a [16] | MILP | |
| Zhang et al., 2019b [17] | NH | |
| Zhang et al., 2022 [18] | O | |
| Zhao et al., 2021 [19] | MILP | |
| Whitbrook et al., 2018 [20] | MS | |
| Zheng et al., 2014 [21] | BBO | |
| Satoshi et al., 2011 [22] | Operations (delay management, train routing) | TS |
| Sama et al., 2017 [23] | SI | |
| Oneto et al., 2017 [24] | O | |
| Xiao et al., 2018 [25] | Demand side of the transport system | NH |
| Shen et al., 2016 [26] | O | |
| Wu et al., 2013 [27] | O | |
| Liu et al., 2019 [28] | ANN | |
| Hansson et al., 2021 [30] | Bus systems and networks | NH |
| Wei et al., 2021 [31] | NH | |
| Ngo et al., 2021 [32] | Ride-hailing services | NH |
| Behrends, 2017 [33] | Nodes, coordination | NH |
| Stead et al., 2019 [34] | NH | |
| Yang et al., 2020 [35] | GA | |
| Lianhua and Xingfang, 2022 [36] | SA | |
| Chen et al., 2020 [37] | Autonomous Vehicles | O |
| Lopez and Farooq, 2020 [39] | Smart mobility data-markets | BC |
| Xavier and Xavier, 2016 [44] | Not related to transport systems | O |
| Martinelli and Teng, 1996 [45] | Railway operations | ANN |
| Fischetti and Monaci, 2016 [46] | Not related to transport systems | MILP |
| Teodorovic, 2008 [47] | Transportation engineering (general) | SI |
| Venter and S.-Sobieski, 2004 [48] | Optimization of a transport aircraft wing | SI |
| Steiger et al., 2016 [49] | Transport data | SOM |
| Cesme and Furth, 2014 [50] | Traffic signals | SOM |
| Hua et al., 2020 [51] | Intelligent Control in Heavy Haul Railway | BC |
| Kawaji et al., 2004, [52] | Not related to transport systems | O |
| Paradis et al., 2004, [53] | Not related to transport systems | O |
| Factors | ||
|---|---|---|
| n | Group | Description |
| F1 | positive | number of departures of trains (in a day) |
| F2 | positive | number of passengers (in trains in a day) |
| F3 | positive | number of people who get on the train in the chosen stations (one course) |
| F4 [%] | positive | percentage of seats taken up on the train (in a peak hour) |
| F5 | positive | number of stops in the characteristic distance |
| F6 | positive | number of residents in the “target area” |
| F7 | positive | parking volume on PR |
| F8 | positive | number of passengers who arrived at train from other forms of public transport (e.g., bus correlated in the timetable with trains) |
| F9 | positive | number of departures in other correlated forms (in a day) |
| F10 [PLN] | negative | cost (the price of a typical ticket, single travel, adult) |
| F11 | negative | number of departures in public transport competitive with the considered train line |
| F12 [minutes] | negative | travel time by train (in a peak hour) |
| F13 [minutes] | negative | travel time by competitive public transport (in a peak hour) |
| F14 [minutes] | negative | travel time by private cars (in a peak hour) |
| F15 | negative | number of passengers on competitive public transport (in a day) |
| F16 | negative | number of people who use private cars (in a day) |
| Factor, Fn | min | max | Reference Value | Monkey’s Position |
|---|---|---|---|---|
| F1 | 0 | 20 | 10 | 0.500 |
| F2 | 0 | 600 | 540 | 0.900 |
| F3 | 0 | 100 | 60 | 0.600 |
| F4 [%] | 0 | 100 | 90 | 0.900 |
| F5 | 6 | 21 | 15 | 0.600 |
| F6 | 12,000 | 20,000 | 16,000 | 0.500 |
| F7 | 0 | 100 | 80 | 0.800 |
| F8 | 0 | 100 | 70 | 0.700 |
| F9 | 0 | 10 | 4 | 0.400 |
| F10 [PLN] | 4.6 | 12 | 10.2 | 0.757 |
| F11 | 0 | 20 | 16 | 0.200 |
| F12 [minutes] | 30 | 90 | 30 | 1000 |
| F13 [minutes] | 30 | 90 | 60 | 0.500 |
| F14 [minutes] | 30 | 90 | 45 | 0.750 |
| F15 | 0 | 500 | 200 | 0.600 |
| F16 | 2400 | 16,000 | 10,000 | 0.441 |
| Mn | In | Hn | Rn | Fn |
|---|---|---|---|---|
| 0.478 | 0.937 | 0.010 | −0.003 | 10 |
| 0.538 | 0.083 | 0.009 | 0.003 | 323 |
| 0.566 | 0.333 | 0.005 | 0.000 | 57 |
| 0.440 | 0.675 | 0.005 | −0.001 | 44 |
| 0.460 | 0.834 | 0.008 | −0.002 | 13 |
| 0.513 | 0.523 | 0.000 | 0.000 | 16,101 |
| 0.545 | 0.403 | 0.003 | 0.001 | 54 |
| 0.516 | 0.858 | 0.007 | 0.000 | 52 |
| 0.538 | 0.752 | 0.004 | 0.001 | 5 |
| 0.482 | 0.800 | 0.007 | 0.000 | 8.4 |
| 0.478 | 0.584 | 0.002 | 0.000 | 10 |
| 0.491 | 0.729 | 0.005 | 0.001 | 61 |
| 0.506 | 0.513 | 0.000 | 0.000 | 60 |
| 0.500 | 0.295 | 0.004 | −0.001 | 60 |
| 0.511 | 0.247 | 0.005 | 0.001 | 244 |
| 0.455 | 0.938 | 0.010 | 0.003 | 9811 |
| M = 8.017 | I = 9.504 | H = 0.005 | R = 0.000 |
| Mn | In | Hn | Rn | Fn |
|---|---|---|---|---|
| 0.525 | 0.039 | 0.010 | 0.001 | 10 |
| 0.862 | 0.708 | 0.003 | −0.001 | 517 |
| 0.529 | 0.404 | 0.003 | 0.000 | 53 |
| 0.948 | 0.654 | 0.006 | −0.001 | 95 |
| 0.560 | 0.308 | 0.005 | 0.000 | 14 |
| 0.397 | 0.809 | 0.009 | −0.002 | 15,174 |
| 0.999 | 0.707 | 0.006 | −0.001 | 100 |
| 0.699 | 0.689 | 0.000 | 0.000 | 70 |
| 0.413 | 0.074 | 0.007 | −0.002 | 4 |
| 0.752 | 0.841 | 0.002 | 0.000 | 6.4 |
| 0.263 | 0.787 | 0.011 | 0.003 | 15 |
| 0.925 | 0.730 | 0.004 | 0.000 | 34 |
| 0.472 | 0.262 | 0.004 | −0.001 | 62 |
| 0.755 | 0.901 | 0.003 | 0.001 | 45 |
| 0.607 | 0.087 | 0.011 | 0.003 | 196 |
| 0.447 | 0.078 | 0.008 | 0.000 | 9926 |
| M = 10,153 | I = 8078 | H = 0.006 | R = 0.000 |
| Fn | ||||||
|---|---|---|---|---|---|---|
| n | min | Reference | Exp. 1 | Exp. 2 | max | Short Description |
| F1 | 0 | 10 | 10 | 10 | 20 | departures of trains in a day |
| F2 | 0 | 540 | 323 | 517 | 600 | passengers on trains in a day |
| F3 | 0 | 60 | 57 | 53 | 100 | people who get on the train |
| F4 [%] | 0 | 90 | 44 | 95 | 100 | percentage of seats taken up |
| F5 | 6 | 15 | 13 | 14 | 21 | stops |
| F6 | 12,000 | 16,000 | 16,101 | 15,174 | 20,000 | residents in the “target area” |
| F7 | 0 | 80 | 54 | 100 | 100 | parking volume in PR |
| F8 | 0 | 70 | 52 | 70 | 100 | passengers arrived |
| F9 | 0 | 4 | 5 | 4 | 10 | departures in correlated forms |
| F10 [PLN] | 4.6 | 10.2 | 8.4 | 6.4 | 12.0 | cost |
| F11 | 0 | 16 | 10 | 15 | 20 | competitive departures |
| F12 [minutes] | 30 | 30 | 61 | 34 | 90 | travel time by train |
| F13 [minutes] | 30 | 60 | 60 | 62 | 90 | travel time in competitive transport |
| F14 [minutes] | 30 | 45 | 60 | 45 | 90 | travel time in private cars |
| F15 | 0 | 200 | 244 | 196 | 500 | passengers using competitive transport |
| F16 | 2400 | 10,000 | 9811 | 9926 | 16,000 | people who use private cars |
Disclaimer/Publisher’s Note: The statements, opinions and data contained in all publications are solely those of the individual author(s) and contributor(s) and not of MDPI and/or the editor(s). MDPI and/or the editor(s) disclaim responsibility for any injury to people or property resulting from any ideas, methods, instructions or products referred to in the content. |
© 2022 by the author. Licensee MDPI, Basel, Switzerland. This article is an open access article distributed under the terms and conditions of the Creative Commons Attribution (CC BY) license (https://creativecommons.org/licenses/by/4.0/).
Share and Cite
Kruszyna, M. NOAH as an Innovative Tool for Modeling the Use of Suburban Railways. Sustainability 2023, 15, 193. https://doi.org/10.3390/su15010193
Kruszyna M. NOAH as an Innovative Tool for Modeling the Use of Suburban Railways. Sustainability. 2023; 15(1):193. https://doi.org/10.3390/su15010193
Chicago/Turabian StyleKruszyna, Maciej. 2023. "NOAH as an Innovative Tool for Modeling the Use of Suburban Railways" Sustainability 15, no. 1: 193. https://doi.org/10.3390/su15010193
APA StyleKruszyna, M. (2023). NOAH as an Innovative Tool for Modeling the Use of Suburban Railways. Sustainability, 15(1), 193. https://doi.org/10.3390/su15010193
