Environmental Accounting of the Yellow-Tail Lambari Aquaculture: Sustainability of Rural Freshwater Pond Systems
Abstract
1. Introduction
2. Materials and Methods
2.1. Data Source and Description of the Studied Farms
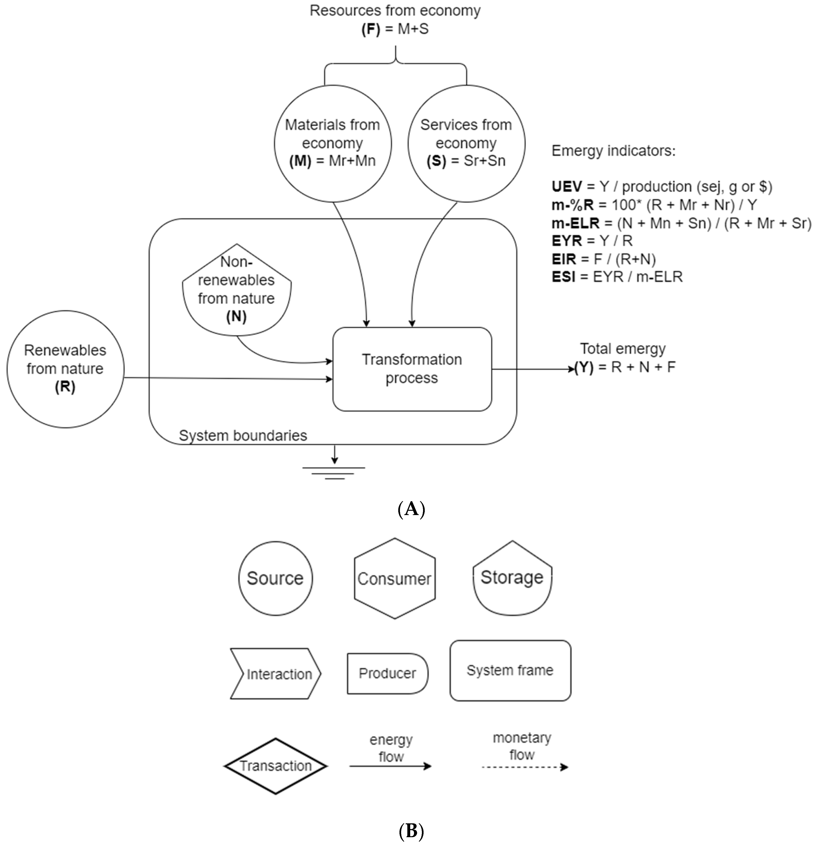
2.2. Emergy Synthesis Procedure
2.3. Simulated Changes to Improve Key Practices
2.4. Data Analyzes
3. Results
3.1. Lambari Production under Current Practices
3.2. Simulated the Introduction of Better Practices
4. Discussion
5. Conclusions
Author Contributions
Funding
Informed Consent Statement
Acknowledgments
Conflicts of Interest
Appendix A
| Item and Its Classification | Unit | UEV 2 (sej/Unit) | References for UEV | %R | Amount in Unit/ha/yr | ||||||||
|---|---|---|---|---|---|---|---|---|---|---|---|---|---|
| LC1 | LC2 | LC3 | MC1 | MC2 | MC3 | HC1 | HC2 | HC3 | |||||
| J | 1.00 × 100 | Odum [17] | 100 | 4.67 × 1013 | 4.67 × 1013 | 4.67 × 1013 | 4.67 × 1013 | 4.67 × 1013 | 4.67 × 1013 | 4.67 × 1013 | 4.67 × 1013 | 4.67 × 1013 |
| J | 2.31 × 104 | Odum [17] | 100 | 9.16 × 1010 | 9.16 × 1010 | 9.16 × 1010 | 9.16 × 1010 | 9.16 × 1010 | 9.16 × 1010 | 9.16 × 1010 | 9.16 × 1010 | 9.16 × 1010 |
| J | 5.23 × 104 | Comar [47] | 100 | 0.00 × 100 | 0.00 × 100 | 0.00 × 100 | 0.00 × 100 | 0.00 × 100 | 0.00 × 100 | 0.00 × 100 | 0.00 × 100 | 0.00 × 100 |
| J | 9.42 × 104 | Brandt-Williams [48] | 0 | 1.30 × 1010 | 8.50 × 109 | 8.50 × 109 | 8.50 × 109 | 1.52 × 1010 | 1.52 × 1010 | 1.52 × 1010 | 1.52 × 1010 | 1.52 × 1010 |
| J | 5.63 × 104 | Buenfil [36] | 0 | 2.51 × 1011 | 4.34 × 1011 | 4.34 × 1011 | 4.34 × 1011 | 2.63 × 1011 | 2.63 × 1011 | 2.63 × 1011 | 2.63 × 1011 | 2.63 × 1011 |
| g | 7.01 × 109 | Appendix B | 5 | 6.80 × 105 | 7.06 × 106 | 7.06 × 106 | 7.06 × 106 | 7.74 × 106 | 7.74 × 106 | 7.74 × 106 | 7.74 × 106 | 7.74 × 106 |
| |||||||||||||
| 7.1 Iron | g | 7.63 × 1010 | Buranakarn [49] | 0 | 3.40 × 1000 | 5.88 × 100 | 3.33 × 100 | 2.00 × 101 | 1.61 × 100 | 4.96 × 101 | 8.33 × 100 | 3.75 × 10−1 | 2.00 × 101 |
| 7.2 Plastic | g | 3.90 × 109 | Buranakarn [49] | 0 | 3.82 × 100 | 1.36 × 101 | 6.69 × 100 | 2.21 × 101 | 4.69 × 100 | 5.39 × 101 | 1.73 × 101 | 1.25 × 100 | 1.93 × 101 |
| 7.3 Steel | g | 5.92 × 109 | Brown and Ulgiati [50] | 0 | 1.79 × 102 | 4.95 × 102 | 3.02 × 102 | 1.08 × 101 | 5.81 × 10−1 | 2.67 × 101 | 1.08 × 101 | 1.33 × 100 | 1.08 × 101 |
| 7.4 Aluminum | g | 1.62 × 1010 | Buranakarn [49] | 0 | 6.80 × 10−3 | 1.00 × 10−2 | 6.67 × 10−3 | 3.30 × 10−1 | 1.61 × 10−3 | 8.18 × 10−1 | 3.30 × 10−1 | 3.95 × 10−3 | 3.30 × 10−1 |
| 7.5 Glass fiber | g | 1.00 × 1010 | Buranakarn [49] | 0 | 0.00 × 100 | 0.00 × 100 | 0.00 × 100 | 7.00 × 10−1 | 0.00 × 100 | 1.74 × 101 | 2.33 × 100 | 3.85 × 10−2 | 7.00 × 100 |
| J | 1.11 × 105 | Giannetti et al. [51] | 68 | 8.82 × 107 | 6.50 × 109 | 1.72 × 108 | 1.08 × 1010 | 1.24 × 109 | 4.67 × 109 | 2.41 × 109 | 1.62 × 108 | 5.28 × 1010 |
| |||||||||||||
| 9.1 Copper | g | 7.43 × 1010 | Cohen et al. [52] | 0 | 3.13 × 10−1 | 5.41 × 10−1 | 3.07 × 10−1 | 0.00 × 100 | 1.47 × 10−1 | 2.72 × 10−1 | 1.01 × 100 | 7.77 × 10−2 | 1.06 × 100 |
| 9.2 Bricks | g | 2.79 × 109 | Buranakarn [49] | 0 | 1.31 × 103 | 1.87 × 103 | 1.46 × 103 | 2.18 × 103 | 8.41 × 102 | 3.05 × 103 | 3.05 × 103 | 5.37 × 102 | 3.10 × 103 |
| g | 1.24 × 109 | Odum [17] | 0 | 3.75 × 106 | 3.75 × 106 | 3.75 × 106 | 3.75 × 106 | 3.75 × 106 | 3.75 × 106 | 3.75 × 106 | 3.75 × 106 | 3.75 × 106 |
| g | 3.07 × 109 | Castellini et al. [53] | 16 | 3.00 × 106 | 3.00 × 106 | 3.00 × 106 | 3.00 × 106 | 3.00 × 106 | 3.00 × 106 | 3.00 × 106 | 3.00 × 106 | 3.00 × 106 |
| J | 1.37 × 105 | Brown et al. [54] | 0 | 3.63 × 109 | 6.28 × 109 | 6.28 × 109 | 6.28 × 109 | 1.72 × 1010 | 1.72 × 1010 | 1.72 × 1010 | 1.72 × 1010 | 1.72 × 1010 |
| $ | 3.23 × 1012 | Giannetti et al. [55] | 15 | 0.00 × 100 | 1.48 × 102 | 1.48 × 102 | 1.48 × 102 | 1.62 × 103 | 1.62 × 103 | 1.62 × 103 | 1.62 × 103 | 1.62 × 103 |
| $ | 3.23 × 1012 | Giannetti et al. [55] | 15 | 3.40 × 103 | 1.24 × 103 | 1.24 × 103 | 1.24 × 103 | 9.79 × 103 | 9.79 × 103 | 9.79 × 103 | 9.79 × 103 | 9.79 × 103 |
Appendix B
| Item | Unit | UEV 2 sej/Unit | Amount (Unit) | %R | Renewable Emergy Flow (sej) | Non-Renewable Emergy Flow (sej) | Total Emergy (sej) | References for UEV |
|---|---|---|---|---|---|---|---|---|
| Rice bran | g | 9.70 × 108 | 0.09 | 0 | 0.00 × 100 | 8.73 × 107 | 8.73 × 107 | Brown and McClanahan [56] |
| Corn bran | g | 1.45 × 1010 | 0.26 | 0 | 0.00 × 100 | 3.77 × 109 | 3.77 × 109 | Brandt-Williams [48] |
| Soybean meal | g | 3.35 × 109 | 0.2 | 30 | 1.99 × 108 | 4.71 × 108 | 6.70 × 108 | Takahashi and Ortega [57] |
| Cottonseed meal | g | 4.01 × 109 | 0.09 | 17 | 6.12 × 107 | 3.00 × 108 | 3.61 × 108 | Takahashi and Ortega [57] |
| Wheat bran | g | 1.09 × 109 | 0.2 | 22 | 4.88 × 107 | 1.69 × 108 | 2.18 × 108 | Dong et al. [58] |
| Poultry viscera meal | g | 4.05 × 109 | 0.0325 | 16 | 2.11 × 107 | 1.11 × 108 | 1.32 × 108 | Castellini et al. [53] |
| Meat and bone meal | g | 4.64 × 1010 | 0.027 | 0 | 0.00 × 100 | 1.25 × 109 | 1.25 × 109 | Brandt-Williams [48] |
| Fishmeal | g | 3.13 × 109 | 0.0175 | 50 3 | 2.73 × 107 | 2.73 × 107 | 5.47 × 107 | Brandt-Williams [59] |
| Blood meal | g | 4.64 × 1010 | 0.01 | 0 | 0.00 × 100 | 4.64 × 108 | 4.64 × 108 | Brandt-Williams [48] |
| Total | 3.57 × 108 | 6.65 × 109 | 7.01 × 109 |
| Item | Unit | UEV 2 sej/Unit | Amount (Unit) | %R | Renewable Emergy Flow (sej) | Non-Renewable Emergy Flow (sej) | Total Emergy (sej) | References for UEV |
|---|---|---|---|---|---|---|---|---|
| Rice bran | g | 9.70 × 108 | 0.08 | 0 | 0.00 × 100 | 7.76 × 107 | 7.76 × 107 | Brown and McClanahan [56] |
| Corn bran | g | 1.45 × 1010 | 0.24 | 0 | 0.00 × 100 | 3.46 × 109 | 3.46 × 109 | Brandt-Williams [48] |
| Soybean meal | g | 3.35 × 109 | 0.26 | 30 | 2.61 × 108 | 6.20 × 108 | 8.81 × 108 | Takahashi and Ortega [57] |
| Cottonseed meal | g | 4.01 × 109 | 0.12 | 17 | 8.16 × 107 | 4.00 × 108 | 4.81 × 108 | Takahashi and Ortega [27] |
| Wheat bran | g | 1.09 × 109 | 0.20 | 22 | 4.88 × 107 | 1.69 × 108 | 2.18 × 108 | Dong et al. [58] |
| Total | 3.92 × 108 | 4.73 × 109 | 5.12 × 109 |
Appendix C
| LC1 | LC2 | LC3 | MC1 | MC2 | MC3 | HC1 | HC2 | HC3 | ||||||||||
|---|---|---|---|---|---|---|---|---|---|---|---|---|---|---|---|---|---|---|
| Item | $/ha·yr | Emergy | $/ha·yr | Emergy | $/ha·yr | Emergy | $/ha·yr | Emergy | $/ha·yr | Emergy | $/ha·yr | Emergy | $/ha·yr | Emergy | $/ha·yr | Emergy | $/ha·yr | Emergy |
| Feed (F) | 4.30 × 102 | 1.39 × 1015 | 3.34 × 103 | 1.08 × 1016 | 1.32 × 103 | 4.26 × 1015 | 6.63 × 103 | 2.14 × 1016 | 3.54 × 103 | 1.14 × 1016 | 3.59 × 103 | 1.16 × 1016 | 1.91 × 104 | 6.16 × 1016 | 1.86 × 103 | 5.99 × 1015 | 3.51 × 103 | 1.13 × 1016 |
| Equipment (F) | 2.23 × 102 | 7.20 × 1014 | 9.08 × 102 | 2.93 × 1015 | 2.30 × 102 | 7.43 × 1014 | 1.18 × 103 | 3.82 × 1015 | 4.56 × 102 | 1.47 × 1015 | 2.97 × 103 | 9.60 × 1015 | 1.09 × 103 | 3.53 × 1015 | 7.36 × 102 | 2.38 × 1015 | 1.64 × 103 | 5.28 × 1015 |
| Electricity (Hydropower) (F) | 2.10 × 101 | 6.79 × 1013 | 1.68 × 102 | 5.43 × 1014 | 4.21 × 101 | 1.36 × 1014 | 6.66 × 102 | 2.15 × 1015 | 2.10 × 102 | 6.79 × 1014 | 1.01 × 103 | 3.26 × 1015 | 1.84 × 102 | 5.94 × 1014 | 1.01 × 103 | 3.27 × 1015 | 1.72 × 103 | 5.55 × 1015 |
| Infrastructure (F) | 5.97 × 102 | 1.93 × 1015 | 1.14 × 103 | 3.69 × 1015 | 6.49 × 102 | 2.10 × 1015 | 1.02 × 103 | 3.29 × 1015 | 3.20 × 102 | 1.03 × 1015 | 5.45 × 102 | 1.76 × 1015 | 1.45 × 103 | 4.68 × 1015 | 2.67 × 102 | 8.63 × 1014 | 1.55 × 103 | 5.01 × 1015 |
| Fertilizers (F) | 1.11 × 102 | 3.57 × 1014 | 1.11 × 102 | 3.57 × 1014 | 1.11 × 102 | 3.57 × 1014 | 1.11 × 102 | 3.57 × 1014 | 1.11 × 102 | 3.57 × 1014 | 1.11 × 102 | 3.57 × 1014 | 1.11 × 102 | 3.57 × 1014 | 1.11 × 102 | 3.57 × 1014 | 1.11 × 102 | 3.57 × 1014 |
| Fuel (Diesel) (F) | 3.17 × 103 | 1.03 × 1016 | 3.36 × 102 | 1.09 × 1015 | 3.17 × 103 | 1.03 × 1016 | 8.40 × 103 | 2.71 × 1016 | 9.33 × 103 | 3.01 × 1016 | 3.76 × 103 | 1.22 × 1016 | 1.94 × 104 | 6.28 × 1016 | 3.21 × 102 | 1.04 × 1015 | 8.40 × 103 | 2.71 × 1016 |
| Hormones (F) 2 | 0.00 × 100 | 0.00 × 100 | 0.00 × 100 | 0.00 × 100 | 0.00 × 100 | 0.00 × 1000 | 1.42 × 102 | 4.59 × 1014 | 1.42 × 102 | 4.59 × 1014 | 1.42 × 102 | 4.59 × 1014 | 1.42 × 102 | 4.59 × 1014 | 1.42 × 102 | 4.59 × 1014 | 1.42 × 102 | 4.59 × 1014 |
| Depreciation (F) | 3.58 × 103 | 1.16 × 1016 | 2.12 × 103 | 6.84 × 1015 | 1.12 × 103 | 3.63 × 1015 | 2.39 × 103 | 7.71 × 1015 | 1.76 × 103 | 5.69 × 1015 | 7.41 × 102 | 2.39 × 1015 | 2.79 × 103 | 9.02 × 1015 | 2.77 × 102 | 8.96 × 1014 | 3.29 × 103 | 1.06 × 1016 |
| Taxes (F) | 1.64 × 103 | 5.30 × 1015 | 2.40 × 103 | 7.75 × 1015 | 8.80 × 102 | 2.84 × 1015 | 5.51 × 103 | 1.78 × 1016 | 3.00 × 103 | 9.69 × 1015 | 3.12 × 103 | 1.01 × 1016 | 7.20 × 103 | 2.33 × 1016 | 1.92 × 103 | 6.20 × 1015 | 4.82 × 103 | 1.56 × 1016 |
References
- Soto, D.; Aguilar-Manjarrez, J.; Hishamunda, N. Building an ecosystem approach to aquaculture. In Proceedings of the FAO Fisheries and Aquaculture Proceedings, Palma de Mallorca, Spain, 7–11 May 2007; Soto, D., Aguilar-Manjarrez, J., Hishamunda, N., Eds.; FAO: Rome, Italy, 2008; 221p. [Google Scholar]
- Boyd, C.E.; D’Abramo, L.R.; Glencross, B.D.; Huyben, D.C.; Juarez, L.M.; Lockwood, G.S.; McNevin, A.A.; Tacon, A.G.J.; Teletchea, F.; Tomasso, J.R.; et al. Achieving sustainable aquaculture: Historical and current perspectives and future needs and challenges. J. World Aquac. Soc. 2020, 51, 578–633. [Google Scholar] [CrossRef]
- FAO. The State of World Fisheries and Aquaculture; Sustainability in Action; FAO: Rome, Italy, 2020; Volume 35. [Google Scholar]
- Henares, M.N.P.; Medeiros, M.V.; Camargo, A.F.M. Overview of strategies that contribute to the environmental sustainability of pond aquaculture: Rearing systems, residue treatment, and environmental assessment tools. Rev. Aquac. 2019, 12, 1–18. [Google Scholar] [CrossRef]
- Mungkung, R.; Aubin, J.; Prihadi, T.H.; Slembrouck, J.; van der Werf, H.M.G.; Legendre, M. Life cycle assessment for environmentally sustainable aquaculture management: A case study of combined aquaculture systems for carp and tilapia. J. Clean. Prod. 2013, 57, 249–256. [Google Scholar] [CrossRef]
- Valenti, W.C.; Kimpara, J.M.; de Lima Preto, B.; Moraes-Valenti, P. Indicators of sustainability to assess aquaculture systems. Ecol. Indic. 2018, 88, 402–413. [Google Scholar] [CrossRef]
- Wilfart, A.; Prudhomme, J.; Blancheton, J.P.; Aubin, J. LCA and emergy accounting of aquaculture systems: Towards ecological intensification. J. Environ. Manag. 2013, 121, 96–109. [Google Scholar] [CrossRef]
- Brugère, C.; Aguilar-Manjarrez, J.; Beveridge, M.C.M.; Soto, D. The ecosystem approach to aquaculture 10 years on—A critical review and consideration of its future role in blue growth. Rev. Aquac. 2019, 11, 493–514. [Google Scholar] [CrossRef]
- Naylor, R.L.; Hardy, R.W.; Buschmann, A.H.; Bush, S.R.; Cao, L.; Klinger, D.H.; Little, D.C.; Lubchenco, J.; Shumway, S.E.; Troell, M. A 20-year retrospective review of global aquaculture. Nature 2021, 591, 551–563. [Google Scholar] [CrossRef]
- United Nations. Transforming our World: The 2030 Agenda for Sustainable Development; United Nations, Department of Economic and Social Affairs: Ney York, NY, USA, 2015; p. 41. [Google Scholar]
- Valenti, W.C.; Barros, H.P.; Moraes-Valenti, P.; Bueno, G.W.; Cavalli, R.O. Aquaculture in Brazil: Past, present and future. Aquac. Rep. 2021, 19, 100611. [Google Scholar] [CrossRef]
- IBGE—Instituto Brasileiro de Geogragia e Estatística. Censo Agropecuário. 2022. Available online: https://sidra.ibge.gov.br/tabela/6938#resultado (accessed on 3 February 2022).
- Fonseca, T.; Costa-Pierce, B.A.; Valenti, W.C. Lambari aquaculture as a means for the sustainable development of rural communities in Brazil. Rev. Fish. Sci. Aquac. 2017, 25, 316–330. [Google Scholar] [CrossRef]
- Agostinho, F.; Oliveira, M.W.; Pulselli, F.M.; Almeida, C.M.V.B.; Giannetti, B.F. Emergy accounting as a support for a strategic planning towards a regional sustainable milk production. Agric. Syst. 2019, 176, 102647. [Google Scholar] [CrossRef]
- Bonilla, S.H.; Guarnetti, R.L.; Almeida, C.M.V.B.; Giannetti, B.F. Sustainability assessment of a giant bamboo plantation in Brazil: Exploring the influence of labour, time and space. J. Clean. Prod. 2010, 18, 83–91. [Google Scholar] [CrossRef]
- Giannetti, B.F.; Ogura, Y.; Bonilla, S.H.; Almeida, C.M.V.B. Accounting emergy flows to determine the best production model of a coffee plantation. Energy Policy 2011, 39, 7399–7407. [Google Scholar] [CrossRef]
- Odum, H.T. (Ed.) Environmental Accounting: Emergy and Environmental Decision Making, 1st ed.; John Wiley & Sons: New York, NY, USA, 1996; ISBN 0471114421. [Google Scholar]
- Bryman, A. Social Research Methods, 4th ed.; Oxford University Press: Oxford, UK, 2012. [Google Scholar]
- Marques, A.M.; Boaratti, A.Z.; Belmudes, D.; Ferreira, J.R.C.; Mantoan, P.V.L.; Moraes-Valenti, P.; Valenti, W.C. Improving the efficiency of lambari production and diet assimilation using integrated aquaculture with benthic species. Sustainability 2021, 13, 10196. [Google Scholar] [CrossRef]
- Brown, M.T.; Ulgiati, S. Assessing the global environmental sources driving the geobiosphere: A revised emergy baseline. Ecol. Model. 2016, 339, 126–132. [Google Scholar] [CrossRef]
- Ulgiati, S.; Brown, M.T. Labor and services as information carriers in emergy—LCA accounting. J. Environ. Account. Manag. 2014, 2, 163–170. [Google Scholar] [CrossRef]
- Agostinho, F.; Sevegnani, F.; Almeida, C.M.V.B.; Giannetti, B.F. Exploring the potentialities of emergy accounting in studying the limits to growth of urban systems. Ecol. Indic. 2018, 94, 4–12. [Google Scholar] [CrossRef]
- CPRM. Sistema Aquífero Bauru-Caiuá Nos Estados de São Paulo, Mato Grosso do Sul E Paraná; 2012; Vol. 14. Available online: http://rimasweb.cprm.gov.br/layout/pdf/PDF_RIMAS/VOLUME14_Sistema_Aquifero_Bauru_Caiua_SP_PR_MS.pdf (accessed on 10 April 2019).
- Cavalett, O.; De Queiroz, J.F.; Ortega, E. Emergy assessment of integrated production systems of grains, pig and fish in small farms in the South Brazil. Ecol. Model. 2006, 193, 205–224. [Google Scholar] [CrossRef]
- Zhang, L.X.; Song, B.; Chen, B. Emergy-based analysis of four farming systems: Insight into agricultural diversification in rural China. J. Clean. Prod. 2012, 28, 33–44. [Google Scholar] [CrossRef]
- Zhang, L.X.; Ulgiati, S.; Yang, Z.F.; Chen, B. Emergy evaluation and economic analysis of three wetland fish farming systems in Nansi Lake area, China. J. Environ. Manag. 2011, 92, 683–694. [Google Scholar] [CrossRef]
- Sussel, F.R.; Viegas, E.M.M.; Evangelista, M.M.; Gonçalves, G.S.; Salles, F.A.; Gonçalves, L.U. Substituição de proteína animal por proteína vegetal em dietas para lambari-do-rabo-amarelo astyanax altiparanae. Acta Sci.-Anim. Sci. 2014, 36, 343–348. [Google Scholar] [CrossRef]
- Rezende, F.P.; Filho, O.P.R.; Pereira, M.M.; Takabatake, É.Y.; Navarro, R.D.; Santos, L.C.; Silva, R.F.; Filho, C.B.C. Eficiência de diferentes substratos na desova de lambari tambiú (astyanax bimaculatus LINNAEUS, 1758). Rev. Ceres 2005, 52, 527–533. [Google Scholar]
- Felizardo, V.O.; Murgas, L.D.S.; Andrade, E.S.; López, P.A.; Freitas, R.T.F.; Ferreira, M.R. Effect of timing of hormonal induction on reproductive activity in lambari (Astyanax bimaculatus). Theriogenology 2012, 77, 1570–1574. [Google Scholar] [CrossRef] [PubMed]
- Pucher, J.; Mayrhofer, R.; El-Matbouli, M.; Focken, U. Pond management strategies for small-scale aquaculture in northern Vietnam: Fish production and economic performance. Aquac. Int. 2014, 23, 297–314. [Google Scholar] [CrossRef]
- Giannetti, B.F.; Barrella, F.A.; Almeida, C.M.V.B. A combined tool for environmental scientists and decision makers: Ternary diagrams and emergy accounting. J. Clean. Prod. 2006, 14, 201–210. [Google Scholar] [CrossRef]
- Almeida, C.M.V.B.; Barrella, F.A.; Giannetti, B.F. Emergetic ternary diagrams: Five examples for application in environmental accounting for decision-making. J. Clean. Prod. 2007, 15, 63–74. [Google Scholar] [CrossRef]
- Byrne, E. Transdisciplinary Perspectives on Transitions to Sustainability, 1st ed.; Byrne, E., Mullally, G., Sage, C., Eds.; Routledge: Farnham, UK; Ashgate: Burlington, VT, USA, 2016; ISBN 9781315550206. [Google Scholar]
- Cheng, H.; Chen, C.; Wu, S.; Mirza, Z.A.; Liu, Z. Emergy evaluation of cropping, poultry rearing, and fish raising systems in the drawdown zone of three gorges reservoir of China. J. Clean. Prod. 2017, 144, 559–571. [Google Scholar] [CrossRef]
- David, L.H.C.; Pinho, S.M.; Garcia, F. Improving the sustainability of tilapia cage farming in Brazil: An emergy approach. J. Clean. Prod. 2018, 201, 1012–1018. [Google Scholar] [CrossRef]
- Buenfil, A.A. Emergy Evaluation of Water; University of Florida: Gainesville, FL, USA, 2001. [Google Scholar]
- Shi, H.; Zheng, W.; Zhang, X.; Zhu, M.; Ding, D. Ecological-economic assessment of monoculture and integrated multi-trophic aquaculture in Sanggou Bay of China. Aquaculture 2013, 410–411, 172–178. [Google Scholar] [CrossRef]
- Gonçalves Lima, J.S.; Rivera, E.C.; Focken, U. Emergy evaluation of organic and conventional marine shrimp farms in Guaraíra Lagoon, Brazil. J. Clean. Prod. 2012, 35, 194–202. [Google Scholar] [CrossRef]
- Vassallo, P.; Bastianoni, S.; Beiso, I.; Ridolfi, R.; Fabiano, M. Emergy analysis for the environmental sustainability of an inshore fish farming system. Ecol. Indic. 2007, 7, 290–298. [Google Scholar] [CrossRef]
- Zhao, S.; Song, K.; Gui, F.; Cai, H.; Jin, W.; Wu, C. The emergy ecological footprint for small fish farm in China. Ecol. Indic. 2013, 29, 62–67. [Google Scholar] [CrossRef]
- Verdegem, M.C.J.; Bosma, R.H. Water withdrawal for brackish and inland aquaculture, and options to produce more fish in ponds with present water use. Water Policy 2009, 11, 52–68. [Google Scholar] [CrossRef]
- Brown, M.; Herendeen, R. Embodied energy analysis and EMERGY analysis: A comparative view. Ecol. Econ. 1996, 19, 219–235. [Google Scholar] [CrossRef]
- Gala, A.B.; Raugei, M.; Ripa, M.; Ulgiati, S. Dealing with waste products and flows in life cycle assessment and emergy accounting: Methodological overview and synergies. Ecol. Model. 2015, 315, 69–76. [Google Scholar] [CrossRef]
- Garcia, F.; Kimpara, J.M.; Valenti, W.C.; Ambrosio, L.A. Emergy assessment of tilapia cage farming in a hydroelectric reservoir. Ecol. Eng. 2014, 68, 72–79. [Google Scholar] [CrossRef]
- Boyd, C.E.; Tucker, C.; Mcnevin, A.; Bostick, K.; Clay, J. Indicators of resource use efficiency and environmental performance in fish and crustacean aquaculture. Rev. Fish. Sci. 2007, 15, 327–360. [Google Scholar] [CrossRef]
- Lazard, J.; Rey-Valette, H.; Aubin, J.; Mathé, S.; Chia, E.; Caruso, D.; Mikolasek, O.; Blancheton, J.P.; Legendre, M.; René, F.; et al. Assessing aquaculture sustainability: A comparative methodology. Int. J. Sustain. Dev. World Ecol. 2014, 21, 503–511. [Google Scholar] [CrossRef][Green Version]
- Comar, V. Emergy evaluation of organic and conventional horticultural production in Botucatu, Sao Paulo State, Brazil. In Proceedings of the Emergy Synthesis 1: Theory and Applications of the Emergy Methodology, 1st Biennial Emergy Conference, Gainesville, FL, USA, 25–27 January 2018; Brown, M.T., Ed.; Center for Environmental Policy, University of Florida: Gainesville, FL, USA, 2001; pp. 181–195. [Google Scholar]
- Brandt-Williams, S. Handbook of Emergy Evaluation Folio 4: Emergy of Florida Agriculture; Center for Environmental Policy, University of Florida: Gainesville, FL, USA, 2002. [Google Scholar]
- Buranakarn, V. Evaluation of Recycling and Reuse of Building Materials Using the Emergy Analysis Method; University of Florida: Gainesville, FL, USA, 1998. [Google Scholar]
- Brown, M.T.; Ulgiati, S. Emergy analysis and environmental accounting. In Encyclopedia of Energy; Cleveland, C.J., Ed.; Elsevier: Boston, MA, USA, 2004; pp. 329–354. [Google Scholar]
- Giannetti, B.F.; Agostinho, F.; Moraes, L.C.; Almeida, C.M.V.B.; Ulgiati, S. Multicriteria cost-benefit assessment of tannery production: The need for breakthrough process alternatives beyond conventional technology optimization. Environ. Impact Assess. Rev. 2015, 54, 22–38. [Google Scholar] [CrossRef]
- Cohen, M.J.; Sweeney, S.; Brown, M.T. Computing the unit emergy value of crustal elements. In Proceedings of the Emergy Synthesis 4: Theory and Applications of the Emergy Methodology, 4th Biennial Emergy Conference, Gainesville, FL, USA, 1 January 2006; Brown, M., Bardi, E., Campbell, D.E., Comar, V., Huang, S., Rydberg, T., Tilley, D., Ulgiat, S., Eds.; Center for Environmental Policy, University of Florida: Gainesville, FL, USA, 2007; p. 483. [Google Scholar]
- Castellini, C.; Bastianoni, S.; Granai, C.; Bosco, A.D.; Brunetti, M. Sustainability of poultry production using the emergy approach: Comparison of conventional and organic rearing systems. Agric. Ecosyst. Environ. 2006, 114, 343–350. [Google Scholar] [CrossRef]
- Brown, M.T.; Protano, G.; Ulgiati, S. Assessing geobiosphere work of generating global reserves of coal, crude oil, and natural gas. Ecol. Model. 2011, 222, 879–887. [Google Scholar] [CrossRef]
- Giannetti, B.F.; Faria, L.; Almeida, C.M.V.B.; Agostinho, F.; Coscieme, L.; Liu, G. Human-nature nexuses in Brazil: Monitoring production of economic and ecosystem services in historical series. Ecosyst. Serv. 2018, 30, 248–256. [Google Scholar] [CrossRef]
- Brown, M.T.; McClanahan, T.R. EMergy analysis perspectives of Thailand and Mekong River dam proposals. Ecol. Model. 1996, 91, 105–130. [Google Scholar] [CrossRef]
- Takahashi, F.; Ortega, E. Assessing the sustainability of Brazilian oleaginous crops—Possible raw material to produce biodiesel. Energy Policy 2010, 38, 2446–2454. [Google Scholar] [CrossRef]
- Dong, X.; Ulgiati, S.; Yan, M.; Zhang, X.; Gao, W. Energy and eMergy evaluation of bioethanol production from wheat in Henan Province, China. Energy Policy 2008, 36, 3882–3892. [Google Scholar] [CrossRef]
- Brandt-Williams, S.L. Handbook of Emergy Evaluation a Compendium of Data for Emergy Computation Issued in a Series of Folios Folio # 3 Emergy of Ecosystems; Brown, M.T., Bardi, E., Eds.; Environmental Engineering Sciences Center for Environmental Policy University of Florida Gainesville: Gainesville, FL, USA, 2001. [Google Scholar]





| Production Factors | LC | MC | HC |
|---|---|---|---|
| Breeding/spawning | Natural without control; spawning inside the grow-out ponds | Hormone-induced; spawning inside the grow-out ponds | Hormone-induced; spawning in hatchery tanks |
| Production cycle (months) | 4 | 4 | 4 |
| Crops/year | 3 | 3 | 3 |
| Total area of ponds (ha) | <1.5 | 1.5–6.2 | >6.0 |
| Fertilization regime | Poultry manure | Poultry manure | Poultry manure and/or chemical fertilizer |
| Stocking seed | larvae | larvae | juvenile |
| Stocking density in nursery phase (units/m2) | N/A | N/A | 250 |
| Stocking density in grow-out phase (units/m2) | 8–10 2 | 17–25 2 | 30–50 |
| Pond water exchange (%/day) | 3.7 ± 1.1 3 | 7.0 ± 4.8 3 | 5.8 ± 1.6 3 |
| Water source | Springwater | Springwater | Superficial water |
| Diet protein content (%) | 28 | 32–56 | 32–56 |
| Survival (%) | N/A | N/A | 56 ± 1.6 3 |
| Final fish length (mm) | 80.0 4 | 93.3 4 | 96.6 4 |
| Final fish mean weight (g) | 10.0 ± 0.0 3 | 16.0 ± 0.0 3 | 18.0 ± 0.0 3 |
| Productivity (t/ha) | 1.8 ± 1.1 3 | 6.1 ± 2.6 3 | 6.9 ± 4.4 3 |
| Emergy Indicator | Algebra | Description | Interpretation |
|---|---|---|---|
| Unit emergy value | UEV = Y/E | Ratio of the total emergy demanded by the unit output. Example of units are sej/J, sej/kg and sej/$. | It is a measure of the environmental cost of a product. Indicates the efficiency of a system, when compared to others of the same hierarchical level. |
| Renewability 2 | m-%R = 100 (R + Mr + Sr)/Y | Ratio of the nature and economy’s renewable fraction by the total emergy demanded to produce lambari. | Indicates the renewability fraction of the total emergy demanded for delivering a product or a service. |
| Environmental loading ratio 2 | m-ELR = (N + Mn + Sn)/(R + Mr + Sr) | Ratio of the total non-renewable resources by the total renewable resources. | Indicates the pressure exerted by a production system over the natural ecosystems. ELR values < 2 indicate low pressure, values ranging from 2 to 10 indicate moderate pressure and values > 10 indicate high pressure. |
| Emergy yield ratio | EYR = Y/F | Ratio of the total emergy demanded to produce lambari by the resources from economy. | Indicates the net contribution of a system to the economy beyond its own operation. EYR values < 2 indicates a high dependence on purchased resources and a low contribution to the larger economy. |
| Emergy investment ratio | EIR = F/(R + N) | Ratio of the resources from economy by the nature’s renewable and non-renewable resources. | It evaluates if a process is a good user of the emergy that is invested, in comparison with alternatives. Ratios higher than those of the surrounding area or similar systems do not compete economically. |
| Emergy sustainability index | ESI = EYR/m-ELR | Ratio between the emergy yield ratio by the environmental loading ratio. | Incates the contribution of a system to the economy by the pressure caused in the environment. ESI values < 1 indicate unsustainability, values ranging from 1 to 5 indicate short-term sustainability, values > 5 indicate long-term sustainability. |
| Item | LC1 | LC2 | LC3 | MC1 | MC2 | MC3 | HC1 | HC2 | HC3 | |||||||||
|---|---|---|---|---|---|---|---|---|---|---|---|---|---|---|---|---|---|---|
| Emergy | % | Emergy | % | Emergy | % | Emergy | % | Emergy | % | Emergy | % | Emergy | % | Emergy | % | Emergy | % | |
| Sun (R) | 4.67 × 1013 | <1 | 4.67 × 1013 | <1 | 4.67 × 1013 | <1 | 4.67 × 1013 | <1 | 4.67 × 1013 | <1 | 4.67 × 1013 | <1 | 4.67 × 1013 | <1 | 4.67 × 1013 | <1 | 4.67 × 1013 | <1 |
| Rainfall (R) | 2.12 × 1015 | 3 | 2.12 × 1015 | 2 | 2.12 × 1015 | 3 | 2.12 × 1015 | 1 | 2.12 × 1015 | 1 | 2.12 × 1015 | 1 | 1.36 × 1015 | <1 | 1.99 × 1015 | 2 | 1.36 × 1015 | 1 |
| Superficial water (R) | 0.00 × 100 | 0 | 0.00 × 100 | 0 | 0.00 × 100 | 0 | 0.00 × 100 | 0 | 0.00 × 100 | 0 | 0.00 × 100 | 0 | 1.17 × 1016 | 3 | 1.42 × 1016 | 17 | 1.08 × 1016 | 4 |
| Soil occupation (N) | 1.22 × 1015 | 2 | 8.01 × 1014 | 1 | 3.87 × 1014 | 1 | 3.33 × 1015 | 1 | 1.43 × 1015 | 1 | 2.10 × 1015 | 1 | 2.10 × 1016 | 5 | 3.30 × 1015 | 4 | 1.18 × 1015 | <1 |
| Springwater (N) | 1.41 × 1016 | 21 | 2.44 × 1016 | 19 | 1.03 × 1016 | 15 | 1.41 × 1016 | 5 | 1.48 × 1016 | 10 | 1.46 × 1016 | 9 | 0.00 × 100 | 0 | 0.00 × 100 | 0 | 0.00 × 100 | 0 |
| Feed (F) | 4.77 × 1015 | 7 | 4.95 × 1016 | 39 | 1.87 × 1016 | 27 | 1.26 × 1017 | 49 | 5.43 × 1016 | 35 | 5.89 × 1016 | 37 | 2.19 × 1017 | 48 | 2.63 × 1016 | 31 | 4.02 × 1016 | 17 |
| Equipment (F) | 1.12 × 1013 | <1 | 7.27 × 1014 | 1 | 2.13 × 1013 | <1 | 1.20 × 1015 | <1 | 1.38 × 1014 | <1 | 5.25 × 1014 | <1 | 2.69 × 1014 | <1 | 1.80 × 1013 | <1 | 5.89 × 1015 | 2 |
| Electricity (F) | 9.82 × 1012 | <1 | 7.24 × 1014 | 1 | 1.92 × 1013 | <1 | 1.20 × 1015 | <1 | 1.38 × 1014 | <1 | 5.21 × 1014 | <1 | 2.69 × 1014 | <1 | 1.80 × 1013 | <1 | 5.89 × 1015 | 2 |
| Infra-structure (F) | 3.67 × 1012 | <1 | 5.25 × 1012 | <1 | 4.09 × 1012 | <1 | 6.08 × 1012 | <1 | 2.36 × 1012 | <1 | 8.52 × 1012 | <1 | 8.57 × 1012 | <1 | 1.50 × 1012 | <1 | 8.73 × 1012 | <1 |
| Lime (F) | 4.66 × 1015 | 7 | 4.66 × 1015 | 4 | 4.66 × 1015 | 7 | 4.66 × 1015 | 2 | 4.66 × 1015 | 3 | 4.66 × 1015 | 3 | 4.66 × 1015 | 1 | 4.66 × 1015 | 6 | 4.66 × 1015 | 2 |
| Organic fertilizer (F) | 9.21 × 1015 | 13 | 9.21 × 1015 | 7 | 9.21 × 1015 | 13 | 9.21 × 1015 | 4 | 9.21 × 1015 | 6 | 9.21 × 1015 | 6 | 9.21 × 1015 | 2 | 9.21 × 1015 | 11 | 9.21 × 1015 | 4 |
| Fuel (diesel) (F) | 4.98 × 1014 | 1 | 8.62 × 1014 | 1 | 4.88 × 1014 | 1 | 7.32 × 1015 | 3 | 2.36 × 1015 | 2 | 8.79 × 1015 | 6 | 6.10 × 1015 | 1 | 1.46 × 1015 | 2 | 5.58 × 1016 | 23 |
| Labor (F) | 0.00 × 100 | 0 | 4.76 × 1014 | <1 | 0.00 × 100 | 0 | 6.48 × 1015 | 3 | 5.22 × 1015 | 3 | 6.27 × 1015 | 4 | 1.70 × 1016 | 4 | 1.16 × 1015 | 1 | 2.93 × 1016 | 12 |
| Services (F) 2 | 3.16 × 1016 | 46 | 3.40 × 1016 | 27 | 2.43 × 1016 | 35 | 8.41 × 1016 | 33 | 6.09 × 1016 | 39 | 5.16 × 1016 | 33 | 1.66 × 1017 | 36 | 2.15 × 1016 | 26 | 8.13 × 1016 | 34 |
| Total emergy (Y) | 6.83 × 1016 | 100 | 1.27 × 1017 | 100 | 7.02 × 1016 | 100 | 2.59 × 1017 | 100 | 1.55 × 1017 | 100 | 1.59 × 1017 | 100 | 4.57 × 1017 | 100 | 8.38 × 1016 | 100 | 2.40 × 1017 | 100 |
| Total (R) 3 | 8.25 × 1015 | 13 | 1.18 × 1016 | 9 | 8.23 × 1015 | 12 | 2.44 × 1016 | 9 | 164 × 1016 | 11 | 1.56 × 1016 | 10 | 5.32 × 1016 | 12 | 2.24 × 1016 | 27 | 3.62 × 1016 | 15 |
| Total (N) | 1.54 × 1016 | 23 | 2.52 × 1016 | 20 | 1.07 × 1016 | 15 | 1.74 × 1016 | 7 | 1.63 × 1016 | 10 | 1.63 × 1016 | 11 | 2.10 × 1016 | 5 | 3.30 × 1015 | 4 | 1.18 × 1015 | <1 |
| Total (F) | 4.43 × 1016 | 64 | 8.98 × 1016 | 71 | 1.07 × 1016 | 73 | 2.17 × 1017 | 84 | 1.23 × 1017 | 79 | 1.627 × 1017 | 80 | 3.82 × 1017 | 84 | 5.81 × 1016 | 69 | 2.02 × 1017 | 84 |
| Indicator | LC1 | LC1′ | LC2 | LC2′ | LC3 | LC3′ |
|---|---|---|---|---|---|---|
| UEV (E6 sej/J) 2 | 2.84 | 1.86 | 1.89 | 1.21 | 3.07 | 1.90 |
| UEV (E10 sej/g) 2 | 4.88 | 3.19 | 4.23 | 2.72 | 7.02 | 4.34 |
| UEV (E6 sej/J) 3 | 1.53 | 0.79 | 1.38 | 0.80 | 2.01 | 1.04 |
| UEV (E10 sej/g) 3 | 2.62 | 1.37 | 3.09 | 1.79 | 4.59 | 2.37 |
| m-%R (%) | 13 | 37 | 9 | 33 | 12 | 31 |
| m-ELR | 6.9 | 1.7 | 9.8 | 2.0 | 7.5 | 2.2 |
| EYR | 1.3 | 1.4 | 1.3 | 1.3 | 1.2 | 1.3 |
| EIR | 3.9 | 3.4 | 4.6 | 4.0 | 5.5 | 4.5 |
| ESI | 0.2 | 0.8 | 0.1 | 0.7 | 0.2 | 0.6 |
| Indicator | MC1 | MC1′ | MC2 | MC2′ | MC3 | MC3′ |
|---|---|---|---|---|---|---|
| UEV (E6 sej/J) 2 | 1.55 | 1.02 | 0.91 | 0.61 | 2.17 | 1.44 |
| UEV (E10 sej/g) 2 | 3.38 | 2.23 | 2.07 | 1.38 | 5.09 | 3.38 |
| UEV (E6 sej/J) 3 | 1.05 | 0.62 | 0.55 | 0.32 | 1.46 | 0.32 |
| UEV (E10 sej/g) 3 | 2.28 | 1.35 | 1.26 | 0.18 | 3.44 | 0.18 |
| m-%R (%) | 9 | 17 | 11 | 23 | 10 | 22 |
| m-ELR | 9.6 | 4.8 | 8.5 | 3.4 | 9.2 | 3.6 |
| EYR | 1.1 | 1.1 | 1.1 | 1.2 | 1.1 | 1.2 |
| EIR | 13.2 | 11.5 | 8.4 | 7.4 | 8.4 | 7.4 |
| ESI | 0.1 | 0.2 | 0.1 | 0.3 | 0.1 | 0.3 |
| Indicator | HC1 | HC1′ | HC2 | HC2′ | HC3 | HC3′ |
|---|---|---|---|---|---|---|
| UEV (E6 sej/J) 2 | 4.68 | 2.54 | 0.86 | 0.55 | 2.47 | 1.81 |
| UEV (E10 sej/g) 2 | 10.3 | 5.62 | 2.09 | 1.33 | 4.97 | 3.63 |
| UEV (E6 sej/J) 3 | 2.97 | 1.45 | 0.64 | 0.37 | 1.63 | 1.13 |
| UEV (E10 sej/g) 3 | 6.58 | 3.20 | 1.56 | 0.89 | 3.28 | 2.27 |
| m-%R (%) | 12 | 14 | 27 | 32 | 15 | 16 |
| m-ELR | 7.6 | 6.3 | 2.7 | 2.1 | 5.6 | 5.2 |
| EYR | 1.1 | 1.1 | 1.3 | 1.4 | 1.1 | 1.1 |
| EIR | 13.4 | 11.4 | 4.3 | 3.4 | 18.0 | 16.4 |
| ESI | 0.1 | 0.2 | 0.5 | 0.7 | 0.2 | 0.2 |
| Indicator | LC1′ | LC2′ | LC3′ | MC1′ | MC2′ | MC3′ | HC1′ | HC2′ | HC3′ |
|---|---|---|---|---|---|---|---|---|---|
| Practice 1. Improved seed productivity in LC and MC farms | |||||||||
| UEV (E6 sej/J) | 1.82 | 1.21 | 1.97 | 0.99 | 0.58 | 1.39 | - | - | - |
| UEV (E10 sej/g) | 3.90 | 3.38 | 5.62 | 2.71 | 1.66 | 4.07 | - | - | - |
| m-%R (%) | 13 | 9 | 12 | 9 | 11 | 10 | - | - | - |
| m-ELR | 6.9 | 9.8 | 7.5 | 9.6 | 8.5 | 9.2 | - | - | - |
| EYR | 1.3 | 1.3 | 1.2 | 1.1 | 1.1 | 1.1 | - | - | - |
| EIR | 3.9 | 4.6 | 5.5 | 13.2 | 8.4 | 8.4 | - | - | - |
| ESI | 0.2 | 0.1 | 0.2 | 0.1 | 0.1 | 0.1 | - | - | - |
| Practice 2. Changing water sources in the LC and MC farms | |||||||||
| UEV (E6 sej/J) | 2.24 | 1.49 | 2.43 | 1.23 | 0.72 | 1.72 | - | - | - |
| UEV (E10 sej/g) | 4.81 | 4.17 | 6.95 | 3.37 | 2.06 | 5.06 | - | - | - |
| m-%R (%) | 32 | 28 | 26 | 15 | 20 | 19 | - | - | - |
| m-ELR | 2.1 | 2.6 | 2.9 | 5.9 | 4.1 | 4.4 | - | - | - |
| EYR | 1.3 | 1.3 | 1.2 | 1.1 | 1.1 | 1.1 | - | - | - |
| EIR | 4.1 | 4.9 | 5.7 | 13.9 | 8.9 | 8.8 | - | - | - |
| ESI | 0.6 | 0.5 | 0.4 | 0.2 | 0.3 | 0.3 | - | - | - |
| Practice 3. Controlling pond fertilization in all farms | |||||||||
| UEV (E6 sej/J) | 2.42 | 1.74 | 2.63 | 1.49 | 0.85 | 2.03 | 4.57 | 0.76 | 2.37 |
| UEV (E10 sej/g) | 4.15 | 3.90 | 6.00 | 3.25 | 1.93 | 4.77 | 10.12 | 1.84 | 4.76 |
| m-%R (%) | 13 | 9 | 12 | 9 | 10 | 10 | 12 | 29 | 15 |
| m-ELR | 6.8 | 9.8 | 7.5 | 9.7 | 8.5 | 9.3 | 7.6 | 2.5 | 5.5 |
| EYR | 1.4 | 1.3 | 1.3 | 1.1 | 1.1 | 1.1 | 1.1 | 1.4 | 1.1 |
| EIR | 3.3 | 4.3 | 4.7 | 12.7 | 7.9 | 7.9 | 13.1 | 3.8 | 17.2 |
| ESI | 0.2 | 0.1 | 0.2 | 0.1 | 0.1 | 0.1 | 0.1 | 0.6 | 0.2 |
| Practice 4. Replace animal protein by vegetable protein sources in all farms | |||||||||
| UEV (E6 sej/J) | 2.79 | 1.69 | 2.85 | 1.35 | 0.82 | 1.95 | 4.07 | 0.79 | 2.36 |
| UEV (E10 sej/g) | 4.78 | 3.78 | 6.52 | 2.94 | 1.87 | 4.58 | 9.01 | 1.92 | 4.75 |
| m-%R (%) | 13 | 10 | 12 | 10 | 11 | 10 | 13 | 29 | 16 |
| m-ELR | 6.8 | 9.2 | 7.2 | 8.9 | 8.0 | 8.6 | 6.9 | 2.5 | 5.4 |
| EYR | 1.4 | 1.3 | 1.2 | 1.1 | 1.2 | 1.2 | 1.1 | 1.3 | 1.1 |
| EIR | 3.8 | 4.1 | 5.1 | 11.5 | 7.6 | 7.6 | 11.7 | 3.9 | 17.1 |
| ESI | 0.2 | 0.1 | 0.2 | 0.1 | 0.1 | 0.1 | 0.2 | 0.5 | 0.2 |
Publisher’s Note: MDPI stays neutral with regard to jurisdictional claims in published maps and institutional affiliations. |
© 2022 by the authors. Licensee MDPI, Basel, Switzerland. This article is an open access article distributed under the terms and conditions of the Creative Commons Attribution (CC BY) license (https://creativecommons.org/licenses/by/4.0/).
Share and Cite
Fonseca, T.; Valenti, W.C.; Giannetti, B.F.; Gonçalves, F.H.; Agostinho, F. Environmental Accounting of the Yellow-Tail Lambari Aquaculture: Sustainability of Rural Freshwater Pond Systems. Sustainability 2022, 14, 2090. https://doi.org/10.3390/su14042090
Fonseca T, Valenti WC, Giannetti BF, Gonçalves FH, Agostinho F. Environmental Accounting of the Yellow-Tail Lambari Aquaculture: Sustainability of Rural Freshwater Pond Systems. Sustainability. 2022; 14(4):2090. https://doi.org/10.3390/su14042090
Chicago/Turabian StyleFonseca, Tamara, Wagner C. Valenti, Biagio F. Giannetti, Fernando H. Gonçalves, and Feni Agostinho. 2022. "Environmental Accounting of the Yellow-Tail Lambari Aquaculture: Sustainability of Rural Freshwater Pond Systems" Sustainability 14, no. 4: 2090. https://doi.org/10.3390/su14042090
APA StyleFonseca, T., Valenti, W. C., Giannetti, B. F., Gonçalves, F. H., & Agostinho, F. (2022). Environmental Accounting of the Yellow-Tail Lambari Aquaculture: Sustainability of Rural Freshwater Pond Systems. Sustainability, 14(4), 2090. https://doi.org/10.3390/su14042090

