Next Article in Journal
Remediation of the Alluvial Aquifer of the Sardas Landfill (Sabiñánigo, Huesca) by Surfactant Application
Next Article in Special Issue
On the Internal Synergistic Mechanism of Operating System of Beijing’s High-Technology Industry Chain: Evidence from Science and Technology Service Industry
Previous Article in Journal
Coping Mechanisms and Quality of Life of Low-Income Households during the COVID-19 Pandemic: Empirical Evidence from Bangladesh
Previous Article in Special Issue
Are Non-Special Dimensions of Proximity in Local Clusters Related? An Analysis of 99 European Clusters
 
 
Font Type:
Arial Georgia Verdana
Font Size:
Aa Aa Aa
Line Spacing:
Column Width:
Background:
Article

Effective Synergy of Market Agents: The Core of Achieving Multi-Agent Governance on the Internet Platform

School of Economics and Management, Beijing University of Posts and Telecommunications, Beijing 100876, China
*
Author to whom correspondence should be addressed.
Sustainability 2022, 14(24), 16574; https://doi.org/10.3390/su142416574
Submission received: 25 October 2022 / Revised: 8 December 2022 / Accepted: 8 December 2022 / Published: 10 December 2022

Abstract

In recent years, the governance strategies of Internet platforms proposed by the academic community have given more consideration to the responsibilities of social subjects. Since the subjects come from different social strata, the study on the interaction mechanism between the subjects has become an important topic to ensure the effective play of the multi-agent governance model. This paper makes comprehensive use of evolutionary game and principal-agent theory to build an interactive relationship model between government, platform, and public, gradually discusses measures to improve the effect of government regulation, multi-agent governance, and the level of responsibility of subjects, and then puts forward suggestions to achieve collaboration among all subjects. The results show that the level of market information obtained by the government and the probability of merchants being investigated are the key factors affecting the effect of government regulation, and the former is better than the latter. Improving the effort level of the platform is the core issue to achieve the effect of multi-agent governance, and public participation, technology promotion and system improvement are measures to motivate the platform’s responsibility. Giving full play to the advantages of the subjects and coordinating the relationship between the subjects are the key tasks to achieve the multi-agent governance effect of the Internet.

1. Introduction

With the remarkable progress of emerging information technologies such as big data, the Internet of Things, and cloud computing [1], the platform development trend of the Internet industry has become prominent. The platform organization form has been embedded in a large number of Internet products and market operations such as social networking, finance, transportation, and shopping. Connecting merchants and users has increasingly become the key point and occupies a central position in modern economic life [2]. For example, social media platforms such as Facebook and Twitter have developed into important channels for people to produce, disseminate, and consume news and information [3]. Video sharing platforms such as YouTube and TikTok are playing an increasingly important role in users’ lives in modern society. E-commerce platforms such as Alibaba and Amazon continue to ignite global capital markets with their user traffic and market valuations [4]. While Internet platforms bring a lot of convenience to society, a series of disturbances that seriously affect the interests of consumers and the healthy development of the industry, such as counterfeit goods, false information, piracy, and infringement, occur frequently, causing adverse effects on the healthy development of the Internet platform market. Therefore, the governance of Internet platforms has become the focus of social attention [5].
As the two fastest developing countries in the Internet industry, the Internet governance strategies of China and the United States have attracted extensive attention from the international community. Among them, the Internet platform governance in the United States is mostly centered on platform companies. Platform self-discipline is an important form of platform governance, while the supervision of the state and the public plays a supervisory role [6]. China’s governance philosophy on platforms is more from a macro perspective. Considering the important role that Internet platforms play in economic development, China attaches more importance to the macro-regulation role of the government in platform governance [7]. However, with the prosperity and development of Internet platforms, both China and the United States are faced with problems such as content management, data flow, and platform monopoly. Moreover, since the development of Internet platforms involves many fields such as politics, economy, and society, it is difficult for both China’s “top-down” and America’s “bottom-up” governance concepts to apply to the actual development of Internet platforms. How to conduct Internet platform governance more effectively has become a common problem for both countries. After years of practice and exploration, the current Internet platform governance strategies of China and the United States are becoming more pragmatic and taking into account the interests and responsibilities of every participant in society. The governance strategies are moving closer to the “middle ground” and gradually moving towards the road of multi-party co-governance. Take China’s microblog governance strategy as an example, analyzing the practical way of applying the multi-party co-governance model to Internet platform governance in China. Weibo is one of the largest social media platforms in China, with more than 573 million monthly active users. Due to the growing scale and power, the Chinese government is increasingly aware of the inadequacy of a single government supervision approach in governance, and increasingly pays attention to sharing governance power with the platform. The multi-party governance model adopted by China on Weibo mainly includes three aspects: the external supervision of the government, the internal self-discipline of the platform, and the internal and external dialogue mechanism, which aims to achieve the balance of power between the public and private sectors [8]. The government’s external supervision mainly refers to that the national Cyberspace Administration of China is responsible for the supervision, management, and law enforcement of Weibo nationwide, while the local cyberspace administration offices exercise their own regulatory responsibilities in their respective administrative regions. The national and local regulatory departments shall, in accordance with the Civil Law, criminal law, and administrative law of the People’s Republic of China, control the false and untrue information received and sent through Weibo. Platform self-discipline relies more on the regulations proposed by national regulatory bodies to establish and improve Weibo self-regulation, so as to realize the self-monitoring of user activities, punishment of illegal behaviors, establishment of false information refutation mechanism, establishment of platform service rules, acceptance of social supervision, and other behaviors. In 2021, Weibo updated the Weibo Community Convention, stressing that it has assumed the platform’s responsibilities in accordance with the laws and administrative regulations of relevant departments. In addition, Weibo has organized a “Weibo user self-regulation community”, consisting of a “Weibo community committee” and a “Weibo supervisor”. In 2020, a total of 3172 microblogs were released on Weibo, with 711 million page views; 76,107 pieces of false information were processed, 782 cases of false information were added to the database, and 3.599 million interactions were made. The cooperation between the government and the platform is mainly achieved through a dialogue mechanism, which refers to a regulatory system that brings together the public sector and the private sector as stakeholders. In the case of Weibo, it involves cooperation between the state and enterprises in online governance. When serious violations of laws and regulations occur on an Internet platform, the national and local CAC will meet with Internet company executives, hold talks and order rectification. The mechanism was adopted and further institutionalized in 2015 to improve Internet platform governance capabilities amid the complexity and unpredictability of digital transformation. To sum up, Internet platform governance involves a complex body composition, a process of collision and integration of state power and technological capital. Therefore, it is necessary to innovate the governance model, build a new governance pattern of Internet platform in which the state, market, and civil society participate together, and clarify which subjects can govern Internet platforms and what governance rights they have respectively [9].

2. Literature Review

For the Internet platform governance issues, the academic community has been widely discussed. Early scholars mostly emphasized the importance of government regulation. For example, Grewal explored how the government exercised regulatory functions on platform enterprises under the framework of regulation theory [10]. However, in the face of massive data information and complex market trading links in the Internet platform market, the government is faced with problems such as tight financial budget and insufficient technical ability. It will be difficult to define and implement the behaviors of market players if the original regulatory model is adopted to regulate the Internet platform. At the same time, traditional policies and measures often lack clear applicability and relevance in the regulation process of Internet platforms, so it is necessary to constantly explore governance methods that can effectively reduce costs and stimulate innovation [11]. Therefore, scholars have carried out innovative research on the theory and practice of Internet platform governance in order to better formulate governance strategies to promote the standardized and healthy development of Internet platforms [12]. During this period, the government guided the intermediary platform connecting the two sides of the market transaction and the users with the widest social sources to participate in the governance process to form a multi-party co-governance model. Through the complementarity of various groups in knowledge, technology, function, and power, governance forces were formed, and the idea of promoting the standardized and healthy development of Internet platform became the academic consensus. Among them, Western scholars represented by Farrell and Katz pointed out as early as the early 21st century that platform enterprises should play a role in market activities as a regulator to safeguard the “public interest” [13]. Subsequently, Spulber, Jeffrey et al. also discussed the regulatory role that platform enterprises should play from the perspective of coordinating participants’ behaviors. Similarly, Fenwick et al., Leoni, and Parker pointed out that platforms have flexible management constraints on merchants and can act as “managers” in marketing activities [14,15]. As for the importance of public participation in the governance process, scholars point out that although the governance network is still dominated by the government, the public, as the component with the largest number and most extensive sources in the multi-party co-governance model, plays a key role in optimizing the governance effect [16]. In the process of participating in governance, the public contributes resources such as time, expertise, and their own efforts in exchange for influence on governance decisions. Due to the limitation of time and professional knowledge, the participation of the public needs the organic cooperation of other subjects [17]. For example, tools such as social networks and new media platforms constitute the key infrastructure for citizen participation in governance. At the same time, the process of public participation in governance can not only deepen and enrich the relationship network among participants, break through the original hierarchical boundary between the public and the government, and change from the role of mere passive consumption of public services to the role of jointly solving social problems [18], but also play a supervisory role in the governance capacity of the government and the platform, and examine the waste of public resources by the government [19]. It can be seen that the participants of Internet platform governance include government departments, Internet platforms, users, other stakeholders and civil society groups, etc. Since the participants, such as the government, Internet platforms, and the public [5], come from all social strata, their main interests and functions are not the same. How to achieve the organic unity of all parties’ participation objectives is an important challenge for Internet platform governance [20]. Bodin and Crona pointed out that the effectiveness of the multi-party co-governance model largely depends on the relationship coordination of various subjects [21]; Bunge believes that it is the key to improve the effectiveness of governance to make clear the participation methods applicable to each subject in the governance structure and the interrelationship among the subjects [22]. At the UN Secretary-General’s 2020 Conference, the Internet Governance Forum (IGF) discussed the specific roles and responsibilities of each participant in the governance process and pointed out that coordination and cooperation are in line with the common interests of all participants [23]. It can be seen that the multi-party governance of the Internet platform has been widely applied in many aspects, but it needs to focus on the interaction between various subjects to achieve the balance of functions and powers of different stakeholders.
To sum up, the academic community has carried out extensive studies on issues such as product price structure and bad network information governance in Internet platform governance [24]. However, most scholars focus on the interaction between the government and the platform at the macro governance level, without discussing the relationship between the platform and users, and there are even fewer studies on the interaction between the government, platform and users. Due to the role and power of the platform in the process of information transmission, the government should regulate the platform, including the authority and boundary of platform self-regulation, the market regulation of anti-monopoly and anti-unfair competition, the right protection of data privacy, the social norms of algorithm ethics, etc. At the same time, the production and consumption of user content occur on the platform, and the platform should be responsible for the content produced by users, thus forming a responsibility relationship between the platform and users, and this also provides a basis for the government to assign part of the governance responsibilities to the platform [20]. It can be seen that there are complex internal links between various subjects in the governance process of Internet platforms in terms of role playing and role playing. Only by coordinating the role positioning of various subjects in the governance process and the interaction between the subjects, and exploring the interaction mechanism of the subjects, can we effectively avoid the waste of social governance resources, so as to improve the governance effect of the multi-party co-governance model of Internet platforms.
Different from existing studies, this paper focuses more research attention on the mutual influence of all (or relatively more comprehensive) participants in the governance process. Current scholars pay more attention to the regulatory role of the government in the governance process, or the self-regulatory role of the platform in the governance process, or the regulatory role of the public in the governance process. In this study, the relationship between the above subjects is organically connected, which makes the research conclusions more comprehensive, systematic, and dynamic, so as to effectively avoid the awkward situation that the measures taken by policy makers are effective in part but ineffective in the whole. The innovation and contribution of this paper is mainly reflected in that it abandons the traditional “point” or “line” research idea of scholars and carries out “surface” research from a more systematic level. In the process of governance, each subject does not exist in isolation, but influences each other. At the same time, the role of each subject is also cross-cutting. A comprehensive and overall consideration of the subject relationship, on the one hand, can help future scholars to enter into the study of Internet platform governance issues from a more systematic perspective; on the other hand, it can help the government to formulate targeted measures, form a joint force of Internet platform governance, and maintain the healthy development of Internet platform market. Next, the second part of the paper will focus on the government’s regulatory model for platform merchants and explore the key direction to improve the regulatory effect. On this basis, the third part will introduce the Internet platform and users into the governance process, and analyze the advantages of the multi-party co-governance mode to the Internet platform governance. The fourth part is to make full use of the role of the public in the process of multi-party co-governance, with the help of public participation to achieve the optimal incentive contract design of the level of government’s due effort to the platform; Finally, according to the analysis results of the paper model, the interactive relationship between the government, the platform, and the public in the governance process is explored, so as to better formulate governance strategies to achieve the standardized and healthy development of Internet platforms.

3. Government Regulatory Model

The Internet is the mapping of the real physical world on the virtual cyberspace. As a typical representative of social public power, the government must be the key subject in the governance process of the Internet platform. With the continuous update and development of Internet application and technology, the government attaches more and more importance to the supervision of the Internet. Although the governance emphasizes the importance of multi-subject participation, the importance of the government in it has not diminished. For the governance of the Internet, governments of various countries have successively issued normative legal documents, such as the “Internet Law Enforcement Act” promulgated by Germany in January 2018, whose core is to clarify the obligation of Internet companies to delete “obviously illegal” content that violates the provisions of the German Criminal Code within 24 h after receiving the notice. The UK published the Online Harm White Paper in April 2019 and the government response in December 2020, proposing a regulatory framework for the UK’s independent telecoms regulator to tackle “illegal and unacceptable content and activity” online. It can be seen that the government is still the key subject of Internet platform governance [25].
Since the strategy selection of participants in the governance process is influenced by many aspects of the market environment, the interaction between the participants is a dynamic changing process, and the governance policies may not be able to continuously change according to the state of the system. Therefore, a challenge faced by the multi-party governance model of Internet platforms is that it is difficult for public policy makers to achieve continuous, precise, and systematic formulation of governance policies. As a theoretical method concerned with the inter-agent strategic interaction, evolutionary game model is widely used to study the interdependence among participants. Cai G and Kock N studied player action prediction in electronic cooperation from the perspective of game theory [26]. Du J et al. proposed the game theory framework of community structure evolution to analyze the dynamic changes of user privacy protection strategies [27]. Johari M et al. analyzed the pricing strategy and long-term behavior choice of manufacturers by using the group evolutionary game method [28]. It can be seen that the introduction of evolutionary game theory into the study of multi-party co-governance model of Internet platform can better construct the mathematical model between participants, simulate and verify the analysis results through rich empirical data, and further deepen the adaptability adjustment of governance policies.
This section considers a regulatory system consisting of government and merchants as shown in Figure 1. In this system, the government, in order to maintain its credibility, will take appropriate measures to check the behavior of merchants based on the market information it has. Merchants may act in a way that is detrimental to the overall development of the industry in order to gain additional financial benefits. The government will reward merchants for compliance and penalize them for violation. The behavioral strategy choices of the government and merchants affect each other, so the process is an evolutionary game process.
In order to construct an evolutionary game model between the government and the platform merchants to explore the key factors influencing their strategic choices, abstract assumptions are made on the framework relationship in Figure 1, and the specific assumptions are shown below.
Hypothesis 1. 
The strategy spaces for the government and the merchant are S1 = {Regulation, Deregulation}, S2 = {Compliance, Violation}. At the beginning of the game, the proportion of regulation is α(0 < α < 1), then the proportion of deregulation is 1 − α; the proportion of platform merchants adopting compliance behavior is β (0 < β < 1), then the proportion of violations is 1 − β.
Hypothesis 2. 
When the government regulates the platform merchants, it gains benefits s, including the improvement of government credibility from inspection actions, etc. and it needs pay regulatory costs c, which are composed of fixed costs c0 and marginal costs (1 − i)/k, where k (0 < k < 1) is the government’s own regulatory capacity and i (0 < i < 1) is the level of market information the government has. When the government deregulates, the benefits and costs are both zero.
Hypothesis 3. 
Platform merchants gain benefits d when they act in compliance, which increases social welfare m; platform merchants will gain additional benefits Δd when they act in violation, but will reduce social welfare v.
Hypothesis 4. 
The government will monitor the behavior of platform merchants, and the probability of platform merchants’ violations being detected by the government is μ (0 < μ < 1). At this time, platform merchants are punished z by the government; and the government will give rewards l, including tax refunds and subsidies, to platform merchants to encourage them to adopt compliant behaviors. It is worth mentioning that the platform merchant will also be rewarded when the violation is not detected by the government.
Based on the above assumptions, the revenue matrix between the government and the platform merchant can be derived as shown in Table 1.
Let the benefits of the government and the platform merchants in this game process be E(α), E(β), then according to the benefit relationship in Table 1, the replication dynamic equation between the government and the platform merchant is:
E(α) = α(1 − α)[s − c0 − (1 − i)/k]
E(β) = β(1 − β)[αμ(l + z) − Δd]
Since the asymptotically stable solution of the replication dynamic equation is a strict Nash equilibrium solution, the asymptotic stability of the equilibrium points E1(0,0), E2(0,1), E3(1,0), E4(1,1) needs to be analyzed.
According to the stability theory of differential equations and the criterion for judging the stability of the equilibrium point, the ratio of strategy choices α, β needs to satisfy the following conditions E(α) = 0, ∂E(α)/∂α < 0; E(β) = 0, ∂E(β)/∂β < 0, and the stability of the equilibrium point of the game system can be judged by the local stability of the Jacobi matrix.
The eigenvalues of the government and platform merchants at different equilibrium points are obtained by solving, as shown in Table 2.
According to the actual definition of the parameters, it is clear that Δ d > 0 holds constantly, so (0,1) is not a stable evolution point in any case. It shows that the platform merchants will choose to adopt the compliance behavior only under the government’s regulation, highlighting the importance of government regulation. Meanwhile, judging from the Jacobi matrix, the parameter conditions required to be satisfied by the remaining stable points are shown in Table 3.
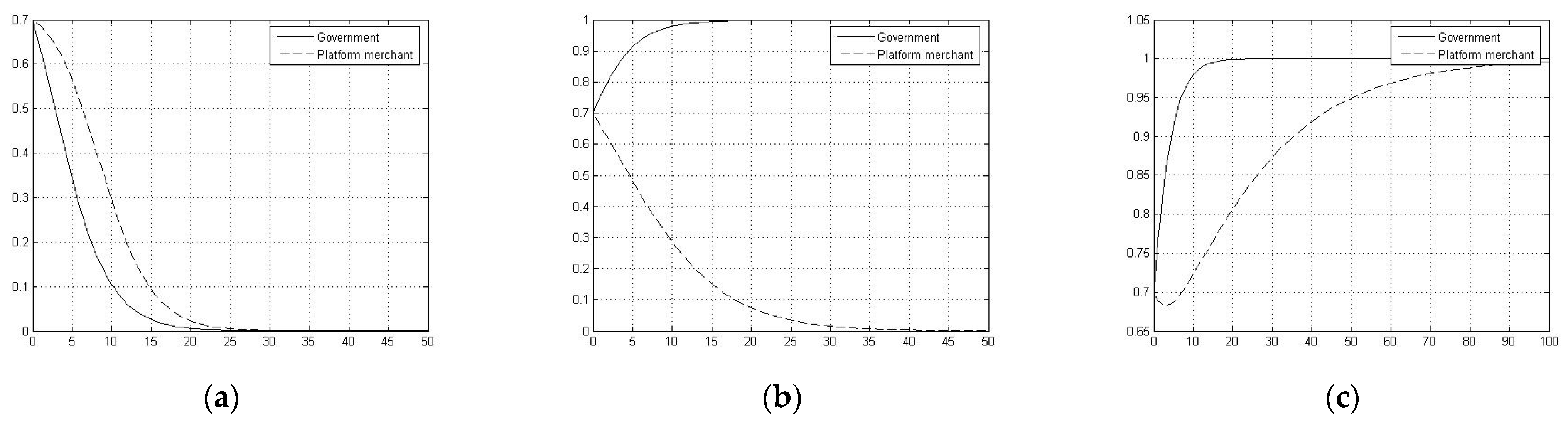
Using MATLAB for simulation analysis of the game system between the government and the platform merchants. Let s = 1, c0 = 0.5, k = 0.5, l = 0.2, Δd = 0.3, z = 0.5, and get the evolutionary trend of government-platform merchant strategy selection for i and μ under different ranges of values, as shown in Figure 2.
Through the analysis of the simulation images in Figure 2, we can see that the game system gradually evolves from point (0,0) to point (1,1) with the increase of parameters i and μ, which shows that they have an obvious positive effect on the positive evolution of the game system. It also clarifies the research direction of the Internet platform governance problem, i.e., how to improve the level of market information held by the government and the probability that platform merchants are investigated and punished for violations in the governance process.
In order to visualize the correspondence between the parameter values and the stable evolution points of the system, the correspondence is placed in the coordinate system, as shown in Figure 3.
By analyzing Figure 3, we can conclude that the level of market information obtained by the government and the probability of detection and punishment of platform merchants’ violations are the key factors affecting the choice of strategies when formulating Internet platform governance policies. Meanwhile, the importance of improving the level of market information obtained by the government is higher than that of improving the probability of detecting and dealing with violations by platform merchants, which provides a direction for the focus of the construction of the multiparty governance model.

4. The Game Model between the Government–Internet Platform–Platform Merchants in the Multi-Agent Governance

In the face of massive data information and complex market transactions in the Internet platform market, the government is faced with problems such as tight financial budget and insufficient technical capacity, and needs to constantly explore governance methods that can effectively reduce costs and stimulate innovation [11]. In this process, with the help of convenience provided by social media, mobile connection, and ICT technology, the governance model of organic collaboration between the government and social subjects such as public organizations, enterprises, and citizens has become the consensus of the international community. For example, in the long-term market practice, Chinese policy makers have gradually designed a set of governance paradigm featuring multi-center, participatory and collaborative features. The rapid rise of China’s e-commerce market has verified the effectiveness of this governance model, providing valuable experience for the international community to effectively regulate Internet platforms [29]. The multi-party governance model of Internet platforms involves the joint participation of multiple subjects such as the government, platforms, and the public. Clarifying the participation methods applicable to each subject in the governance structure as well as the mutual relationship among the subjects is the key to improving the governance effect [22]. Haggart B et al. believes that from the theoretical viewpoint of Internet platform economics and ecosystem approach, not all participants have a clear connection relationship [9]. Therefore, the question of who has the legitimate right to govern and what kind of right has gradually attracted extensive attention from scholars. For example, Zajko M studied the roles and responsibilities of various actors in the governance process [30]; Shackelford S J et al. discussed the connection of various stakeholders in the governance process; Stier S et al. used social network analysis to analyze and discuss the role of social media and government in network governance [31]. At the same time, evolutionary game theory has been widely used in Internet platform governance issues. For example, Lei et al. used evolutionary game theory to build a tripartite evolutionary game model of ride-hailing platform, drivers and passengers, and analyzed the behavioral choice and evolutionary stability strategy of the game players, so as to explore the regulation strategy of ride-hailing market [32].
This section considers a governance system consisting of government–Internet platform–public–platform merchant as shown in Figure 4. As an intermediary of market transactions, the Internet platform has stronger technical expertise, and the government can obtain more market information by introducing the Internet platform into the governance process; at the same time, the public, as the direct audience of the behavior of platform merchants, has stronger sensitivity to the violations they take, and the government can investigate more illegal platform merchants by introducing the public into the governance process. Since the role of the Internet platform is better than that of the public in governance, this section takes the Internet platform as the game party and parameterizes the role of the public, constructs a three-agent game model between the government–Internet platform–platform merchants.
There are direct or indirect network effects between the two sides of the transaction in the Internet platform market. As an intermediary connecting the two sides of the transaction, the platform plays an important role in reducing the transaction costs between the market participants and helping to overcome the problems of market failure and market transaction obstacles. Therefore, the emergence of the platform as an organizational form plays a positive role in the development of the Internet industry [33]. The platform can not only provide an online product trading place for both sides of the market, but also play an important governance role in the market operation code of conduct. By virtue of its advantages in technology and information, it has gradually become an important part of the governance process [34]. Although the platform does not have traditional employer-employee rigid contract constraints on merchants, it has obvious flexible management constraints on merchants on the platform through screening, organizing the content produced by users, and managing the interaction between users [35]. For example, Facebook, Google, YouTube and other platforms collect a large number of content creators, third-party partners, and user resources, and have a considerable say in content selection, ranking and display, which reflects the role of “manager” for merchants and users [36,37]. At the same time, the commission is increasingly focusing on the central role of platforms as key gatekeepers to the Internet. It can be seen that the platform is capable of sharing governance responsibilities as a participant in multi-party governance and has been recognized by the international community.
Based on the model assumptions, the following new assumptions are added to this section.
Hypothesis 5. 
The government assigns some of the regulatory responsibilities to the Internet platform, and the platform’s strategy space is S3 = {Responsible, Irresponsible}. The proportion of the platform’s duty is γ (0 < γ < 1), then the proportion of not doing its duty is 1 − γ; the Internet platform will do its duty to improve the level of market information obtained by the government, if the level of effort of the Internet platform is n (0 < n < 1), the Internet platform needs to pay the effort cost η = an2/2, where a (a > 0) is the effort cost coefficient of the Internet platform, related to the market environment and technological development. Then the level of market information obtained by the government becomes i* = (i − 1)n2 + (2 − 2i)n + i, the marginal cost of government regulation becomes (1 − i*)/k.
Hypothesis 6. 
The government will introduce the public into the governance, the public as the most direct audience, it will certainly find the violations of the platform merchants, but by the market information feedback mechanism, the level of information feedback from the public to the government is only p (0 < p < 1), at this time the probability of the government to investigate the violations of the platform merchants becomes μ* = μ + p(1 − μ); the public because the platform merchants to take violations of the interests of damage, will be dissatisfied with the government, the Internet platform and the platform merchants, resulting in a decline in the reputation of the government g, the Internet platform suffered a decline in reputation j, the reputation of the platform merchants decline δ.
Hypothesis 7. 
When the platform merchant takes compliance, it will bring revenue to the platform r. If the Internet platform does its duty at this time, the government will give the platform reward f. If the Internet platform does not do its duty at this time, there is no such reward; when the platform merchant takes violation, if the Internet platform does its duty, it will certainly find the platform merchant violation and penalty λ; if the government investigates the platform merchant violation, the platform will be jointly and severally punished h.
The government–Internet platform–platform merchant revenue matrix can be derived as shown in Table 4.
Let the benefits of the government, the Internet platform, and the platform merchants in this game process be E(α), E(β), and E(γ). Then, according to the benefit relationship in Table 4, the replication dynamic equation can be obtained.
E(α) = α(1 − α)[s − c0 − (1 − i)/k − β(1 − i)(n2 − 2n)/k]
E(β) = β(1 − β)(αγf − an2/2)
E(γ) = γ(1 − γ)[α(μ + p − pμ)(l + z + βλ + δ − Δd)]
Since the asymptotically stable solution of the replicated dynamic equations is a strict Nash equilibrium solution, the asymptotic stability of the equilibrium point E1(0,0,0), E2(0,0,1), E3(0,1,0), E4(0,1,1), E5(1,0,0), E6(1,0,1), E7(1,1,0), E8(1,1,1) needs to be analyzed.
The eigenvalues of government, Internet platform, and platform merchant at different equilibrium points can be obtained by solving, as shown in Table 5.
According to the actual definition of the parameters, (0,1,0), (0,1,1) are not stable evolution points in any case. It shows that only under the supervision of the government, the Internet platform will choose to adopt due diligence behavior, showing the importance of the government should adopt supervision of the Internet platform. Judging from the Jacobi matrix, the parameter conditions required to be satisfied by the remaining stable points are shown in Table 6.
Using MATLAB for simulation analysis of the game system between the government, Internet platform, and the platform merchants, let s = 1, c0 = 0.6, k = 0.5, f = 0.2, l = 0.3, z = 0.2, μ = 0.3, p = 0.2, λ = 0.2, Δd = 0.5, n = 0.3 and get the evolutionary trend of government–Internet platform–platform merchant strategy selection for i, a, and δ under different ranges of values, as shown in Figure 5.
From the analysis of the simulation images in Figure 5, we can see that the increase of parameters I and δ helps the system to evolve gradually from the point (0,0,0) to the point (1,1,1), while the parameter a has the opposite effect to help the positive evolution of the system.
At the same time, in order to visualize the correspondence between the parameter values and the stable evolution points of the system, the correspondence is placed in the coordinate system, as shown in Figure 6.
From Figure 6, we can find that exploring how to improve the level of effort of the Internet platform is the core issue to effectively improve the governance effectiveness of the Internet platform multiparty governance model.

5. The Incentive between the Government and Internet Platform in the Multi-Agent Governance Model

From the previous section, we can find that the Internet platform effort cost coefficient a has an impact on the strategy shift from non-due to due diligence, so does it play a role in the level of Internet platform effort? What other factors also affect the level of Internet platform effort?
Governance itself is a time-consuming and costly process. Since the multi-party governance model covers a large number of participants and each participant is always constrained by different participation expectations, it cannot be taken for granted that all participants will agree on a common action goal [38]. Therefore, another challenge faced by the multi-party governance model of Internet platform is the low governance efficiency caused by the conflict of objectives among various subjects. Aiming at the problem of information asymmetry and participants’ strategic behavior choice, the academic circle has carried out a series of theoretical studies on incentive supervision and mechanism design. Based on the incentive theory, Dessi R discusses how to motivate managers to make efforts and develop effective implicit contracts [39]. Attar A et al. studied the equilibrium mechanism in the case of multiple principals and agents [40]. Kini O and Williams R explored the incentive effect of tournament contracts on corporate senior managers [41]. Albuquerque A M analyzed the impact of relative performance evaluation factors on the risks faced by company managers in salary contracts [42]. It can be seen that the principal-agent theory can be used to analyze the key factors that motivate agents to work hard and fulfill their duties, and help the principal to better develop the incentive contract, which provides a reference for this paper to use the principal-agent theory to study the incentive problem of multi-party co-governance model of Internet platform.
To study those issues, a reasonable scientific description of the incentive problem of Internet platforms is first provided. Since the government needs to actively guide the Internet platform to participate in the governance process, there is an obvious principal-agent relationship between the government and the Internet platform, i.e., the government as the principal motivates the Internet platform as the agent to strive to fulfill its own regulatory duties. Due to the influence of interest and cost, it is difficult for the Internet platform to be consistent with the government’s will when making corresponding strategy choices. Therefore, the government needs to develop an effective contract to motivate the Internet platforms to fulfill their responsibilities, so as to achieve the healthy development of the Internet platform market.
In the face of the complex Internet platform market, it is difficult for the government to have a clear and accurate grasp of the real situation of each Internet platform. If the government sets up an undifferentiated incentive contract based on the output of the entire Internet platform market, the problem of “free-riding” among Internet platforms will easily arise, which will seriously affect the enthusiasm of each Internet platform to do its duty. Therefore, the government can consider the role of the public to divide the output of the Internet platforms more precisely and formulate a targeted and differentiated incentive contract, so as to optimize the incentive effect of the contract. The relationship between the government, the Internet platform, and the public in the incentive process of the Internet platform as shown in Figure 7.
As shown in Figure 7, in the case of no public participation (left side of Figure 7), the government can only observe the overall output of the Internet platform market w and set the incentive contract s. In the case of public participation (right side of Figure 7), the public helps the government to collect information on the real output of each Internet platform, determine the output of each Internet platform wi(I = 1, 2, 3…), and set the incentive contract si(i = 1, 2, 3…).
In order to explore the incentive contract model between the government and the Internet platform in the multi-agent governance model, this section proposes the corresponding hypothesis conditions based on the inter-agent relationship displayed in Figure 7 as shown below.
Hypothesis 8. 
In the incentive contract design process, the government’s risk preference type is risk neutral and the Internet platform is risk averse. The government incentivizes the Internet platform to do its due diligence and then improves the overall service quality in the online Internet platform market, and the process requires the joint efforts of the government and the Internet platform to complete. Assume that the level of effort of the government is N (0 < N < 1), and the level of effort of the Internet platform is ni (0 < ni < 1, i = 1, 2, 3), both of which are one-dimensional variables and are positively correlated with output.
Hypothesis 9. 
There are a large number of Internet platforms in the market, and in order to portray the effect of government differentiation contracts on the incentive effect without affecting the analysis results, this part assumes that there are only two Internet platforms in the market, i.e., let i = 1, 2. The service quality outputs of the two Internet platforms are w1 = k1n1 + ε, w2 = k2n2 + ε, where ki(ki > 0, i = 1, 2) is the effort output coefficient of the two Internet platforms. Without affecting the results of the analysis, this part makes k = k1 = k2, i.e., the effort output coefficient is considered as a uniform fixed quantity related to the overall development of the industry. Ε represents the exogenous uncertainty that obeys a normal distribution N(0, σ2), i.e., the effort level determines the mean of the output but does not affect the variance of the output, and σ can be regarded as the external risk coefficient.
Hypothesis 10. 
Both the government and the Internet platform need to pay a certain effort cost in this process. The effort cost function of the government is c(N) = mNN2/2, where mN (mN > 0) is the government effort cost coefficient; the effort cost function of the Internet platform is c(ni) = mnini2/2, where mni (mni > 0, i = 1, 2) is the effort cost coefficient of each platform. Without affecting the analysis results, this part makes m = mN = mni, i.e., the effort cost coefficient is regarded as a uniform fixed quantity related to the overall development of the industry.
Hypothesis 11. 
The government incentive contracts for the Internet platforms are linear contracts, and the incentive contracts for the two Internet platforms are s1 = α1 + β1w1, s2 = α2 + β2w2, where αi ≥ 0 (i = 1, 2) is the fixed payment component and βi ≥ 0 (i = 1, 2) is the incentive payment component.
The principal-agent model between the government and the Internet platform can be obtained as follows.
E(UN) = kn1 + kn2 − (α1 + β1w1) − (α2 + β2w2) − mN2/2
n1 = argmax E(Un1) = α1 + β1kn1 − mn12/2 − ρβ12σ2/2
α1 + β1kn1 − mn12/2 − ρβ12σ2/2 ≥ 0
n2 = argmax E(Un2) = α2 + β2kn2 − mn22/2 − ρβ22σ2/2
α2 + β2kn2 − mn22/2 − ρβ22σ2/2 ≥ 0
ρ is the absolute risk aversion measure and ρβ22σ2/2(i = 1, 2) denotes the risk cost of the Internet platform, the objective of this model is to maximize the profit of the government department, which is the objective function of this principal-agent model, and the constraints are not sequential and of equal importance. By solving the above model, the optimal incentive contract design can be found, and the values of each output are shown in Table 7.
Using Matlab to investigate the effects of the platform output coefficient k, the platform effort cost coefficient m and the external risk coefficient σ on the optimal effort level k3/(mk2 + ρm2σ2), fixed payment k4(ρmσ2 − k2)/2m(k2 + ρmσ2)2, and incentive payment k2/(k2 + ρmσ2) of the Internet platform. In order to make the simulation results more meaningful in practice, we give certain values to other parameters. Let ρσ2 = 1 brought into Matlab, getting the simulation images as shown in Figure 8; let k = 1, ρ = 1 brought into Matlab, getting the simulation images as shown in Figure 9.
By analyzing Figure 8 and Figure 9, we can find that the platform effort level is positively correlated with the platform output coefficient, and negatively correlated with the platform effort cost coefficient and external risk coefficient. In other words, when the output coefficient of the platform is high, the platform itself will have a higher enthusiasm for efforts; when the cost coefficient of platform effort and external risk coefficient are high, the initiative of platform effort is low; and the negative effect of platform effort cost coefficient on the platform effort enthusiasm is greater than the external risk coefficient.
The fixed payment of contract is negatively correlated with the platform output coefficient, and positively correlated with the platform effort cost coefficient and external risk coefficient. In other words, when the platform output coefficient is high, the platform itself will have a higher enthusiasm for efforts. In this case, to maintain a stable platform effort level, the fixed payment of contracts can be appropriately reduced. When the platform effort cost coefficient and external risk coefficient are high, the platform effort enthusiasm is low. In this case, in order to maintain a stable platform effort level, it is necessary to increase the fixed payment contract. Moreover, the negative effect of platform effort cost coefficient on contract fixed payment is greater than the external risk coefficient.
The Incentive payment of contract is positively correlated with the platform output coefficient, and negatively correlated with the platform effort cost coefficient and external risk coefficient. In other words, when the output coefficient of the platform is high, the platform itself will have a higher enthusiasm for efforts. In this case, in order to maintain a stable effort level of the Internet platform, the incentive payment of the contract can be appropriately increased. When the platform effort cost coefficient and external risk coefficient are high, the initiative of the platform effort is low. In this case, in order to maintain a stable platform effort level, the incentive payment of the contract should be reduced. Moreover, the negative effect of external risk coefficient on contract incentive payment is greater than that of Internet platform effort cost coefficient.
The analysis of the model results in this section shows that in order to effectively motivate Internet platforms to participate in the governance process, the government needs to set up a contract considering various factors that affecting the level of Internet platform effort. For example, the government can actively promote the application of new technologies to increase the output coefficient of Internet platform effort, or formulate corresponding institutional safeguards for the Internet platform market to reduce the cost of Internet platform effort coefficient and external risk coefficient. At the same time, the government should establish a channel for the public to participate in the governance process, and actively guide the public to give full play to their advantageous role in identifying information on Internet platforms, so as to realize the effective formulation of incentive contracts.

6. Discussion on the Interaction Mechanism of the Multi-Agent Governance

China’s platform governance is drawing on the elements of free market economy and gradually opening up the space for multi-subject participation in platform governance. For example, the Regulation on the Ecological Governance of online Information Content optimizes the “safe harbor principle” and aims to establish an ecological pattern of collaborative governance by the government, platforms and users. At the same time, starting from January 2021, the Civil Code has made more scientific and inclusive revisions to the safe harbor system, the basic rule in the field of platform liability. The Chinese government has also detailed the platform’s obligations in areas such as ecological maintenance, data security and personal information protection. In addition to the institutional level, China has also extended the concept of pluralism and co-governance to the practical level. It has become normal for Chinese platform companies to join hands with the government and civil society organizations to combat market irregularities. For example, in August 2021, Meituan, a food delivery platform, joined hands with the police to upgrade its audit mechanism and improve the audit process of companies on the platform. On the other hand, it actively cooperated with the police nationwide to crack down on illegal and criminal acts such as document forgery. The case of intellectual property protection is even more typical. In January 2017, Alibaba, China’s largest e-commerce platform, established the Alibaba Anti-Counterfeiting Alliance, which uses Internet intelligent algorithm technology, combined offline joint law enforcement actions, and civil litigation to fight the problem of fakes. The multi-party governance model of Internet platform is a key path for the government to ease the budget pressure and improve the governance effect. In order to achieve better governance of Internet platforms, the government needs to broaden participation channels for other social subjects and promote the coordination of relationships among them. Internet platforms need to balance the relationship between social public interests and individual economic interests and become an important part of the multi-party co-governance model. The public needs to be widely involved in the role of the government and the Internet platform to give full play to their own group advantages. At the same time, the government should not regard the division of responsibilities of the main body in the multi-party co-governance to get rid of their own responsibilities, but should design a perfect governance structure, so as to form a governance force with the participation of the multi-body. The platforms and the public should not regard the government’s leadership in the multi-party co-governance to shirk their responsibilities but should actively exert their own advantages in the governance process. Through the coordination and complementary advantages of the government, platforms, and the public in the governance process, the multi-party co-governance model of Internet platforms can be effectively played, and the vigorous development of the Internet platform market can be maintained.
In the governance process, the government should play a role in promoting and coordinating collective actions, ensuring the consistency of all subjects in the governance process, ensuring the quality of participation and the legitimacy and availability of data information and behavioral measures in the governance process. Moreover, the government must play a dominant role in the governance process due to the inertia of both the platform’s diligence and the merchants’ compliance. For example, the German Internet Enforcement Law (NetzDG) requires the removal of links, websites, and other content outside the country that is suspected of violating local laws [43]. Meanwhile, new legislative initiatives have been proposed in the UK and Australia to hold social media platforms responsible for any harmful content posted on their sites [44].
At the same time, when the government directly regulates merchants, it needs to rely on its own ability to investigate and punish merchants’ violations and the probability of finding merchants’ violations, so as to make corresponding policies and measures to standardize the legitimate operation of merchants. Among them, the investigation ability is related to the cost of investigating merchants’ violations, and the platform plays a role in this factor in the multi-party co-governance model. The probability of discovery is related to the probability of finding the merchant’s violation, and the public plays a role in the multi-party co-governance model. Therefore, the government should guarantee the autonomy of other subjects in the governance process, balance the synergy between them, give full play to the advantages of other subjects in governance, and assist the government to improve the governance effect.
The platform has dual attributes in the governance process. The government’s active management of the whole market is a necessary condition for the platform to fulfil its responsibilities. Internet super platform enterprises represented by Facebook, Twitter, Google, and Apple have played a huge role in platform governance. French President Emmanuel Macron once called the “self-governing” American approach to governance a “California-style” Internet dominated by powerful Internet platform companies [45]. After the platform participates in the governance process, the government can entrust enterprises to conduct online supervision, content review, and the shielding of illegal information, etc., and achieve a cheaper, more accurate, and more effective governance process [46]. Therefore, from the perspective of “economic man” of the platform, it is necessary to enable the platform to assist the government in governance. By reducing the cost of the platform’s participation in governance, the platform can improve its level of due diligence, thus reducing the government’s regulatory costs and optimizing the government’s management of the market, so as to achieve an effective positive cycle.
At the same time, although the platform does not fulfill its responsibilities, the merchants may operate in compliance, but it needs to greatly improve the government’s ability to collect market information or the reputation loss of the merchants when they violate the rules. However, in the actual market environment of Internet platform, the former is difficult to overcome effectively due to the knowledge disadvantage of the government, while the latter may have a negative impact on the development of the whole market. Therefore, improving the effort level of platform responsibility is the best choice to achieve effective governance of Internet platforms. It is necessary to properly handle the relationship between platform effort cost, effort output, and external risks, and improve the effectiveness of government incentive contract formulation.
The role of the public is broad, and it is the most sensitive to the behaviors of merchants. It can help the government to investigate and punish the illegal operation of merchants. Meanwhile, when the public participates in the process, the government, the platform, and the merchants all face the risk of reputation loss, which can better realize the healthy operation of the platform market. The role of the public depends on the assistance of other subjects. The government and the platform need to establish a perfect information feedback mechanism to help the public judge the merchants, improve the enthusiasm of the public to participate in the governance process, and to a certain extent, it also puts pressure on the government to seek improvement and innovation of governance means.

7. Conclusion Implications and Limitations

7.1. Main Finding

At present, the world is in the era of digital economy. China, the United States, the European Union, and other countries and regions have taken the development of Internet platforms as the top priority of their development strategies in the next stage, and the effective governance of Internet platforms has become the focus of widespread concern of all sectors of society, involving platform anti-monopoly, data security, privacy protection, and other aspects, among which, as the core of the multi-party governance model of the Internet platform, the relationship between the participants in the governance process has become a necessary and clear key issue. Therefore, this paper chooses to study the subject interaction mechanism of the multi-party co-governance model of the Internet platform.
According to the overall research of this paper, we can find some interesting conclusions from a more micro level, such as when the government directly supervises the merchants, the merchants have obvious inertia in compliance management. This also explains the frequent chaos in the current Internet platform market. At the same time, when the level of market information obtained by the government is low, the probability of investigating illegal behaviors of merchants does not have a positive effect on the system, and the contribution of the level of market information obtained by the government is better than that of the probability of investigating illegal behaviors of merchants, indicating that the government’s initiative factor has a greater impact than the passive factor of merchants in the governance process. Moreover, it is still worth noting that government regulation is necessary for platforms to do their job. When the cost of efforts is low and the platform is influenced by the government and the public, the platform will choose to assist the government to collect a large amount of market information. Meanwhile, the platform will also be more active in the management of merchants, so as to improve the governance effect, and only when the ideal state can be achieved without too much effort, the platform will choose to be responsible.
Research conclusions have carried out a systematic study from a more micro level, explaining in detail who should play a role in the multi-party governance model of Internet platforms, and what role each participant should play in the governance process. Under the condition of fully considering the actual market, the complex relationship between the government, the platform, and the public has been explored one by one. Meanwhile, the authors also noted the dynamic characteristics of the Internet platform market during the study. Therefore, the conclusions proposed based on the model analysis tend to be oriented rather than the formulation of specific measures, so as to avoid setting excessive restrictions for policy makers and affecting the subjective initiative of policy making. The purpose of all this is to achieve effective governance of the Internet platform and promote the prosperity and healthy development of the platform market.

7.2. Theoretical and Practical Implications

In the multi-party governance model of Internet platforms, the collaboration between the government and platforms is the key. China attaches great importance to the governance of Internet platforms. At the policy level, a number of policy documents have been issued successively, including the Guiding Opinions on Promoting the Standardized and Healthy Development of Platform Economy, the Anti-Monopoly Guidelines of the Anti-Monopoly Commission of The State Council on the Field of Platform Economy, and Several Opinions on Promoting the Standardized and Healthy and Sustainable Development of Platform Economy, which have set the obligations that platforms should fulfil in the governance process. It points out that platform responsibility should be strengthened to promote collaborative governance. In addition to the policy level, the government and the platform also further extend the collaborative relationship to the practical level. For example, Hangzhou Market Supervision Administration and Alibaba jointly launched the project of “Red Shield Cloud Bridge” intelligent cooperation platform for network supervision in 2017, which has been widely accessed by most provinces and cities in China successively, which can not only improve the regulatory efficiency of government departments, but also improve the regulatory efficiency of government departments. It also enables the platform to accurately grasp business information and credit status of merchants.
Public participation plays a more supervisory and feedback role. “Public participation” in a broad sense is defined as bringing the public into the scope of regulatory policies, including communication, consultation, and other forms of participation. The play of its role affects each subject and function stage of multi-party governance of Internet platform and plays the role of supervisor in the governance process. At the same time, the public needs to play a synergistic role with the government, platforms, and other entities. Policy makers should fully consider the organic synergy of various entities in the governance process, so as to optimize the governance effect of the multi-party co-governance model.
The rich discussion of inter-body relationship enables policy makers to have a clearer understanding of how to give full play to the role advantages of various subjects in the governance process, so as to ensure that the participation objectives of all subjects are unified, and form the governance joint force of “government-led, platform-assisted, and public participation”, so as to participate in the governance process and play the governance role together, shared governance effects.
In addition, the research focus of this paper is mainly on the interaction between the government, Internet platforms and the public, while the role of other social subjects such as media and third-party industry organizations is not deeply considered. In the future, it is necessary to further enrich the fitting degree of theoretical models to the real governance environment and improve the effectiveness of governance strategies. At the same time, the collusion strategy between the government and Internet platforms, as well as the dual identity conflict between the service provider and the market regulator of Internet platforms, should also become the focus of future scholars to carry out research on Internet platform governance.

Author Contributions

Conceptualization, H.H. and B.Z.; funding acquisition, H.H.; methodology, H.H.; resources, B.Z.; software, H.H.; supervision, B.Z.; writing—original draft, H.H. and B.Z.; writing—review and editing, H.H. and B.Z. All authors have read and agreed to the published version of the manuscript.

Funding

This research was funded by the BUPT Excellent Ph.D. Students Foundation of the Beijing University of Posts and Telecommunications (Grant No. CX2021131).

Institutional Review Board Statement

Not applicable.

Informed Consent Statement

Not applicable.

Data Availability Statement

Not applicable.

Conflicts of Interest

The authors declare no conflict of interest.

References

  1. Correani, A.; De Massis, A.; Frattini, F.; Petruzzelli, A.M.; Natalicchio, A. Implementing a Digital Strategy: Learning from the Experience of Three Digital Transformation Projects. Calif. Manag. Rev. 2020, 62, 37–56. [Google Scholar] [CrossRef]
  2. Helberger, N.; Pierson, J.; Poell, T. Governing online platforms: From contested to cooperative responsibility. Inf. Soc. 2018, 34, 1–14. [Google Scholar] [CrossRef]
  3. Weeks, B.E.; Holbert, R.L. Predicting dissemination of news content in social media: A focus on reception, friending, and partisanship. J. Mass Commun. Q. 2013, 90, 212–232. [Google Scholar] [CrossRef]
  4. You, C. Law and policy of platform economy in China. Comput. Law Secur. Rev. 2020, 39, 105493. [Google Scholar] [CrossRef]
  5. Gorwa, R. What is platform governance? Inf. Commun. Soc. 2019, 22, 854–871. [Google Scholar] [CrossRef]
  6. O’hara, K.; Hall, W. Four internets. Commun. ACM 2020, 63, 28–30. [Google Scholar] [CrossRef]
  7. Chin, Y.C. The legitimation of media regulation in China. Chin. Polit. Sci. Rev. 2018, 3, 172–194. [Google Scholar] [CrossRef]
  8. Popiel, P.; Sang, Y. Platforms’ governance: Analyzing digital platforms’ policy preferences. Glob. Perspect. 2021, 2, 19094. [Google Scholar] [CrossRef]
  9. Haggart, B.; Keller, C.I. Democratic legitimacy in global platform governance. Telecommun. Policy 2021, 45, 102152. [Google Scholar] [CrossRef]
  10. Grewal, R.; Chakravarty, A.; Saini, A. Governance Mechanisms in Business-to-Business Electronic Markets. J. Mark. 2010, 74, 45–62. [Google Scholar] [CrossRef]
  11. Benkler, Y. The wealth of networks: How social production transforms markets and freedom. Harv. J. Law Technol. 2006, 20, 271–285. [Google Scholar]
  12. Bauer, J.M. Platforms, systems competition, and innovation: Reassessing the foundations of communications policy. Telecommun. Policy 2014, 38, 662–673. [Google Scholar] [CrossRef]
  13. Farrell, J.; Katz, M. Innovation, Rent Extraction, and Integration in Systems Markets. J. Ind. Econ. 2000, 48, 413–432. [Google Scholar] [CrossRef]
  14. Spulber, D. Unlocking Technology: Antitrust and Innovation. J. Compet. Law Econ. 2008, 4, 915–966. [Google Scholar] [CrossRef][Green Version]
  15. Jeffrey, C.; Neil, G.; David, K. Indirect Network Effects and Adoption Externalities. Rev. Netw. Econ. 2008, 7, 337–358. [Google Scholar]
  16. Ojo, A.; Mellouli, S. Deploying governance networks for societal challenges. Gov. Inf. Q. 2018, 35, S106–S112. [Google Scholar] [CrossRef]
  17. Janssen, M.; Helbig, N. Innovating and changing the policy-cycle: Policy-makers be prepared! Gov. Inf. Q. 2018, 35, S99–S105. [Google Scholar] [CrossRef]
  18. Mattson, G.A. The promise of citizen coproduction: Some persistent issues. Public Product. Rev. 1986, 10, 51–56. [Google Scholar] [CrossRef]
  19. Janssen, M.; Charalabidis, Y.; Zuiderwijk, A. Benefits, adoption barriers and myths of open data and open government. Inf. Syst. Manag. 2012, 29, 258–268. [Google Scholar] [CrossRef]
  20. Liu, J.; Yang, L. “Dual-Track” platform governance on content: A comparative study between China and United States. Policy Internet 2022, 14, 304–323. [Google Scholar] [CrossRef]
  21. Bodin, Ö.; Crona, B.I. The role of social networks in natural resource governance: What relational patterns make a difference? Glob. Environ. Chang. 2009, 19, 366–374. [Google Scholar] [CrossRef]
  22. Bunge, M. Systemism: The alternative to individualism and holism. J. Socio Econ. 2000, 29, 147–157. [Google Scholar] [CrossRef]
  23. Radu, R.; Kettemann, M.C.; Meyer, T.; Shahin, J. Normfare: Norm entrepreneurship in internet governance. Telecommun. Policy 2021, 45, 102148. [Google Scholar] [CrossRef]
  24. Haggart, B. Global platform governance and the internet-governance impossibility theorem. J. Digit. Media Policy 2020, 11, 321–339. [Google Scholar] [CrossRef]
  25. Suzor, N.; Van Geelen, T.; West, S.M. Evaluating the legitimacy of platform governance: A review of research and a shared research agenda. Int. Commun. Gaz. 2018, 80, 385–400. [Google Scholar] [CrossRef]
  26. Cai, G.; Kock, N. An evolutionary game theoretic perspective on e-collaboration: The collaboration effort and media relativeness. Eur. J. Oper. Res. 2009, 194, 821–833. [Google Scholar] [CrossRef]
  27. Du, J.; Jiang, C.; Chen, K.-C.; Ren, Y.; Poor, H.V. Community-Structured Evolutionary Game for Privacy Protection in Social Networks. IEEE Trans. Inf. Forensics Secur. 2017, 13, 574–589. [Google Scholar] [CrossRef]
  28. Johari, M.; Hosseini-Motlagh, S.-M.; Rasti-Barzoki, M. An evolutionary game theoretic model for analyzing pricing strategy and socially concerned behavior of manufacturers. Transp. Res. Part E Logist. Transp. Rev. 2019, 128, 506–525. [Google Scholar] [CrossRef]
  29. Janssen, M.; Estevez, E. Lean government and platform-based governance—Doing more with less. Gov. Inf. Q. 2013, 30, S1–S8. [Google Scholar] [CrossRef]
  30. Zajko, M. Telecom responsibilization: Internet governance, surveillance, and new roles for intermediaries. Can. J. Commun. 2016, 41, 75. [Google Scholar] [CrossRef][Green Version]
  31. Stier, S.; Schünemann, W.J.; Steiger, S. Of activists and gatekeepers: Temporal and structural properties of policy networks on Twitter. New Media Soc. 2018, 20, 1910–1930. [Google Scholar] [CrossRef]
  32. Lei, L.-C.; Gao, S.; Zeng, E.-Y. Regulation strategies of ride-hailing market in China: An evolutionary game theoretic perspective. Electron. Commer. Res. 2020, 20, 535–563. [Google Scholar] [CrossRef]
  33. Hagiu, A.; Wright, J. Multi-sided platforms. Int. J. Ind. Organ. 2015, 43, 162–174. [Google Scholar] [CrossRef]
  34. Fenwick, M.; McCahery, J.A.; Vermeulen, E.P. The end of ‘corporate’ governance: Hello ‘platform’ governance. Eur. Bus. Organ. Law Rev. 2019, 20, 171–199. [Google Scholar] [CrossRef]
  35. Leoni, G.; Parker, L.D. Governance and control of sharing economy platforms: Hosting on Airbnb. Br. Account. Rev. 2019, 51, 100814. [Google Scholar] [CrossRef]
  36. DeNardis, L.; Hackl, A.M. Internet governance by social media platforms. Telecommun. Policy 2015, 39, 761–770. [Google Scholar] [CrossRef]
  37. Gillespie, T. The politics of ‘platforms’. New Media Soc. 2010, 12, 347–364. [Google Scholar] [CrossRef]
  38. Rasmussen, T. Techno-Politics, Internet Governance and Some Challenges Facing the Internet. Soc. Sci. Electron. Publ. 2007, 14, 168–174. [Google Scholar] [CrossRef]
  39. Dessi, R. Implicit contracts, managerial incentives, and financial structure. J. Econ. Manag. Strategy 2001, 10, 359–390. [Google Scholar] [CrossRef]
  40. Attar, A.; Campioni, E.; Piaser, G.; Rajan, U. On multiple-principal multiple-agent models of moral hazard. Games Econ. Behav. 2010, 68, 376–380. [Google Scholar] [CrossRef]
  41. Kini, O.; Williams, R. Tournament incentives, firm risk, and corporate policies. J. Financ. Econ. 2012, 103, 350–376. [Google Scholar] [CrossRef]
  42. Albuquerque, A.M. Do growth-option firms use less relative performance evaluation? Account. Rev. 2014, 89, 27–60. [Google Scholar] [CrossRef]
  43. Gorwa, R. Elections, institutions, and the regulatory politics of platform governance: The case of the German NetzDG. Telecommun. Policy 2021, 45, 102145. [Google Scholar] [CrossRef]
  44. Daskal, E.; Wentrup, R.; Shefet, D. Taming the internet trolls with an internet ombudsperson: Ethical social media regulation. Policy Internet 2020, 12, 207–224. [Google Scholar] [CrossRef]
  45. Schwarz, O. Facebook rules: Structures of governance in digital capitalism and the control of generalized social capital. Theory Cult. Soc. 2019, 36, 117–141. [Google Scholar] [CrossRef]
  46. Medzini, R. Enhanced self-regulation: The case of Facebook’s content governance. New Media Soc. 2022, 24, 2227–2251. [Google Scholar] [CrossRef]
Figure 1. The relationship framework of government regulatory platform merchants.
Figure 1. The relationship framework of government regulatory platform merchants.
Sustainability 14 16574 g001
Figure 2. (a) Analysis of the evolution trend of game system towards (0,0); (b) analysis of the evolution trend of game system towards (1,0); (c) analysis of the evolution trend of game system towards (1,1).
Figure 2. (a) Analysis of the evolution trend of game system towards (0,0); (b) analysis of the evolution trend of game system towards (1,0); (c) analysis of the evolution trend of game system towards (1,1).
Sustainability 14 16574 g002
Figure 3. Correspondence between parameter values and system steady state.
Figure 3. Correspondence between parameter values and system steady state.
Sustainability 14 16574 g003
Figure 4. Relationships framework for multi-agent governance.
Figure 4. Relationships framework for multi-agent governance.
Sustainability 14 16574 g004
Figure 5. (a) Analysis of the evolution trend of game system towards (0,0,0); (b) analysis of the evolution trend of game system towards (0,0,1); (c) analysis of the evolution trend of game system towards (1,0,0); (d) analysis of the evolution trend of game system towards (1,0,1); (e) analysis of the evolution trend of game system towards (1,1,1).
Figure 5. (a) Analysis of the evolution trend of game system towards (0,0,0); (b) analysis of the evolution trend of game system towards (0,0,1); (c) analysis of the evolution trend of game system towards (1,0,0); (d) analysis of the evolution trend of game system towards (1,0,1); (e) analysis of the evolution trend of game system towards (1,1,1).
Sustainability 14 16574 g005
Figure 6. Correspondence between parameter values and system steady state.
Figure 6. Correspondence between parameter values and system steady state.
Sustainability 14 16574 g006
Figure 7. Government incentive contract optimization process.
Figure 7. Government incentive contract optimization process.
Sustainability 14 16574 g007
Figure 8. (a) Influence of platform effort output coefficient and cost coefficient on effort level; (b) the influence of platform effort output coefficient and cost coefficient on contract fixed payment; (c) the influence of platform effort output coefficient and cost coefficient on contract incentive payment.
Figure 8. (a) Influence of platform effort output coefficient and cost coefficient on effort level; (b) the influence of platform effort output coefficient and cost coefficient on contract fixed payment; (c) the influence of platform effort output coefficient and cost coefficient on contract incentive payment.
Sustainability 14 16574 g008
Figure 9. (a) Influence of external risk coefficient and platform effort cost coefficient on effort level; (b) the impact of external risk coefficient and platform effort cost coefficient on contract fixed payment; (c) the influence of external risk coefficient and platform effort cost coefficient on contract incentive payment.
Figure 9. (a) Influence of external risk coefficient and platform effort cost coefficient on effort level; (b) the impact of external risk coefficient and platform effort cost coefficient on contract fixed payment; (c) the influence of external risk coefficient and platform effort cost coefficient on contract incentive payment.
Sustainability 14 16574 g009
Table 1. Revenue matrix for government and platform merchants.
Table 1. Revenue matrix for government and platform merchants.
Government, MerchantComplianceViolation
Regulations − c + m
d + l
s − c − v
d + Δd + (1 − μ)l − μz
Deregulationm
d
−v
d + Δd
Table 2. Eigenvalue of the equilibrium point.
Table 2. Eigenvalue of the equilibrium point.
Equilibrium PointEigenvalue
(0,0)s − c0 − (1 − i)/k, −Δd
(0,1)s − c0 − (1 − i)/k, Δd
(1,0)−[s − c0 − (1 − i)/k], μ(l + z) − Δd
(1,1)−[s − c0 − (1 − i)/k], −[μ(l + z) − Δd]
Table 3. System stability evolution point and parameter conditions.
Table 3. System stability evolution point and parameter conditions.
Stability Evolution PointParameter Condition
(0,0)i < 1 − k(s − c0), 0 < μ < 1
(1,0)i > 1 − k(s − c0), μ < Δd/(z + l)
(1,1)i > 1 − k(s − c0), μ > Δd/(z + l)
Table 4. Multi-agent revenue matrix.
Table 4. Multi-agent revenue matrix.
Government, Internet Platform, Platform MerchantComplianceViolation
RegulationResponsibles − c* + ms − c* − v − g
r + f − an2/2−an2/2 − j − μ*h
d + ld + Δd + (1 − μ*)l − μ*z − δ − λ
Irresponsibles − c + ms − c − v − g
r−μ*h − j
d + ld + Δd + (1 − μ*)l − μ*z − δ
DeregulationResponsiblem−v − g
r − an2/2−an2/2 − j
dd + Δd − δ − λ
Irresponsibled−v − g
r−j
dd + Δd − δ
Table 5. Multi-agent governance equilibrium point characteristic value.
Table 5. Multi-agent governance equilibrium point characteristic value.
Equilibrium PointEigenvalue
(0,0,0)s − c0 − (1 − i)/k−an2/2δ − Δd
(0,0,1)s − c0 − (1 − i)/k−an2/2Δd − δ
(0,1,0)s − c0 − (1 − i)(n − 1)2/kan2/2λ + δ − Δd
(0,1,1)s − c0 − (1 − i)(n − 1)2/kan2/2Δd − δ − λ
(1,0,0)−[s − c0 − (1 − i)/k]–an2/2(μ + p − pμ)(l + z) + δ − Δd
(1,0,1)−[s − c0 − (1 − i)/k]f − an2/2Δd − (μ + p − pμ)(l + z) − δ
(1,1,0)−[s − c0 − (1 − i)(n − 1)2/k]an2/2(μ + p − pμ)(l + z) + δ + λ − Δd
(1,1,1)−[s − c0 − (1 − i)(n − 1)2/k]an2/2 − fΔd − (μ + p − pμ)(l + z) − δ − λ
Table 6. System stability evolution point and parameter conditions.
Table 6. System stability evolution point and parameter conditions.
Stability Evolution PointParameter Condition
(0,0,0)i < 1 − k(s − c0)a > 0δ < Δd
(0,0,1)i < 1 − k(s − c0)a > 0δ > Δd
(1,0,0)i > 1 − k(s − c0)a > 0δ < Δd − (μ + p − pμ)(l + z)
(1,0,1)i > 1 − k(s − c0)a > 2f/n2δ > Δd − (μ + p − pμ)(l + z)
(1,1,1)i > 1 − k(s − c0)/(n − 1)2a < 2f/n2δ > Δd − (μ + p − pμ)(l + z)–λ
Table 7. Optimal parameter index value.
Table 7. Optimal parameter index value.
Parameter IndicatorsOptimum Value
nk3/(mk2 + ρm2σ2)
αk4(ρmσ2 − k2)/2m(k2 + ρmσ2)2
βk2/(k2 + ρmσ2)
Publisher’s Note: MDPI stays neutral with regard to jurisdictional claims in published maps and institutional affiliations.

Share and Cite

MDPI and ACS Style

He, H.; Zhang, B. Effective Synergy of Market Agents: The Core of Achieving Multi-Agent Governance on the Internet Platform. Sustainability 2022, 14, 16574. https://doi.org/10.3390/su142416574

AMA Style

He H, Zhang B. Effective Synergy of Market Agents: The Core of Achieving Multi-Agent Governance on the Internet Platform. Sustainability. 2022; 14(24):16574. https://doi.org/10.3390/su142416574

Chicago/Turabian Style

He, Hongyang, and Bin Zhang. 2022. "Effective Synergy of Market Agents: The Core of Achieving Multi-Agent Governance on the Internet Platform" Sustainability 14, no. 24: 16574. https://doi.org/10.3390/su142416574

APA Style

He, H., & Zhang, B. (2022). Effective Synergy of Market Agents: The Core of Achieving Multi-Agent Governance on the Internet Platform. Sustainability, 14(24), 16574. https://doi.org/10.3390/su142416574

Note that from the first issue of 2016, this journal uses article numbers instead of page numbers. See further details here.

Article Metrics

Back to TopTop