A Network-Based Strategy to Increase the Sustainability of Building Supply Air Systems Responding to Unexpected Temperature Patterns
Abstract
1. Building Thermal Control
2. Methodology
2.1. Overall Framework
2.2. Thermal and Comfort Rules
2.3. Control Rule
2.4. Adaptive Rule
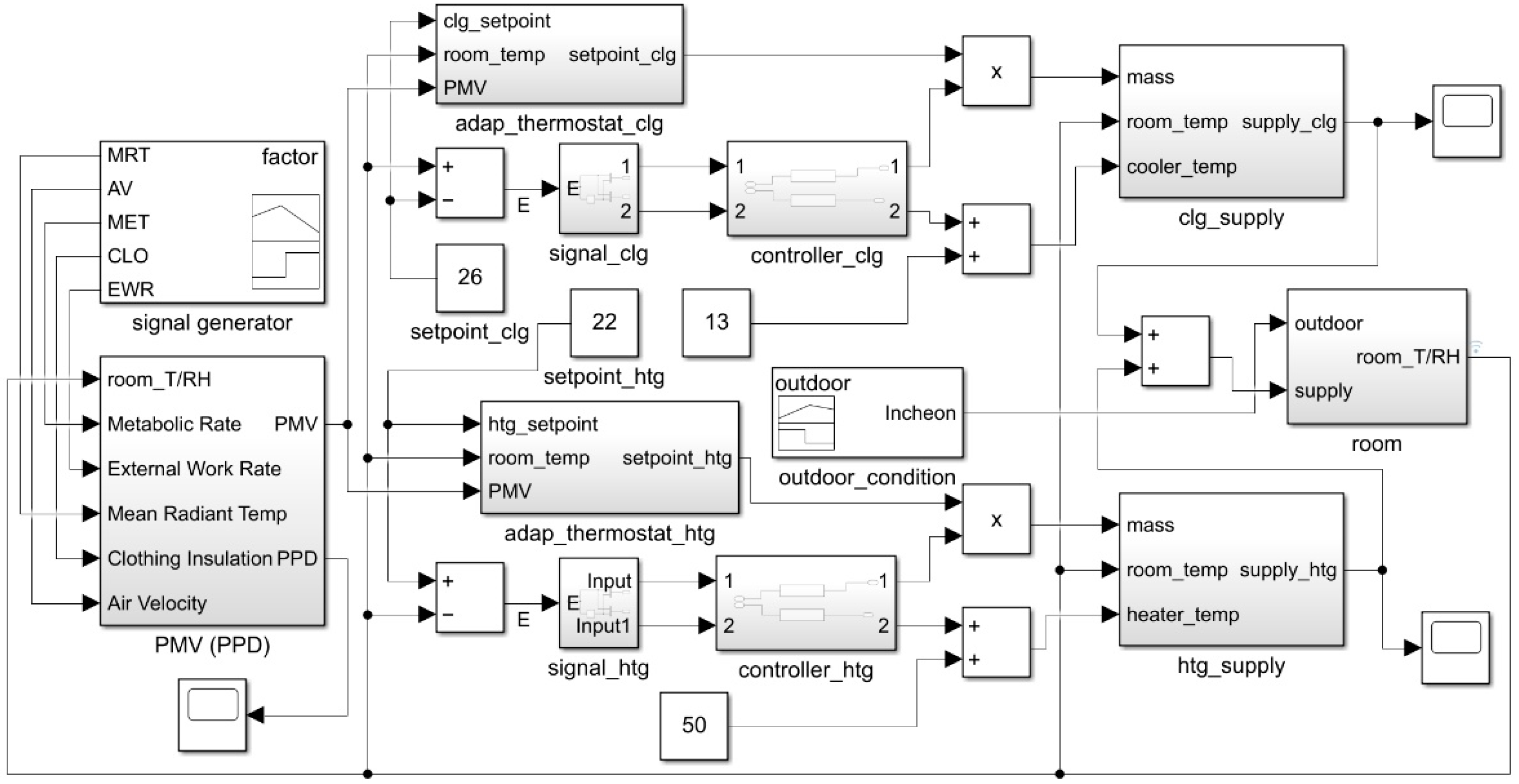
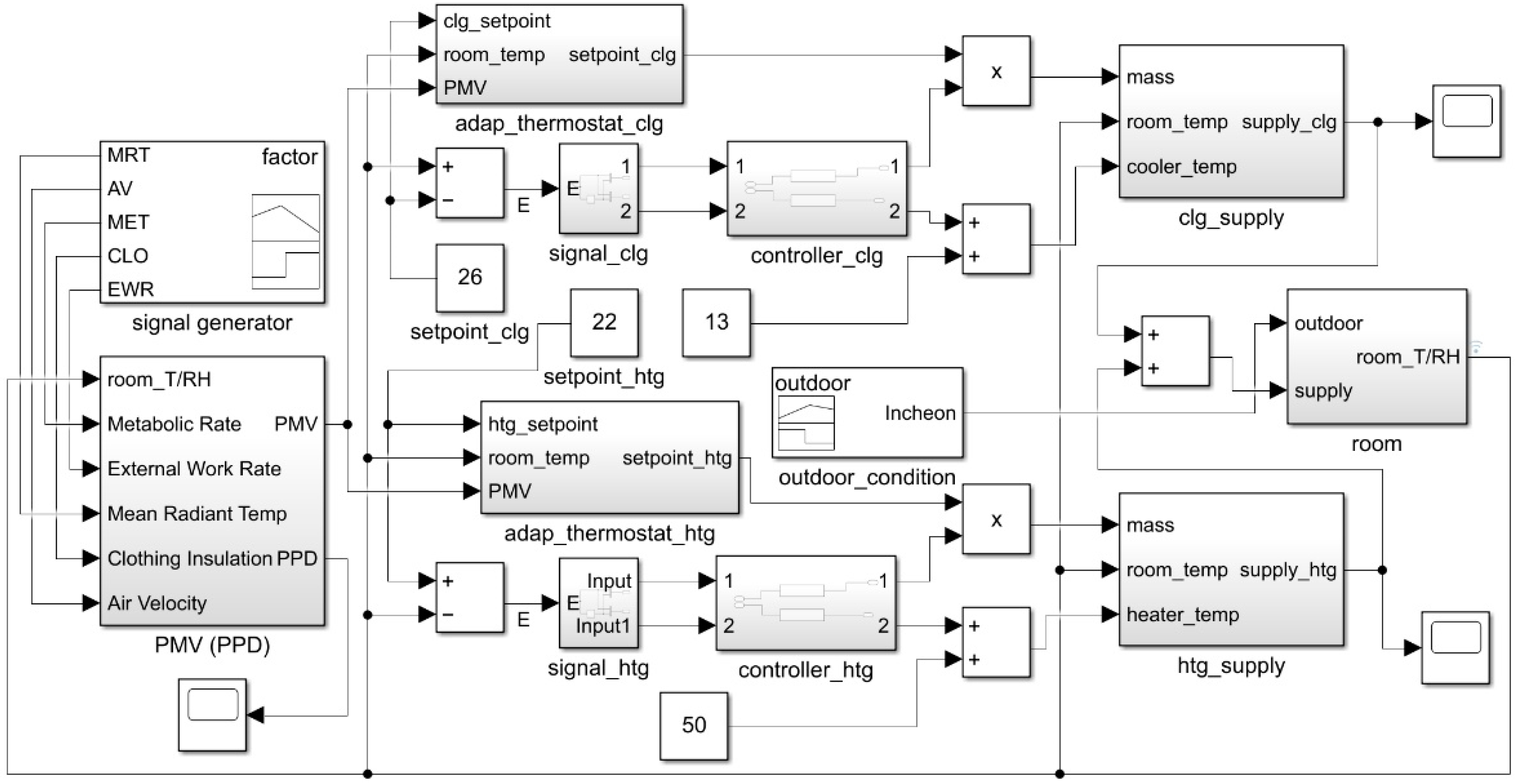
2.5. Simulation Model
3. Results
3.1. Room Temperature by the Control Models
3.2. Heating Energy by the Control Models
4. Discussion
Performance Comparison of Each Model
5. Conclusions
Funding
Conflicts of Interest
Nomenclature
| A | area of material(s) (m2) |
| Cv | specific heat capacity at constant volume (J/kg·K) |
| Cp | specific heat capacity at constant pressure (J/kg·K) |
| D | thickness of material(s) (m) |
| G | thermal conductance (W/K) |
| hin, hout | convection heat transfer coefficient inside, outside (W/m2·K) |
| k | thermal conductivity (W/m·K) |
| ṁht | mass flow-rate from system (kg/h) |
| ṁin | mass flow-rate inside room (kg/h) |
| ṁout | mass flow-rate outside room (kg/h) |
| mrm | mass flow-rate in room air (kg) |
| Qloss | heat loss by convection and transmission (J) |
| Qgain | heat gain by convection and transmission (J) |
| R | thermal resistance (K/W) |
| Tht | air temperature from heater (°C) |
| Tout | outdoor temperature (°C) |
| Trm | room temperature (°C) |
| Tset | set-point temperature (°C) |
| U | internal energy (J) |
| W | work (J) |
References
- Tan, W.; Liu, J.; Fang, F.; Chen, Y. Tuning of PID controllers for boiler-turbine units. ISA Trans. 2004, 43, 571–583. [Google Scholar] [CrossRef]
- Blasco, C.; Monreal, J.; Benítez, I.; Lluna, A. Modelling and PID Control of HVAC System According to Energy Efficiency and Comfort Criteria. Sustain. Energy Build. 2012, 12, 365–374. [Google Scholar]
- Kull, T.; Thalfeldt, M.; Kurnitski, J. PI Parameter Influence on Underfloor Heating Energy Consumption and Setpoint Tracking in nZEBs. Energies 2020, 13, 68. [Google Scholar] [CrossRef]
- WaTalib, R.; Nablim, N.; Choi, W. Optimization-Based Data-Enabled Modeling Technique for HVAC Systems Components. Buildings 2020, 10, 163. [Google Scholar] [CrossRef]
- Fazzolari, M.; Alcala, R.; Nojima, Y.; Ishibuchi, H.; Herrera, F. A Review of the Application of Multiobjective Evolutionary Fuzzy Systems: Current Status and Further Directions. Fuzzy Syst. 2013, 21, 45–65. [Google Scholar] [CrossRef]
- Alcalá, R.; Benitez, J.M.; Casillas, J.; Cordón, O.; Pérez, R. Fuzzy Control of HVAC Systems Optimized by Genetic Algorithms. Appl. Intell. 2003, 18, 155–177. [Google Scholar] [CrossRef]
- Moon, J.; Ahn, J. Improving sustainability of ever-changing building spaces affected by users’ fickle taste: A focus on human comfort and energy use. Energy Build. 2020, 208, 109662. [Google Scholar] [CrossRef]
- Paris, B.; Eynard, J.; Grieu, S.; Polit, M. Hybrid PID-fuzzy control scheme for managing energy resources in buildings. Appl. Soft. Comput. 2011, 11, 315–319. [Google Scholar] [CrossRef]
- Kerdan, I.; Galvez, D. Artificial neural network structure optimisation for accurately prediction of exergy, comfort and life cycle cost performance of a low energy building. Appl. Energy 2020, 280, 115862. [Google Scholar] [CrossRef]
- Koulani, C.; Hviid, C.; Terkildsen, S. Optimized Damper Control of Pressure and Airflow in Ventilation Systems. In Proceedings of the 10th Nordic Symposium on Building Physics, Lund, Sweden, 15–19 July 2014; Lund University: Lund, Sweden, 2014; pp. 822–829. [Google Scholar]
- Ozbalta, T.; Sezer, A.; Tildiz, Y. Improving Occupant Wellness in Commercial Office Buildings through Energy Conservation Retrofits. Buildings 2015, 5, 1171. [Google Scholar] [CrossRef]
- Ahn, J.; Cho, S.; Chung, D. Performance analysis of space heating smart control models for energy and control effectiveness in five different climate zones. Build. Environ. 2017, 115, 316–331. [Google Scholar] [CrossRef]
- Tomar, D.; Tomar, P.; Bhardwaj, A.; Sinha, G.R. Deep Learning Neural Network Prediction System Enhanced with Best Window Size in Sliding Window Algorithm for Predicting Domestic Power Consumption in a Residential Building. Comput. Intell. Neurosci. 2022, 2022, 1–14. [Google Scholar] [CrossRef] [PubMed]
- Ahn, J. Thermal Control Processes by Deterministic and Net-work-based Models for Energy Use and Control Accuracy in a Building Space. Processes 2021, 9, 385. [Google Scholar] [CrossRef]
- Yang, S.; Wan, M.P.; Ng, B.F.; Zhang, T.; Babu, S.; Zhang, Z.; Chen, W.; Dubey, S. A state-space thermal model incorporating humidity and thermal comfort for model predictive control in buildings. Energy Build. 2018, 170, 25–39. [Google Scholar] [CrossRef]
- Ren, Z.; Chen, D. Modelling study of the impact of thermal comfort criteria on housing energy use in Australia. Appl. Energy 2018, 210, 152–166. [Google Scholar] [CrossRef]
- Marquez, A.; Carmona, A.; Antomarioni, S. A Process to Implement an Artificial Neural Network and Association Rules Techniques to Improve Asset Performance and Energy Efficiency. Energies 2019, 12, 3454. [Google Scholar] [CrossRef]
- Huang, X.; Qu, C. Research on Indoor Thermal Comfort and Age of Air in Qilou Street Shop under Mechanical Ventilation Scheme: A Case Study of Nanning Traditional Block in Southern China. Sustainability 2021, 13, 4037. [Google Scholar] [CrossRef]
- Alnuaimi, A.; Natarajan, S. The Energy Cost of Cold Thermal Discomfort in the Global Southu. Buildings 2020, 10, 93. [Google Scholar] [CrossRef]
- Ahn, J.; Cho, S. Anti-logic or common sense that can hinder machine’s energy performance: Energy and comfort control models based on artificial intelligence responding to abnormal indoor environments. Appl. Energy 2017, 204. [Google Scholar] [CrossRef]
- Park, S.; Cho, S.; Ahn, J. Improving the quality of building spaces that are planned mainly on loads rather than residents: Human comfort and energy savings for warehouses. Energy Build. 2018, 178, 38–48. [Google Scholar] [CrossRef]
- Boukhelkhal, I.; Bourbia, F. Experimental Study on the Thermal Behavior of Exterior Coating Textures of Building in Hot and Arid Climates. Sustainability 2021, 13, 4175. [Google Scholar] [CrossRef]
- National Institute of Building Science. Space Types. Whole Building Design Guide. 2018. Available online: https://www.wbdg.org/space-types (accessed on 15 October 2022).
- Ahn, J. Development of Energy Performance Metrics for Airport Terminal Buildings using Multivariate Regression Modeling; North Carolina State University: Raleigh, NC, USA, 2016. [Google Scholar]
- Incropera, F.P.; DeWitt, D.P.; Bergman, T.L.; Lavine, A.S. Fundamentals of Heat and Mass Transfer; Wiley: New York, NY, USA, 2018; ES8-1-119-32042-5. [Google Scholar]
- Engineering Toolbox. Recommended Indoor Temperatures Summer and Winter. Engineering Toolbox. 2016. Available online: http://www.engineeringtoolbox.com (accessed on 15 October 2022).
- ASHRAE Standard 55-2004; ASHRAE. ASHRAE: Atlanta, GA, USA, 2004.
- Petković, D.; Protić, M.; Shamshirband, S.; Akib, S.; Raos, M.; Marković, D. Evaluation of the most influential parameters of heat load in district heating systems. Energy Build. 2015, 104, 264–274. [Google Scholar] [CrossRef]
- Ahn, J.; Cho, S.; Chung, D. Analysis of energy and control efficiencies of fuzzy logic and artificial neural network technologies in the heating energy supply system. Appl. Energy 2017, 190, 155. [Google Scholar] [CrossRef]
- Ahn, J. Abatement of the Increases in Cooling Energy Use during a Period of Intense Heat by a Network-Based Adaptive Controller. Sustainability 2021, 13, 1353. [Google Scholar] [CrossRef]
- Marasco, G.; Rosso, M.M.; Aiello, S.; Aloisio, A.; Cirrincione, G.; Chiaia, B.; Marano, G.C. Ground Penetrating Radar Fourier Pre-processing for Deep Learning Tunnel Defects’ Automated Classification. In Proceedings of the International Conference on Engineering Applications of Neural Networks, Chersonisos, Crete, Greece, 17–20 June 2022. [Google Scholar] [CrossRef]
- Rosso, M.M.; Cucuzza, R.; Marano, G.C.; Aloisio, A.; Cirrincione, G. Review on Deep Learning in Structural Health Monitoring. In Bridge Safety, Maintenance, Management 2022, Life-Cycle, Resilience and Sustainability; CRC Press: London, UK, 2022. [Google Scholar] [CrossRef]
- Ahn, J. Performance Analyses of Temperature Controls by a Network-Based Learning Controller for an Indoor Space in a Cold Area. Sustainability 2020, 12, 8515. [Google Scholar] [CrossRef]










| Parameter | Unit | Value | |
|---|---|---|---|
| Type | - | Small Office | |
| Width × Depth × Height | m | 18.85 × 17.85 × 7.85 | |
| Roof | Area | m2 | 336.5 |
| Thermal Resistance | °C/W | 1.16 × 10−2 | |
| Wall | Area | m2 | 576.2 |
| Thermal Resistance | °C/W | 5.76 × 10−3 | |
| Fenestration | Area | m2 | 24.0 |
| Thermal Resistance | °C/W | 2.14 × 10−3 | |
| Controller | Std. Deviation of the PPDs | Difference (%) |
|---|---|---|
| Thermostat | 3.73 | - |
| FIS | 2.38 | −36.3 |
| ANN | 1.04 | −72.1 |
| Controller | Weekly Energy Use (kWh) | Difference (%) |
|---|---|---|
| Thermostat | 15.42 | - |
| FIS | 14.53 | −5.8 |
| ANN | 12.52 | −18.8 |
Publisher’s Note: MDPI stays neutral with regard to jurisdictional claims in published maps and institutional affiliations. |
© 2022 by the author. Licensee MDPI, Basel, Switzerland. This article is an open access article distributed under the terms and conditions of the Creative Commons Attribution (CC BY) license (https://creativecommons.org/licenses/by/4.0/).
Share and Cite
Ahn, J. A Network-Based Strategy to Increase the Sustainability of Building Supply Air Systems Responding to Unexpected Temperature Patterns. Sustainability 2022, 14, 14710. https://doi.org/10.3390/su142214710
Ahn J. A Network-Based Strategy to Increase the Sustainability of Building Supply Air Systems Responding to Unexpected Temperature Patterns. Sustainability. 2022; 14(22):14710. https://doi.org/10.3390/su142214710
Chicago/Turabian StyleAhn, Jonghoon. 2022. "A Network-Based Strategy to Increase the Sustainability of Building Supply Air Systems Responding to Unexpected Temperature Patterns" Sustainability 14, no. 22: 14710. https://doi.org/10.3390/su142214710
APA StyleAhn, J. (2022). A Network-Based Strategy to Increase the Sustainability of Building Supply Air Systems Responding to Unexpected Temperature Patterns. Sustainability, 14(22), 14710. https://doi.org/10.3390/su142214710
